IAE64843FB - Plaque de cuisson AEG-ELECTROLUX - Notice d'utilisation et mode d'emploi gratuit
Retrouvez gratuitement la notice de l'appareil IAE64843FB AEG-ELECTROLUX au format PDF.
| Intitulé | Description |
|---|---|
| Type de produit | Table de cuisson à induction |
| Caractéristiques techniques principales | 4 zones de cuisson, technologie induction, commandes tactiles |
| Alimentation électrique | 230 V, 50 Hz |
| Dimensions approximatives | 60 cm (largeur) x 51 cm (profondeur) |
| Poids | 10 kg |
| Compatibilités | Compatible avec des ustensiles de cuisine adaptés à l'induction |
| Fonctions principales | Boost, minuterie, détection de casserole |
| Entretien et nettoyage | Surface en vitrocéramique, nettoyage facile avec un chiffon humide |
| Pièces détachées et réparabilité | Disponibilité de pièces détachées auprès du fabricant |
| Sécurité | Verrouillage de sécurité, arrêt automatique, indicateur de chaleur résiduelle |
| Informations générales utiles | Garantie de 2 ans, installation par un professionnel recommandée |
FOIRE AUX QUESTIONS - IAE64843FB AEG-ELECTROLUX
Questions des utilisateurs sur IAE64843FB AEG-ELECTROLUX
0 question sur cet appareil. Repondez a celles que vous connaissez ou posez la votre.
Poser une nouvelle question sur cet appareil
Téléchargez la notice de votre Plaque de cuisson au format PDF gratuitement ! Retrouvez votre notice IAE64843FB - AEG-ELECTROLUX et reprennez votre appareil électronique en main. Sur cette page sont publiés tous les documents nécessaires à l'utilisation de votre appareil IAE64843FB de la marque AEG-ELECTROLUX.
MODE D'EMPLOI IAE64843FB AEG-ELECTROLUX
Merci d'avoir choisi ce produit AEG. Nous l'avons conçu pour vous offrir des performances irréprochables pendant longtemps, avec des technologies innovantes qui simplifier la vie : autant de caractéristiques que vous ne trouverez peut-être pas sur des appareils ordinaires. Veuillez prendre quelques instantes pour dire cette notice afin d'utiliser au moins votre apparéil.
Visitez notre site internet sur :

Obtenir des conseils d'utilisation, des brochures, un dépanneur, des informations sur le service et les réparations :
www.aeg.com/support

Enregistrer votre produit pour un meilleur service :
www.registeraeg.com

Acheter des accessoires, des consommables et des pieces de rechange d'origine pour votre apparéil :
www.aeg.com/shop
SERVICE ET ASSISTANCE À LA CLIENTÉLE
Utilisez toujours des pieces de rechange d'origine.
Avant de contacter notre centre de service agréé, assurez-vous de/disposer des informations suivantes : Modèle, PNC, Numéro de série.
Les informations se trouvent sur la plaque signalétique.
Avertissement/Mise en garde-Information de sécurité
已 Informations generales et conseils
Informations environnementales
Sous réserve de modifications.
1. INFORMATIONS DE SECURITÉ
Avant d'installer et d'utiliser cet apparéil, lisez soigneusement les instructions fournies. Le fabricant ne
pourra être tenu pour responsable des blessures et dégàts résultat d'une mauvaise installation ouutilisation. Conservez toujours les instructions dans unlieu sur et accessible pour vous y référer ultérieurement.
1.1 Sécurité des enfants et des personnes vulnérables
- Cet apparéil peut être utilisé par des enfants de plus de 8 ans, ainsi que des personnes dont les capacities physiques, sensorielles et mentales sont réduites ou dont les connaissances et l'expérience sont insuffisantes, à condition d'être surveillés ou d'avoir reçu des instructions concernant l'utilisation sécurisée de l' apparéil et de comprendre les risques encourus.
- Les enfants entre 3 et 8 ans et les personnes ayant un handicap très important et complexe doivent être tenus à l'écart de l'appareil, à moins d'être surveillés en permanence.
- Les enfants de moins de 3 ans doivent être tenus à l'écart de l'appareil, à moins d'être surveillés en permanence.
- Ne laissez pas les enfants jouer avec l'appareil.
- Ne laissez pas les emballages à la portée des enfants et jetez-les convenablement.
- Tenez les enfants et les animaux éloignés de l'appareil lorsqu'il est en cours de fonctionnement ou lorsqu'il refroidit. Les parties accessibles sont chaudes.
- Si l'appareil est équipé d'un dispositif de sécurité enfants, nous vous recommendons de l'activer.
- Les enfants ne doivent pas nettoyer ni entreprises une opération de maintenance sur l'appareil sans surveillance.
1.2 Sécurité générale
-
AVERTISSEMENT: L'appareil et ses parties accessibles deviennent chauds pendant son fonctionnement. Veillez à ne pas toucher les éléments chauffants.
-
Ne faites pas fonctionner l'appareil avec un minuteur externe ou un système de commande à distance.
-
AVERTISSEMENT: Il peut être dangereux de laisser chauffer de laGRAisse ou de l'huile sans surveillance sur une table de cuisson car cela pourrait provoquer un incendie.
-
N'essayez JAMAIS d'éteindre un feu avec de l'eau. Éteignez l'appareil puis couvrez les flammes, par exemple avec un couvercle ou une couverture ignifuge.
-
ATTENTION : Toute cuisson doit être surveillée. Une cuisson courte doit être surveillée en permanence.
-
AVERTISSEMENT : Risque d'incendie ! N'entreposez rien sur les surfaces de cuisson.
-
Ne posez pas d'objets métalliques tels que couteaux, fourchettes, cuillères ou couvercles sur la table de cuisson car ils pourraient chauffer.
-
N'utilise pas l'appareil avant de l'avoir installé dans la structure encastrée.
-
N'utilisez pas de nettoyeur vapeur pour nettoyer l'appareil.
-
Àprousutilisation,éteignez:toujourslazone de cuisson à l'aide de la manette de commande correspondante et ne vous fiez pas à la détction des recipients.
-
Si la surface vitrocéramique / en verre est fissurée, éteignez l'appareil et débranchez-le. Si l'appareil est branché à l'alimentation secteur directement en utilisant une boîte de jonction, retirez le fusible pourdéconnecter l'appareil de l'alimentation secteur. Dans tous les cas, contactez le service après-vente/agréé.
-
Si le cable d'alimentation est endommagé, il doit être remplace par le fabricant, un service de maintenance agrée ou un technicien qualifié afin d'éviter tout danger.
-
AVERTISSEMENT : Utilisez uniquement les dispositifs de protection pour table de cuisson conçus ou indiqués comme adaptations par le fabricant de l'appareil de cuisson dans les instructions d'utilisation, ou les
dispositifs de protection pour table de cuisson intégrés à l'appareil. L'utilisation de dispositifs de protection non adaptations peut entraîner des accidents.
2. CONSIGNES DE SECURITÉ
2.1 Installation

AVERTISSEMENT!
L'appareil doit être installé uniquement par un professionnel qualifié.

AVERTISSEMENT!
Risque de blessure corporelle ou de dommages matériels.
- Retirez l'intégralité de l'emballage.
- N'installez pas et ne branchez pas un apparéil endommagé.
- Suivez scrupuleusement les instructions d'installation fournies avec l'appareil.
- Respectez l'espacement minimal requis par rapport aux autres apparèils et éléments.
- Soyez toujours vigilants lorsque vous déplacez l'appareil car il est lourd. Utilisez toujours des gants de sécurité et des chaussures fermées.
- Isolez les surfaces découvertes à l'aide d'un matériel d'étanchéité pour éviter que la moissure ne provoque de gonflements.
- Protégez la partie inférieure de l'appareil de la vapeur et de l'humidité.
- N'installez pas l'appareil pres d'une porte ou sous une fenêtre. Les recipients chauds risqueraient de tomber de l'appareil lors de l'ouverture de celles-ci.
- Chaque apparéil est doté de ventilateurs de refroidissement dans le fond.
Si l'appareil est installe au-dessus d'un tiroir: -Ne rangez pas de feuilles ni de petits bouts de papier qui pouraient etre aspirés et endommager les ventilateurs de
refroidissement ou le système de refroidissement.
Laissez une distance d'au moins 2 cm entre le fond de l'appareil et les objetsrangés dans le tiroir.
- Retirez les panneaux de séparation installés dans le meuble sous l'appareil.
2.2 Branchement électrique

AVERTISSEMENT!
Risque d'incendie ou d'électrocution.
L'ensemble des branchements électriques doit être effectué par un technicien qualifié.
L'appareil doit être relié à la terre.
- Avant toute intervention, assurez-vous que l'appareil est débranché.
- Vérifiez que les paramètres figurant sur la plaque signalétique correspondent aux données électriques de votre réseau.
Assurez-vous que l'appareil est bien installé. Un cable d'alimentation lâche et inapproprié ou une fiche (si présente) non serrée peuvent être à l'origine d'une surchauffe des bornes.
Utilisez le cable d'alimentation électrique approprié.
- Ne laisses pas le cable d'alimentation s'emmêler.
Assurez-vous qu'une protection antiélectrocution est installée.
Utilisez un collier anti-traction sur le cable.
Assurez-vous que le cable d'alimentation ou la fiche (si presente) n'entrent pas en contact avec les surfaces brûlantes de l'appareil ou les recipients brûlants lorsque vous branchez l'appareil à des prises électriques situées à proximité.
- N'utilisez pas d'adaptateurs multiprises ni de rallonges.
- Veillez à ne pas endommager la fiche secteur (si présente) ni le cable d'alimentation. Contactez notre service après-vente/agréé ou un électricien pour replacer le cable d'alimentation s'il est endommagé.
- La protection contre les chocs des parties sous tension et isolées doit être fixée de telle manière qu'elle ne peut pas être enlevée sans outils.
- Ne branche la fiche d'alimentation à la prise de courant qu'à la fin de l'installation. Assurez-vous que la prise de courant est accessible une fois l'appareil installé.
- Si la prise de courant est l'âche, ne branchez pas la fiche d'alimentation secteur.
- Ne tirez jamais sur le cable d'alimentation pour débrancher l'appareil. Tirez toujours sur la fiche.
- N'utilisez que des systèmes d'isolement appropriés : des coupecircuits, des fusibles (les fusibles à visser doivent être reliés du support), un disjoncteur différentiel et descontacteurs.
- L'installation électrique doit être équipée d'un dispositif d'isolement à coupure omnipolaire. Le dispositif d'isolement doit partager une distance d'ouverture des contacts d'au moins 3 mm.
2.3 Utilisation

AVERTISSEMENT!
Risque de blessures, de brûlures ou d'électrocution.
- Avant la première utilisation, retirez les emballages, les étiquettes et les films de protection (si présents).
- Cet apparéil est exclusivement destiné à une utilisation domestique.
- Ne modifies pas les caractéristiques de cet apparéil.
Assurez-vous que les orifices de ventilation ne sont pas bouchés. - Ne laisses jamais l'appareil sans surveillance pendant son fonctionnement.
- Éteignez les zones de cuisson après chaque utilisation.
-
Ne vous fiez pas uniquement au détecteur de récipient.
-
Ne posez pas de couverts ou de couvercles sur les zones de cuisson. Elles sont chaudes.
- N'utilisez jamais cet apparéil avec les mains mouillées ou lorsqu'il est en contact avec de l'eau.
- N'utilisez jamais l'appareil comme plan de travail ou comme plan de stockage.
- Si la surface de l'appareil présente des félures, débranchez immédiatement l'appareil pour éviter tout risque d'électrocution.
- Les porteurs de pacemakers doivent rester à une distance minimale de 30 cm des zones de cuisson à induction lorsque l'appareil est en cours de fonctionnement.
Lorsque you versez un aliment dans de l'huile chaude, elle peut élabousser.

AVERTISSEMENT!
Risque d'incendie et d'explosion.
- Les graisses et l'huile chaudes peuvent dégager des vapeurs inflammables. Tenez les flammes ou les objets chauds éloignés des graisses et de l'huile lorsque vous vous en servez pour cuisiner.
- Les vapeurs dégagées par l'huile très chaude peuvent provoquer une combustion spontanée.
L'huile qui a servi contient des restes d'aliments pouvant provoquer un incendie à température plus faible que l'huile n'avant jamais servi. - Ne placez pas de produits inflammables ou d' éléments imbibés de produits inflammables à l'intérieur ou à proximité de l'appareil, ni sur celui-ci.

AVERTISSEMENT!
Risque d'endommagement de l'appareil.
- Ne laïsez pas de récipiens chauds sur le bandeau de commande.
- Ne posez pas de couvercle de casserole chaud sur la surface en verre de la table de cuisson.
-
Ne laisses pas le contenu des recipients de cuisson s'évaporer complètement.
-
Prenez soit de ne pas laisser tomber d'objets ou de recipients sur l'appareil. Sa surface risque d'être endommagée.
- Ne faites jamais fonctionner les zones de cuisson avec des recipients de cuisson vides ou sans aucun recipient de cuisson.
- Ne placez jamais de papier aluminium sur l'appareil.
- N'utilisez pas de réciements en fonte ou en aluminium, ni de réciements dont le fond est endommagé et rugieux. Ils risqueraient de rayer le verre ou la surface vitrocéramique. Soulevez toujours ces objets lorsque vous nevez les déplacer sur la surface de cuisson.
- Cet apparéil est exclusivement destiné à un usage culinaire. Ne l'utilise pas pour des usages autres que celui pour lequel il a été consu, à des fins de chauffage par exemple.
2.4 Entretien et nettoyage
Nettoyez régulierement l'appareil afin de maintainir le revêtement en bon état.
- Éteignez l'appareil et laisserze-le refroidir avant de le nettoyer.
- Débranchez l'appareil de l'alimentation électrique avant toute opération de maintenance.
3. INSTALLATION

AVERTISSEMENT!
Reportez-vous aux chapitres concernant la sécurité.
3.1 Avant l'installation
Avant d'installer la table de cuisson, notez les informations de la plaque signalétique ci-dessous. La plaque signalétique se trouve au bas de la table de cuisson.
Numéro de série
3.2 Tables de cuisson intégrées
Les tables de cuisson encastrables ne peuvent etre mises en fonctionnement qu'aupres avoir ete installes dans des
- Ne pulveriséz pas d'eau ni de vapeur pour nettoyer l'appareil.
- Nettoyez l'appareil avec un chiffon doux humide. Utilisez uniquement des produits de lavage neutres. N'utilise pas de produits abrasifs, de tampons à récurer, de solvants ni d'objets métalliques.
2.5 Maintenance
Pour réparer l'appareil,contactez un service après-vente agreé.
Utilisez exclusivement des pieces d'origine.
2.6 Mise au rebut

AVERTISSEMENT!
Risque de blessure ou d'asphyxie.
- Contactez votre service municipal pour obtenir des informations sur la marche à suivre pourmettre l'appareil au rebut.
- Débranchez l'appareil de l'alimentation électrique.
- Coupe le cable d'alimentation au ras de l'appareil et metteze-le au rebut.
meubles et sur des plans de travail homologues et adaptations.
3.3 Câble d'alimentation
- La table de cuisson est fournie avec le cable d'alimentation.
- Ne remplacez le cable endommagé que par le cable de rechange. Contactez votre service après-vente/agréé.

AVERTISSEMENT!
L'ensemble des branchements électriques doit être effectué par un technicien qualifié.

ATTENTION!
Ne percez et ne soudez jamais les extrémités des fils. Cela est strictement interdit!

ATTENTION!
Ne raccordez pas le cable sans gaine à l'extrémité.
Raccordement biphasé
- Retirez le cable et la gaine des fils noir et marron.
- Dénudez les extrémités des fils noir et marron.
- Appliquez un nouvelle gaine de 1,5mm^2 à chaque extrémité du cable. (necessite un outil spécial).
Coupe transversale du cable


| Raccordement monophasé - 230 V~ | Raccordement biphasé - 400 V 2 ~ N | ||
| ⊕ | Vert - jaune | Vert - jaune | ⊕ |
| N | Bleu et bleu | Bleu et bleu | N |
| L | Noir et marron | Noir | L1 |
| Marron | L2 | ||
3.4 Montage


Si l'appareil est installe audessus d'un tiroir, la ventilation de la table de cuisson peut chauffer les élémentsrangés dans le tiroir durant la cuisson.
4. DESCRIPTION DE L'APPAREIL
4.1 Description de la table de cuisson

Zone de cuisson à induction
2 Bandeau de commande
4.2 Description du bandeau de commande

Pour voir les réglages disponibles, touchez le symbole approprié.
| Symbole | Commentaire | |
| 1 | ① | MARCHE / ARRÊT Pour allumer et éteindre la table de cuisson. |
| 2 | = | Menu Pour ouvrir et fermer le Menu. |
| 3 | • | Sélection de zone Pour ouvrir le curseur de la zone sélectionnée. |
| 4 | - | Voyant de zone Pour indiquer la zone à laquelle apparient le cur-seur activé. |
| 5 | - Pour régler les fonctions du Minuteur. | |
| 6 | - | Curseur Pour régler le niveau de cuisson. |
| 7 | P | PowerBoost Pour activer la fonction. |
| 8 | Verrouillage Pour activer et désactiver la fonction. | |
| 9 | - La fenêtre du communicateur à signal infrarouge Hob2Hood. Ne la couvre pas. | |
| 10 | || | Pause Pour activer et désactiver la fonction. |
| 11 | 0 - 9 | - Pour indiquer le niveau de cuisson actuel. |
| 12 | Bridge Pour activer et désactiver la fonction. |
4.3 OptiHeat Control (Voyant de chaleur résiduelle à trois niveaux)
Les zones de cuisson à induction générent la chaleur nécessaire directement sur le fond des recipients de cuisson. La vitrocéramique est chauffée par la chaleur des recipients.

AVERTISSEMENT! III / II / I Il y a risque de brûlures par la chaleur résiduelle. Les voyants indiquent le niveau de chaleur résiduelle.
5. GUIDE DE DÉMARRAGE RAPIDE
5.1 Utilisation de l'écran tactile
- Pour activer une option, appuyez sur le symbole correspondant sur l'affichage.
- La fonction可以选择 s'active lorsque vous retirez votre doigt de l'affichage.
Pour faire defiler les options disponibles, faites un geste rapide, ou passez votre doigt sur l'affichage. - La vitesse de votre geste déterminée la vitesse de défilament de l'écran.
- Le défilament peut s'arrêter de lui-même, ou vous pouvez l'arrêté immidiatement en touchant l'affichage.
- Vous pouvez changer la plupart des paramètres affichés en touchant les symboles correspondants.
Pour selectionner la fonction souhaitee ou l'heure, vous pouvez
faire defiler la liste et/ou toucher
I'option que vous souhaitez besoinir.
Lorsque la table de cuisson est allumée et que certains symboles disparaisent, touchez l'écran. Tous les symboles s'affichent à nouveau.
Pour certaines fonctions, une fenetre contextuelle contenant des informations supplémentaires s'affiche des que vous les activez.
Seuls les symboles éclairés peuvent être utilisés.
- Choisissez d'abord une zone pour activer les fonctions du minuteur.
5.2 Menu structure
Appuyez sur pour acceder et modifier les réglages de la table de cuisson, ou pour activer certaines fonctions. Le
tableau indique la structure de base du Menu.
Menu
| Cuisson assistée | ||
| Fonctions table | Fondre | |
| Réglages | Sécurité enfants | |
| Chronomètre | ||
| Hob2Hood | H0 - Arrêt | |
| H1 - Éclairage uniquement | ||
| H2 - Vitesse de ventil. Faible | ||
| H3 - Ventilation auto faible | ||
| H4 - Ventilation auto moyenne | ||
| H5 - Ventilation auto élevé | ||
| H6 - Ventilation auto Boost | ||
| Régler | Cuisson assistée | |
| Gestion alimentation | ||
| Langue | ||
| Son touches | ||
| Volume Alarme | ||
| Affichage Luminosité | ||
| Service | Mode démo | |
| Licence | ||
| Version du logiciel | ||
| Historique des alarmes | ||
| Réinitialiser tout | ||
Pour quitter le Menu, appuyez sur ou sur la partie droite de l'affichage, endhors de la fenetre contextuelle. Pour parcourir le Menu, utilisez < ou >.
Lorsque vous maintainez votre doigt appuyé sur certaines des options disponibles dans le Menu, une brève
description s'affiche. Suivez les conseils pour parcourir facilement le Menu.
Si vous avez atteint le bas du Menu, faites defiler la liste vers le haut et utilisez <ou appuyez sur pour quitter le Menu.
6. AVANT LA PREMIÈRE UTILISATION

AVERTISSEMENT!
Reportez-vous aux chapitres concernant la sécurité.
6.1 Premier branchement à l'alimentation secteur
Lorsque you branche la table de cuisson à l'alimentation, you veez
définir la Langue, la Affichage Luminosité et le Volume Alarme.
Vous pouvez modifier le réglage dans le Menu > Réglages > Régler. Reportez-vous au chapitre « Utilisation quotidienne »
7. UTILISATION QUOTIDIENNE

AVERTISSEMENT!
Reportez-vous aux chapitres concernant la sécurité.
7.1 Activation et désactivation
Appuyez sur ① pendant 1 seconde pour activer ou désactiver la table de cuisson.
7.2 Arrêt automatique
Cette fonction arrête la table de cuisson automatiquement si :
toutes les zones de cuisson sont désactivées,
- vous ne reglez pas le niveau de cuisson après avoir allumé la table de cuisson,
- vous avez renversé quelque chose ou place un objet sur le bandeau de commande pendant plus de 10 secondes (une casserole, un torchon, etc.). Un signal sonore retentit et la table de cuisson s'eteint. Retirez l'objet du bandeau de commande ou nettoyez celui-ci.
- la table de cuisson surchauffe (par ex. lorsqu'un réseauchauffe à vide).
- Laissez refroidir la zone de cuisson avant de réutiliser la table de cuisson.
- vous utilisez un récipient inadapté, ou qu'il n'y a pas de récipient sur une zone. Le symbole blanc de la zone de cuisson clignote et la zone de cuisson à induction s'eteint automatiquement au bout d'une minute.
- vous ne désactive pas la zone de cuisson ou ne modifie pas le niveau de cuisson. Au bout de quelques
instants, un message s'affiche et la table de cuisson s'eteint.
La relation entre le niveau de cuisson et la durée après laquelle la table de cuisson s'estint :
| Niveau de cuisson | La table de cuisson s'éteint au bout de |
| 1 - 2 | 6 heures |
| 3 - 5 | 5 heures |
| 6 | 4 heures |
| 7 - 9 | 1,5 heures |
7.3 Utilisation des zones de cuisson
Posez le écipient au centre de la zone de cuisson souhaïée. Les zones de cuisson à induction s'adaptent automatiquement au diamètre du fond du écipient utilisé.
Dés que vous placez le écipient sur la zone de cuisson sélectionnée, la table de cuisson le détecte automatiquement et le curseur correspondant s'affiche. Le curseur reste visible pendant 8 secondes ; après cela, la vue principale s'affiche à nouveau. Pour fermer le curseur plus rapidement, appuyez sur l'affichage, en dehors de la zone du curseur.
Lorsque les autres zones sont activées, le niveau de cuisson de la zone que vous souhaitez utiliser peut être limité. Reportez-vous au chapitre « Gestion alimentation »
Assurez-vous que le récipient est compatible avec les tables de cuisson à induction. Pour plus d'informations sur les types de récipiens, reportez-vous au paragraphe « Types de récipiens » du chapitre « Conseils ». Verifie la taille du récipient dans les « Données techniques »
7.4 Niveau de cuisson
- Allumez la table de cuisson.
- Placez le recipient sur la zone de cuisson souhaitee.
Le curseur de la zone de cuisson active s'affiche et reste actif pendant 8 secondes.
3. Appuyez ou faites glisser votre doigt sur le curseur pour régler le niveau de cuisson souhaité.
Le symbole devient rouge et grossit.

7.5 PowerBoost
Cette fonction donne plus de puissance à la zone de cuisson à induction appropriée, en fonction de la taille du recipient. La fonction peut être activée pour une durée limite quémument.
- Appuyez d'abord sur le symbole de la zone de cisson souhaitée.
- Appuyez sur P ou faites glisser votre doigt sur la droite pour activer la fonction pour la zone de ciisson selectionnée.
Le symbole devient rouge et grossit.
La fonction se désactive automatiquement. Pour désactiver cette fonction manuellement, selectionnez la zone et modifiez le niveau de cuisson.
Pour connaître les valeurs de duréeemaxales, reportez-vous au chapitre « Caracteristiques techniques »
7.6 Limitation de puissance
Lorsque l'appareil vous est livre, sa puissance est reglee a son plus haut niveau (7 200 W). Vous pouvez modifier la puissance maximale si votre installation ne supporte pas la pleine puissance.

Assurez-vous que la puissance selectionnée est adaptée aux fusibles de votre tableau électrique.
- Appuyez sur — sur l'affichage pour ouvrir le Menu.
- Sélectionnez Reglages > Régler > Gestion alimentation etCHOISSEZ le niveau de puissance adaptable, entre 1500 W et 7200 W.
Pour quitter le Menu, appuyez sur la partie droite de l'affichage, en-dehors de la fenetre contextuelle, ou appuyez a plusieurs reprises sur<.
7.7 Gestion alimentation
- Des zones de cuisson sont regroupées en fonction de l'emplacement et du nombre de phases de la table de cuisson. Reportez-vous à l'illustration.
- Chaque phase dispose d'une charge électrique maximale de 3600 W.
- La fonction répartit la puissance entre les zones de cuisson raccordées à la même phase.
- La fonction s'active lorsque la charge électrique totale des zones de cuisson raccordées à une phase simple dépasse 3600 W.
- La fonction diminue la puissance des autres zones de cuisson raccordées à la même phase, ce qui a une influence sur le niveau de chaleur disponible.
- Le niveau de chaleur maximal est visible sur le curseur. Seuls les chiffres en blanc peuvent être activés.
- Si un niveau de chaleur supérieur n'est pas disponible, commencez par réduire le niveau des autres zones de cuisson.
Fonction Gestion alimentation avec Limitation de puissance
Lorsque you reglez la fonction Limitation de puissance sur 6,0 kW ou moins, la puissance de la table de
cuisson est répartie entre toutes les zones de cuisson.

Lorsque vous reglez la fonction Limitation de puissance sur plus de 6,0 kW, la puissance de la table de cuisson est répartie entre deux zones de cuisson fonctionnant en paire.

7.8 Fonction Bridge
Cette fonction couple deux zones de cuisson, de sorte qu'elles fonctionnent comme une seule, avec le même niveau de cuisson.
Vou pouve utiliser la fonction pour de grands réciPIents.
- Posez un réseau sur deux zones de cuisson. Le réseau doit recouvrir le centre des deux zones.
- Appuyez sur pour activer la fonction. Le symbole de la zone change.
- Reglez le niveau de cuisson.
Le recipient doit recouvrir le centre des deux zones, mais il ne doit pas dépasser le repère des zones.


Pour désactiver la fonction, appuyez sur la touche [■]. Les zones de cuisson fonctionnent de nouveau de manière indépendante.
7.9 Minuteur
Minuteur degressif
Utilisez cette fonction pour régler la durée de fonctionnement d'une zone de cuisson, uniquement pour une session.
Vou puevez régler cette fonction pour chaque zone de cuisson séparément.
- Sélectionnez d'abord le niveau de cuisson de la zone de cuisson, puis réglez la fonction.
- Appuyez sur le symbole de la zone de cuisson.
- Appuyez sur
La fenêtre du menu du minuteur s'affiche.
- Cochez pour activer la fonction. Les symboles changent en .
- Faites glisser votre doigt vers la droite ou la gauche pour selectionner la durée souhaitation (par ex. heures et/ou minutes).
- Appuyez sur OK pour confirmer votrechoix.
Vous pouvez également désir X pour annuler votre sélection.
Lorsque la durée s'est écoulée, un signal sonore retentit et clignote. Appuyez sur pour arreter le signal sonore.
Pour désactiver cette fonction, réglez le niveau de cuisson sur 0. Vous pouvez également appuyer sur à gauche de la valeur du minuteur, appuyez sur à côté pour confirmer votrechoix lorsqu'une fenêtrecontextuelle s'affiche.
Minuterie independante
Vou puez utiliser cette fonction lorsque la table de cuisson est allumée mais que les zones de cuisson sont eteintes.
Cette fonction est sans effet sur le fonctionnement des zones de cuisson.
- Sélectionne une zone de cuisson.
Le curseur correspondant s'affiche. - Appuyez sur
La fenêtre du menu du minuteur s'affiche.
- Faites glisser votre doigt vers la droite ou la gauche pour selectionner la durée souhaitee (par ex. heures et minutes).
- Appuyez sur OK pour confirmer votrechoix.
Vous pouvez également désir X pour annuler votre sélection.
Lorsque la durée s'est écoulée, un signal sonore retentit et clignote. Appuyez sur pour arrêter le signal sonore.
Pour désactiver la fonction, appuyez sur
à gauche de la valeur du minuteur, appuyez sur à côté pour confirmer votrechoix lorsqu'une fenetrecontextuelle s'affiche.
Chronomètre
La fonction démarre automatiquement le décompte, dés que vous activez une zone de cuisson. Cette fonction permet de surveiller la durée de fonctionnement.
-
Appuyez sur la touche pour acceder au Menu.
-
Faites défilier le Menu pour sélectionner Réglages > Chronomètre.
- Appuyez sur le sélecteur pour activer/désactiver la fonction.
Pour quitter le Menu, appuyez sur ou sur la partie droite de l'affichage, endhors de la fenetre contextuelle. Pour naviguer dans le Menu, utilisez
La fonction ne s'arrête pas si vous souveze le écipient. Pour réinitialiser la fonction et la relancer manuellement, appuyez sur 已 , sélectionnezRéinit. dans la fenêtre contextuelle. La fonction commence à compter à partir de 0. Pourmettre la fonction en Pause en cours de cuisson, appuyez sur et sélectionnez Pause dans la fenêtre contextuelle. Sélectionnez Start pour reprendre le décompte.
7.10 Pause
Cette fonction seLECTIONne le niveau de cuisson le plus bas pour toutes les zones de cuisson activées.
Lorsque la fonction est activée, seuils les symboles ① et II peuvent etre utilisés. Tous les autres symboles figurant sur le bandeau de commande sont bloqués.
La fonction ne désactive pas les fonctions du minuteur.
Appuyez sur Il pour activer la fonction. Il s'allume. Le niveau de cuisson est abaisse a 1. Pour désactiver la fonction, appuyez sur la touche Il.
La fonction s'arrête PowerBoost. Le niveau de cuisson le plus élevé se réactive lorsque vous appuyez à nouveau sur II.
7.11 Verrouillage
Vous pouvez verrouiller le bandeau de commande pendant que le fonctionnement de la table de cuisson.
Vous évitez ainsi une modification accidentelle du réglage du niveau de cuisson.
Réglez d'abord le niveau de cuisson.
Appuyez sur pour activer la fonction. Pour désactiver la fonction, appuyez sur la touche pendant 3 secondes.

Lorsque vous éteignez la table de cuisson, cette fonction est également désactivée.
7.12 Sécurité enfants
Cette fonction permet d'eviter une utilisation involontaire de la table de cuisson.
- Appuyez sur é sur l'affichage pour ouvrir le Menu.
- Sélectionnez Reglages > Sécurité enfants dans la liste.
- Tournez le sélecteur sur Marche/Arrêt et appuyez sur les lettres A-O-X dans l'ordre alphabetique pour activer la fonction. Appuyez sur le sélecteur pour désactiver la fonction.
Pour quitter le Menu, appuyez sur ou sur la partie droite de l'affichage, endhors de la fenetre contextuelle. Pour naviguer dans le Menu, utilisez < ou >.
7.13 Langue
- Appuyez sur — sur l'affichage pour ouvrir le Menu.
- Sélectionnez Reglages >Régler > Langue dans la liste.
- Choisissez la langue souhaitatione dans la liste.
Si vous avez choisi la mauvaise langue, appuyez sur Dans la liste qui apparait, selectionnez la troisieme option, puis deux fois la derniere option. Pour finir, selectionnez l'option sur la droite.
Pour quitter le Menu, appuyez sur ou sur la partie droite de l'affichage, endhors de la fenetre contextuelle. Pour naviguer dans le Menu, utilisez
7.14 Son touches / Volume Alarme
Vous pouvez désirir le type desons que vous entendrez en faisant fonctionner la table de cuisson, ou même les désactiver. Vous pouvez désirir entre un clic (par défaut) ou un bip.
- Appuyez sur — sur l'affichage pour ouvrir le Menu.
- Sélectionnez Reglages > Régler> Son touches / Volume Alarme dans la liste.
- Choisissez l'options appropriée. Pour quitter le Menu, appuyez sur é ou sur la partie droite de l'affichage, endhors de la fenêtre contextuelle. Pour naviguer dans le Menu, utilisez < ou >.
7.15 Affichage Luminosité
Vous pouvez modifier la luminosité de l'affichage.
Il y a 4 niveaux de luminosité, 1 étant le plus bas et 4 le plus élevé.
- Appuyez sur — sur l'affichage pour ouvrir le Menu.
- Sélectionnez Réglages >Régler > Affichage Luminosité dans la liste.
- Choisissez le niveau approprié. Pour quitter le Menu, appuyez sur é ou sur la partie droite de l'affichage, endhors de la fenêtre contextuelle. Pour naviguer dans le Menu, utilisez < ou >.
7.16 Cuisson assistée
La fonction ajuste la température selon différents types d'aliments et la maintient tout au long de la cuisson. Elle ne peut être activée que pour la zone de cuisson avant gauche ou pour les deux zones de gauche lorsqu'elles sont coupclées.
- Appuyez sur — sur l'affichage pour ouvrir le Menu.
- Sélectionnez Cuisson assistée et choisissez dans la liste le type d'aliment que vous souhaitez préparer.
Pour chaque type d'aliments,
plusieurs options sont proposées.
Suivez les instructions qui s'affichent.
- Vous pouvez appuyer sur OK au haut de la fenêtre contextuelle pour utiliser les réglages par défaut.
- Vous pouvez régler la fonction minuteur. Lorsque le bénépient atteint la température souhaïée, vous pouvez activer le minuteur.
-
Vous pouvez modifier le niveau de cuisson par défaut.
-
Dès que le bénépient atteint la température souhaitée, un signal sonore retentit et une fenêtre contextuelle s'affiche. Pour fermer la fenêtre et lancer la fonction, appuyez sur OK. Pour désactiver la fenêtre de façon permanente, cochez avant d'activer la fonction.
Pour arrerter la fonction, appuyez sur et Stop ou appuyez sur et selectionnez Cuisson assistee, choisissez un type d'aliment et appuyez sur Stop.
Pour quitter le Menu, appuyez sur é ou sur la partie droite de l'affichage, endhors de la fenêtre contextuelle. Pour naviguer dans le Menu, utilisez < ou >.
7.17 Fondre
Vous pouvez utiliser cette fonction pour faire fondre différents produits comme du chocolat ou du beurre. Vous ne pouvez utiliser cette fonction que pour une zone de cuisson par session de cuisson.
- Appuyez sur é sur l'affichage pour ouvrir le Menu.
- Sélectionnez Fonctions table > Fondre dans la liste.
- Appuyez sur Start
Vous doivent selectionner la zone souhaitee.
Une fenetre contextuelle apparait vous demandant si vous souhaitez supprimer le réglage precedent, le cas échéant.
Pour quitter le Menu, appuyez sur ou sur la partie droite de l'affichage, en-
dehors de la fenêtre contextuelle. Pour naviguer dans le Menu, utilisez
Pour arrêté la fonction, appuyez sur le symbole de sélection de zone et appuyez sur Stop.
7.18 Hob²Hood
Il s'agit d'une fonction automatique de pointe permettant de relier la table de cuisson à une hotte spéciale. La table de cuisson et la hotte disposant toutes les deux d'un communicateur de signal infrarouge. La vitesse du ventilateur est définié automatiquement en se basant sur le réglage du mode et de la température du recipient le plus chaud se trouvant sur la table de cuisson.
Sur la plupart des hottes, le système de commande à distance est désactivé par défaut. Activez-le avant d'utiliser cette fonction. Pour plus d'informations, reportez-vous au manuel d'utilisation de la hotte.
La fonction s'active automatiquement entre les modes H2 et H6. Par défaut, la table de cuisson est réglée sur H5. La hotte réagit dés que vous allumez la table de cuisson. La table de cuisson déetecte automatiquement la température du écipient et ajuste la vitesse du ventilateur. Vous pouvez régler la table de cuisson pour n'activer que l'éclairage en selectionnant le mode H1.

Si vous modifie la vitesse du ventilateur sur la hotte, la connexion par défaut avec la table de cuisson est désactivée. Pour réactiver la fonction, éteignez puis rallumez les deux apparêls.
| Mo- de | Éclai- rage auto- mati- que | Faire bouil- lir1) | Faire frire2) |
| H0 | Dé-s- activé | Désvactivé | Désvactivé |
| H1 | Activé | Désvactivé | Désvactivé |
| H23) | Activé | Vitesse du ventilateur 1 | Vitesse du ventilateur 1 |
| H3 | Activé | Désactivé | Vitesse du ventilateur 1 |
| H4 | Activé | Vitesse du ventilateur 1 | Vitesse du ventilateur 1 |
| H5 | Activé | Vitesse du ventilateur 1 | Vitesse du ventilateur 2 |
| H6 | Activé | Vitesse du ventilateur 2 | Vitesse du ventilateur 3 |
1) La table de cuisson détecte le processus d'ébullition et sélectionne la vitesse du ventilateur en fonction du mode automatique.
2) La table de cuisson détecte le processus de fri-ture et selectionne la vitesse du ventilateur en fonction du mode automatique.
3) Ce mode active le ventilateur et l'éclairage, sans tenir compte sur la température.
8. CONSEILS

AVERTISSEMENT!
Reportez-vous aux chapitres concernant la sécurité.
8.1 Récipients

Sur les zones de cuisson à induction, un champ electromagnetique puissant chauffe les recipients très rapidement.

Utilisez des recipients adaptés aux zones de cuisson à induction.
Matériaux des recipients
- adaptations : fonte, acier, acier émailé, acier inoxydable, fond multicouche (homologué par le fabricant).
- inadaptés : aluminium, cuivre, laiton, verre, céramique, porcelaine.
Modification des modes
Si le niveau sonore / la vitesse du ventilateur ne sont pas satisfaisants, vous pouvezCHOISIR un autre mode manuellement.
- Appuyez sur
Sélectionnez Reglages > Hob²Hood dans la liste.
- Choisissez le mode approprié.
Pour quitter le Menu, appuyez sur ou à droite de l'affichage, en dehors de la fenêtre contextuelle.
Lorsque vous éteignez la table de cuisson à la fin de la cuisson, le ventilateur de la hotte peut continuer de tourner pendant un certain temps. ÀpRES ce délambda, le système arrêté le ventilateur automatiquement et vous empêche de l'activer accidentellement pendant les 30 secondes suivantes.
L'éclairage de la hotte s'eteint 2 minutes après la mise hors tension de la table de cuisson.
Les plats de cuisson convennent pour l'induction si :
- une petite quantité d'eau contenu dans un récipient chauffe dans un bref laps de temps sur une zone de cuisson régée sur le niveau de cuisson maximal.
- un aimant adhére au fond du récipient.

Le fond de l'ustensile de cuisson doit être aussi plat et écais que possible.
Assurez-vous que le fond du récipient est propre avant de le placer sur la surface de la table de cuisson.
Dimensions de l'ustensile
Les zones de cuisson à induction s'adaptent automatiquement au diamètre du fond du recipient utilisé.
L'efficacité de la zone de cuisson est liée au diamètre du récipient. Un récipient plus petit que le diamètre minimal recommendé ne recoit qu'une petite partie de la puissance généree par la zone de cuisson.

Reportez-vous au chapitre « Caracteristiques techniques »
8.2 Récipients adaptations à la fonction Poéler
N'utilisez que des reçipients à fond plat. Pour vous assurer que le récipient est adaptable :
- Retournez votre récipient.
- Posez une règle sur le fond du récipient.
- Tentez de faire glisser une piece de 1 ou 2 euros (ou une piece de même épaisseur) entre la règle et le fond du récipient.

a. Si la pièce passée entre la règle et le fond du récipient, il n'est pas adapté.

b. Si la pièce ne rentre pas entre la règle et le fond du écipient, il est adapté.

8.3 Bruits pendant le fonctionnement
Si vous entendez :
- un craquement : le recipient est composé de différents matérielux (conception « sandwich »).
- un sifflement : vous utilisez une zone de cuisson avec un niveau de puissance élevé et le recipient est composé de différents matérielux (conception « sandwich »).
- un bourdonnement : vous utilisez un niveau de puissance élevé.
- un réseau : une commutation électrique se produit, le récipient est détecté après l'avoir placé sur la table de cuisson.
- un sifflement, un bourdonnement : le ventilateur fonctionne.
Ces bruits sont normaux et n'indiquent pas une anomalie de l'appareil.
8.4 Öko Timer (Minuteur éco)
Pour réaliser des économies d'énergie, la zone de cuisson se désactive automatiquement avant le signal du minuteur. La différence de temps de fonctionnement dépend du niveau et de la durée de cuisson.
8.5 Exemples de cuisson
Le rapport entre le niveau de cuisson et la consommation energetique de la zone de cuisson n'est pas linéaire. Lorsque vous augmentez le niveau de cuisson, l'augmentation energetique de la zone de cuisson n'est pas proportionnelle. Cela signifie que la zone de cuisson utilisée a un niveau de cuisson moyen utilise moins de la moitié de sa puissance.

Les valeurs figurant dans le tableau suivant sont fournies à titre indicatif.
| Niveau de cuisson | Utilisation : | Durée (min) | Conseils |
| 1 | Conservez les alimentés cuits au chaud. | au be-soin | Placez un couvercle sur le réci-pient. |
| 1 - 2 | Sauce hollandaise, faire fon-dre : beurre, chocolat, gélati-ne. | 5 - 25 | Mélangez de temps en temps. |
| 1 - 2 | Solidifier : omelettes, øefs co-cotte. | 10 - 40 | Couvrez pendant la cuisson. |
| 2 - 3 | Faire moyen des plats à base de riz et de laitage, réchauffer des plats cuisinés. | 25 - 50 | Ajoutez au moins deux fois plus de liquide que de riz, mé-langez les alimentés à base de laitage à la moitié du temps de cuisson. |
| 3 - 4 | Cuire à la vapeur des légumes, du poisson et de la viande. | 20 - 45 | Ajoutez quelques cuillères à soupe de liquide |
| 4 - 5 | Cuire des pommes de terre à la vapeur. | 20 - 60 | Utilisez max. ¼ l d'eau pour 750 g de pommes de terre. |
| 4 - 5 | Cuire de grandes quantités d'aliments, des ragôuts et des soupes. | 60 - 150 | Ajoutez jusqu'à 3 l de liquide, plus les ingrédients. |
| 6 - 7 | Faire revenir : escalopes, cordons bleus de veau, côtelettes, rissolettes, saucisses, foie, roux, øefs, crêpes, beignets. | au be-soin | Retournez à la moitié du temps. |
| 7 - 8 | Cuisson à température élevée des pommes de terre rissolées, filets, steaks. | 5 - 15 | Retournez à la moitié du temps. |
| 9 | Faire bouillir de l'eau, cuire des pâtes, griller de la viande (goulasch, bœuf braisé), cuire des frites | ||
| P | Faire bouillir une grande quantité d'eau. La fonction PowerBoost est acti-vee. |
8.6 Consels pour Hob²Hood
Lorsque you faites fonctionner la table de cuisson avec la fonction :
- Protégéz le bandeau de commande de la hotte des rayons directs du soleil.
- Ne dirigez pas de lumière halogène sur le bandeau de commande de la hotte.
-
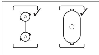
Ne recouvre pas le bandeau de commande de la table de cuisson.
-
N'interrompez pas le signal entre la table de cuisson et la hotte (par exemple avec la main ou la poignée d'un ustensile). Reportez-vous à l'image.
La hotte sur l'illustration est uniquely donnée à titre d'exemple.

i Les autres apparéils télécommandés peuvent bloquer le signal. N'utilise pas d'autre apparéil télécommandé en même temps que la fonction de la table de cuisson.
Hottes de cuisinière dotées de la fonction Hob²Hood
Pour couver la gamme complète des hottes dotées de cette fonction, consultez notre site web destiné aux consommateurs. Les hottes AEG qui sont dotées de cette fonction doivent porter le symbole
9. ENTRETIEN ET NETTOYAGE
! AVERTISSEMENT! Reportez-vous aux chapitres concernant la sécurité.
9.1 Informations generales
- Nettoyez la table de cuisson après chaque utilisation.
Utilisez toujours un réseau dont le fond est propre. - Les rayures ou les taches sombres sur la surface n'ont aucune incidence sur le fonctionnement de la table de cuisson.
Utilisez un nettoyant spécifique adapté à la surface de la table de cuisson.
Utilisez un racloir spécial pour la vitre.
9.2 Nettoyage de la table de cuisson
Enlevez immédiatement : le plastique fondu, les feuilles de plastique, le sucre et les alimentés contenant du sucre car la saleté peut endommager la table de cuisson.
Veiliez à ne pas vous brûler. Tenez le racloir spécial incliné sur la surface vitrée et faites glisser la lame du racloir pour enlever les salissures.
- Une fois que la table de cuisson a suffisamment refroidi, enlevez : traces de calcaire et d'eau, projections de graisse, décolorations metalliques liuesantes. Nettoyez la table de cuisson à l'aide d'un chiffon humide et d'un détergent non abrasif. Àpres le nettoyage, sechez la table de cuisson à l'aide d'un chiffon doux.
Pour retiret les decolorations metalliques brillantes : utilisez une solution d'eau additionnée de vinaigre et nettoyez la surface vitrée avec un chiffon. - La surface de la table de cuisson dispose de rainures horizontales. Nettoyez la table de cuisson à l'aide d'un chiffon humide et d'un peu de détergent en effectuant des mouvements de gauche à droite. Àpres le nettoyage, sechez la table de cuisson à l'aide d'un chiffon doux de gauche à droite.
10. DÉPANNAGE

AVERTISSEMENT!
Reportez-vous aux chapitres concernant la sécurité.
10.1 Que faire si...
| Problème | Cause possible | Solution |
| Vous ne pouvez pas allumer la table de cuisson ni la faire fonctionner. | La table de cuisson n'est pas connectée à une source d'alimentation électrique ou le branchement est incor-rect. | Vérifiéz que la table de cuisson est correctement branche à une source d'alimentation électrique. Reportez-vous au schéma de branchement. |
| Le fusible a disjoncté. | Vérifiéz que le fusible est bien la cause de l'anomalie. Si les fusibles disjonctent de manière répétée, faites apel à un électricien qualifié. | |
| Vous ne réglez pas le niveau de cuisson dans les 60 secondes. | Allumez de nouveau la table de cuisson et réglez le ni-veau de cuisson en moins de 60 secondes. | |
| Vous avez appuyé sur 2 ou plusieurs touches sensitives en même temps. | N'appuyez que sur une seule touche sensitive à la fois. | |
| Pause est activé. | Reportez-vous au chapitre « Utilisation quotidienne » . | |
| L'affichage ne réagit pas au toucher. | Une partie de l'affichage est recouverte, ou les reçipients sont placés trop près de l'affichage.Du liquide ou un objet se trouvent sur l'affichage. | Retirez les objets couvrant l'affichage. Éloignez les réci-pients de l'affichage.Avant de nettoyer l'afficha-ge, attendez que l'appareil refroidisse. Débranche z'ap-pareil de l'alimentation élec-trique. Au bout d'une minu-te, rebranche z'la table de cuisson. |
| Un signal sonore retentit et la table de cuisson s'éteint.Un signal sonore retentit lorsque la table de cuisson est éteinte. | Vous avez posé quelques chose sur une ou plusieurs touches sensitives. | Retirez l'objet des touches sensitives. |
| La table de cuisson s'éteint. | You've aszed posé quelsque chose sur la touche sensitive ①. | Retirez l'objet de la touche sensitive. |
| Le voyageant de chaleur rési-duelle ne s'allume pas. | La zone de cuisson n'est pas chaude parce qu'elle n'a fonctionné que peu de temps ou le capteur situé sous la surface de la table de cuisson est endommagé. | Si la zone a eu assez de temps pourCHAuffer,faites appel à votre service après-venture agréé. |
| Impossible d'activer le ni-veau de cuisson maximal. | Une autre zone est déjà ré-gliée sur le niveau de cuisson maximal. | Commencez par réduire la puissance de l'autre zone. |
| Le niveau de Limitation de puissance est trop faible. | Changez la puissance maxi-male dans le Menu. Repor-tez-vous au chapitre « Utilis-sation quotidienne » . | |
| Les touches sensitives sont chaudes. | Le récipient est trop grand ou vous l'avez placé trop près des commandes. | Placez les réciipients de grande taillie sur les zones ar-rière, si possible. |
| Hob2Hood ne fonctionne pas. | You've aszed couvert le ban-deau de commande. | Retirez l'objet du bandeau de commande. |
| Hob2Hood est activé, mais seule la lumière s'allume. | You've aszed activé le mode H1. | Choisissez un mode entre H2 et H6, ou attendez que le mode automatique démarre. |
| Hob2Hood les modes H1 à H6 sont activés, mais l'éclai-rage est éteint. | Il peut y avoir un problème avec l'ampoule. | Contactez un service après-vente agréé. |
| Aucun signal sonore ne se fait entendre lorsqu vous appuyez sur les touches sen-sitives du bandeau. | Les signaux sonores sont désactivés. | Activez les signaux sonores. Reportez-vous au chapitre « Utilisation quotidienne » . |
| You've aszed sélectionné la mauvaise langueue. | You've aszed modifié la langue par erreur. | Réinitialisez toutes les fon-c-tions aux réglages d'usine. SéLECTIONnez Réinitialiser tout dans le Menu.Débranchez l'appareil de l'alimentation électrique. Aubout d'une minute, rebran-chez la table de cuisson. Ré-glez la Langue, la Affichage Luminosite et le Volume Alarme. |
| La zone de cuisson se désac-tive. Un message d'ajtestement indiquant que la zone de cuisson va se désactiver s'aff- fiche. | Arrêt automatique désactive la zone de cuisson. | Reportez-vous au chapitre « Utilisation quotidienne ». Éteignez la table de cuisson puis allumez-la de nouveau. |
| et un message s'aff-chent. | Verrouillage est activé. | Reportez-vous au chapitre « Utilisation quotidienne ». |
| O - X - A s'affiche. | Sécurité enfants est activé. | Reportez-vous au chapitre « Utilisation quotidienne ». |
| clignote. | Il n'y a pas de récipient sur la zone. | Placez un récipient sur la zone. |
| Le récipient n'est pas adap- té. | Utilisez des récipients adap- tés. Reportez-vous au chapi- tre « Conseils ». | |
| Le diamètre du fond du réci- pient de cuisson est trop pe- tit pour la zone. | Utilisez un récipient de di- mensions appropriées. Re- portez-vous au chapitre « Caractéristiques techni-ques ». | |
| et un chiffre s'affichent. | Une erreur s'est produit dans la table de cuisson. | Éteignez la table de cuisson et rallumez-la au bout de 30 secondes. Si E s'affiche à nouveau, débranchez la ta- ble de cuisson de la prise électrique. Au bout de 30 secondes, rebranchez la table de cuisson. Si le problème persiste, contactez le service après-vente agréé. |
| Un bip constant se déclen- che. | Le branchement électrique n'est pas adapté. | Débranchez l'appareil de l'alimentation électrique. Demandez à un électricien qualifié de vérifier l'installa- tion. |
10.2 Si vous ne trouvez pas de solution...
Si vous ne trouvez pas de solution au problème, veuillez contacter votre revendeur ou un service après-venture agrée. Veuillez lui fournir les informations se trouvant sur la plaque signalétique. Assurez-vous d'utiliser correctement
l'appareil. En cas d'erreur de manipulation de la part de l'utiliseur, le déplacement du technicien du service après-vente ou du vendeur pourra être facturede même en cours de garantie. Les instructions relatives au service après-vente et aux conditions de garantie figurent dans le livre de garantie.
11. CARACTERISTIQUES TECHNIQUES
11.1 Plaque signalétique
Modèle IAE64843FB
Type 61 B4A 01 CD
Induction 7.2 kW
Numéro de série ....
AEG
PNC 94959756100
220 - 240 V / 400 V 2N 50 - 60 Hz
Fabrique en Allemagne
7.2 kW

11.2 Licenses du logiciel
Le logiciel inclus dans cette table de cuisson contient un logiciel protégé par copyright, sous licence de BSD, fontconfig, FTL, GPL-2.0, LGPL-2.0, LGPL-2.1, libJpeg, zLib/ libpng, MIT, OpenSSL / SSLEAY ISC, Apache 2,0 et autres.
Consultez la copie complète de la license dans : Menu > Réglages > Service > Licence.
Vou puevez tellecharger le code source du logiciel en open source en suivant le lien hypertexte indiqué sur la page Internet du produit.
11.3 Caracteristiques des zones de cuisson
| Zone de cuisson | Puisance no-minale (niveau de cuisson max.) [W] | Power-Boost [W] | PowerBoost duréeemaxil [min] | Diamètre du récipient [mm] |
| Avant gauche | 2300 | 3200 | 10 | 125 - 210 |
| Arrière gauche | 2300 | 3200 | 10 | 125 - 210 |
| Avant droitie | 1400 | 2500 | 4 | 125 - 145 |
| Arrière droitie | 1800 | 2800 | 10 | 145 - 180 |
La puissance des zones de cuisson peut légérer différer des données du tableau. Elle dépend de la matière et des dimensions du réseau.
Pour des résultats de cuisson optimaux, utilisez des recipients qui ne dépassent pas les diamètres indiqués dans le tableau.
12. RENDEMENT ÉNERGÉTIQUE
12.1 Informations sur le produit conformément à la norme EU 66/2014 valable pour le marché européen uniquement
| Identification du modèle | IAE64843FB | |
| Type de table de cuisson | Table de cuisson intégrée | |
| Nombre de zones de cuisson | 4 | |
| Technologie de chauffage | Induction | |
| Diamètre des zones de cuisson circulaires (Ø) | Avant gauche | 21,0 cm |
| Arrière gauche | 21,0 cm | |
| Avant droitie | 14,5 cm | |
| Arrière droitie | 18,0 cm | |
| Consommation d'énergie selon la zone de cuisson (EC electric cooking) | Avant gauche | 188,9 Wh / kg |
| Arrière gauche | 188,9 Wh / kg | |
| Avant droitie | 183,4 Wh / kg | |
| Arrière droitie | 178,8 Wh / kg | |
| Consommation d'énergie de la table de cuisson (EC electric hob) | 185,0 Wh / kg | |
EN 60350-2 - Appareils de cuisson
domestiques électriques - Partie 2 : Tables de cuisson - Méthodes de mesure
des performances
Les mesures d'énergie se rapportant à la zone de cuisson sont identifiées par les repères des zones de cuisson correspondantes.
12.2 Économie d'énergie
Yououpouzeéconomiserde l'énergie au quotidien en suivant les conseils suivants.
-
Si vous faiteschauffer de I'eau, ne faiteschauffer que la quantité dont vous avez réellement besoin.
-
Si possible, couvrez toujours les recipients de cuisson avec un couvercle pendant la cuisson.
Activez toujours la zone de cuisson après avoir posé le écipient dessus. - Placez les plus petits récipiens sur les plus petites zones de cuisson.
- Posez directement le bénépant au centre de la zone de cuisson.
- Vous pouvez utiliser la chaleur résiduelle pour conserver les alimentés au chaud ou pour faire fondre.
13. EN MATIÈRE DE PROTECTION DE L'ENVIRONNEMENT
Recyclez les matériaux portant le symbole . Déposez les emballages dans les conteneurs prévus à cet effet. Contribuez à la protection de l'environnement et à votre sécurité,
recyclez vos produits électriques et électroniques. Ne jietez pas les apparéils portant le symbole avec les ordures menagères. Emmenez un tel produit
dans votre centre local de recyclage ou contactez vos services municipaux.
FRANCE ONLY

CONSIGNE POUVANT VARIER LOCALEMENT > WWW.CONSIGNESDETRI.FR

CUPRINS
- INFORMATI PRIVIND SIGURANTA 28
- INSTRUCTIONI DE SIGURANTÁ 31
- INSTALLAREA 33
4.DESCRIEREAPRODUSULUI 35 - GHID RAPID 36
- INAINTE DE PRIMA UTILIZARE 37
- UTILIZAREA ZILNICA 38
- INFORMATI SI SFATURI. 43
9.INGRIJIREA SICURATAREA 46 - DEPANARE 47
- DATE TEHNICE 49
- EFICIENTÄ ENERGETICA 50
PENTRU REZULTATE PERFECTE
2.3 Modul de utiliser

Notice Facile