A6Y12F2B-E - Climatiseur FEDDERS - Notice d'utilisation et mode d'emploi gratuit
Retrouvez gratuitement la notice de l'appareil A6Y12F2B-E FEDDERS au format PDF.
| Type de produit | Climatiseur de fenêtre |
| Capacité de refroidissement | 12 000 BTU |
| Alimentation électrique | 220-240 V, 60 Hz |
| Dimensions approximatives | 66 x 43 x 36 cm |
| Poids | 40 kg |
| Compatibilités | Fenêtres de type standard |
| Type de réfrigérant | R-410A |
| Fonctions principales | Refroidissement, déshumidification, ventilateur |
| Niveau sonore | 54 dB(A) |
| Entretien et nettoyage | Filtres lavables, nettoyage recommandé tous les mois |
| Pièces détachées et réparabilité | Disponibilité des pièces sur demande |
| Consommation énergétique | Classe énergétique A |
| Sécurité | Protection contre les surcharges, certification UL |
| Informations générales | Garantie de 1 an, installation recommandée par un professionnel |
FOIRE AUX QUESTIONS - A6Y12F2B-E FEDDERS
Questions des utilisateurs sur A6Y12F2B-E FEDDERS
0 question sur cet appareil. Repondez a celles que vous connaissez ou posez la votre.
Poser une nouvelle question sur cet appareil
Téléchargez la notice de votre Climatiseur au format PDF gratuitement ! Retrouvez votre notice A6Y12F2B-E - FEDDERS et reprennez votre appareil électronique en main. Sur cette page sont publiés tous les documents nécessaires à l'utilisation de votre appareil A6Y12F2B-E de la marque FEDDERS.
MODE D'EMPLOI A6Y12F2B-E FEDDERS
Climatiseurs - Installation dans un mur ou une fenêtre à guillotine
ENGLISH
Directives de sécurité important 19
Installation
Installation dans une fenetre 20
Installation à travers un mur 21
Utilisation
Commandes electronique 23
Nettoyage du filtré à air 25
Dépannage/Guide de diagnostic 26
Garantie 27
For Future Reference
Pour consultation ultérieure
Inscrivez les nombres de mode et de série
Noter ci-contre les numéroes de modèle et de série (on les trouve sur le côté de la grille décorative avant, pres du tableau de commande). Communiquer ces numéroes lors de toute correspondance ou appel au service après-vente ayant trait au climatiseur.
Model No., No. de Modelo, N^ de modulo
Serial No., No. de Serie, N^ de série
Date of Purchase, Fecha de Compra, Date d'achat
Cordon électrique avec dispositif de détction d'arc
Le cordon électrique fourni avec ce climatiseur compte un dispositif de détction d'arc électrique concu pour couper l'alimentation de l'appareil quand une formation d'arc est détectée. L'arc est le résultat d'une décharge électrique involontaire qui a lieu lorsque des produits ou des fils électriques sont endommages, déteriorés ou mal utilisés. La formation d'arc peut être dangereuse si elle n'est pas détectée.

AVERTISSEMENT

- N'enlevez pas cette fiche et ne la modifiez pas.
- Ne l'utilisez pas comme interrupteur.
- Ne l'utilise pas à l'extérieur.
- Ne poussez pas les meubles contre le cordon électrique ou ne les mettez pas sur ce cordon. Ceci peut déclencher le commutateur de test ou endommager le cordon et par conséquent entraîner une formation d'arc.
- N'essayez pas de réparer le cordon. S'il faut remplaçer le cordon, faites appel à un réparateur autorisé.
- Le dispositif de détction d'arc n'est pas un disjoncteur et il ne faut pas l'utiliser comme tel.
- Le dispositif de détention d'arc contient une carte de circuit imprimé qui ne doit pas être exposée à l'eau.
Réarmement
Si le dispositif de détention d'arc se déclenché, le bouton de réarmement sort.
Suivez ces étapes pour réarmer le dispositif de détention d'arc :
1.Débranchez l'appareil.
2. Appuyez sur le bouton de réarmement.
3.Rebranchez l'appareil.
4. Vérifiez si l'appareil est alimenté en courant.
Tests
Voudevez tester le cordon electrique equipe du dispositif de detection d'arc, une fois par mois ou après chaque orage electrique, ou si l'alimentation du climatiseur a ete coupee.
Suivez ces étapes pour tester le dispositif de détéction d'arc :
1.Débranchez l'appareil.
2.Appuyez sur le bouton de réarmement.
3.Rebranchez l'appareil.
4.Appuyez sur le bouton d'essay. Un déclenchement de l'appareil devrait avoir lieu et le bouton de réarmement devrait sortir.
5.Appuyez a nouveau sur le bouton de réarmement.
Si ce test ne donne pas le bon résultat, n'utilisez plus le climatiseur et prenez contact avec le service à la clientèle en composant le numéro sans frais suivant :
1-800-332-6658
ou envoyez un courriel à :
Risque de chocolélectrique


- Brancher l'appareil uniquement sur une prise de courant électrique reliée à la terre.
- Ne pas utiliser avec cet apparéil un cable de rallonge ou un adaptateur de fiche.
- Ne pas faire fonctionner cet apparéil lorsqu'le panneau de façon est enlevé.
- Le non-respect de ces précautions peut entrainer chocoléctrique, incendie ou blessures.
- Si les paramètres d'alimentation électrique sur la plaque signalétique sont 115 volts et 7,5 A ou plus, il faut que l'appareil soit protégé par son propre fusible ou disjoncteur, etaucun autre appareil ne devrait être branché sur le même circuit d'alimentation. Si la plaque signalétique du climatiseur indique qu'il doit être alimenté sous 230 volts, il faut que l'appareil soit protégé par son propre fusible ou disjoncteur, etaucun autre appareil ne devrait être branché sur le même circuit d'alimentation.
- Il est recommendé qu'un électricien qualifié installé l'appareil conformément aux prescriptions du code national des installations électriques et des codes et règlements locaux applicables.
Utiliser uniquement des conducteurs en cuivre et dispositifs de protection de calibre et de capacité adequate. - Ne pas modifier le cordon d'alimentation ou la fiche de branchement. N'enlever aucune étiquette d'avertissement fixée sur le cordon d'alimentation.
Liaison à la terre - Exigences importantes
- Pour la protection des utilisateurs contre les risques de chocolélectrique, le climatiseur compte un cordon d'alimentation muni d'une fiche de branchement à trois broches (liaison à la terre) qu'on doit brancher sur une prise de courant murale à trois alveoles convenablement reliée à la terre. Pour un réseau dont la demande de courant est de 7,5 A ou moins, utiliser une prise de courant murale reliée à la terre de même configuration que la fiche de branchement.
- Pour un modele dont la demande de courant est supérieure a 7,5 A, utiliser une prise de courant simple avec liaison à la terre, de même configuration que la fiche de branchement.
Avertissement
Ne pas faire fonctionner ce climatiseur si le circuit d'alimentation n'est pas protégé par un fusible ou disjoncteur chronometre de capacité convenable. Pour les caractéristiques d'alimentation électrique, voir la plaque signalétique de l'appareil.
Calibre Recomméde des conducteurs (selon le code du bâtiment) :
CAPACITÉ CALIBRE DES
DU FUSIBLE CONDUCTEURS
15 A
N° 14 ou plus gros
20 A
N° 12 ou plus gros
30 A
N° 10 ou plus gros

125V
15A

250V
20A

250V
15A

250V
30A
Mesures de sécurité additionnelles
- Ne pas couper, modifier ou enlever,aucun des composants de polystyrene expansé (materiel isolant blanc) places a l'intérieur du climatiseur.
- Ne jamais remiser ou utiliser d'essence ou autre produit inexplorable liquide ou gazeux au voisinage des apparèils ou de tout autre apparéil menager. Les vapeurs émises pourraient entraîner un risque d'incendie ou d'explosion.
- N'introduireaucun object dans la zone de décharge de l'air; ceci pourrait provoquer une déterioration non réparable de l'appareil.
- Ne verser aucun liquide sur le climatiseur; ceci pourrait entraîner une anomalie de fonctionnement. Pour le nettoyage de l'appareil, utiliser un chiffon humide.
- Lors du nettoyage du climatiseur, éviter d'employer un solvant énergique.
- Pour éviter une obstruction et un échauffement excessif, nettoyer le filtr du climatiseur à intervalles de deux semaines.
- Veiller à ne pas obstruer les entrées d'air du climatiseur; ceci provoquerait un échauffement excessif et le déclenchement des dispositifs de sécurité qui provoquent l'arrêt de l'appareil.
- Ne pas bloquer la circulation de l'air vers les claires-voies extérieures de la caisse.
- Ne pas bloquer la circulation de l'air au voisinage de l'appareil, à l'intérieur (stores, ridesaux, meubles), ou à l'estérieur (arbustes, enceintes ou autreBATIMENT).
- Ne pas faire fonctionner le climatiseur lorsque la housse de protection est en place. Ceci pourrait faire subir des dommages mécaniques au climatiseur.
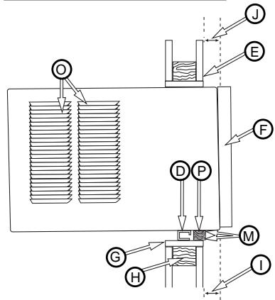
Dimensions de la fenêtre
Ce climatiseur a ete configre a l'usine pour l'installation dans une fenetre a guillotine standard (double) offrant une largeur libre de 68,3 cm (26,875 po) a 105,7 cm (41,625 po) et une hauteur libre d'au moins 39,7 cm (15,625 po) (depuis le bas de l'ouvrant mobile jusqu'au seuil de fenetre). On peut installer l'appareil dans une fenetre offrant une largeur libre de 3/8 po, après dépose des joints lateraux.

Outillage nécessaire

Tournevis

Clé à cliquet

Niveau

Ruban à mesurer
Contenu de l'ensemble d'installation
| No. | Nom de la pièce | Q'té |
| A | Vis a bois - 25mm (1po) | 1 |
| B | Vis a bois 15.875mm (5/8 po) | 5 |

Installation dans un fremde
Enlevement du panneau de façon décoratif
- Retirer les vis de chaque cote de la caisse.
- Tirer avec précaution vers l'avant tout tenant bien les deux côts du panneau de façon.
L'enlevement du chassin
- En bas, à l'arrière de la caisse, sur les côtés, enlever les deux (2) vis placées avant l'expédition.
- En bas, à l'avant, sur les côtes de la caisse, Œter les deux (2) vis antivol. CONSERVER CES VIS; elles seront réutilisées durant l'installation.
- Faire glisser le chassin pour le faire sortir de la caisse - saisir la poignée du plateau et tirer vers l'avant.
Installation des panneaux de replissage
- Faire coulisser le cadre du panneau de replissage sur la caisse du climatiseur en utilisant les tringles supérieure et inférieure de l'appareil. Faire coulisser le cadre aussi pres que possible du climatiseur de manière que le rideau se verrouille en place.
- Tirer sur le cadre avec précaution jusqu'à ce qu'il se trouve à laonne longueur.

Travailler prudemment au voisinage des arêtes exposées de la caisse et des arêtes acérées de l'échangeur de chaleur, pour éviter de se blesser ou de déchirer les vêtements.





Seuil de fenêtre

Tringle
inférieure

Vis a bois -
25mm (1po)

Vue Lateral

Niveau

Vis à bois - 5/8 po

Ouvrant inférieur

Seuil de fenêtre

Panneau d'obturation


Joint en
mousse

Ouvrant
inéfiereur

Panneau
d'obturation

Moulure

Seuil de

Vis antivol

Chassis du
climatiseur

Panneau
de façade
décoratif
Installation dans un fremde
- Ouvrir la fenêtre et marquer la position du centre sur le seuil de fenêtre. Positionner prudemment la caisse dans la fenêtre; aligner le trou central de la tringle inférieure avec la marque de centrage tracée sur le seuil de fenêtre.
- Abaiser l'ouvrant inférieur de la fenêtre pour le placer au contact de la caisse, derrière la tringle de retenue supérieure. (Ne pas l'acher la caisse avant que l'ouvrant inférieur soit à sa position finale.)
- Fixer la caisse sur le seuil de la fenêtre : placer une vis de 1 po à travers la tringle inférieure, dans le seuil de fenêtre.
Veiller à ce que la caisse demeure inclinée vers l'extérieur. Il faut que le climatiseur soit légèrement incliné vers l'extérieur, vers le bas (bulle du niveau décalée de 1/2 bulle); cette légère inclinaison vers l'extérieur empêchera l'eau de pénétrer dans la pierce.
Installation des panneaux de replissage
- Faire coulisser les panneaux de replissage vers l'extérieur pour les placer en contact avec le fond des rainures verticales des chambranes de fenêtre.
- Immobiliser chaque panneau de replissage au sommet avec des vis de 5/8 po placees dans l'ouvrant à travers les trous de montage supérieurs.
- Immobiliser le bas des panneaux de replissage avec des vis de 5/8 po placees dans le seuil de fenêtre à travers les onglets des panneaux de replissage.
- Installer le chassin dans la caisse.

Veiller à ne pas obstruer les entrées d'air du climatiseur; ceci provoquerait un échauffement excessif et le déclenchement des dispositifs de sécurité qui provoquent l'arrêt de l'appareil. Ne pas bloquer la circulation de l'air au voisinage de l'appareil, à l'intérieur (stores, rideaux, meubles), ou à l'extérieur (arbustes, enceintes ou autreBATIMENT).
Installation du châssis dans la caisse
- Faire glisser le chassin dans la caisse.
- Placer le sommet du panneau de façon décoratif à sa position normale; pivoter vers l'arrière, vers l'appareil, pour provoquer l'emboitement et la mise en place. Réinstaller la vis de retenue derrière le panneau d'admission d'air.
- Réinstaller les deux vis antivol en bas, à l'avant, sur les côtes de la caisse.
- Couper des joints en mousse de plastique à la longueur correspondant à la largeur de la fenêtre; installer ces joints entre les panneaux ouvrants mobiles supérieur et inférieur de la fenêtre.
- Utiliser un calfeutrant pour replir toute ouverte mineure.

Ne jamais percer un trou dans le plateau de récapération inférieur. L'appareil est concu pour fonctionner avec environ 13 mm (1/2 po) d'eau dans le plateau de récapération.

A Tringle superior B Vis a bois - 25mm (1po)



A Encadrement en bois
(6) Vis à bois - 1 po
Caisse
Tringle inférieure
E l'intérieur de la piece
F Panneau de façade décoratif
Support en bois - minimum 2,5 x 15,2 cm (1 x 6 po) (fixation sur l'encadrement en bois par clous ou vis)
Encadrement en bois - 5cm× 5cm (2po × 2po), tout ajustur
① Espace -3.8cm (1-1/2 po)
Espace -3,2cm 1-1/4 po
Parement de briques
Cornière de linteau
Calfeutrage
Solin (égouttement de l'eau)
Claires-Voies latérales
P Panneau de bois
Installation de la caisse dans une fenêtre de largeur minimale
- Ne pas installer les panneaux de replissage sur la caisse du climatiseur.
- Voir les étapes 1 à 7 des instructions précédentes.
- Abaiser l'ouvrant jusqu'àu contact avec la caisse, derrière la tringle supérieure du climatiseur.
- Assujettir l'ouvrant inférieur avec le chassin de la fenetre (utiliser clous, vis à bois ou brides en équerre).
- S'il reste des espaces à replir sur les côts du climatiseur, les replir avec des morceaux en polystyrene ou mousse de plastique, coupés à la taille appropriée (des deux côts).
- Utiliser un calfeutrant pour replir toute ouverture mineure.
- Installer le chassin dans la caisse.
Pour une autre configuration d'installation, demander les instructions appropriées à l'importateur ou au revendeur agréé.
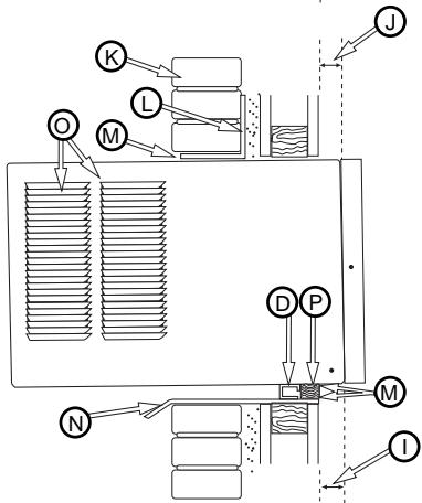
Installation à travers un mur
La conception de ce climatisationur permet son extraction hors de la caisse par coulissement, ce qui permet l'emploi de la caisse comme gaine murale pour l'installation à travers un mur – bâtiment existant ou construction neuve. Nous recommendons que ce type d'installation soit executé avec l'assistance d'un professionnel.
- IMPORTANT : Lors de l'installation de cet apparéil, on doit respecter les prescriptions du code du bâtiment, du code des installations électriques, et des règlements locaux en vigueur.
- Pour éviter des blessures, employer les techniques de levage appropriées, et demander la participation d'un assistant.
- Il est important de vérifier le bon état du mur dans lequel le climatiseur sera installé.
- Vérifier que le mur peut soutenir le poids du climatiseur.
- Toutes les claires-voies de la caisse du climatiseur DOIVENT SE TROUVER à l'extérieur du mur. VEILLER À NE PAS OBSTRUER LES CLAIRES-VOIES LATERALES.
-
La caisse doit être d'aplomb létairelement, et légèrement inclinée vers l'extérieur.
-
Enlever d'abord le panneau de façon decoratif, puis retarder le chassin de la caisse. Oter la tringle supérieure de la caisse.
- Déterminer les dimensions de l'ouverture que devra former un encadrement en bois : ajouter 3,2mm (1/8 po) à la largeur et à la hauteur de la caisse. Mesurer la hauteur depuis le sommet de la caisse jusqu'à la limite inférieure de la tringle. Ajouter cette dimension à l'épaissur des barres en bois utilisées pour la réalisation de l'encadrement. Ceci déterminera la taille de l'ouverture nécessaire dans le mur. Pour la réalisation de l'encadrement, utiliser du bois écais d'au moins 2,5mm (1 po). Pour déterminer la largeur finale de l'encadrement, tener compte du fait que les claires-voies laterales de la caisse doivent être totalement dégagées.
- Installer l'encadrement en bois dans l'ouverture murale; contrôler l'aplomb et l'équarrage; fixer solidement par clous ou vis sur le mur, et placer la caisse dans l'ouverture de l'encadrement réalisée dans le mur.
- Veiller à ce que la caisse dépasse en saillie à l'intérieur de la pierce, de 3,2 cm (1-1/4 po) au sommet et de 3,8 cm (1-1/2 po) en bas; ceci produit l'inclinaison appropriée et permettra l'accès aux vis antivol. Fixer ensuite la caisse à l'encadrement à l'aide de douze (12) vis à bois de 1 po (non fournies), à travers des trouss percés dans la caisse.
Si le bâtiment comporte un parement de briques, on devra utiliser une cornière en acier pour soutenir les briques au-dessus de la caisse du climatiseur.
- Àprous l'installation de la caisse, calfeutrer toutes les ouvertures à l'intérieur et l'extérieur entre l'encadrement en bois et la caisse, pour empêcher l'introduction d'humidité à l'intérieur du mur. L'emploi d'un solin (flashing) contribuera également à empêcher l'eau de s'introduire à l'intérieur du mur.
- Installer le chassin du climatiseur dans la caisse.
Tableau de commande électronique
Commande marche/arrêt
Ce bouton commande la mise en marche et l'arrêt de l'appareil.
Affichage température/minuterie
Cet afficheur présente la température de réglage lorsque le climatiseur fonctionne, et la durée lors du réglage de la période de minutage. L'INDICATION DE TEMPERATURE TURE CORRESPOND À LA TEMPERATURE DE RÉGLAGE, ET NON PAS À LA TEMPERATURE RÉLLE DANS LA PIECE.
Commandes de température/minuterie
Ces boutons permettent d'augmenter ou diminuer la température de réglage par intervalle de 0,6^ (1 °F), entre 19 et 31 °C (66 et 88 °F). Si on appuie simultanément sur les deux boutons, l'affichage de température permute entre degrès Celsius et degrès Fahrenheit. Lors du réglage de la minuterie, ces boutons font changer le réglage de l'heure, par intervalle d'une heures, entre 00 et 24.
Sélecteur de mode
Un témoin vert indique quel mode est actuèlement utilisé.
Mode de refroidissement -
Circulation de l'air avec refroidissement.
Mode de chauffage (seulement pour un modele avecchauffage)-
Cet apparéil peut réchauffer l'air qu'il fait circuler.
Mesure de sécurité pour la fonction de chauffage - Lorsqu'on interrupt l'alimen-tation de l'élément chauffant, le ventilateur continue à fonctionner (basse vitesse) pendant 60 secondes pour l'évacuation du résidu de chaleur, tandis que le témoin DEL vitesse basse clignote jusqu'à l'arrêt du ventilateur.
Mode de ventilation -
L'appareil ne fait que circuler l'air.
Mode d'économie d'énergie -
La fonction «économie d'énergie» n'est utilisé qu'avc le mode de refroidissement. Lorsque le compresseur cesse de fonctionner sur commande du thermostat, le ventilateur adopte automatiquement la VITESSE BASSE, qu'elle que soit la vitesse de rotation initialement selectionnée. Lors de la remise en marche du compresseur sur commande du thermostat, le ventilateur adopte de nouveau la vitesse de rotation initialement selectionnée. La vitesse du ventilateur change automatiquement, selon l'évolution de la température dans la piece.
Sélecteur de la vitesse du ventilateur -
elevée, moyenne,asse et autom.
Chaque pression sur le bouton fait changer la vitesse selectionnée pour le fonctionnement du ventilateur. Un tímoin vert indique qu'elle vitesse est actuellément selectionnée.
Lorsque le mode Autom. est selectionné, durant le fonctionnement du climatiseur au mode de refroidissement ou de chauffage, la vitesse du ventilateur change automatiquement en fonction de la température qui regne dans la piece. Au mode de refroidissement, lorsque la température dans la piece est supérieure de 4^ ( 7^ ) ou plus à la température de réglage, la vitesse élevée du ventilateur est utilisée; lorsque la température dans la piece est supérieure de 2^ ( 4^ ) ou moins à la température de réglage, la vitesse BASSE est utilisée. Au mode de chauffage, lorsque la température dans la piece est inférieure de 4^ ( 7^ ) ou plus à la température de réglage, la vitesse élevée du ventilateur est utilisée; lorsque la température dans la piece est inférieure de 2^ ( 4^ ) ou moins à la température de réglage, la vitesse BASSE est utilisée. Dans toutes les autres circonstances, le ventilateur utilise la vitesse moyenne.

Tableau de commande électronique (refroidissement seulement)
Tableau de commande électronique
(chauffage/refroidissement)


A Affichage température/minuterie
B Reglage température/minuterie
C Minuterie - marche/arrêt
D Ventilateur - selecteur de vitesse
E Selecteur de mode
FCommande marche/arrêt
A ATTENTION A
Les modeles avec modes Chauffage/ Refroidissement et leurs avec chauffage électrique sont conçus seulement pour fournir unchauffage d'appoint. Ils servent à fournir un supplément de chaleur aux systèmes de chauffage ordinaires;ils ne sont pas prévus pour être des sources de chaleur principales.
Temporisation intégrée de trois minutes.
Lorsque cet appeareil electrique ne répond ni au bloc à effleurement, ni aux commandes à distance, le débrancher de sa prise, attendre cinq secondes, puis le rebrancher.
Caracteristique de redémarrage automatique:
Si une panne d'électricité survient, cette caractéristique permet à l'appareil de reprendre son fonctionnement, une fois l'électricité rétablie, en retenant les réglages les plus récents.
Minuterie (la minuterie peut commander la mise en marche ou l'arrêt de l'appareil)
Pour commander automatiquement la MISE EN MARCHE de l'appareil à l'aide de la minuterie :
- Appuyer sur le bouton de la minuterie alors que l'appareil N'est PAS ALIMENTÉ. L'afficheur présente 00. Effectuer avec les touches fléchées le réglage de la valeur affichée pour indiquer le nombre d'heures de la période d'attente avant la MISE EN MARCHE du climatiseur sur commande de la minuterie.
- L'afficheurprésentera la durée (en heures) de la période restante avant la MISE EN MARCHE.
- Pour quitter le mode «minuterie», appuyer sur le bouton Timer/Minuterie.
- Un témoin vert pres du bouton Timer/Minuterie indique que la minuterie est active.
Pour commander automatique l'ARRET de l'appareil à l'aide de la minuterie :
- Appuyer sur le bouton de la minuterie alors que l'appareil est ALIMENTÉ. L'afficheurprésentera 00. Effectuer avec les touches fléchées le réglage de la valeur affichée pour indiquer le nombre d'heures de la période d'attente avant l'ARRÉT du climatiseur sur commande de la minuterie. (Après 10 secondes, l'afficheurprésentera de nouveau la température de réglage.)
- Pour afficher la durée de la période restante avant l'ARRÊT du climatiseur, appuyer une fois sur la touche Timer/Minuterie.
- Pour quitter le mode «minuterie», appuyer deux fois sur le bouton Timer/Minuterie.
- Un tímoin vert pres du bouton Timer/Minuterie indique que la minuterie est active.



Piles: Enlevez le couverce à l'arrière de la télécommande à distance et insérez les piles, leurs bornes (+) et (-) se dirigeant dans la bonne direction.

Télécommande de Climatisationur
Les commodes fonctionnent de la même façon que les commades à touche de votre climatiseur.

ATTENTION

- Utilisez seulement de piles AAA ou IEC R03 de 1,5 volts.
- Retirez les piles si la télécommande n'est pas utilisée pendant plus d'un mois.
- N'essayez pas de recharger les piles fournies.
- Toutes le piles doivent être replacées en même temps.
- Ne jetez pas les piles dans un feu, elles poursraient exploser.
- Lors de l'installation de la pile, veiller à respecter la polarité (+/).
- Veiller à ce qu'un jeune enfant ne puisse avoir accès aux piles ou à d'autres petits objets qu'il pourrait avaler. Contacter immédiatement un médecin si un jeune enfant avale un objet de petite taille.
Orientation du jet d'air
L'appareil comporte des claires-voies orientables, ce qui permet de diriger l'écoulement de l'air déchargé. On exécute manuellement le réglage de l'orientation à l'aide de manettes.
Nettoyage du filtré à air
Nettoyer le filtré à intervalles de deux semaines
- Placer le bouton de seLECTION principal à la position OFF/ARRÉT.
- Œter le filtré à air : Ouvrir le panneau d'admission d'air du panneau de façade décoratif;sterolir le filtré de l'appareil.
- Laver le filtré dans de l'eau chaude savonneuse; rincer et bien secouer.
- Réinstaller le filtré; l'avant du filtré doit être place vers l'opérateur.
- Pour faire sécher le filtr, faire fonctionner l'appareil pendant quelques minutes. On doit se souvenir que celui un filtr propre permet à l'appareil de fonctionner convenablement et de fournir son efficacité maximum pour toutes les positions de réglage.
Remarque: Un filtré encrassé réduira la circulation de l'air. NE PAS faire fonctionner l'appareil si le filtré n'est pas installé. Ceci peut faire subir une défaillance au climatiseur.
Un entretien approprié du climatiseur en maximisera la longévité. On recommende de faire effectuer annuellement une inspection et un nettoyage des échangeurs de chaleur et des passages de condensat. Le coût de cet entretien annuel est à la charge du propriétaire de l'appareil.
Dépannage Pour gagner du temps et pour éviter des dépenses, étudier ce qui suit avant de contacter un centre de service agrée.
Refroidissement insuffisant
- Placer le bouton de seLECTION principal à la position OFF/ARRÉT.
- Fermer toutes les fenêtres et portes de la pierce.
- Éliminer toutes obstructions qui réduirai la circulation d'air à travers les claires-voies (à l'intérieur et à l'extérieur).
- Fermer la porte d'entrée d'air (sur certains modèles).
- Inspector/nettoyer le filtré.
- Avec le bouton de sélection principal et le bouton du thermostat, sélectionner le mode de refroidissement maximum.
Dans certaines conditions, l'échéateur de chaleur du système de refroidissement (directement derrière le filtré) peut se givrer; ceci empêche la circulation d'air. Ceci se produit communément lorsque la température à l'extérieur s'abaisse à moins de 21^ ( 70^ ) tandis que l'humidité demeure élevée; si ceci se produit, il suffit d'arrête l'appareil et d'attendre que la glace ait fondu pour que le fonctionnement redevienne normal.
Chauffage insuffisant - seulement pour un modele avec fonction de chauffage
- Placer le bouton de scélection principal à la position OFF/ARRÉT.
- Fermer toutes les fenêtres et portes de la pierce.
- Éliminer toutes obstructions bloquant la circulation de l'air à travers les claires-voies (à l'intérieur et à l'extérieur).
- Fermer la porte d'entrée d'air.
- Placer le bouton du thermostat à la position Warmer/Plus chaud, et le bouton de sélection principal à la position HI HEAT/CHAUFFAGE ÉLEVÉ.
L'appareil ne se met pas en marche
- Placer le bouton de seLECTION principal à la position OFF/ARRÉT.
- Rebrancher le cordon d'alimentation sur la prise de courant; vérifier l'établissement d'un bon contact électrique (si un bon contact électrique ne peut être obtenu, il peut être nécessaire de replacer la prise de courant).
- Placer le bouton de selection principal à la position HIFAN/VENTILATION - VITESSE ÉLEVÉE. Si le ventilateur ne fonctionné pas, déterminer l'etat des fusibles ou disjoncteurs qui alimentent le circuit.
Guide de diagnostic
| Symptôme | Causes possibles | Solutions |
| Le climatiseur ne fonctionne pas | • Fiche de branchement débranchée. • Fusible grillé ou disjoncteur ouvert. • Commutateur d'alimentation à la position d'ARRÊT. • Arrêt accidentel de l'apparil lorsqu'on a fait tourner le bouton du thermostat vers la température élevée et qu'on l'a immidiatement raméné vers la température basse. • Processus trop rapide d'arrêt/remise en marche. • Refroidissement pas possible pour la température sélectionnée par le thermostat. | • Enconcer fermement la fiche dans la prise de courant murale. • Remplacer le fusible par un fusible temporisé, ou réarmer le disjoncteur. • Placer le commutateur à la position de ON/MARCHE. • Attende environ 3 minutes. Écouter le son de mise en marche du compresseur. • Àprous un arrêt du climatiseur, attendre 3 minutes avant la remise en marche. • Modérer le réglage du thermostat pour obliteration un refroidissement. |
| L'air rejeté par l'appareil n'est pas suffisamment froid | • Bouton de sélection à la position FAN/VENTILATION. • Température trop élevé sélectionnée par le thermostat. • Température de la piece inférieure à 21 °C (70 °F). | • Placer le bouton de sélection à la position COOL/REFROIDISSEMENT. • SéLECTIONNER une température plus BASSE avec le thermostat. • Un refroidissement ne peut pas produit avant que la température de la piece ne s'élevée à plus de 21 °C (70 °F). |
| L'appareil produit un refroidissement, mais la température dans la pièce demeure trop élevée - formation de glace sur l'échangeur de chaleur, derrière le panneau de façade décoratif | • Température à l'extérieur inférieure à 21 °C (70 °F). • Filtré encrassé - bloque la circulation de l'air. • Le thermostat sélectionné une température trop BASSE pour le refroidissement nocturne. | • Pour dégiver le'échangeur de chaleur, placer le bouton de sélection à la position FAN/VENTILATION. SéLECTIONNER ensuite une température plus BASSE avec le thermostat. • Nettoyer le filtre. Voir la section «Nettoyage du filtre à air.» Pour le dégivrage, SéLECTIONNER la position FAN/VENTILATION. • Pour le dégivrage de l'échangeur de chaleur, SéLECTIONNER la position FAN/VENTILATION. Ensuite, SéLECTIONNER une position normale sur le thermostat. |
| L'appareil produit un refroidissement, mais la température dans la pièce demeure trop élevée - PAS de formation de glace sur l'échangeur de chaleur, derrière le panneau de façade décoratif | • Filtré encrassé - bloque la circulation de l'air. • Thémostat régèle pour une température trop élevée. • Vitesse LOW/BASSE sélectionnée pour le ventilateur | • Nettoyer le filtre. Voir la section «Nettoyage du filtre à air. • SéLECTIONNER une plus BASSE température avec le thermostat. • SéLECTIONNER la vitesse HIGH/ÉLEVÉE pour le ventilateur, pour un refroidissement maximum. |
| Émission de bruits durant le fonctionnement au mode de refroidissement | • Son dû à la circulation de l'air • Son du ventilateur hourant le système d'évacuation de l'humidité • Vibration de la fenêtre - installation médiocre | • Il est normal qu'on perçoive le son de circulation de l'air. S'il est trop élevé, séLECTIONNER une plus BASSE vitesse pour le ventilateur. • Ceci est normal lorsque l'humidité est élevée. Fermer les portes, les fenêtres et les bouches d'entrée d'air. • Voir les instructions d'installation - Consulter l'installateur. |
| Égouttement d'eau à l'intérieur lors de l'utilisation au mode de refroidissement | • Installation incorrecte | • Incliner légarement le climatiseur vers l'éxtérieur pour permettre l'écoulement de l'eau. Voir les instructions d'installation - Consulter l'installateur. |
| Égouttement d'eau à l'estérieur lors de l'utilisation au mode de refroidissement | • Extraction d'une grande quantité d'humidité dans la pièce par l'appareil. | • Ceci est normal lorsque l'atmosphère est très humide. |
Comment obtenir un service après-venture ou des pieces sous garantie?
Remarque : Avant d'appeler le service après-vente, lisez soigneusement ce manuel d'installation et d'utilisation.
Pour les modèles installés en Amérique du Nord :
Effectuez d'abord les vérifications recommendées dans le guide de dépannage. Puis, si vous désirez encore une aide :
- Appelez le service après-vente autorisé CareCo et donne les numérios de modèle et de série, la date d'achat et la nature du problème. Le service après-vente vous sera fourni pendant les heures normales de travail. Contactez votre détaillant pour obtenir le nom du service après-vente autorisé si vous ne le connaissiez pas.
- Si vous détaillant ne peut pas vous donner le nom du service après-vente ou si vous désirez une autre sorte d'aide, contactez CareCo pour obtenir ce nom.
Vous pouvez contacter CareCo par courriel :
ou en appelant le numéro sans frais suivant :
1800332-6658
ou en écrivant à :
Pour les modèles installés en dehors de l'Amérique du Nord :
Pour les climatiseurs individuels achetés pour une utilisation hors de l'Amérique du Nord, le fabricant ne fournit aucune garantie explicite ou implicite. Consultez votre détaillant local pour obtenir les conditions de la garantie fournie par l'importateur dans votre pays.
Preuve de date d'achat
Le consommateur est responsable de la fourniture de la preuve de la date originale d'achat pour fins de garantie. Nous vous recommendons de conserver à cet usage la facture, le chèque annulé ou toute autre preuve de paiement appropriée.
Lors du return de l'électricité, le mode minuterie peut devoir être réarmé s'il est utilisé.
Garantie du climatiseur
(Applicable dans les 48 États-Unis limitrophes, l'état d'Hawaii, le District de Columbia, Mexico, à Porto-Rico, au Canada)
Garantie complète (cinq ans) sur les pieces et la main d'oeuvre
Pour une période de cinq ans suivant la date d'achat par l'acheteur original, Fedders s'engage, par le biais de ses postes de service agreés et sans aucun frais de la part de l'acheteur ou de tout utilisateur subsequent, à réparer ou replacer toute piece défectueuse dans la matière ou la fabrication dans des conditions normales d'utilisation. Un accès rapide au conditionneur d'air pour en permettre l'entretien est la responsabilité du propriétaire.
Remarque: Dans le cas où tout remplacement de pieces est requis dans les limites de temps de cette garantie, les pieces de rechange de Fedders sont usagées et ne sont garanties que pour la période restante de la garantie originale.
Exceptions
La garantie susmentionnée ne couvre pas les défaillances causées par des dommages subsis par l'appareil tant qu'il est en votre possession (autres que les dommages dus à un défaut ou à un déreglement), par son installation incorrecte ou par une utilisation déraisonnable de l'appareil, y compris, entre autres, l'absence d'entretien régulier et nécessaire ou le non-respect des instructions écrites d'installation et d'utilisation. Si l'appareil est utilisé à des fins commerciales, de location ou autres que domestiques, nous n'offrons aucune garantie expresse ou tacite, y compris, entre autres, des garanties tacites de qualité marchande ou d'adaptation à un usage ou objet particulier.
LES RECOURS STIPULÉS DANS LA GARANTIE EXPRESSE SUSMENTIONNÉ REprésentENT LES SEULS RECOURS EXCLUSIFS DISPONIBLES. IL N'EXISTE AUCUNE AUTRE GARANTIE EXPRESSE. TOUTES LES GARANTIES IMPLICITES, Y COMPRIS À TITRE NON LIMITATIF TOUTES GARANTIES IMPLICITES DE QUALITE LOYALE ET MARCHANDE ET D'UTILÉPARTICULIERÉ, SONT LIMITÉS À CINQ ANS À PARTIR DE LA DATE DE L'ACHAT INITIAL. FEDDERS NE SAURAIT EN AUCUN CAS ÉTRE TENU RESPONSABLE POUR LES DOMMAGES INDIRECTS, SECONDAIRES OU ACCESSOIRES,Sans ÉGARD À LA CAUSE, MÉME AU CAS OU FEDDERS AURAIT ÉTÉ PRÉVENU DE LA POSSIBILITÉ DE TELS DOMMAGES. AUCUNE GARANTIE, EXPRESSE OU IMPLICITE, N'EST OFFERTE À UN ACHETEUR QUELCONQUE EN CAS DE REVENTE.
Certains états n'autorisent pas les limitations de durée des garanties tacites, ni les exclusions ou limitations frappant les dommages accessoires ou indirects. Il se peut donc que les exclusions ou limitations susmentionnées ne vous soient pas opposables. La présente garantie vous confère des droits précis; vous pouvez également jour d'autres droits qui varient d'un état à l'autre.
Les apparèils vendus en dehors des régions susmentionnées ne sont couverts par aucune garantie. Il se peut que votre distributeur ou revendeur vous offre une garantie si vous résidez en dehors de ces régions.

A Filter / Filtrto / Filtre
B Decorative Front / Panel Decorativo Delantero / Panneau de façade décoratif
Air Intake Panel / Panel de Entrada del Aire / Panneau d'admission d'air
Adjustable Louvers / Rejillas de Ventilación ajustables / Cláires-voies orientables
Cabinet / Gabinete / Caisse
Filler Panels / Panel de Relleno / Panneau de remplissage
Top Bar / Barra Superior / Tringle supérieure
Power Cord / Cordón / Le cordon d'alimentation
Types of Installation / Tipos de Instalación / Types d'installation

Estandar (Pagina 11)
Installation dans une fenetre standard (page 19)

de Ancho Minimo (Pagina 13)
Installation dans une fenêtre de largeur minimale (page 21

Through the wall installation (Page 5)
Instalación Empotrado en una
Pared (Pagina 13)
Installation à travers un mur (page 21)
Notice Facile