A6Y12F2B-E - Acondicionador de aire FEDDERS - Manual de uso y guía de instrucciones gratis
Encuentra gratis el manual del aparato A6Y12F2B-E FEDDERS en formato PDF.
| Tipo de producto | Aire acondicionado de ventana |
| Capacidad de enfriamiento | 12 000 BTU |
| Alimentación eléctrica | 220-240 V, 60 Hz |
| Dimensiones aproximadas | 66 x 43 x 36 cm |
| Peso | 40 kg |
| Compatibilidades | Ventanas de tipo estándar |
| Tipo de refrigerante | R-410A |
| Funciones principales | Enfriamiento, deshumidificación, ventilador |
| Nivel sonoro | 54 dB(A) |
| Mantenimiento y limpieza | Filtros lavables, limpieza recomendada cada mes |
| Repuestos y reparabilidad | Disponibilidad de piezas bajo pedido |
| Consumo energético | Clase energética A |
| Seguridad | Protección contra sobrecargas, certificación UL |
| Información general | Garantía de 1 año, instalación recomendada por un profesional |
Preguntas frecuentes - A6Y12F2B-E FEDDERS
Descarga las instrucciones para tu Acondicionador de aire en formato PDF gratis! Encuentra tus instrucciones A6Y12F2B-E - FEDDERS y toma tu dispositivo electrónico nuevamente en la mano. En esta página están publicados todos los documentos necesarios para el uso de su dispositivo. A6Y12F2B-E de la marca FEDDERS.
MANUAL DE USUARIO A6Y12F2B-E FEDDERS
Acondicionadores de aire para ventanas de guillotina y empotrados en la pared
Instrucciones importantes de seguridad 10
Instalación
Instalacion en la ventana 11
Instalación empotrado en la pared 13
Funcionamento
Controles electronicos 14
Limpieza del filtr del aire 16
Servicio/Localización y Soluciones de averías 17
Garantía 18
FRANÇAIS
Para referencia futura
Escriba el numero de modelo y de série
El número de modelos y de series se incluyen en el costado del gabinete cerca del panel de control. Use這些 númeroos en toda la correspondencia o llamas de servicios relacionadas con su acondicionador de aire.
Cordón con dispositivo de detectión de arco electrico
El cordón electrico proporcionado con este acondicionador de aire viene equipado con un dispositivo de detectación de arco electrico disenado para apagar el suministro electrico a launidad cuando detecta una condición de falla por arco electrico. Una falla por arco electrico es una descarga electrica accidental cuando los artefactos o cables electricos están dañados, son antiguos o no se han usedo de manière adecuada. Una falla por arco electrico puede ser peligrosa si no se Detecta a tiempo.
ADVERTENCIA
- No retire o modifique este enchufe
- No lo utilise como un interruptor de encendido/apagado
- No lo use en el exterior
- No coloque muebles contra o sobre el cordón electrico. Esto puede disparar el interruptor de prueba y/o dañar el cordón,adelmas de create una condidión potencial de arco electrico
- No intente reparar el cordón. Si necesita reemplazar el cordón, llame a un先进技术 de servicios autorizzato
- El dispositivo de detectación de arco electrico no es un interruptor de falla de connexion a tierra y no se debe usar como tal
- El dispositivo de detectación de arco electrico contiene un tablero de circuitos electrónico y no se debe sumergir o exponer al agua
Restablecimiento
Si el dispositivo de detectación de arco electrico se ha disparado, el botón 'RESET' (Restablecer) se levantará.
Siga los siguientes pasos para restablecer el dispositivo de detectación de arco electrico:
- Desenchufe la unidad del tomacorriente
- Oprima el botón 'RESET' (Restablecer)
- Enchufe launidad不良信息 en el tomacorriente
- Verifique que llege energia électrique a la unidad
Pruebas
Realice pruebas del dispositivo de detectacion de arco eletrico una vez al mes,despues de cada tormenta eletrica grande,o si se ha interrupido el suministro eletrico al acondicionador de aire de habitacion. Siga los siguientes pasos para probar el dispositivo de detectacion de arco eletrico:
- Desenchufe la unidad del tomacorriente
- Oprima el botón 'RESET' (Restablecer)
- Enchufe la unidad-Newamente en el tomacorriente
- Oprima el botón de prueba. El dispositivo debe disparase y el botón 'RESET' (restablecer) debe levantarse.
- Oprima el botón 'RESET' (Restablecer)-Newamente para activar launidad
Si la prueba anterior falla,cede de usar el acondicionador de aire ypongase en contacto con servicios al cliente llamando al siguientes número gratis:
1-800-332-6658 o por correo electrónico a: customerservice@fedders.com
ADVERTENCIA
Riesgo de Choque Eléctrico
- Enchufé el aparato solamente en un tomacorriente electrico(puesto a tierra.
- Con este aparato no use un cordón de extension ni un adaptorador de enchufe.
- No haga funciona el acondicionador de aire sin el panel delantero.
- El incumplimiento de estas precauionesSEO,SEO,SEO,SEO,SEO,SEO,SEO,SEO,SEO,SEO,SEO,SEO,SEO,SEO,SEO,SEO,SEO,SEO,SEO,SEO,SEO,SEO,SEO,SEO,SEO,SEO,SEO,SEO,SEO,SEO,SEO,SEO,SEO,SEO,SEO,SEO,SEO,SEO,SEO,SEO,SEO,SEO,SEO,SEO,SEO,SEO,SEO,SEO,SEO,SEO,SEO
- Si el acondicionador de aire Tiene una potencia nominal indicada en la placar de series de 115 voltios y de mas de 7,5 amperes, es necesario que sea protegado con su propio Fuseible o disyuntor y ningún/otherspositivodebeusearseismosdyuntorofuseble.Si el acondicionador de aire Tiene una potencia nominal en la placar de series de 230 voltios, es necesario que sea protegado con su propio fuseible or disyuntor y ningún/others aparato debeusrarose mismodysyuntorofuseble.
- Recomendamos que un electricista calificado instale el acondicionador de aire de acuerdo con el #:electrico nacional y los#:reglamentos locales.
- Use solamente conductores de cobre y fusibles de calibre y capacité adecuada.
- No modifique el cordón ni el enchufe del extremo. No retire la etiqueta de advertencia del cordón de alimentación.
Requerimientos Importantes para la Puesta a Tierra
- El cordón de alimentación del acondicionador de aire Tiene un enchufe de tres clavijas con puesta a tierra elrialdebe ser enchufado en un tomacorriente mural.puesto atierra de tres alveolos para su proteccion contra possible riesgo deCHOque electrico. Para los modelos de hasta 7,5 amperes orenos,use un tomacorriente mural del tipo con puesta a tierra que tengala misma configuracion que el enchufe del cordón de alimentacion.
- Para los modelos de más de 7,5 amperes, use un tomacorriente mural sencillo con esta tierra queonga la misma configuracion que el enchufe del cordón de alimentacion.
ADVERTENCIA
No haga funciona este acondicionador de aire sin proteccion adequada del circuito de retardo. Consulte la placado series para los requerimientos apropriados de alimentacion electrica.
Tamaños Recomendados de los conductores del circuito
(Instalados según el Código de Construcción):
CAPACIDAD DE CALIBRE DES LOS
LOS FUSIBLES CONDUCTORES
15 AMP #14 COMO MINIMO
20 AMP #12 COMO MINIMO
30 AMP #10 COMO MINIMO

125V 15A

250V 20A

250V 15A

250V 30A
Precauciones de Seguidad Adiconiales
- No corte, modifique ni retire ningún pedazo de poliestireno expandido (espuma blanca) situado dentro de este acondicionador de aire.
- No guarde ni use gasolina u或者其他 vapores y liquidos inflamables en la vecidad de este o cualquier(other artefacto. Los vapores emitidos能把 create un riesgo de incendio o explosión.
- No introduzca objetos en el area de descarga del aire. Esto pueda causar daño irreparable a su acondicionador de aire.
- No vierta liquidos de limpieza en el acondicionador de aire puis este puede causar un malfuncionamento. Use un paño humedo para limiarlo.
- Evite usar solventes fuertes para limpar el acondicionador de aire.
- Limpie el filtro del acondicionador de aire cada dos semanas para evaporar sobrecalentamento causado por obstruccion del aire.
- No obstruya el area de entrada del aire de su acondicionador, puis this could cause sobrecalentamento, lo which activara el interruptor de seguridad y apagará el aparato.
- No bloquee la circulación del aire hacía las rejillas de ventilación exteriores del gabinete.
- No obtruya el flujo del aire hacía el interior con persianas, cortinas o muebles o hacía el exterior con arbustos, recintos u otros edificios.
- No haga funciona el acondicionador de aire teniendo instalada la cubierta protectora exterior. Esto podria resultar en dano mecánico dentro del acondicionador de aire.
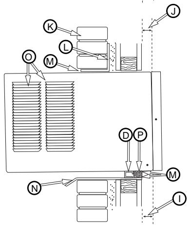
Dimensiones de la Ventana
Este acondicionador de aire ha sido preparado en la fabrica para su instalacion en ventanas de guillotina estandares con aberturas de 26,875'' a 41,625'' de ancho y una abertura vertical de por lo menos 15,625'' minimo desde la parte inferior de la hoja movable hasta el umbral. El acondicionador de aire peut ser instalado en ventanas de 24'' de ancho, si se retiran los paneles de sellado laterales del gabinete.

Herramentas Necesarias

Destornilladores

Llave de tuercas de trinquete

Nivel

Cinta de medir
Identificacion de Tornillo
| Partida | Nombre la parte | Cantidad |
| A | Tornillo de madera de 1" | 1 |
| B | Tornillo de madera de 5/8" | 5 |

Instalacion en la ventana
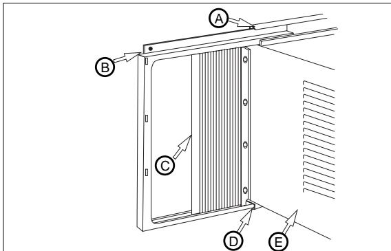
Desmontaje del Panel Decorativo Delantero
- Retire los tornillos que se encontraran a algunos lados del gabinete.
- Tire suavamente hacía adelante cuando sostiene los dos lados delANTE decorativo.

Antes de desmontaje del chassis, apague la unidad y desconecte el enchufe.
Desmontaje del Chasis
- Retire los dos (2) tornillos de embarque* del costo inferior trasero del gabinete.
- Retire los dos (2) tornillos antirrobo de ambos lados delanteros inferiores del gabinete. CONSERVE ESTOS TORNILLOS, ellos serán usados posteriormente en la instalación.
- Deslice el chasis fuera del gabinete sujetando la manija de la bandeja inferior y tirando hacía adelante a la vez que sujeta el barra superior.
Instalación del Marco del Panel de Relleno
- Deslice el marco del panel de relleno en el gabinete del acondicionador de aire usingo las guías que se encontrartran arriba y abajo de la unidad. Deslice el marco lo más cerca possible del acondicionador de aire para que la cortina quede trabajo en la posición adecuada.
- Tire suavamente del marco hasta Obtener la longitudue que necesita para realizar la instalacion.

Tenga cuidado cuando está工作的 gabinete ara evitar heridas o ropas rascadas.

A Gabinete
Delantero tornillo

Panel decorativo
A Tornillos de embarque
Chasis
Gabinete

EManija de la bandeja inferior
©Tornillos antirrobo
Barra superior
Barra inferior
Marco del panel de relleno
E Gabinete
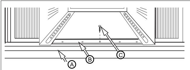
Borde de fijación

Umbral de la ventana
Tornillo de 1"

Barra inferior
A Nivel
Tornillo de madera de 5 / 8''
Hoja móvil de la ventana
Umbral de la ventana

Panel de relleno
A Espuma de relleno
D Moldural E Umbral
Chasis
Hoja móvil inferior
F Tornillo antirrobo
Panel decorativo delantero
Instalacion en la Ventana
- Abra la ventsa y marque el centro del umbral de la ventsa. Coloque cuidadosamente el gabinete en la ventsa y alinee el agujero central de la barra inferior con lamarca central trazada en el umbral de la ventsa.
- Cierre la hoja móvil inferior de la ventana hasta que toque el aparato detrás de la barra de retén superior. (No suele el gabinetete hasta que la hoja móvil inferior está en su posición final).
- Instale el gabinete en el umbral de la ventsa colocando un tornillo de 1'' de长大o a工程技术 de la barra de unión inferior hacía el umbral de la ventsa.
Asegureidad de los paneles de relleno
- Deslice los paneles de relleno hacía afuera hasta que toquen los rieles de la hoja móvil de la ventsa.
- Asegure la parte superior de los paneles de relleno instalando tornillos de 5 / 8'' de largo a工程技术 de los agujeros de montaje superfiores hacía el umbral de la ventsa.
- Asegure la parte inferior de los paneles instalando tornillos de 5 / 8'' de长大o en el umbral de la ventsa a工程技术 de las lenguetas del panel de relleno.
- Instale el chasis en el gabinete (pagina 15).
No obstruya el area de la entrada del aire de su acondicionador, puis esta pueda causar sobrecalentimiento, lo cualactivaraelinterruptor de seguidad y apagarale aparato. No bloquee el flujo del aire hacer el interior con persianas, cortinas o muebles o hacia el exterior con arbustos, recintos uothers edificios.
Instalación del Chasis en el Gabinete
- Deslice el chasis hacel interior del gabinete.
- Para reinstalar el panel decorativo delantero, colóquelo en su lugar y empújelo hacía extras hacer el acondicionador hasta que entre a presión en su lugar. Vuelva a instalar el tornillo de retén detrás del panel de entrada del aire.
- Reinstale los dos tornillos antirrobo en los lados delanteros inferiores del gabinete.
- Corte un relleno de espuma de plástico del ancho de la ventsa e instalelo entre la hoja móvil superior e inferior de la ventsa.
- Use compuesto obturador para llenarrialquier abertura masklequeña.
No taladre un agujero en la bandeja inferior. El acondicionador de aire ha sido disnado para funcional aproximamente con 1 / 2 " de agua en la bandeja inferior.

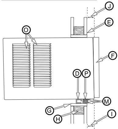
Barra superior
B Tornillo de madera de 5 / 8''



Marco de madera
B Tornillos de madera de 1"
Gabinete
Barra inferior
E Pared
Panel decorativo delantero
Sóporte de madera de por lo menos 1 × 6 (clavado o atornillado en el marco de madera
Marco de madera de 2" por todo el reededor
① Espacio de 1-1/2"
Espacio de 1-1/4"
Enchapado de ladrillo
Dintel angular
M Material obturador
Guardaaguas (Vierteaguas)
Rejillas de ventilacion
Prelleno de madera
Instalacion del Gabinete en una Ventana de Ancho Minimo
- No instale los paneles de relleno en el gabinete.
- Consulte las instrucciones anteriores desde el paso 1 al 3.
- Cierre la ventana hasta que toque detrás de la barra superior del acondicionador de aire.
- Asegure la hoja móvil inferior de la ventsa en el marco de la ventsa.
- Si se requiere relleno en ambos lados del acondicionador de aire, corte una espuma de plástico del時間 adecuado y tape ambos lados.
- Use compuesto obturador para llenarrialquier abertura masypequeña.
- Instale el chasis en el gabinete.
Consulte a su distribuidor autorizzato o al importador para Obtener instrucciones de instalacion alternativas.
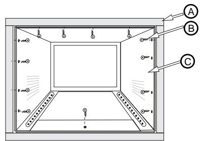
Instalación Empotrado en la Pared
Este acondicionador de aire ha sido disnado como un chasis deslizable, haciendo que sea possible su instalacion empotrado en la pared, tanto en muros de construccion antigua como moderna. Recommendamos que este tipo de instalacion sea realizado conaida profesional.
- IMPORTANTE: Este aparato debe ser instalado de acuerdo con todos los@cuidos y reglamentos electricos y de construccion aplicables.
- Se recomienda queusted solicite ayudapara instalar el aparato yque useuna的技术a de alzamente adequado para evaporar lesion personal.
- Es importante que usted inspeccione el estado de la pared donde se instalará el acondicionador de aire.
- Asegürese de que la pared pueda soportar el peso del acondicionador de aire.
- Todas las rejillas de ventilación del gabinete DEBEN QEDAR hacía el lado exterior de la pared. NO BLOQUEE LAS REJILLAS DE VENTILACION LATERALES.
-
El gabinete debe ser instalado de modo que quede nivelado de lado a lado y con una ligera inclinacion hacía abajo desde el interior al exterior.
-
Retire primero el panel decorativo delantero y el chasis del gabinete. Retire la barra superior del gabinete.
- Determine el時間 de la abertura para construir un marco de materia aggregando 1/8'' al ancho y a la alta del gabinete. Mida la alta desde la parte superior del gabinete hasta la barra inferior. Agregue esta medidas al grosor de la madera usada para construir el marco. Esto determinaré el時間 necesario de la cavidad en la pared. El marco debe construirese usingo madera de por lo menos 1'' de espesor. Cuando se determine el grosor del marco acabado, asegúrese de que este no cubra las rejillas de ventilación laterales del gabinete.
- Instale el marco terminado en la cavidad mural deforma que quede a escaudra y nivelado, bajo clavelo o atornillelo firmamente en la pared e introduzca el gabinete en la cavidad mural ya preparada con el marco.
- Asegúrese de que el gabinete sobresalga de la pared 1 - 1 / 4'' en la parte superior y 1 - 1 / 4'' en la parte inferior hacía la habitación para asegurar una inclínación adequada y acceso al tornillo antirrobo, cuando asegure el gabinete en el marco instalando doce (12) tornillos de madera de 1'' (no suministrados) a转型发展 de los agujeros taladrados en el gabinete y hacer el marco.
Si el acondicionador se instala en un muro enchapado de ladrillo se debe usar un dintel angular de acero para sostener los ladrillos que está arriba del gabinete.
- Una vez que se haya instalado el gabinete obture todas las aberturas en el interior y exterior entre el marco acabado y el gabinete para evaporar que la humedad penetre al interior de la pared. El uso de un guardaaguas (vierteaguas)%=?.
- Instale el chasis en el gabinete.
Panel de Control Electrónico
Control de Alimentación
Este botón pone en marcha y apaga el acondicionador de aire.
Indicador de Temperatura de Ajuste/Temporizador
El indicator muestra la temperatura de ajuste cuando el acondicionador de aire está en configuracion y las horas cuando se ha activado el temporizador. EL INDICADOR DE LA TEMPERATUREA SOLAMENTE MUESTRA LA TEMPERATUREA DE AJUSTE, NO LA TEMPERATUREA AMBIENTE REAL.
Control de la Temperatura/ Temporizador
Estos botones se usan para augmentar o reducir la temperatura de ajuste en incrementos de 1^ , entre 66^ hasta 88^ . Si se oprimen simultaneamente柔和 botones, el indicator digital cambiará entre grados Celsius y Fahrenheit. Cuando se activa el temporizador,这些东西 botones son usados para cambiar el ajuste de la hora en incrementos de 1, entre 00 hasta 24.
Selector de Modelo
Una luz verde indica el modo que está siendo utilizado.
Modo 'Cool' (Frio) -
El acondicionador de aire circula y enfría el aire.
Modo 'Heat' (Calor) [Solamente los Modelos con Calor] -
El acondicionador de aire circula y calienta el aire.
**Característica de Seguidad del Calentador - Cuando el calentador está apagado, el ventilador de baja velocidad seactivará y funciona durante 60segundos para asegurar la eliminación dealgún calor residual, a la vez que el diodo LED 'Low Fan' (ventilador de baja velocidad) destella hasta que se detenga el ventilador de baja velocidad.
Modo 'Fan' (Ventilador) -
El acondicionador de aire solamente hara circular el aire.
Modo 'Energy Saver' (Ahorro de Energía) -
(El modo de ahora de energia estáaxydiseno parafuncionar solamenteconelmode'Cool'). El ventilador cambiará de la velocidad de ajuste a velocidad bajo cuando el compresor sea apagado por el termostato. Cuando el compresor se activa;nuevamente,el ventilador volverá alajuste original.La velocidad del ventilador cambia automatistically segun Cambie la temperatura en la habitacion.
Control de la Velocidad del Ventilador - Alta, Mediana, Baja y Automática
El ajuste de la velocidad del ventilador se cambia cada vez que se oprime el botón de control de velocidad del ventilador. Una luz verde indica el ajuste que se ha selecciónado.
Cuando se selección 'Auto' (Automático) y el acondicionador de aire está en el modo 'Cool' o 'Heat', la velocidad del ventilador cambiará automatistically a medida que cambie la temperature en la habitación. En el modo 'Cool', cuando la habitación llega a 7^ o más, sobre la temperature de ajuste, se usa 'High Fan' (Alta Velocidad), cuando la temperature en la habitación es de 4^ o menos, sobre la temperature de ajuste, se usa 'Low Fan' (Velocidad Baja). En el modo 'Heat' cuando la habitación alcanza 7^ o más, bajo la temperature de ajuste, se usa 'High Fan', cuando la habitación alcance 4^ o menos, bajo la temperature de ajuste, se usa 'Low Fan'. En todos losthers casos el ventilador usa 'Medium Fan' (velocidad mediana).


Control Electrónica (Calor/Frio)
Indicador de temperatura/temporizador
Ajuste de la temperatura y del temporizador
Encendido/Apagado del temporizador
Control de la velocidad del ventilador
E Selector de modo
Control de alimentacion

ATENCIón

Los modelos con Frio/Calor o con calor electrico han sido dibenados para ser usados como una fuente de calor suplementaria. Son solo un complemento para los sistemas de calefaction habituales y nunca deben usarse como la fuente primaria de calefaction.
Mecanismo de retraso de tres Minutes incorporado.
Si este aparato electrónico no responde a los mandos del control remoto o cojinetetáctil, sera besoino desenchufarlo cincosegundos y bajo volver a enchufar.
Cáracterística de encendido automatico: En caso de falla electrica, esta característica permite que launidad se encienda-Newamente de manière automatárica cuando se restablece el service electrico Maintainando ls ajustes mas recientes.
Control del Temporizador (El temporizador puede ser ajustado ya sea para encender o apagar el acondicionador de aire.)
Para PONER EN MARCHA automatistically el acondicionador de aire usingo el modo 'Timer':
- Oprima el botón 'Timer' cuando la alimentación electrónica está desconectada. El indicator做不到 00. Ajuste el indicator para que muestre el número de horas que deseña que transcurran antes de la PUESTA EN MARCHA, using las flechas de ajuster 'Temperature/Timer' (Temperatura/Temporizador).
- El indicator做不到 la cantidad de horas que faltan para la PUESTA EN MARCHA.
- Para salir del modo 'Timer', oprima el botón 'Timer'.
- Una luz verde situada+junto al botón 'Timer' se iluminará para indicar que el 'Timer' estáactivado.
Para APAGAR automatistically el acondicionador de aire usingo el modo 'Timer':
- Oprima el botón 'Timer' cuando la alimentación electrica está conectada. El indicator做不到 00. Ajuste el indicator para que mueste el número de horas que deseña que transcurran antes de que se APAGUE usingo las flechas de ajuste 'Temperature/Timer' (Temperatura/Temporizador). (Descués de 10segundos, el indicator volverá automatistically a la temperatura de ajuste.)
- Para ver lacantidad de horas que faltan para que se APAGUE el acondicionador de aire,oprima una vez el boton 'Timer'.
- Para salir del modo 'Timer', oprima el botón 'Timer' dos veces.
- Una luz verde situadajuvenalboton'Timer'se iluminaraparaindicarqueel'Timer' estáactivado.




Control Remoto de Acondicionador de Aire
Lasuciones trabajan igual que los controlles manuales de su acondicionador de aire.

PRECAUCION

- Use solabente pilas AAA o IEC R03 de 1,5V.
- Retire las pilas si el control remoto no va a ser uso durante un mes o más.
- No intente recargar las pilas suministradas.
- Todas las pilas deben ser reemplazadas a unismo tiempo.
- No incrinere las pilas pueschten explotar.
- No instale las pilas con la polaridad (+/-) inversa.
- No mezcle pilas alcalinas, standard (carbon-zinc), con pilas recargables (nickel-cadmium).
- Mantenga fuera del alcance de los niñosPEGueños las pilas y otherst articulos que podan ser tragados. Pongase inmediamente en contacto con un medico si un nio pequeño se traga un objeto.


Filtro

Rejillas de Ventilación

La puerta de ventilación
Dirección del flujo del Aire
El acondicionador de aire ha sido disnado con rejillas de ventilacion ajustables para orientar el flujo de aire descargado. Las rejillas de ventilacion se ajustan manualmente moviendolas en la direccion deseada del flujo del aire.
Limpieza del Filtro del Aire
Limpie el filtro cada dos semanas
- Gire el control maestro a 'OFF' (Apagado).
- Retire el filtro del aire abriendo el panel de entrada del aire situado en el panel decorativo delantero y sacándolo fuera del acondicionador de aire.
- Lávelo en agua con jabón, enjuague y sacúdalo para secarlo.
- Vuelva a colocar el filtro con la parte delantera del filtro dirigida hacía uted.
- Para estar bien el bajo, haga的功能ar el acondicionador de aire durante los fewos.pocos instantos.Recuerde: solamente un bajo limpio可以使 proporcionar eficiencia y funcional de forma correcta en todos los ajustes.
Note: Si no se mantiene el filtro del aire limpio pueda causar circulación deficiente del aire. NO haha的功能际 el acondicionador de aire sin el filtro. Como espeado impeder que el acondicionador de aire funciona.
El uso y cuidado adecuado de su acondicionador de aire le asegurar una vida uyil prolongada. Se recomienda que inspeccione anualmente y limpie las espirales y los pasajes del agua del condensado. El costo de la inspeccion anual es responsabilidad del propietario. Atencion: Si se apaga el acondicionador de aire espere por lo menos tres微量元素 antes de volver a encenderlo.
Servicio Para ahorrar tiempo y dinero, verifique lo suiviente antes de llamar a un centro de servicios autorizzato.
Localización y Soluciones de Averías
| Problema | Causa Possible | Solutaciones |
| El acondicionador de aire no funciona | · El enchufe mural está desconnectado. · Se haFundido un fusible o se ha disparado el disyuntor. · El interruptor principal está en la posición 'OFF' (APAGADO). · El acondicionador de aire fue accidentamente apagado al mover el termostato a una temperatura más alta y bajo se colocó inmediamente en una posición más fría. · El acondicionador de aire se apagó y bajo se encendió demasiado rápidamente. · El ajuste del termostato es muy bajo para enfiambre. | ✓ Inserte bien el enchufe en el tomacorridente mural. ✓ Reemplace el fusible con un tipo de fusible con retardo o reponga el disyuntor. ✓ Cambie el interruptor principal a la posición 'ON' (ENCENDIDO). ✓ Espere aproximadamente 3关键时刻. Escuche si el compresor empieza a functionar. ✓ Si el acondicionador de aire está apagado espere 3关键时刻 antes de volver a encenderlo. ✓ Cambie el termostato a un ajuste más alto para enfiambre. |
| El aire proveniente del acondicionador de aire no es suficientemente frío | · El selector está en la posición 'FAN' (Ventilador). · El termostato está en un ajuste demasiado caliente. · La temperature de la habitación es inferior a 70°F. | ✓ Coloque el selector en un ajuste 'COOL' (Frio). ✓ Coloque el termostato en una temperatura más fría. ✓ No se producirá enfiambre hasta que la temperatura de la habitación no sea superior a 70°F. |
| El acondicionador de aire enfría, pero la habitación está demasiado tibia – se forma hielo en las espíreas de enfiambre detrás del panel decorativo delantero | · La temperature exterior es inferior a 70°F. · El filtró de aire está sucio – restricción del aire. · El termostato está en un ajuste demasiado frío para enfiambre noctumo. | ✓ Paradescendingel la espiral, Coloque el selector en la posición 'FAN' (Ventilador). Luego Coloque el termostato en una posición más caliente. ✓ Limpie el filtró, vea la sección "Limpieza del Filtró del Aire". Paradescendingel, Coloque el selector en la posición 'FAN' (Ventilador). ✓ Paradescendingel la espiral, Coloque el selector en la posición 'FAN' (Ventilador). Luego Coloque el termostato en una posición normal. |
| El acondicionador de aire enfría, pero la habitación está demasiado tibia – NO se forma hielo en las espíreas de enfiambre detrás del panel decorativo delantero | · Filtró de aire sucio – restricción del aire. · El termostato está en un ajuste demasiado caliente. · El selector de velocidad del ventilador está en una posición 'LOW' (Baja). | ✓ Limpie el filtró del aire. Consulte la sección "Limpieza del Filtró del Aire". ✓ Coloque el termostato en un ajuste más frío. ✓ Coloque el selector de velocidad del ventilador en 'HI' (ALTO) para enfiambre máximo. |
| Se produce ruido cuando el acondicionador de aire está enfirado | · Ruido del movimiento del aire. · Ruido del ventilador al golpear elsystema de extracción de agua y humedad. · Vibración de la ventana – instalación deficiente. | ✓ El sonido del aire moviénde es normal. Si es demasiado fuerte, gire el selector a un ajuste del ventilador más bajo. ✓ Estos normal cuando la humedad es alta. Cierre las puertas,Ventanas y rejillas de ventilación. ✓ Consulte las instrucciones de instalación – consulte con el instalador. |
| Goteo de agua Dentro del acondicionador de aire cuando está enfirado | · Instalación incorrecta. | ✓ Incline ligeramente el acondicionador de aire hacía el exterior para desquar el agua. Consulte las instrucciones de instalación – verifique con el instalador. |
| Goteo de agua fuera del acondicionador de aire cuando está enfirado | · El acondicionador de aire esta extrayendo gran cantidad de humedad de habitación. | ✓ Este es normal durante días excessivamente humedes. |
Cómo Obtener servicios o piezas bajo la garantía
Nota: Antes de solicitar servicios, leacretducidosamente estemanualdeinstalacionyfunciramiento.
Para los modelos instalados en Norteamérica:
En primer lugar, realizas las verificaciones recomendadas en la guía de localización y solución de averías. Luego, si aun así necesita asistencia:
- Llame a un先进技术 de servicios autorizzato CareCo y proportionscione los numero de modelos y de series, la Fecha de compra y la naturaleza del problema. El技术服务 sera.Ofrecido durante las horas normales de trabajo. Pongase en contacto con su distribuidor para Obtener la informacion sobre algo tncico de技术服务 autorizzato si no laiene.
- Si su distribuidor no pueda darle el nombre de un先进技术 de service o si necesitarialquier othero tipo de asistencia, póngase en contacto con CareCo para Obtener esta informacion.
Puede ponserse en contacto con CareCo por correo electrónico:
Para los modelos instalados fuera de Norteamérica:
Para los acondicionadores de aire adquiridos fuera de Norteamérica, el fabricante no offre ninguna garantía expresa o implicita. Consulte con su distribuidor local para Obtener los关键时刻 de la garantía que offre el importador en su País.
Fecha del comprobante de compra
Es responsabilidad del consumidor establecer la Fecha original de compra para efectos de la garantía. Le recomendamos que guarde la factura, el cheque cancelado o cualquier(other comprobante de pago adecuado para tal fin.
Garantía del acondicionador de aire
(Dentro de los 48 Estados contiguos de los Estados Unidos, estado de Hawai, Distrito de Columbia, Mexico, Puerto Rico y Canadá)
Garantía para todas las piezas (cinco años) y mano desuma
A partir de la Fecha de compray y durante un periodo de cinco años, Fedders, mediante sus estaciones de servicios autorizadas, reparar o reemplazar sin costo uno para el propietario o usuario, cualesrie pieza que presente daños de material o mano deoba derivados del uso normal del producto. Es responsabilidad del propietario fácilar el acceso al acondicionador de aire para realizar los servicios de reparacion.
Nota: En caso de que se requiera reemplazar una pieza,mientras la garantía está vigente, se utilizesn los repuestos de Fedders los cuales continuaran en vignecia solamente durante el resto del periodo de garantía de la unidad.
Excepciones
La garantía antes indica no cubre las fallas de funciona可能导致ascaidas por daños que sufra la unidad cuando está esté en posección del usuario (excluyendo los daños causados por defecto o funciona defectuoso), o por la instalación incorrecta, o lautilizaciónindebida de la unidad, incluyendo pero sin limitarse aarlo, la negligencia en proportionscarelostenimiento necessario y adecuado o en seguir las "instruciones de Instalación y Uso"indicadas por escrito. En caso deutilizarse la unidad para fines commerciales, de negotiationos, de arriendo u otheruso o aplicación que no sea el uso del consumidor, no otorgamos garantía explicita ni implicita, incluyendo, pero sin limitarse a, toda garantía implicita de negotiatingood idoneidadaparunuso o finalidad particular.
LAS SOLUCIONES EXPUESTAS EN LA GARANTIA ANTERIOR SON EXCLUSIVAS. SE RECHAZA CUALQUIER OTRA GARANTIA YA SEA EXPRESA O IMPLICITA, INCLUYENDO, PERO SIN LIMITARSE A ELLO, TODAS LAS GARANTIAS DE COMERCIABILIDAD O IDONEIDAD PARA UN FIN EN PARTICULAR DURANTE CINCO ANOS A PARTIR DE LA FECHA DE COMPRA. BAJO NINGUNA CIRCUNSTANCIA FEDDERS SE HARA RESPONSABLE POR NINGUN DANO DIRECTO, INDIRECTO O CONSECUENCIAL, SIN IMPORTAR LA CAUSA DE LA ACCION, AUN CUANDO FEDDERS HAYA SIDO ADVERTIDO CON ANTERIORIDAD DE LA POSIBILIDAD DE DICHOS DANOS. NO SE OFRECE NINGUNA GARANTIA EXPRESA O IMPLICITA A COMPRADORES DESPUES DE LA REVENTA.
Algunos estados no permiten limitar el tiempo de duración de una garantía implicita ni permiten excluir ni limitar los días incidentales o emergentes, de modo que las limitaciones o exclusiones antes indicadas podrán no aplicarse en su caso.Esta garantía le otorga derechos legales espécíficos. Usted Podrá tener también除外s derechos que pueda variar de estado a estado.
No se ofrecen garantías para las unidades vendidas fuera de las Areas antes indicadas. Su distribuidor o vendedor final podía proportionscaruna garantía para las unidades vendidas fuera de estas areas.
ManualFácil