A6Y12F2B-E - Air-conditioner FEDDERS - Free user manual and instructions
Find the device manual for free A6Y12F2B-E FEDDERS in PDF.
Questions des utilisateurs sur A6Y12F2B-E FEDDERS
0 question sur cet appareil. Repondez a celles que vous connaissez ou posez la votre.
Poser une nouvelle question sur cet appareil
Download the instructions for your Air-conditioner in PDF format for free! Find your manual A6Y12F2B-E - FEDDERS and take your electronic device back in hand. On this page are published all the documents necessary for the use of your device. A6Y12F2B-E by FEDDERS.
USER MANUAL A6Y12F2B-E FEDDERS
Room air conditioners for double hung windows & through-the-wall installation
Important Safety Instructions 2
Installation
Window installation 3
Thru the wall installation 5
Operation
Electronic controls 6
Cleaning the air filter 7
Service/Troubleshooting 8
Warranty. 9
ESPANOL
Write down the model and serial numbers
The model and serial numbers can be found on the side of the cabinet near the control panel. Use these numbers in any correspondence or service calls concerning your air conditioner.
Power Cord with Arc Detection Device
The power cord supplied with this air conditioner is equipped with an Arc Detection Device designed to shut off power to the unit when it senses an arc fault condition. An arc fault is an unintentional electrical discharge that occurs when electrical products or wires are damaged, aged, or improperly used. An arc fault can be potentially hazardous if left undetected.

WARNING

- Do not remove or modify this plug
- Do not use as an on/off switch
- Do not use outdoors
- Do not push furniture against or place furniture on the electrical cord. This can trip the test switch and/or damage the cord and become a potential condition for arcing
- Do not attempt to repair the cord. If the cord requires replacement, call an authorized servicer.
- The Arc Detection Device is not a Ground Fault Interrueter and should not be used as such
- The Arc Detection Device contains an electronic circuit board and should not be submerged or exposed to water spray
Resetting
If the Arc Detection Device has tripped, the reset button will pop up.
Follow these steps to reset the Arc Detection Device:
- Unplug unit from electrical outlet
- Press the reset button
- Plug the unit back into electrical outlet
- Check to see if power has returned to the unit
Testing
You should test the Arc Detection Device equipped power cord monthly, after every major electrical storm, or if power to your Room Air Conditioner has been interrupted.
Follow these steps to test the Arc Detection Device:
- Unplug unit from electrical outlet
- Press the reset button
- Plug the unit back into electrical outlet
- Press test button. Unit should trip and reset button will pop up.
- Press reset button again for use
If above test fails, stop using the air conditioner and contact customer service by calling the following toll-free number: 1-800-332-6658
or email: customerservice@fedders.com

WARNING
Electrical Shock Hazard
- Plug unit only into a grounded electrical outlet.
- Do not use an extension cord or plug adapter with this unit.
- Do not operate unit with decorative front or filter removed.
- Failure to follow these precautions could result in electrical shock, fire or personal injury.
- If the air conditioner has a serial plate rating of 115 volts and greater than 7.5 amps, it must have its own fuse or circuit breaker, and no other device or unit should be operated on that fuse or circuit breaker.
- If the air conditioner has a serial plate rating of 230 volts, it must have its own fuse or circuit breaker, and no other device or unit should be operated on that fuse or circuit breaker.
We recommend that a qualified electrician install unit in accordance with the National Electrical Code and local codes and ordinances. - Use copper conductors of correct wire gauge and protector size only.
- Do not alter cord or plug end. Do not remove warning label on cord.
Important Grounding Requirements
Air conditioner has a three-prong grounding plug on the power supply cord, which must be plugged into a properly grounded three-prong wall receptacle for your protection against possible shock hazard. For models up to and including 7.5 amperes, use a grounding type wall receptacle to match the cord plug.
- For models above 7.5 amperes use a single outlet grounding type wall receptacle to match the cord plug.

Warning

Do not operate this air conditioner without proper time delay circuit protection (circuit breaker or fuse). Refer to serial plate for proper power supply requirements.
Recommended Wire Sizes
(As installed per building code) :
PROTECTOR SIZE
WIRE GAUGE
15 AMP #14 MINIMUM
20 AMP #12 MINIMUM
30 AMP #10 MINIMUM

125V
15A

250V
20A

250V
15A

250V
30A
Additional Safety Precautions
- Do not cut, alter or remove any of the expanded polystyrene (styrofoam) inside this air conditioner.
- Do not store or use gasoline or other flammable vapors and liquids in the vicinity of this or any other appliance. The fumes can create a fire hazard or explosion.
- Do not introduce objects in the air discharge area. This could cause permanent damage.
- Do not pour liquids on the air conditioner as this could cause a malfunction. With the unit unplugged, use a damp cloth for cleaning the unit.
- Do not use strong solvents to clean the air conditioner.
- Clean the air conditioner filter every two weeks to avoid overheating caused by air obstruction. Do not operate without filter.
- Do not obstruct the air intake area of your air conditioner, as this could cause overheating, thus activating the unit's security switch and shutting off the unit.
- Do not block air circulation to outside louvers of cabinet.
- Do not block air flow inside with blinds, curtains, or furniture, or outside with shrubs, enclosures, or other buildings.
- Do not run the air conditioner with an outside protective cover in place. This could result in fire or mechanical damage within the air conditioner.
Before you start:
Window Requirements:
This air conditioner is factory prepared for installation in standard double-hung windows with actual opening width of 267/8'' to 415/8'' and clear, vertical opening of 155/8'' minimum from bottom of sash to sill. Unit can be installed in 237/8'' wide window, if cabinet side seals are removed.

Tools Needed

Screwdrivers

Ratchet or Driver with 1/4'' socket

Carpenter's Level

Tape Measure
Fastener Identification
Installation Parts Kit contents:
| Item | Description | Qty |
| A | 1" wood screw | 1 |
| B | 5/8" wood screw | 5 |

Actual size
Window Installation
Decorative Front Removal
- Remove the 3/8'' phillips screws on either side of the cabinet.
- Gently pull forward while grasping both sides of the decorative front.
Removing the Chassis
- Remove the two (2) shipping screws from the rear bottom side of the cabinet. These shipping screws may be discarded.
- Remove the two (2) anti-theft screws from the bottom front sides of the cabinet. RETAIN THESE SCREWS, they will be replaced later in the installation.
- Slide the chassis out of the cabinet by grasping the base pan handle and pulling forward while bracing the top bar.
Filler Panel Frame Installation
- Slide the filler panel frame onto the air conditioner cabinet using the tracks on the top bar and bottom bar of the unit. Slide the frame as close to the air conditioner as possible so that the curtain locks into place.
- Gently pull the frame out until it is the correct length for your application.

Use caution when working around exposed sharp edges of the cabinet and sharp coils to avoid injury or torn clothing.




Window sill
Bottom bar
1" Wood screw

Carpenter's level
5 / 8'' wood screw
Window sash
Window sill
Filler panel

Foam seal
Molding
Chassis
Lower sash
E Window Sill
Dec front
Filler panel
Anti-theft screw
Window Installation (cont.)
- Open window, by raising lower window sash, and mark the center of window sill. Carefully place cabinet in window and align center hole on the bottom bar with the center mark on the window sill.
- Close lower window sash until it touches behind the top bar. (Do not release your grip on the cabinet until the lower window sash is in its final position).
- Attach the cabinet to the window sill by driving one 1'' long wood screw through the bottom bar into the window sill.
Be sure cabinet maintains an downward pitch. Air conditioner should slant slightly downward on the outside as shown by 1/2 a bubble off on a carpenter's level. This outward pitch prevents water from entering the room.
Securing the Filler Panels
- Slide filler panels outward until they touch window sash tracks.
- Secure top of filler panels by driving a 5/8'' wood screw through each top mounting hole into window sash.
- Secure bottom of filler panels by driving a 5/8'' wood screw into window sill through each filler panel tab.
- Install chassis into cabinet.
Do not obstruct the air intake area of your air conditioner, as this could cause overheating, thus activating the unit's security switch and shutting off the unit. Do not block airflow inside with blinds, curtains, or furniture. Do not block airflow outside with shrubs, enclosures, or other buildings.
Installing the Chassis into the Cabinet
- Slide the chassis into the cabinet.
- Replace the two anti-theft screws at the bottom front sides of cabinet.
- To replace the decorative front, line up the top tabs and sides, and gently press into position. Reattach the screws on both sides of the decorative front. Make sure the power cord aligns with the power cord slot on the bottom of the decorative front. Make sure the decorative front is secure before reconnecting the plug and operating the unit.
- Cut plastic foam seal to width of window and install between upper and lower window sash.
- Use latex or silicone sealant (not supplied) to fill any minor openings.
Do not drill a hole in the bottom pan. Unit is designed to operate with approximately 1/2 of water in bottom pan.
Installing Cabinet in
Minimum Width Window
- Remove filler panels on air conditioner cabinet.
- Refer to steps 1 through 3 of Window Installation instructions.
- Close window until it touches behind air conditioner top bar.
- Fasten top bar to window frame using 5/8'' washer head screw.
- If filler is required on sides of air conditioner, cut plastic foam seal to size and fill both sides.
- Use silicone or latex sealant (not supplied) to fill any minor openings.
- Install chassis into cabinet.
Consult your authorized dealer or importer for alternative installation instructions.
Through-the-wall Installation
This air conditioner is designed as a slide-out type chassis, making it possible to install it through-the-wall in both existing and new construction. We recommend that this type of installation be performed with professional assistance.

- IMPORTANT: This appliance must be installed according to all applicable electrical and building codes and ordinances.
- It is recommended that you have help to install your unit and that you use proper lifting technique to avoid personal injury.
- It is important that you inspect the condition of the wall where the air conditioner will be installed.
- Be sure the wall can support the weight of the unit.
- All cabinet louvers MUST BE on the outdoor side of the wall. DO NOT BLOCK SIDE LOUVERS.
-
The cabinet must be installed level from side-to-side and with a downward tilt from inside to outside.
-
First remove the decorative front panel and chassis from the cabinet, then remove top bar from the cabinet.
- Determine the size of the opening for a wood frame by adding 1/8'' to the width and height of the cabinet. Measure height from top of cabinet to bottom of bar. Add this measurement to the thickness of wood used to build the frame. This will determine the size of wall opening needed. Minimum 1'' thick lumber is recommended when building the frame. When determining finish frame thickness, be sure not to cover side louvers on the cabinet.
- Install the finished frame in the wall opening square and level, nail or screw it securely to the wall and place the cabinet into the framed wall opening.
- Make sure cabinet projects into the roomside of the wall 1 14'' at the top and 1 12'' at the bottom to ensure proper tilt and access to the anti-theft screw, then fasten cabinet to the frame by drilling twelve (12) 1'' wood screws (not supplied) through the cabinet and into the frame. (Fig. 1 &2)
If installation is made in a building with brick veneer construction, a steel angle lintel must be used to support the bricks above the cabinet.(Fig.3)
- Install a 3/4'' X 1 1/2'' wood filler strip between the bottom bar and the interior, caulk both top and bottom of this strip. After cabinet is installed, caulk all openings, inside and outside, between finish frame and cabinet to prevent moisture from getting to the interior of the wall. Use of flashing (driprail) will further prevent water from dripping inside the wall.
- Install chassis into cabinet.

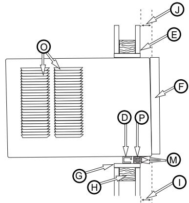
Top bar
Attach top bar here

Fig. 1

Fig. 2

Fig. 3
Wood frame
⑥ 1" wood screws
Cabinet
Bottom bar
Interior wall
F Decorative front
Minimum 1x6 wood support (nailed or screwed to wood frame)
2'' Wood frame
①1 1/2" space
1 1/4" space
Brick veneer
Lintel angle
Caulking
Flashing (drip rail)
Side louver
Wood filler strip
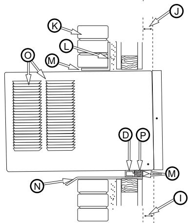
Power Control
The Power Control turns the unit on and off.
Set Temperature/ Timer Display
Shows the set temperature when the unit is in operation and hours when the timer is being set. THE TEMPERATURE DISPLAY ONLY SHOWS THE SET TEMPERATURE, NOT THE ACTUAL ROOM TEMPERATURE.
Temperature/ Timer Hour Controls
These buttons are used to raise or lower the set temperature in increments of 1^ from 66^ to 88^ . By depressing both buttons at once, the display will toggle between Celsius and Fahrenheit. When the timer is being set, these buttons are used to change the hour setting in increments of 1 from 00 to 24.
Mode Control
A green light will indicate which mode is currently being utilized.
Cool Mode -
The unit will circulate and cool the air.
Heat Mode (Heat Models Only) -
The unit will circulate and heat the air.
Heater Safety Feature- When heater is powered off, low fan will automatically stay on and run for 60 seconds to ensure the removal of residual heat, meanwhile, the Low Fan LED blinks until the low fan stops.
Fan Mode -
The unit will only circulate the air.
Energy Saver Mode -
(The energy saver mode is designed to operate with Cool mode only). The fan will switch from the set fan speed to Low whenever the compressor turns off in response to the thermostat. When the compressor cycles back on, the unit will return to the original fan setting. Speeds will change automatically as the temperature in the room changes.
Fan Speed Control - High, Medium, Low and Auto
The settings are adjusted with the Fan Speed Control, each time the button is depressed it changes the setting. A green light will indicate which setting is currently being used.
When the Auto feature is selected while the air conditioner is in the Cool or Heat mode, the fan speeds will change automatically as the temperature in the room changes. In Cool Mode when the room reaches 7^ or more above the set temperature High Fan will be used, 4^ or less above the set temperature will use Low fan. In Heat Mode when the room reaches 7^ or more below the set temperature High fan will be used, 4^ or less below the set temperature will use Low fan. At all other times the fan will use Medium fan.
Timer Control (The timer can be set to either turn the unit on or off.)
To automatically START the unit using the Timer mode:
- Push the timer button while the power is OFF. The display will read 00. Adjust the display to show the desired number of hours before START-UP using the Temperature/Timer adjustment arrows.
- The display will show the amount of time, in hours, remaining until START-UP.
- To exit Timer mode, push the Timer button.
- A green light next to the Timer button indicates that the timer is set.
To automatically SHUT-DOWN the unit using the Timer mode:
- Push the timer button while the power is ON. The display will read 00. Adjust the display to show the desired number of hours before SHUT-DOWN using the Temperature/Timer adjustment arrows. (The display will automatically return to the set temperature after 10 seconds.)
- To display the amount of time left until SHUT-DOWN, push the Timer button once.
- To exit Timer mode, push the Timer button twice.
- A green light next to the Timer button indicates that the timer is set.

Electronic Control (Cooling Only)
Electronic Control (Heat/Cool)

Temperature/Timer Display
B Temperature/Timer Adjustment
Timer On/Off
Fan Speed Control
E Mode Control
F Power Control
Built-in three minute timing delay.
If this electronic unit will not respond to touch pad or remote control commands, it is necessary to unplug the unit from the electrical outlet for five seconds and then plug the unit back in.
Auto restart feature:
In the event of a power failure, this feature allows the unit to resume operation once power has been restored, retaining the most recent settings. Upon restoration of power, the timer mode may need to be reset if being utilized.

CAUTION

Heat/Cool models or units with electric heat are designed to be used only as a supplemental heat source. They should be used in addition to regular heating systems and never as the primary source of heat.

Air Conditioner Remote Control
The functions work the same as your air conditioner's touch controls.

CAUTION

- Use only AAA or IEC R03 1.5V batteries.
- Remove the batteries if the remote controller is not used for a month or longer.
- Do not attempt to recharge the supplied batteries
- All batteries should be replaced at the same time.
- Do not dispose of the batteries in a fire as they may explode.
- Do not mix old and new batteries.
- Do not mix alkaline, standard (carbon - zinc), or rechargeable (nickel-cadmium) batteries.
- Do not install the batteries with the polarity (+/-) reversed.
- Keep batteries and other things that could be swallowed away from young children. Contact a doctor immediately if an object is swallowed.

Directing Airflow
Unit is engineered with adjustable louvers to direct discharge airflow. Louvers are manually adjusted by moving levers in direction of desired airflow.
Cleaning the Air Filter
Clean the filter every two weeks
- Turn Master Control to OFF.
- Remove the air filter by opening the air intake panel on the decorative front and pull it out of the unit.
- Wash in hot soapy water, rinse and shake dry.
- Replace the filter, with the front of the filter toward you.
- To dry the filter thoroughly, run your unit for a few minutes. Remember, only a clean filter works properly and delivers top efficiency at every setting.
Note: Failure to keep air filter clean will result in poor air circulation. DO NOT operate without filter. This can render the unit inoperative.
Proper use and care of your air conditioner will help ensure longer life of the unit. It is recommended to annually inspect and clean the coils and condensate water passages. Expense of annual inspection is the consumer's responsibility.
Service To save time and expense, check the following before calling an authorized service center.
Insufficient Cooling
- Turn Master Control to OFF.
- Shut all windows and doors in room.
- Remove any obstructions from inside and outside louvers.
- Close Vent Door (available on some models).
- Inspect filter and clean if dirty.
- Turn Thermostat and Master Controls to coolest settings. Under certain conditions the cooling coils directly behind the filter, may ice up and block the airflow. This is a common occurrence in air conditioners caused when the outside temperature drops below 70^ ( 21^ ) while the humidity remains high. If this happens, simply turn the unit off and allow the ice to melt, then resume normal operation.
Insufficient Heating- Heating Models Only
- Turn Master Control to OFF.
- Shut all windows and doors in room.
- Remove any obstructions from inside and outside louvers.
- Close Vent.
- Turn Thermostat to Warmer and Master Control to HI HEAT.
Unit Fails to Start
- Turn Master Control to OFF.
- Replug line cord plug into outlet to be sure electrical contact is being made. (If firm contact is not being made, outlet may have to be replaced).
- Turn Master Control to HI FAN. If air circulating fan does not operate, check house circuit breaker (or fuses).
Troubleshooting Guide
| Occurrence | Possible Cause | Solutions |
| Air conditioner will not operate | ·Wall plug disconnected. ·House fuse blown or circuit breaker tripped. ·Power switch in OFF position. ·Unit accidentally turned off by moving the thermostat to a higher temperature and then immediately turned back to a colder position. ·Unit turned off and then on too quickly. ·Thermostat set too low for cooling. | ✓Push plug firmly into wall outlet. ✓Replace fuse with time delay type or reset circuit breaker. ✓Turn power switch to ON position. ✓Wait approximately 3 minutes. Listen for the compressor to start. ✓If air conditioner is turned off, wait 3 minutes before restarting. ✓Adjust thermostat to higher setting for cooling. |
| Air from unit does not feel cold enough | ·Selector in FAN position. ·Thermostat set too warm. ·Room temperature below 70°F. | ✓Set selector to COOL position. ✓Set thermostat to colder temperature. ✓Cooling may not occur until room temperature rises above 70°F. |
| Air conditioner cooling, but room is too warm — ice forming on cooling coil behind decorative front | ·Outdoor temperature below 70°F. ·Dirty air filter — air restricted. ·Thermostat set too cold for nighttime cooling. | ✓To defrost the coil, set selector to FAN position. Then, set thermostat to warmer position. ✓Clean filter. See “Cleaning the Air Filter” section. To defrost, set selector to FAN. ✓To defrost the coil, set selector to FAN position. Then, set thermostat to a normal position. |
| Air conditioner cooling, but room too warm — NO ice forming on cooling coil behind decorative front | ·Dirty air filter — air restricted. ·Thermostat set too warm. ·Fan selector set on LOW. | ✓Clean air filter. Refer to “Cleaning Air Filter” section. ✓Set thermostat to colder setting. ✓Set fan speed selector to HIGH for maximum cooling. |
| Noise when unit is cooling | ·Air movement sound. ·Sound of fan hitting water-moisture removal system. ·Window vibration — poor installation. | ✓The sound of rushing air is normal. If too loud, turn selector to lower fan setting. ✓This is normal when humidity is high. Close doors, windows and registers. ✓Refer to installation instructions — check with installer. |
| Water dripping inside when unit is cooling | ·Improper installation. | ✓Tilt air conditioner slightly to the outside to allow water drainage. Refer to installation instructions — check with installer. |
| Water dripping outside when unit is cooling | ·Unit removing large quantity of moisture from humid room. | ✓This is normal during excessively humid days. |
How to Obtain Warranty Service or Parts
Note: Before calling for service, carefully read this Installation and Operations manual.
For Models Installed in North America :
First make the recommended checks in the Troubleshooting guide. Then, if you still need assistance:
- Call a CareCo authorized servicer and advise them of model number, serial number, date of purchase and nature of complaint. Service will be provided during normal working hours. Contact your dealer for the name of an authorized servicer, if unknown to you.
- If your dealer is unable to give you the name of a servicer or if you need other assistance, contact CareCo for the name of an authorized servicer.
You may contact CareCo by email:
customerservice@fedders.com
by calling the following toll-free number:
1-800-332-6658
or you may write:
CareCo, Service Department
415 W. Wabash Ave., P.O. Box 200
Effingham, IL 62401
For Models Installed Outside North America :
For room air conditioners purchased for use outside North America, the manufacturer does not extend any warranty either expressed or implied. Consult your local dealer for any warranty terms extended by the importer in your country.
Proof of Purchase Date
It is the responsibility of the consumer to establish the original purchase date for warranty purposes. We recommend that a bill of sale, cancelled check, or some other appropriate payment record be kept for that purpose.
Visit www.fedders.com for obtaining service parts beyond your warranty period.
Room Air Conditioner Warranty
(Within the 48 contiguous United States, state of Hawaii, the District of Columbia, Puerto Rico, Mexico and Canada)
Full (Five Year) Parts and Labor Warranty
During the five years after the date of original purchase, Fedders will, through its authorized servicers and free of charge to the owner or any subsequent user, repair or replace any parts which are defective in material or workmanship due to normal use. Ready access to the air conditioner is the responsibility of the owner.
Note: In the event of any required parts replacement within the period of this warranty, Fedders replacement parts shall be used and will be warranted only for the period remaining on the original warranty.
Exceptions
The above warranty does not cover failure to function caused by damage to the unit while in your possession (other than damage caused by defect or malfunction), or by its improper installation, or by unreasonable use of the unit, including without limitation, failure to provide reasonable and necessary maintenance or to follow the written Installation and Operating Instructions. If the unit is put to commercial, business, rental, or other use or application other than for consumer use, we make no warranties, express or implied, including but not limited to, any implied warranty of merchantability or fitness for particular use or purpose.
THE REMEDIES PROVIDED FOR IN THE ABOVE EXPRESS WARRANTY ARE THE SOLE AND EXCLUSIVE REMEDIES THEREFORE, NO OTHER EXPRESS WARRANTY ARE MADE. ALL IMPLIED WARRANTYES, INCLUDING BUT NOT LIMITED TO ANY IMPLIED WARRANTY OF MERCHANTABILITY OR FITNESS FOR A PARTICULAR USE OR PURPOSE, ARE LIMITED IN DURATION TO FIVE YEARS FROM THE DATE OF ORIGINAL PURCHASE. IN NO EVENT SHALL FEDDERS BE LIABLE FOR INDIRECT, INCIDENTAL, OR CONSEQUENTIAL DAMAGES, EVEN IF ADVISED IN ADVANCE OF THE POSSIBILITY OF SUCH DAMAGES. NO WARRANTYES, EXPRESS OR IMPLIED, ARE MADE TO ANY BUYER UPON RESALE.
Some states do not allow limitations on how long an implied warranty lasts or do not allow the exclusion or limitation of incidental or consequential damages, so the above limitations or exclusions may not apply to you. This warranty gives you specific legal rights, and you may also have other rights which may vary from state to state.
customerservice@fedders.com
a工程技术的数字技术。
1-800-332-6658
o puede scribir a:
CareCo, Service Department
415 W. Wabash Ave., P.O. Box 200
Effingham, IL 62401
customerservice@fedders.com
Avertissement A

Built in Three Minute Cooling Delay
High Auto Med Low
- Heat
- Cool
- Energy Save
- Fan


customerservice@fedders.com
CareCo, Service Department
415 W. Wabash Ave., P.O. Box 200
Effingham, IL 62401
EasyManual