T2030-24 - Imprimante TALLY - Notice d'utilisation et mode d'emploi gratuit
Retrouvez gratuitement la notice de l'appareil T2030-24 TALLY au format PDF.
| Type de produit | Imprimante thermique de transfert |
|---|---|
| Caractéristiques techniques principales | Résolution d'impression de 203 dpi, vitesse d'impression jusqu'à 152 mm/s |
| Alimentation électrique | Adaptateur secteur 100-240V AC |
| Dimensions approximatives | 300 mm x 200 mm x 150 mm |
| Poids | 2,5 kg |
| Compatibilités | Compatible avec Windows, Linux et Mac OS |
| Type de batterie | Non applicable (imprimante sur secteur) |
| Tension | 24V DC |
| Puissance | 50W |
| Fonctions principales | Impression de codes-barres, étiquettes et tickets |
| Entretien et nettoyage | Nettoyage régulier de la tête d'impression et des rouleaux |
| Pièces détachées et réparabilité | Pièces disponibles pour remplacement, service technique recommandé |
| Sécurité | Conforme aux normes CE, utiliser uniquement avec l'adaptateur fourni |
| Informations générales utiles | Garantie de 2 ans, support technique disponible |
FOIRE AUX QUESTIONS - T2030-24 TALLY
Téléchargez la notice de votre Imprimante au format PDF gratuitement ! Retrouvez votre notice T2030-24 - TALLY et reprennez votre appareil électronique en main. Sur cette page sont publiés tous les documents nécessaires à l'utilisation de votre appareil T2030-24 de la marque TALLY.
MODE D'EMPLOI T2030-24 TALLY
Manuel d'utilisation
ATTENTION : Le présent appareil numérique n'émet pas de bruits radioélectriques dépassant les limites applicables aux appareils numériques de la classe B prescrites dans le règlement sur le brouillage radioélectrique édicté par le ministère des Communications du Canada.
Le papier utilisé est fabriqué à partir de matières premières blanchies sans chlore.
Cet appareil remplit les exigences des normes européennes en respectant la directive du Conseil du 3 mai 1989 (89/336/CE) relative à la compatibilité électromagnétique et la directive du 19 février 1973 (73/23/CE) en matière de matériel à basse tension. La conformité aux directives mentionnées ci-dessus est représentée par la marque de conformité de la Communauté Européenne (CE).
Remarque : La conformité peut être influencée par :
l'utilisation de câbles d'interface non spécifiés ■ le non-respect de consignes importantes du manuel d'utilisation ■ le remplacement de composants qui n'ont pas été homologués pour cet appareil par le constructeur ■ l'intervention de personnes non autorisées
ATTENTION : Seul un personnel qualifié et formé est habilité à démonter les sous-ensembles de la machine qui ne sont pas formellement indiqués dans le Manuel d'utilisation, même s'ils sont accessibles par l'opérateur.
Tables des matières
Symboles utilisés 2 Consignes importantes de sécurité 2 Utilisation de la documentation en ligne 2
Installation
Déballage de l'imprimante 5 Mise en place de l'imprimante 5 Connexion de l'imprimante 6 Mise sous tension et hors tension de l'imprimante 6
Panneau de commande 7
Mode Online 7 Mode Offline 7 Mode Setup 7
Chargement du papier
Papier feuille à feuille 10 Imprimante en mode de papier continu 12
Changement de type de papier
Sélection rapide de la fonction papier 14
Utilisation
Déplacement du papier en position de séparation
Réglages (I) 16
Réglage de la position de séparation 16 Réglage de la première ligne d'impression (TOF) 16
Réglages (II)
Réglage de l'écart de la tête d'impression 18 Du mode page seule en mode papier en continu 20 Sélection d'une police de caractères 21 Réglage de l'espacement des caractères 22
Données techniques de l'imprimante 23 Spécifications du papier 23

Symboles utilisés

Ce manuel d'utilisation est une initiation rapide sur la manière d'utiliser l'imprimante et permet également aux utilisateurs inexpérimentés de se servir de l'imprimante. Il décrit les fonctions principales de l'imprimante et contient des informations indispensables à connaître pour le travail quotidien avec l'imprimante. Vous trouverez une description détaillée de l'imprimante, de ses caractéristiques et des informations supplémentaires dans le manuel de référence sur la Online CD-ROM, à l'avant-dernière page de ce manuel.
Deux symboles permettent de faire ressortir les informations importantes contenues dans ce manuel.
Le symbole ATTENTION signale les informations à observer pour éviter que l'utilisateur ne se blesse ou que l'imprimante ne soit endommagée.
Le symbole NOTE contient des informations générales ou supplémentaires sur un sujet précis.
Consignes importantes de sécurité
Lire attentivement les instructions suivantes avant de mettre l'imprimante en service pour éviter de vous blesser et d'endommager l'imprimante.
Veiller à ce que le présent manuel soit toujours parfaitement accessible. Placer l'imprimante sur un support stable de façon à ce qu'elle ne puisse pas tomber. Ne pas exposer l'imprimante à des températures élevées ou à la lumière directe du soleil. Ne pas mettre l'imprimante en contact avec des liquides. Ne pas exposer l'imprimante à des chocs, impacts ou vibrations. Ne jamais mettre l'imprimante sous tension quand celle-ci n'est pas correctement installée.

N'essayez jamais d'effectuer des travaux d'entretien ou des réparations vous-même. Contactez toujours un dépanneur qualifié.

Pour déconnecter l'imprimante de l'alimentation principale, débranchez toujours le connecteur secteur de la prise murale.

Vous trouverez d'autres consignes de sécurité aux endroits appropriés dans le texte.
Utilisation de la documentation en ligne
Installer tout d'abord l'Adobe Acrobat Reader sur le disque dur dans la mesure où ce programme n'est pas déjà disponible. Pour l'installation, suivre les opérations détaillées dans le fichier Readme du fichier READER. Pour démarrer la documentation Online dans le gestionnaire de fichiers (Windows 3.1) ou l'Explorateur (Windows 95/Windows 98/Windows NT), double-cliquer sur le fichier START.PDF. Suivre ensuite le guide utilisateur.
Si le CD-ROM est défectueux ou manquant, contactez votre revendeur.
La documentation en ligne est également disponible sur papier (moyennant une participation) ou sur Internet.
Matériel requis au minimum : PC AT 486, lecteur CD-ROM 4x, écran 15", souris.
Recherche des pannes La documentation en ligne sur CD-ROM contient des informations détaillées sur la recherche des pannes.
Vue d'ensemble
Les figures suivantes indiquent tous les éléments de l'imprimante ; le tableau qui suit liste les fonctions de ces éléments.


| Désignation | Fonction |
| Panneau de commande | Indique l'état de l'imprimante; est utilisé pour procéder à de nombreux régles. |
| Magasin de papier | Sert de magasin à papier pour les feuilles déjà imprimées quand le paramètre "F-Eject" est inactif dans les régles du menu. |
| Supports de papier | Servent à prolonger le magasin de papier. |
| Capot supérieur | Si une cassette à ruban encreur doit être remplaçée ou pour éliminer un bourge de papier, ce capot peut être enlevé afin de permettre l'accès aux pièces concernées. Il sert en outre à protégger l'utilisateur contre les mouvements mécaniques dans l'imprimante. |
| Molette | Est utilisée pour faire avancer ou reculer manuellement le papier. |
| Interrupteur secteur | Met l'imprimante sous ou hors tension. |
| Prise option | Est utilisée pour raccorder le dispositif d'alimentation feuille à feuille automatique (ASF) ou le second tracteur optionnel. |
| Levier de sélection du papier | Est utilisé pour sélectionner le type de papier traité par l'imprimante: - Alimentation feuille à feuille (levier en position haute) - Alimentation en continu (levier en position basse) |
| Panneau frontal | Est ouvert quand du papier à alimentation en continu doit être mis en place. Ce panneau est enlevé quand le dispositif d'alimentation feuille à feuille automatique (ASF) ou le second tracteur optionnel sont installés. |
| Margeur de droite | L'alignement de la cordure de droite d'une feuille simple sur ce guide permet d'éviter une introduction irrégulière du papier. |
| Alimentation feuille à feuille | Est ouverte pour charger des feuilles individuelles et sert de support de papier. Est également utilisée comme magasin pour le papier imprimé quand le paramètre"F-Eject" est réglé sur ASF, Single ou ALL dans les régles du menu. |
| Margeur de.gauche | Sert à aligner la cordure de droite de feuilles simples. |
| Levier de verrouillage | Le tirage des leviers vers l'avant de l'imprimante ouvre le verrouillage et le capot supérieur peut être enlevé. |
| Arête de séparation du papier | C'est acet endroit que le papier à alimentation en continu est coupé. L'appui sur la touche Coupe transporte le papier sur cette position. |
| Levier d'épaissur du papier | Est utilisé pour régler l'écart de la tête d'impression suivant l'épaissur du papier utilisé. Pour plus amples informations, voir p. 18, Réglage de l'écart de la tête d'impression. |
| Connecteur d'interface | Câble de raccordement avec l'ordinateur. |
| Branchement secteur | Le cable secteur est connecté à cet endroit. |
| Capot arrêté | Sert à insonoriser l'imprimante. Doit être retirené lorsque le magasin de papier est relevé. |
Déballage de l'imprimante
Ouvrez le carton de l'imprimante et vérifiez que les articles suivants s'y trouvent bien.

Si des articles manquent ou sont endommagés, n'hésitez pas à contacter le magasin où le produit a été acheté.
Enlevez les protections pour le transport comme précisé dans les consignes de déballage.
Conservez soigneusement le carton et les matériaux d'emballage pour le transport éventuel de l'imprimante dans un autre endroit.
Mise en place de l'imprimante
Placer l'imprimante sur un support stable, plan et non-glissant de façon à ce qu'elle ne puisse pas tomber. Veiller à ce que le panneau de commandes et les magasins d'alimentation du papier soient aisément accessibles et à ce qu'il y ait suffisamment de place pour l'éjection du papier.

En cas de mouvements d'avance et de recul fréquents avec du papier en continu, l'imprimante doit être placée comme illustré à la figure ci-contre.
Quand vous avez besoin d'un endroit approprié pour l'imprimante, observez ce qui suit :

Ne jamais placer l'imprimante à proximité de sources de gaz ou de substances inflammables ou explosives.
■ Éviter d'exposer l'imprimante à la lumière directe du soleil. S'il n'est pas possible de placer l'imprimante autre part que près d'une fenêtre, la protéger des rayons du soleil par un rideau. Placer l'imprimante près de l'ordinateur auquel elle doit être raccordée. L'écart ne doit pas excéder 2,0 m. Veiller à ce que l'écart par rapport aux radiateurs soit suffisant. Veiller à ce que l'imprimante ne soit pas soumise à de fortes variations de température ou d'humidité de l'air. Éviter la poussière.
Connexion de l'imprimante

S'assurer que l'imprimante est réglée à la tension appropriée (p. ex. 230 V pour l'Europe, 110 V pour les USA). Voir la plaque signalétique près de la prise d'alimentation à l'arrière de l'imprimante.
Si ce n'est pas le cas, contacter le vendeur.

Ne jamais mettre l'imprimante sous tension quand celle-ci n'est pas à la tension correcte, car ceci pourrait entraîner de graves endommagements.
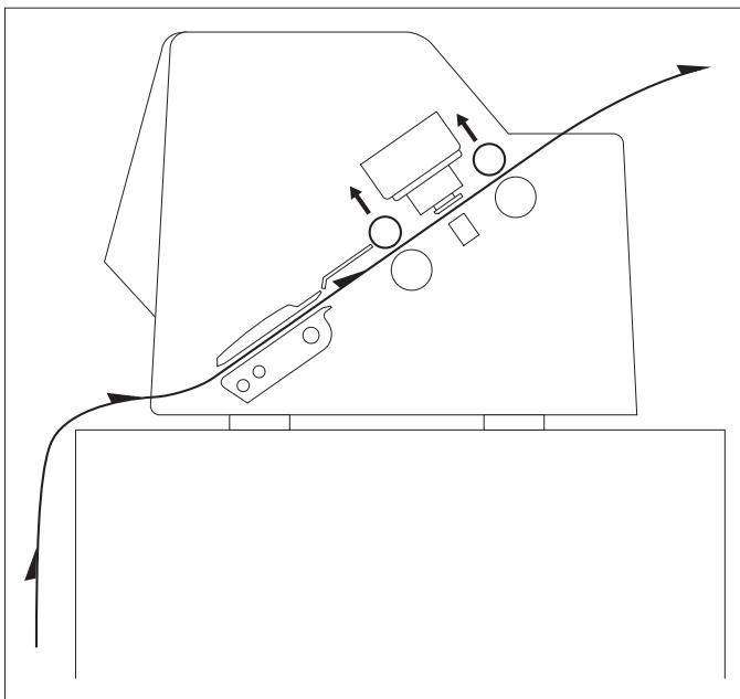
Raccorder le câble d'alimentation à la prise d'entrée de l'imprimante comme illustré à la figure. Raccorder le connecteur du câble d'alimentation à une prise murale.


S'assurer que l'imprimante et l'ordinateur sont hors tension.
Raccorder le connecteur d'imprimante du câble de transmission de données à la prise d'interface femelle et le verrouiller avec les pinces à ressort. Raccorder l'autre extrémité du câble à l'ordinateur.
Mise sous tension et hors tension de l'imprimante

L'interrupteur principal, qui sert à la m , se trouve à droite de l'imprimante, à l'arrière.
Panneau de commande

Le fonctionnement de l'imprimante peut être contrôlé avec le panneau de commande et ses touches.
La première ligne sur l'afficheur indique si l'imprimante est Online ou Offline et la fonction papier sélectionnée : Trac.1 ou Insert.
Mode online
Quand l'imprimante est mise sous tension, elle sélectionne automatiquement le mode Online. Elle ne peut recevoir des données de l'ordinateur que dans ce mode.


① Règle l'imprimante en mode Offline. ② Règle l'imprimante en mode Setup. ③ Touche Coupe : Active la fonction séparation quand du papier en continu est chargé (voir p. 15). Si "Load" s'affiche au-dessus de cette touche, c'est qu'il n'y a pas de papier dans l'imprimante. Appuyez sur cette touche pour transporter le papier en position d'impression.
Mode offline
L'alimentation pas à pas, le changement de ligne et de page ne peuvent être effectués via le panneau de commande que dans ce mode (voir également page 15).


① Règle l'imprimante en mode Online. ② Règle l'imprimante en mode Setup. ③ Si aucun papier n'est chargé : touche Load (voir plus haut). Si du papier est chargé : Bref appui sur la touche : changement de ligne (LF). Appui prolongé : changement de page (FF). ④ Bref appui sur la touche : micropas vers l'arrière. Appui prolongé : retour constant du papier. ⑤ Bref appui sur la touche : micropas vers l'avant. Appui prolongé : alimentation constante du papier. ⑥ Annule la fonction papier quand le papier est chargé et active la sélection rapide de la fonction papier (voir page 14).
Mode Setup


Règle l'imprimante en mode Setup. Dans ce mode, les paramètres suivants sont disponibles : - Réglage de la police et du nombre de caractères par pouce (menu Char). - Fonction papier (menu Chem-Pap). - Position de séparation, intervalle de la première ligne d'impression et en-tête (menu Ajuster). - Autres paramètres (Menu).
L'accès aux autres options de menu est verrouillé par le constructeur. Pour des informations sur la manière d'accéder à ces options et sur les options disponibles, voir le CD-ROM en ligne, chapitre 1, "Maniement et réglages" (Déverrouiller le mode Menu).
Remplacement de la cartouche du ruban encreur
Enlever tout le papier de l'imprimante.

Avant d'ouvrir le capot, assurez-vous que l'imprimante est hors tension.



Amener le levier d'épaisseur du papier en position "8".
Tirer les leviers de verrouillage du capot supérieur se trouvant du côté gauche et du côté droit vers l'avant de l'imprimante et enlever le capot.
Déplacer la tête d'impression à peu près au milieu.

La tête d'impression peut être chaude. Veillez donc à ne pas toucher les parties métalliques de la tête d'impression.



Poussez les deux guides "A" sur le côté gauche de la cartouche de ruban encreur sur les ergots de l'imprimante et introduisez la cartouche ; appuyez avec précaution sur la cartouche jusqu'à ce qu'elle s'enclenche. Si vous percevez une résistance, tournez la molette de tension du ruban encreur pendant que vous poussez.
Desserrez le guide de ruban de la cartouche.

N'enlevez en aucun cas la feuille de plastique se trouvant sur le guide ; elle sert à protéger le ruban encreur.
Poussez le guide de ruban dans l'ouverture prévue à cet effet entre la tête d'impression et la barre d'impression jusqu'à ce qu'il s'enclenche de façon audible.

Assurez-vous, lors de la fixation du guide de ruban encreur, que celui-ci n'est pas plié. Veillez en outre à ne pas endommager la feuille de plastique.
Tournez la molette de tension du ruban encreur dans le sens de la flèche pour éliminer le mou du ruban.

Après la mise en place de la cartouche de ruban encreur, replacez le capot supérieur.
Réglez le levier d'épaisseur du papier selon l'épaisseur du papier utilisé. Pour plus de détails à ce propos, voir la page 18.
(Réglage de l'écart de la tête d'impression).
Chargement du papier

N'utiliser que du papier approprié pour cette imprimante. Pour plus amples informations, voir le CD-ROM en ligne, annexe C (Spécifications).
Papier feuille à feuille
Le papier chargé feuille à feuille est placé à l'avant de l'imprimante. Le papier imprimé peut être éjecté à l'arrière ou à l'avant de l'imprimante. Pour de plus amples informations à ce propos, voir le CD-ROM en ligne, chapitre 1 (Table d'explication des menus).

Mettez l'imprimante sous tension (interrupteur secteur sur "I"). Réglez le levier d'épaisseur du papier selon l'épaisseur du papier utilisé. Pour plus de détails à ce propos, voir la page 18 (Réglage de l'écart de la tête d'impression).

Rabattez le bac à papier vers le haut dans le sens de la flèche. Tenez le bac à papier et sortez les supports de papier.



Réglez le levier de sélection du papier sur le mode feuille à feuille. Assurez-vous que l'imprimante est en mode feuille à feuille. Pour de plus amples informations sur la manière de sélectionner ce mode, voir la page 14 (Sélection rapide de la fonction papier).
Positionnez le margeur de gauche sur la position de début d'impression souhaitée (la marque "[A]" indique la position par défaut du début de l'impression).
Positionnez une feuille individuelle sur le margeur de gauche et réglez le margeur de droite selon la largeur du papier utilisé. Insérez la feuille entre les deux margeurs. L'imprimante la tire automatiquement jusqu'à la position d'impression et est ensuite prête pour l'impression.

Lorsque du papier d'un grammage de 63 grammes est utilisé et si le papier imprimé est éjecté à l'arrière, le bac à papier a une capacité d'environ 30 feuilles. Si le papier est éjecté à l'avant, chaque feuille doit être prélevée individuellement.
Imprimante en mode de papier continu



Réglez le levier d'épaisseur du papier selon l'épaisseur du papier utilisé. Pour plus de détails à ce propos, voir la page 18 (Réglage de l'écart de la tête d'impression).
Réglez le levier de sélection du papier sur le mode continu.
Relever le capot frontal et l'enclencher.
Ceci empêche que le panneau ne retombe involontairement.
Déplacez les leviers de blocage de gauche et de droite vers le haut dans le sens de la flèche pour déverrouiller les tracteurs.
Ouvrez les volets des tracteurs.
Alignez les tracteurs sur la largeur de papier souhaitée.
Placez le support de papier au centre du tracteur de gauche et de droite.



Chargez le papier avec le côté à imprimer vers le haut sur le tracteur de gauche. Pour ce faire, placez les trous de transport de la cordure de gauch et fermez ensuite le volet.
P droite du papier sur les ergots du tracteur de droite et fermez ensuite le volet d'entraînement.

Veillez à ce que le papier soit à la même hauteur à droite et à gauche sur les tracteurs et que le même nombre d'ergots soit utilisé, afin que le papier ne soit pas entraîné de travers, risquant ainsi un bourrage.
Après la mise en place du papier, la position du début d'impression souhaitée peut être sélectionnée avec le margeur de gauche (la marque “[A” indique la position par défaut du début de l'impression).
Poussez le levier de blocage de gauche vers le bas pour fixer l'entraîneur.
Tendez le papier et fixez-le ensuite avec le levier de blocage.

Si le papier ne peut pas être entièrement tendu avec le tracteur de droite, modifiez la position du tracteur de gauche.
Ne tendez pas trop le papier pour éviter la déchirure des trous de transport, mais suffisamment pour éviter que le papier ne se gondole, ce qui pourrait causer des problèmes de chargement.
Mettez l'imprimante sous tension.
Le bac de chargement actif (Trac.1) est affiché. Le papier est automatiquement chargé quand l'imprimante est en mode Online et lorsqu'elle reçoit des données de l'ordinateur. Appuyez sur la touche Load pour amener le papier au début de l'impression.
Sélection rapide de la fonction papier
On peut changer de type de papier (fonction papier) soit avec la sélection rapide du papier, soit via le menu Setup.
Déchirez tout d'abord le papier à alimentation continue au niveau de l'arête de séparation. Pour ce faire, procédez comme suit.


Assurez-vous que l'imprimante est à l'état Offline ; appuyez sur la touche Online si nécessaire.
Appuyez sur la touche Park. Si du papier à alimentation continue est chargé dans l'imprimante, "Tear paper off" s'affiche. Appuyez sur une touche. Si une feuille est chargée dans l'imprimante, elle est alors éjectée.


Sélectionnez le chemin de papier désiré en appuyant sur l'une des touches indiquées, Insert par exemple.

Si vous n'avez pas effectué votre sélection au bout de 5 secondes, l'imprimante quitte le menu.


L'imprimante revient en mode Offline. L'afficheur commute entre...
et...


Réglez le levier de sélection du papier sur le mode feuille à feuille (voir page 11 "Chargement du papier").


L'afficheur commute entre...
et...


Rabattez le bac à papier vers le haut dans le sens de la flèche. Tenez le bac à papier et sortez les supports de papier.
Positionnez le margeur de gauche sur la position de début d'impression souhaitée. Positionnez une feuille individuelle sur le margeur de gauche et reglez le margeur de droite selon la largeur du papier utilisé. Insérez la feuille entre les deux margeurs. L'imprimante la tire automatiquement jusqu'à la position d'impression. (voir page 11 "Chargement du papier").


Appuyer sur la touche Online pour mettre l'imprimante en état d'attente, prête à utiliser.
Transport du papier

Le papier chargé (papier en continu ou pages simples) peut être transporté de différentes façons dans l'imprimante.

S'assurer que l'imprimante est en mode Offline ; appuyer sur la touche Online si nécessaire.
① Bref appui sur la touche : Line feed (LF) activé. Appui prolongé sur la touche : Form feed (FF) activé. ② Bref appui sur la touche : le papier est transporté progressivement vers le bas. Appui prolongé sur la touche : transport continu vers le bas. ③ Bref appui sur la touche : le papier est transporté progressivement vers le haut. Appui prolongé sur la touche : transport continu vers le haut.
Utilisation
Déplacement du papier Le papier en continu peut être transporté en position de séparation en appuyant sur la touche Coupe.


S'assurer que l'imprimante est en mode Online. Appuyer sur la touche Coupe. L'imprimante amène la perforation du papier sur l'arête de séparation.
L'affichage commute entre...


et...


Appuyer sur la touche Quit après avoir déchiré le papier. L'imprimante ramène le papier à la première position d'impression.
Réglages (I)
Réglage de la position de séparation. Quand la position de séparation n'est pas alignée sur l'arête de séparation, on peut la régler.


Appuyer sur la touche Setup. L'imprimante passe en mode Setup.


Appuyer sur la touche Ajuster.


Appuyer sur la touche Coupe.


Appuyer sur la touche < ou > pour amener la perforation dans la position appropriée.
Confirmer le réglage en appuyant sur la touche Valid.
L'imprimante revient dans son mode initial.

La correction effectuée (au maximum environ 2,5 cm [1"] dans les deux sens) est enregistrée après l'arrêt de l'imprimante.
Réglage de la première ligne d'impression. On peut pour régler la position de la ligne supérieure d'impression pour chaque type de papier et pour chaque menu.

Il est conseillé d'aligner la position de séparation (voir plus haut) avant d' (papier en continu).


Appuyer sur la touche Setup. L'imprimante passe en mode Setup.


Appuyer sur la touche Ajuster.


Appuyer sur la touche TOF.

Le papier est transporté jusqu'à ce que l'arête inférieure de la première ligne d'impression A se trouve à la hauteur de l'arête de séparation B.
Le réglage d'usine pour la première position d'impression est 12/72".


Appuyer sur la touche < ou > pour amener la première ligne d'impression dans la position appropriée.
On peut régler des valeurs entre 0 et 220/72 pour le papier en continu, entre 0 et 72/72 pour les pages simples.

Confirmer le réglage en appuyant sur la touche Valid. L'imprimante revient dans son mode initial.

Les réglages effectués sont enregistrés après l'arrêt de l'imprimante. Pour plus amples informations, voir le CD-ROM en ligne, chapitre 3 (Réglages mécaniques de l'imprimante).
Réglage de l'écart de la tête d'impression
L'imprimante est équipée d'un levier d'épaisseur de papier servant à régler .

Pour obtenir une qualité d'impression optimale, l'écart entre la tête d'impression et le contre-appui doit être réglé selon l'épaisseur du papier utilisé.
Le tableau ci-dessous montre la plage réglable :
| Nombre de copies/ épais-seur du papier | Rame (kg) | g/m2 | Position du levier |
| Original seul, mince | 45–55 | 50–65 | 1 |
| Original seul, normal | 55–77 | 65–90 | 1–2 |
| Original seul, épais | 77–110 | 90–130 | 2 |
| Original + 1 | 34/34 | 40/40 | 2–3 |
| Original + 2 | 34/34/34 | 40/40/40 | 2–4 |
| Original + 3 | 34/34/34/34 | 40/40/40/40 | 3–4 |
| Original + 4 | 34/34/34/34/34 | 40/40/40/40/40 | 4–5 |
| Original + 5 | 34/34/34/34/34/34 | 40/40/40/40/40/40 | 5–6 |
| Carte postale | 110 | 130 | 3 |
| Réserve | — | — | 7–8 |

- "Rame" est une unité indiquant le poids du papier. Le poids de 1000 format 788 mm x 1091 mm est mesuré en kilogrammes.
- Si un seul original est imprimé, il est possible d'utiliser des feuilles individuelles de rame 45 kg et plus ou du papier en continu de rame 50 kg et plus.
- Si le levier d'épaisseur du papier est réglé sur une valeur supérieure à celle requise, les impressions seront irrégulières et la durée de vie de la tête d'impression et du ruban encreur pourra en souffrir.
Changement du papier en mode Setup : Du mode papier en continu au mode page seule
Quand on a utilisé jusqu'ici du papier en continu et qu'on veut passer en mode page seule, procéder comme suit.
Il n'est pas nécessaire d'enlever le papier en continu.


Déchirez le papier à alimentation continue éjecté sur l'arête de séparation. Pour ce faire, procédez comme suit : appuyez sur la touche Setup. L'imprimante passe en mode Setup.


Appuyer sur la touche Chem-Pap. L'imprimante passe au menu de fonction papier.


Appuyer sur < ou > pour passer en mode Insert (page). Le réglage momentané (Trac.1) est marqué par le signe “ * ”.


Confirmer le réglage en appuyant sur la touche Valid. L'entrée est confirmée par un signal acoustique et le papier en continu est transporté à la position de séparation. Déchirer le papier et appuyer sur une touche.


Vous voyez apparaître à l'écran...
Appuyez sur une touche.


L'imprimante revient dans sa position initiale et le papier en continu est transporté en position de parking. L'affichage commute entre...
et...


Réglez le levier de sélection du papier sur le mode feuille à feuille.
Vous voyez apparaître à l'écran...


Rabattez le bac à papier vers le haut dans le sens de la flèche. Tenez le bac à papier et sortez les supports de papier (voir page 10). Positionnez une feuille individuelle sur le margeur de gauche et réglez le margeur de droite selon la largeur du papier utilisé. Insérez la feuille entre les deux margeurs. L'imprimante la tire automatiquement jusqu'à la position d'impression (voir page 11).


Appuyez sur Online pour mettre l'imprimante en disponibilité.
Du mode page seule en mode papier en continu
Quand on a utilisé jusqu'ici des pages seules et qu'on veut passer , procéder comme suit.
S'assurer que le papier en continu est chargé (pour plus amples informations, voir la page 12 "Papier en continu").


Enfoncer le support de papier dans le magasin de papier et abaisser le tout. Appuyer sur la touche Setup. L'imprimante passe en mode Setup.


Appuyer sur la touche Chem-Pap. L'imprimante affiche le menu de fonction papier.


Appuyer sur < ou > pour passer en mode Tract 1 (papier en continu). Le réglage momentané (Insert) est marqué par le signe “ * ”.


Confirmer le réglage en appuyant sur la touche Valid. Un signal acoustique confirme l'entrée.


L'écran alterne entre...
et...


Amenez le levier de choix du papier dans la position correspondante. L'imprimante est maintenant prête pour l'impression sur papier en continu. Appuyez sur la touche Online pour mettre l'imprimante en attente, prête à utiliser.
Sélection d'une police de caractères La touche Police permet de sélectionner des polices de caractères en mode Setup.


Appuyer sur la touche Setup. Appuyer sur la touche Char.


Appuyer sur la touche Police.


Appuyer sur la touche < ou > pour sélectionner la police de caractères souhaitée. Confirmer la sélection en appuyant sur la touche Valid.


Appuyer sur la touche Setup. L'imprimante revient dans son état initial. On peut également appuyer sur la touche Online. L'imprimante passe directement en mode Online.

La sélection n'est pas conservée après l'arrêt de l'imprimante. Pour des informations sur la manière de sélectionner une police de caractères permanente, voir le CD-ROM Online, chapitre 1 (Table d'explication des menus).
Réglage de l'espacement des caractères
La touche CPI permet de régler le nombre de caractères imprimés par pouce en mode Setup.


Appuyer sur la touche Setup. Appuyer sur la touche Char.


Appuyer sur la touche CPI.


Appuyer sur la touche < ou > pour sélectionner l'espacement des caractères souhaité. Confirmer la sélection en appuyant sur la touche Valid.


Appuyer sur la touche Setup. L'imprimante revient dans son état initial. On peut également appuyer sur la touche Online. L'imprimante passe directement en mode Online.

La sélection n'est pas conservée après l'arrêt de l'imprimante. Pour des informations sur la manière de sélectionner un réglage d'espacement des caractères permanent, voir le CD-ROM Online, chapitre 1 (Table d'explication des menus).
Données techniques de l'imprimante
| 9 | 24 | |
| Méthode d'impression | série avec tête matricelle à 9 aiguilles | série avec tête matricelle à 24 aiguilles |
| Largeur d'impression | Version étroites 80 Caractères pour 10 cpiversion larges 136 Caractères pour 10 cpi | version étroites 80 Caractères pour 10 cpiversion larges 136 Caractères pour 10 cpi |
| Vitesse d'impression(bidirectionale) | HS-Draft/Draft Copy 360 cps pour 10 cpiDraft 270 cps pour 10 cpiNLQ/LQ 65 cps pour 10 cpi | HS-Draft/Draft Copy 330 cps pour 10 cpiDraft 250 cps pour 10 cpiNLQ/LQ 70 cps pour 10 cpi |
| Densités des caractères | 5, 6, 7,5, 8,6, 10, 12, 15, 17,1, 20 cpi | 5, 6, 7,5,8,6, 10, 12, 15, 17,1, 20 cpi |
| Densité de l'impressiongraphique | horizontal 240 dpi / verticale 144 dpi | horizontal 360 dpi / verticale 180 dpi |
| Durée de vie du ruban | 4 millions de caractères | 4 millions de caractères |
| Niveau sonore | ca. 55 dB (A) | ca. 55 dB (A) |
| Dimensions | version étroites 485 x 206 x 245 mm (L x P x H)version larges 625 x 206 x 245 mm (L x P x H) | version étroites 485 x 206 x 245 mm (L x P x H)version larges 625 x 206 x 245 mm (L x P x H) |
| Poids | version étroites 9 kg / version larges 11 kg | version étroites 9 kg / version larges 11 kg |
| Alimentation | USA/Canada AC 120 V ±10% / 60 Hz ±3%Europe AC 230 V ±10% / 5 0 Hz ±3% | USA/Canada AC 120 V ±10% / 60 Hz ±3%Europe AC 230 V ±10% / 5 0 Hz ±3% |
| Puisance absorbée | au débit 100% < 60 VAà vide < 10 VA | au débit 100% < 60 VAà vide < 10 VA |
| Conditions defonctionnement | Température 10°C bis 40°CHumidity ambiente 20% bis 80% | Température 10°C bis 40°CHumidity ambiente 20% bis 80% |
| Spécifications de la tête d'impression | Nombre d'aiguilles 9Diamètre des aiguilles 0,3 mmNombre de copies 1 original + 5 copies | Nombre d'aiguilles 24Diamètre des aiguilles 0,2 mmNombre de copies 1 original + 3 copies |
| Mémoire d'interface | max. 40 kB | max. 40 kB |
| Homologations | UL 1950, VDE-GS, CE, FCC Class B, UL/ULc | UL 1950, VDE-GS, CE, FCC Class B, UL/ULc |
Spécifications du papier
| Feuilles séparées | Grammage | 60 – 120 g/m2version étroites: 76 – 220 mm / version larges: 76 – 420 mm |
| Largeur | ||
| Longueur | 76 – 559 mm | |
| Papier en continu | Grammage | 60 – 120 g/m2version étroites: 76 – 254 mm / version larges: 76 – 420 mm |
| Formulaire simple | Largeur | 76 – 559 mm |
| paravent | Longueur | Original: 45 – 65 g/m2/copie: 45 – 56 g/m2/dernière feuille: 45 – 65 g/m2 |
| Liasse de formulaire | Grammage | voir formulaire simple |
| paravent | Largeur/Longueur | max. 0,5 mm |
| Epaisseur du formulaire | 1+5 (9 aiguilles) / 1+3 (24 aiguilles) | |
| Nombre de copies |

Pour d'autres informations concernant les spécifications du papier, consultez la documentation en ligne sur CD-ROM.
Accessoires
Cassettes ruban :
Version étroite
Pièce n° 044 829
Version large
Pièce No. 044 830
Indices
Tous droits réservés. Toute reproduction ou traduction de ce manuel, qu'elle soit complète, partielle ou sous une forme différente, est interdite sans notre accord formel. Nous nous réservons le droit de modifier ce manuel sans préavis. Toutes les précautions ont été prises afin d'assurer l'exactitude des informations contenues dans ce manuel. Cependant, nous déclinons toute responsabilité pour les fautes ou dommages provenant d'erreurs ou d'inexactitudes qui seraient restées dans ce manuel.
"CENTRONICS de Centronics Data Computer Corporation.
"EPSON d'Epson America Incorporated.
"IBM d'International Business Machines Corporation.
"MS-DOS de Microsoft Corporation.
"Windows", "Windows 95", "Windows 98" et "Windows NT" sont des marques déposées de Microsoft Corporation.
Notice Facile