GF 45-1 AC - Chauffage mobile industriel S.PLUS - Notice d'utilisation et mode d'emploi gratuit

Retrouvez gratuitement la notice de l'appareil GF 45-1 AC S.PLUS au format PDF.

📄 4 pages Français FR 💬 Question IA 8 questions ⚙️ Specs
Notice S.PLUS GF 45-1 AC - page 1
Type d'appareilChauffage d'atelier
AlimentationNon précisé
Puissance thermiqueNon précisé
Type de combustibleNon précisé
Mode de chauffageAir chaud soufflé
Matériau du corpsAcier
Présence d'un ventilateurOui
Type de ventilationVentilateur axial
MobilitéAvec roues
Type de commandeNon précisé
Protection thermiqueNon précisé
DimensionsNon précisées
PoidsNon précisé
Utilisation recommandéeAtelier, espace fermé
Accessoires inclusSupport, roues, poignée
Type de montagePosé au sol
Type de raccordementNon précisé

FOIRE AUX QUESTIONS - GF 45-1 AC S.PLUS

Comment installer le S.PLUS GF 45-1 AC ?
Pour installer le S.PLUS GF 45-1 AC, suivez les instructions dans le manuel d'utilisation. Assurez-vous que l'appareil est placé sur une surface stable et que toutes les connexions électriques sont correctement effectuées.
Quel est le niveau sonore du S.PLUS GF 45-1 AC ?
Le S.PLUS GF 45-1 AC a un niveau sonore maximum de 45 dB, ce qui le rend relativement silencieux pendant son fonctionnement.
Comment nettoyer le filtre du S.PLUS GF 45-1 AC ?
Pour nettoyer le filtre, retirez-le délicatement de l'appareil et rincez-le à l'eau tiède. Laissez-le sécher complètement avant de le remettre en place.
Quelle est la consommation énergétique du S.PLUS GF 45-1 AC ?
Le S.PLUS GF 45-1 AC consomme environ 500 W en fonctionnement normal, ce qui le rend efficace pour un usage quotidien.
Que faire si l'appareil ne s'allume pas ?
Si le S.PLUS GF 45-1 AC ne s'allume pas, vérifiez d'abord si l'appareil est correctement branché et si la prise fonctionne. Si le problème persiste, consultez le service après-vente.
L'appareil émet une odeur étrange, que faire ?
Une odeur étrange peut provenir d'un filtre sale ou d'une accumulation de poussière. Nettoyez le filtre et vérifiez l'état général de l'appareil. Si l'odeur persiste, contactez le support technique.
Quelle est la garantie du S.PLUS GF 45-1 AC ?
Le S.PLUS GF 45-1 AC est couvert par une garantie de 2 ans à partir de la date d'achat, couvrant les défauts de fabrication.
Puis-je utiliser le S.PLUS GF 45-1 AC dans une pièce humide ?
Il est recommandé d'éviter d'utiliser le S.PLUS GF 45-1 AC dans des endroits très humides pour prolonger sa durée de vie. Utilisez-le dans un environnement sec.

Questions des utilisateurs sur GF 45-1 AC S.PLUS

0 question sur cet appareil. Repondez a celles que vous connaissez ou posez la votre.

Poser une nouvelle question sur cet appareil

L'email reste privé : il sert seulement à vous prévenir si quelqu'un répond à votre question.

Aucune question pour l'instant. Soyez le premier à en poser une.

Téléchargez la notice de votre Chauffage mobile industriel au format PDF gratuitement ! Retrouvez votre notice GF 45-1 AC - S.PLUS et reprennez votre appareil électronique en main. Sur cette page sont publiés tous les documents nécessaires à l'utilisation de votre appareil GF 45-1 AC de la marque S.PLUS.

MODE D'EMPLOI GF 45-1 AC S.PLUS

GF 75.2 AC PLUS chauffage · ventilation raffaissement

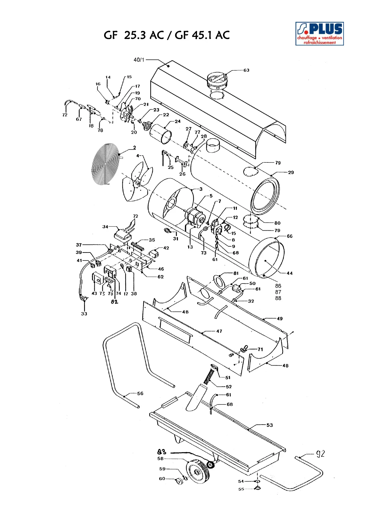
N° Rep.DésignationGF 25.3 ACGF 45.1 ACGF 75.2 AC
1Capot supérieur
2Grille arrière223 5145
3Logement du ventilateur
4Hélice223 5090223 5160
5Moteur223 5180223 5220223 5220
6Joint de bouchon de vidange223 5232223 5232223 5232
7Accouplément de la pompe223 5243223 5243
8Pompe223 5230223 5230223 5230
9Adapteur de tuyau223 5244223 5244223 5244
10Support
11Vanne électro-magnétique / Bobine223 5470223 5470223 5470
12Coude MM sortie pompe223 5523223 5523223 5523
13Condensateur223 5752223 5751223 5751
14Bicône 4 mm233 5523233 5523233 5523
15Tube223 5522223 5522223 5522
16Accouplement
17Joint de tube
18Électrode223 4860223 4860
19Prise d'air
20Anneau d'électrode
21Porteur de giclaur
22Volet du giclaur
23Giclaur223 4870223 4880223 4910
24Tête du brûleur
25Cellule photo-électrique223 4840223 4840223 4840
26Support cellule photo-électrique223 4841223 4841223 4841
27Thermostat de refroidissement223 5380223 5380223 5380
28Anneau de thermostat
29Chambre de combustion223 5721
30Virole de refroidissement
31Protection, grande
32Protection, petite
33Câble avec prise223 5305223 5305223 5305
34Transformateur223 539022353902235390
35Bande de connection
36Anneau transformateur
37Guide pour cable
38Interrupteur223 5460223 5460223 5460
39Connection de thermostat223 5290223 5290223 5290
40Couvercle
41Pont thermostat223 5360223 5360223 5360
42Relais auxiliaire223 5430223 5430223 5430
43Relais de brûleur223 4830223 4830223 4830
44Virole inférieure
45Câbles électriques
46Anneau pour relais
47Plaque, droite
48Support
49Plaque, gauche
50Filtre fioul223 4800223 4800223 4800
N°Rep.DésignationGF 25.3 ACGF 45.1 ACGF 75.2 AC
51Bouchon du réservoir223 5280223 5280223 5280
52Filtre du réservoir223 5300223 5800223 5300
53Réserveur
54Joint de bouchon de vidange223 5282223 5282223 5282
55Bouchon de vidange223 5283223 5283223 5283
56Barre à pousser223 5725
57Chàssis
58Roue
59Anneau de fixation
60Vidange
61Tube de fioul
62Tableau de manœuvre
63Cheminée223 5702223 5703
64Collier
65Cône inférieur
66Cône supérieur
67Tuyau
68Collier / tuyau fioul GF223 5707223 5707223 5707
69Support de roue
70Disque de tête de brûleur
71Thermostat max.
72Câble d'électrode223 4851223 4851223 4851
73Câble d'électrovanne223 5501223 5501223 5501
74Support relais du brûleur
75Plaque écrous de serrage
76Bouchon de blinding
77Entretoise thermostat de refroidissement223 5381223 5381
78Protection, petite
79Trappe de visite échangeur223 5706223 5706223 5706
80Joint de trappe de visite223 5705223 5705223 5705
81Cache tuyau de réservoir
82Condensateur
83Rondelles plates
84
85Collier de serrage
86Thermostat de surchauffe223 5270223 5480223 5480
87Anneau de thermostat
88Câble de thermostat
89
90Écrou de bicône223 5708223 5708223 5708
91Douille d'écart
92Bourrelet
93Capuchon
94Plaque de la mise à la terre
95Anneau
96
97Entretoise thermostat de refroidissement223 5381223 5381
98Plaque isolante
99Porte-fusible
100Fusible
101Plaque d'air
Assistant notice
Powered by ChatGPT
En attente de votre message
Informations produit

Marque : S.PLUS

Modèle : GF 45-1 AC

Catégorie : Chauffage mobile industriel