C70 F2 - Chaudière fioul S.PLUS - Notice d'utilisation et mode d'emploi gratuit
Retrouvez gratuitement la notice de l'appareil C70 F2 S.PLUS au format PDF.
| Type d'appareil | Chaudière fioul |
| Modèles disponibles | C35 F2, C50 F2, C70 F2, C110 F2 |
| Usage | Chauffage et ventilation |
| Installation | Murale ou au sol |
| Alimentation | Fioul domestique |
| Puissance thermique | Non précisé |
| Type de combustion | Brûleur fioul |
| Contrôle de température | Thermostat intégré |
| Rendement | Non précisé |
| Dimensions | Non précisé |
| Poids | Non précisé |
| Maintenance | Entretien régulier recommandé |
| Sécurité | Dispositifs de sécurité intégrés |
| Ventilation | Incluse |
| Garantie | Non précisé |
FOIRE AUX QUESTIONS - C70 F2 S.PLUS
Téléchargez la notice de votre Chaudière fioul au format PDF gratuitement ! Retrouvez votre notice C70 F2 - S.PLUS et reprennez votre appareil électronique en main. Sur cette page sont publiés tous les documents nécessaires à l'utilisation de votre appareil C70 F2 de la marque S.PLUS.
MODE D'EMPLOI C70 F2 S.PLUS
C35 F2 - C50 F2 - C70 F2 - C110 F2
MANUEL D'INSTALLATION ET D'ENTRETIEN
Destiné à l'installateur et à l'utilisateur
Declaration de conformite
S. PLUS déclare sous sa propre responsabilité que le générateur C 110 F est conforme aux normes et directives suivantes :
Thermostat d'ambiance 16 - Sélecteur chauffage / Stop / Ventilation 16
- CYCLE DE FONCTIONNEMENT 16
- Cycle de fonctionnement de la ventilation 16
- Cycle de fonctionnement du chauffage 16
- ALLUMAGE / ARRET 17
- CONTROLES 17
- MANUTENTIONS / MAINTENANCE 17
Nettoyage de l'échangeur de chaleur 17 Nettoyage du brûleur à fioul 17
- POSITIONNEMENT DE LA PRESE DE PRELÉVEMENT DE LA FUMEE 19
- ÉVENTUELLES ANOMALIES ET SOLUTIONS 207
Quelques avertissements
Le présent manuel d'instruction fait partie intégrante de l'appareil et comme tel, il devra toujours l'accompagner, même dans le cas d'une cession du générateur à un autre utilisateur. Il devra donc être conservé avec soin et consulté attentivement avant chaque type d'opération.
L'installation des générateurs d'air chaud COMPAC C35 F2 à C110 F2 doit être effectuée selon les règles de l’art, en accord avec les normes en vigueur et avec les indications fournies dans le présent manuel d'instructions.
Les appareils ont été réalisés pour le chauffage des locaux industriels. Ils doivent être destinés à cet usage et compatibles avec les caractéristiques des bâtiments.
Il est exclu tout type de responsabilité contractuelle et non-contractuelle de la part de la société S. PLUS pour les dommages causés à des personnes, des animaux ou des choses, ayant pour cause une erreur de manutention ou un usage inapproprié. Veiller à ce que le local chauffé soit suffisamment aéré.
Une température trop élevée est dangereuse pour la santé et constitue un gaspillage inutile d'énergie. Eviter que les locaux restent fermés pendant une période trop longue. Ouvrir périodiquement les fenêtres pour assurer un renouvellement de l'air correct.
À la première mise en service, il peut se dégager des odeurs ou des émanations liées à l’évaporation du liquide utilisé pour protéger l’échangeur en phase de stockage ; il s’agit d’un phénomène normal qui disparaît après une brève période de fonctionnement. Il est recommandé d’aérer convenablement le local.
Si l'appareil n'est pas utilisé pendant une longue période, positionner l'interrupteur général de l'installation sur « arrêt »
Les appareils doivent être équipés exclusivement avec des pièces d'origine. Dans le cas contraire, la société S. PLUS ne pourra être tenue responsable d'éventuels dommages aux biens et aux personnes.
Les références aux lois, normes, directives et régulations techniques citées dans le présent manuel sont à prendre en compte à titre informatif, à la date d'impression de ce manuel. L'entrée en vigueur de nouvelles dispositions ou modifications ne pourra constituer un motif d'obligation de la société S. PLUS à l'égard d'un tiers.
Les interventions de réparation et de maintenance doivent être effectuées par un personnel qualifié selon les indications contenues dans ce manuel. Ne pas modifier cet appareil. Dans le cas contraire, le constructeur ne pourra être tenu responsable des éventuels dommages subis.
Les tuyaux d'alimentation fioul, les câbles d'alimentation électrique devront être installés selon les règles de l'art et ne devront pas constituer d'obstacle aux personnes.
La société S. PLUS est responsable de la conformité du générateur selon les lois, les directives ou les normes de construction en vigueur au moment de la commercialisation. La connaissance et le respect des dispositions législatives et des normes inhérentes à l'installation, à l'utilisation et à la maintenance sont à la charge exclusive de l'installateur et de l'utilisateur.
La société S. PLUS n'est pas responsable du non-respect des instructions contenues dans ce manuel.
Règles fondamentales de sécurité
L'utilisation d'appareils qui utilisent l'énergie électrique et/ou fioul requiert l'observation de quelques règles fondamentales de sécurité. L'usage du générateur d'air chaud est interdit aux enfants et aux personnes inexpertes non assistées. Il est formellement interdit d'actionner n'importe quel dispositif ou appareil électrique tel que des interrupteurs, des appareils électro-domestiques, etc... si l'on sent des odeurs de combustible, dans ce cas:
Aérer la pièce / le local en ouvrant portes et fenêtres. Fermer le dispositif d'alimentation du combustible. Faire intervenir dans les plus brefs délais un dépanneur qualifié.
Il est interdit de toucher les appareils les pieds nus ou avec le corps mouillé ou humide. - Toutes opérations de nettoyage et de manutention doivent se faire alimentation électrique et autres coupées. - Il est interdit de modifier les systèmes de sécurité ou de régulation sans l'autorisation et les indications du constructeur de l'appareil. Il est formellement interdit de tirer, débrancher, tordre les câbles électriques sortant de l'appareil, même non reliés au réseau d'alimentation électrique. Il est interdit d'ouvrir les portes d'accès aux parties de l'appareil sans avoir avant, positionné l'interrupteur principal de l'installation sur « arrêt ». Il est interdit de disperser, abandonner ou laisser le matériel de l'emballage à portée des enfants (carton, agrafes, sachets en plastique, etc...) car il peut être source potentielle de danger. Il est interdit d'installer l'appareil à proximité de matériel inflammable ou dans une pièce en présence d'une atmosphère agressive. Il est interdit de poser des objets sur l'appareil, ou de les enfiler au travers de la grille d'air en acier et dans les conduits de dégagement des produits de la combustion. Il est inter禁止触摸正在运行的烟道,它可能会达到高温,接触皮肤时会造成危险。禁止使用适配器、多用插座和延长线来为设备进行电气连接。禁止将设备安装在室外或可能受到各种气象现象影响的地方。- 禁止直接将发电机安装在一个通风不良的小空间内,因为吸气可能导致室内产生强烈的负压,并引发严重问题。 请注意,我在此处进行了纠正,但最后一句似乎有部分内容缺失,因此保持了原文的完整性。
Description de l'appareil
Le générateur d'air chaud Compac est un appareil permettant un échange thermique par le biais d'un échangeur entre les calories fournies par la combustion du fioul et un flux d'air introduit par un ventilateur. L'air est directement soufflé dans le local par l'intermédiaire d'un plénum de soufflage muni d'ailettes directionnelles.
L'appareil peut fonctionner en ventilation seule durant l'été.
Le générateur d'air chaud est constitué essentiellement de :
- Chambre de combustion à inversion de flamme en acier inox AISI 430 résistant aux hautes températures, aux basses charges thermiques, de forme et de volume appropriés. Faisceau de tubes de fumée de section adaptée pour un rendement maximum.
- Collecteurs des fumées avec une trappe de visite pour faciliter l'entretien.
- Plénum de soufflage avec sorties sur les quatre côtés et ailettes horizontales orientables, pouvant être fermées à l'exclusion d'un côté.
- Enveloppe constituée de panneaux démontables en tôle peinte. Isolation thermique des surfaces exposées au rayonnement de l'échangeur.
- Trou découpé pour la liaison à une éventuelle gaine de soufflage (au-dessus du plénum) Carter pour la protection du brûleur et du réservoir, avec porte d'inspection.
- Ventilateur centrifuge à double aspiration et bas niveau sonore avec moteur électrique monophase, directement accouplé sur la roue.
- Réservoir fioul de grande capacité
- Brûleur fioul auto-aspirant, avec module de commande et de contrôle électronique pour le fonctionnement automatique.
Appareillage électrique comprenant :
Thermostat " FAN " (35°C) du type à expansion de liquide, rège le démarrage du ventilateur environ 60 secondes après l'allumage du brûleur et en déterminé l'arrêt après la post-ventilation. Ceci permet d'éviter l'émission d'air froid à l'allumage et d'évacuer l'énergie thermique accumulée par l'échangeur à l'arrêt de l'appareil Thermostat " LIMIT" (100^), on doit proceder à son réarmement en agissant sur le bouton adapté, après avoir vérifié et éliminé les causes qui ont provoqué la mise en surchauffe Thermostat d'ambiance (0 - 40^) pour la regulation automatique de la temperature avec sonde Voyant vert de la mise sous tension Voyant rouge de mise en sécurité du brûleur - Commutateur à trois positions pour chauffage, ventilation ou arrêt
Identification
Le générateur d'air chaud COMPAC est identifié à travers la plaque d'immatriculation technique qui rapporte les principales données technico-performantes. Elle est positionnée dans le logement brûleur.

Structure


- Réservoir
- Brûleur fioul
- Compartment
- Sortie cheminée
- Thermostat FAN (ventilateur)
- Thermostat LIMIT (surchauffe)
- Moto ventilateur
- Sorties d'air


| Dimensions | C 35 F2 | C 50 F2 | C 70 F2 | C 110 F2 |
| A | 460 | 460 | 540 | 760 |
| B | 1050 | 1050 | 1120 | 1400 |
| C | 1600 | 1600 | 1700 | 2000 |
| D | 1175 | 1175 | 1305 | 1570 |
| ø cheminée | 120 | 120 | 150 | 200 |
Dimensions chambre de combustion
L'échangeur de chaleur est de type à trois tours de fumée et la chambre de combustion a les dimensions reportées ci-dessous :


| Modèle | A | Bø | C | D | Eø |
| C 35 F2 | 623 | 316 | 120 | 60 | 120 |
| C 50 F2 | 623 | 316 | 120 | 60 | 120 |
| C 70 F2 | 683 | 380 | 120 | 60 | 150 |
| C 110 F2 | 906 | 567 | 170 | 85 | 200 |
DONNÉES TECHNIQUES
| C 35 F2 | C 50 F2 | C 70 F2 | C 110 F2 | ||
| Puisance thermique nominale | kW | 33,7 | 46,8 | 71,1 | 104,6 |
| kcal/h | 29000 | 40300 | 61200 | 90.000 | |
| Puisance thermique utile | kW | 30,4 | 42,2 | 64,4 | 94,2 |
| kcal/h | 26130 | 36300 | 55400 | 81.090 | |
| Rendement | % | 90,1 | 90,1 | 90,5 | 90,1 |
| Volume,chambre de combustion | dm3 | 48,8 | 48,8 | 77,4 | 228,5 |
| Consommation fioul | kg/h | 2,84 | 3,95 | 6 | 8,82 |
| Débit d'air +20°C | m3/h | 1900 | 2800 | 4500 | 6.300 |
| DT | °K | 45 | 43 | 41 | 45 |
| Réglage thermostats | |||||
| - FAN | °C | 35 | |||
| - LIMIT | °C | 100 | |||
| Alimentation électrique | 230 V - 50 Hz~ | ||||
| Puisance électrique moteur ventilateur | kW | 0,245 | 0,245 | 0,59 | 0,736 |
| Protection électrique | IP | 20 | |||
| Poids net (sans brûleur) | kg | 132 | 137 | 173 | 264 |
| Capacité réservoir | I | 20 | 55 | 75 | 135 |
Déplacement et transport
La manutention doit être effectuée par un personnel qualifié équipé et avec des engins adaptés au poids de l'appareil.

Attention
Le transport et la manutention seront effectués avec attention afin d'éviter des dommages à l'appareil et un danger pour les personnes.
Durant les opérations de transport, il est interdit de rester à proximité de l'appareil.
Positionnement emplacement
Le lieu d'installation doit être établi par l'installateur ou par une personne compétente qui doit tenir compte des exigences techniques, des Normes et des Législations en vigueur.
Il est donc conseillé, avant d'effectuer l'installation de l'appareil, de demander et d'obtenir le cas échéant, les autorisations nécessaires.
Pour une installation correcte, les générateurs doivent :
- Être positionnés sur une surface plate, sèche et pouvant soutenir le poids de l'appareil. Respecter les distances minimales des parois ou obstacles pour permettre les opérations normales de nettoyage, de manutention et une aspiration et soufflage de l'air corrects.
- Maintenir les distances de sécurité des matériaux inflammables.
- Être installée dans un endroit pourvu d'ouvertures de ventilation selon les normes en vigueur.
Il est interdit d'installer le COMPAC :
- Dans des lieux à atmosphère agressive.
- Dans des lieux étroits où le niveau sonore de l'appareil pourra être amplifié.
- Dans les angles où se déposent d'habitude des feuilles ou de la poussière pouvant réduire l'efficacité de l'appareil en obstruant le passage de l'air. À l'extérieur.
Distances minimum


Au centre du local. Soufflage en 4 directions.

Contre une paroi. Sur les parois avec soufflage sur les 3 côtés
Dans les angles avec soufflage sur 2 côtés
La sortie d'air d'un seul côté n'est pas admise

Plénum de SORTIE
L'appareil est doté d'un plénum de soufflage muni d'ailettes régables. Le réglage des ailettes doit satisfaire :
- Une distribution appropriée de l'air
- Ne pas créer une résistance excessive.
- Ne pas créer de gène aux personnes

! IMPORTANT ! La diffusion de l'air d'un seul côté du plenum n'est pas autorisée (risque de surchauffe)
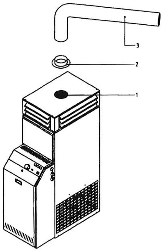
Canalisation
Il est possible d'envoyer par une gaine de soufflage, une partie de l'air chaud dans un autre local grâce au trou 300mm prévu sur le haut du plénum.
- Trou prévu
- Raccord avec un bord (non fourni)
- Gaine (non fournie)

Protections FIXES
Pour éviter des contacts accidentels avec les parties chaudes ou en mouvement, il est absolument interdit de faire fonctionner l'appareil s'il est dépourvu de ses protections soit :
- Panneau d'accès ou du brûleur
- Panneau postérieur
Branchement électrique
L'appareil est fourni avec brûleur et ventilateur montés.
Les raccordements à effectuer concernent uniquement l'alimentation électrique générale.
Pour le branchement, utiliser la prise - repère 2 (schéma ci-dessous)
- Connecteur fixe
- Connecteur mobile

- Installer avant le montage un interrupteur magnétochimique adapté à l'appareil (voir paragraphe « Données Techniques ») et aux normes en vigueur en la matière.
- Vous assurer que la section des câbles d'alimentation électrique soit adaptée à la puissance maximale absorbée de l'appareil.
- Toujours relier l'appareil à la terre, en ayant soin de laisser le cable de la terre légèrement plus long que les câbles des lignes, de façon à ce qu'en cas d'un débranchement accidentel, ce dernier soit le dernier à se couper.
- Respecter les polarités lors de l'alimentation électrique.
Tableau de commande
- Voyant de tension (vert)
- Voyant intervention thermostat LIMIT (orange)
- Voyant sécurité brûleur (rouge)
- Commutateur
- Bouton RESET-LIMIT
- Thermostat d'ambiance

SCHEMA ÉLECTRIQUE


LF Voyant détection
LL Voyant intervention LIMIT
LB Voyant sécurité
C Commutateur chauffage/stop/ventilation
Thermostat d'ambiance
TM Thermostat LIMIT
FA Thermostat FAN
B Bruleur
MGV Bornier groupe ventilateur
GV Groupe ventilateur
Prise externe
IMT* Interrupteur magnetothermique
- Externe à l'appareil à installer par le client
Reservoir
Le générateur d'air chaud COMPAC peut être raccordé à un réservoir extérieur (voir notice brûleur)
Remplissage du réserveau
Démonter le panneau 1 côté du brûleur
Enlever le bouchon du réservoir 2
Insérer le carburant avec l'aide d'un entonnoir muni d'un filtre 3.

1.1. Panneau de fermeture extérieur du brûleur 2. Bouchon 3. Embout avec un contrôle
Réglages
Réglage du brûleur fioul.
Le réglage du brûleur fioul doit être effectué par une personne qualifiée en suivant les indications données dans le manuel du brûleur.
Note : Les données reportées ci-dessus ont uniquement un caractère indicatif. Le réglage de l'air de combustion varie selon les caractéristiques de la cheminée (Voir manuel brûleur)
Tableau de réglages Brûleur à fioul marque RIELLO
| RIELLO | ModèleBrûleur | AlimentationElectrique | Régulationde la tête | Régulationde l'air | Pression dela pompe(bar) | GcleurDelavan(G.P.H.) |
| C 35 F2 | REG5 | 230V - 50 Hz~ | 2,0 | 5,0 | 12 | 0,6560°W |
| C 50 F2 | REG5 | 230V - 50 Hz~ | 3,0 | 10,0 | 11 | 1,00 60°W |
| C70 F2 | R40G10S | 230V - 50 Hz~ | 2,5 | 4,5 | 12 | 1,50 60°W |
| C 110 F2 | R40G10S | 230V - 50 Hz~ | 6,0 | 3,8 | 12 | 2,0060°W |
Thermostat d'ambiance
Installé sur l'appareil, il commande l'allumage et l'extinction de l'appareil de façon à maintenir la température souhaitée.
Sélecteur de fonctionnement
Chauffage / Arrêt / Ventilation
Positionné sur le tableau électrique de l'appareil, il sélectionne le cycle de fonctionnement :
- Positionné sur le symbole « chauffage », il programme l'appareil de façon à ce que le ventilateur et le brûleur fonctionnent automatiquement à la demande du thermostat.
- Programmé sur le symbole « ventilation », il commande l'appareil sans le brûleur. Le ventilateur fonctionne en permanence.
- Programmé sur le symbole "stop", il commande l'arrêt du générateur d'air chaud. Le ventilateur fonctionne néanmoins un certain laps de temps de façon à évacuer la chaleur accumulée dans l'échangeur (en cas d'arrêt en cycle de chauffage).
CYCLE de fonctionnement
Fonctionnement en « ventilation »
Pour obtenir un fonctionnement en ventilation :
- Alimenter électriquement l'appareil. Positionner le commutateur sur « ventilation ».
Fonctionnement en mode "chauffage"
Pour obtenir un fonctionnement en “chauffage”
- Alimenter électriquement l'appareil. Programmer le thermostat d'ambiance sur la température désirée. Positionner le commutateur sur "chauffage". Le brûleur est alimenté électriquement et se met en route après un temps de pré-ventilation.
Environ une minute après l'allumage de la flamme, le ventilateur démarrera et l'air chaud sera envoyé dans le local à chauffer.
Quand la température réglée au thermostat d'ambiance est atteinte, le brûleur s'arrête. Le ventilateur s'arrête après une post-ventilation d'environ 4 minutes.
Le cycle se répète automatiquement chaque fois que le thermostat d'ambiance le demande.
Mise en ROUTE
Après raccordement électrique et remplissage du réservoir fioul :
- Enclencher le thermostat d'ambiance : le brûleur débute son cycle de fonctionnement et, après le préballage, la flamme s'allume. Vérifier que le ventilateur se met en marche (environ 1 minute après l'allumage de la flamme).
Arrêt
Pour arrêter le générateur d'air chaud, AGIR EXCLUSIVEMENT SUR LE THERMOSTAT D'AMBIANCE, en le réglant sur la température minimale ou en mettant l'interrupteur sur « Stop »
Attendre l'arrêt du ventilateur.
Après l'arrêt du ventilateur (≈ 4 mn), on peut éventuellement débrancher l'appareil ou le priver de courant en fermant l'interrupteur général.
Pour arrêter le générateur, NE JAMAIS DEBRANCHER L'APPAREIL EN FONCTIONNEMENT.
L'énergie thermique accumulée dans l'échangeur peut en effet provoquer une surchauffe et faire intervenir le thermostat de sécurité LIMIT.
Controle
Lors de la première mise en route ou après une panne de fioul, il peut être nécessaire de réarmer plusieurs fois le brûleur.
Maintenance
Pour un bon fonctionnement et une bonne longévité du générateur d'air chaud, on vous recommande d'effectuer périodiquement le nettoyage et la maintenance de votre appareil. Tout type d'intervention dans ce sens doit être effectué par du personnel spécialisé.
Les opérations doivent être effectuées sur un appareil froid, en débranchant l'appareil et enlevant le combustible du réservoir.
Il est conseillé d'utiliser des gants de protection et dans le cas d'utilisation d'échelles ou d'autres moyens d'accès, les opérations devront être toujours effectuées dans une sécurité absolue.
Nettoyage de l'echangeur
COMPAC C 35 F2-C 50 F2-C 70 F2
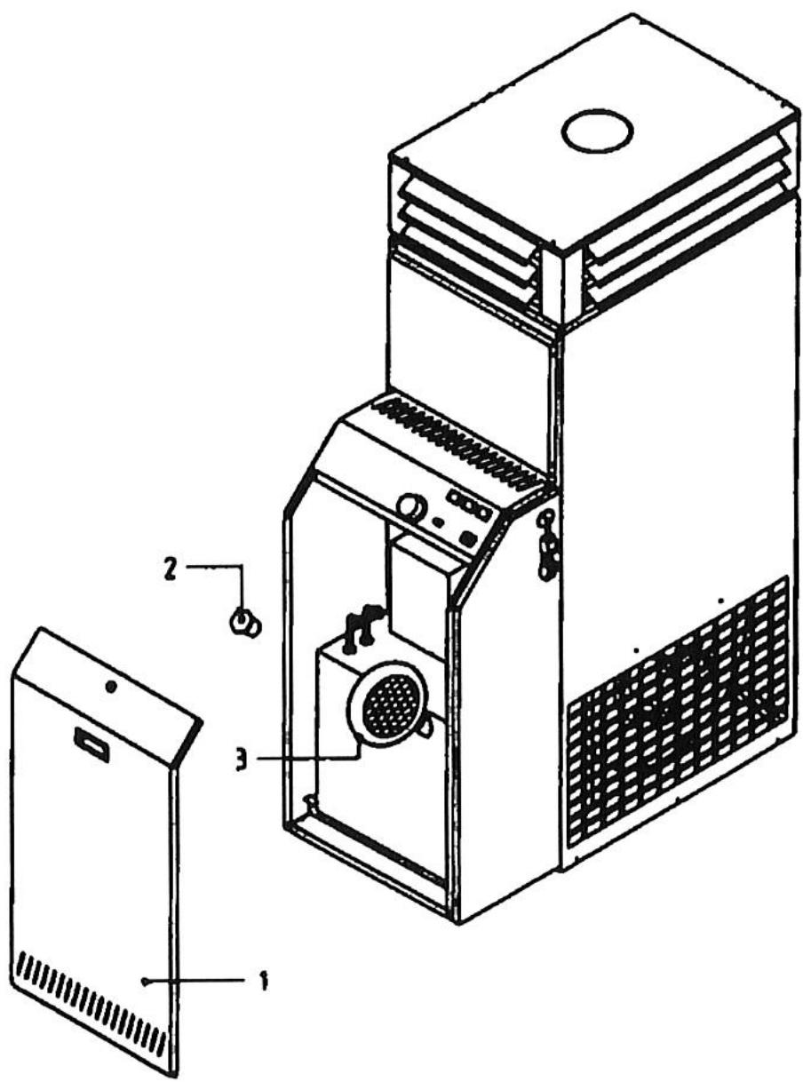
Enlever le panneau postérieur 1, - Enlever les vis qui fixent les portes d'inspection au collecteur 2. Extraire le diaphragme, - Nettoyer les tubes de fumée en utilisant un écouvillon en acier et le collecteur en enlevant avec précaution les dépôts de suie. - Remplacer, si nécessaire, le joint de la porte d'inspection pour en assurer une parfaite tenue, - Remonter tous les composants dans le sens inverse, en faisant particulièrement attention à ne pas oublier l'insertion du diaphragme, Pour nettoyer la chambre de combustion, enlever le brûleur de la bride d'attachment en la posant sur un endroit plat et, au travers du trou d'entrée, extraire les impuretés ou les résidus avec un aspirateur ou manuellement.

Nettoyage de l'echangesur COMPAC c 110 F2
Le nettoyage de l'échangeur doit être effectué de la façon suivante :
Enlever le panneau supérieur. 1. Enlever les vis qui fixent les portes d'inspection au collecteur. Extraire les éléments des tubes de fumée. Pour nettoyer la chambre de combustion, enlever le bruleur de la bride en la posant sur un endroit plat et, au travers du trou d'entrée, extraire les impuretés ou les résidus avec un aspirateur ou manuellement. Pour le remontage, vérifier que les joints sont en bon état, les replacer si nécessaire.

Nettoyage du bruleur a FIOUL
Le nettoyage du brûleur devra être effectué selon les indications données dans la notice du brûleur.
À l'occasion du nettoyage de l'échangeur, contrôlez et éventuellement nettoyez le ventilateur.
Il est possible d'accéder à l'ouverture sous l'échangeur de chaleur en démontant le même panneau afin de récupérer d'éventuels objets tombés dedans.
Positionnement prise de prelevement de la FUMEE
La position correcte du prélèvement pour l'analyse des produits de la combustion est indiquée dans la figure ci-dessous :

TABLEAU DES ANOMALIES
| PANNE | CAUSE POSSIBLE | SOLUTION |
| Le brûleur ne se déclenché pas | Pas d'alimentation électrique | Vérifier la position de l'interrupteur général |
| Vérifier la ligne | ||
| Vérifier les connexions | ||
| Position erronée de l'interrupteur | Vérifier et le positionner sur "Chauffage" | |
| Le brûleur ne se déclenché pas. Levoyant jaune est allumé et signale l'intervention du thermostat LIMIT. Surchauffe de l'air du à : | Une pression excessive du fioul | Se référer aux données techniques |
| Un ventilateur d'air ne fonctionnant pas | Vérifier la connexion et réparer s'il est en panne | |
| Une obstruction accidentelle des grilles d'aspiration | Enlever obstruction | |
| Un thermostat LIMIT en panne | Remplacer le thermostat | |
| Un thermostat FAN en panne | Remplacer le thermostat | |
| Des ailettes de soufflage fermées ou trop abaisées | Ouvrir les ailettes | |
| Le brûleur ne se déclenché pas. Levoyant rouge est allumé et signale l'arrêt du brûleur, pas de réarmement possible. | La tension de l'alimentation est supérieure à V 230 + 10% | La tension ne doit jamais dépasser les 250 V |
| La boîte de contrôle est en panne | Remplacer la boîte de contrôle | |
| Le brûleur ne démarre pas. Levoyant rouge est allumé et signale l'arrêt du brûleur. | La cellule photoélectrique est sale | Nettoyer la cellule photoélectrique |
| La boîte de contrôle est en panne | Remplacer la boîte de contrôle | |
| L'appareil fume | Régler l'entrée d'air du brûleur | |
| La pompé est en panne | Remplacer la pompé | |
| L'accoupling moteur-pompe est cassé | Remplacer l'accoupling | |
| Panne de fioul | Remplir le réservoir | |
| Le brûleur s'était durant le fonctionnement normal même quand la tempête ambiente est inférieure à celle imposée sur le thermostat. | Le thermostat est en panne | Remplacer le thermostat |
| Le générateur fonctionne en continu sans atteindre la tempête demandée. | La puissance thermique du générateur est insuffisante pour le local à chauffier | Remplacer par un apparil de puissance adéquate |
| La consommation du fioul est inférieure à celle normale | Voir réglage pression pompe | |
| L'échangeur est sale | Nettoyer l'échangeur de chaleur | |
| Le générateur générale de la condensation et se salit | Consommation insuffisante de fioul | Voir réglage pression fioul |
| Le ventilateur ne tourne pas | Le moteur et/ou le condensateur sont en panne | Réparer ou remplaner |
| Le thermostat FAN est en panne | Remplaner le thermostat |
Notice Facile