GSVBETA.1 - Lave-vaisselle THERMA - Notice d'utilisation et mode d'emploi gratuit
Retrouvez gratuitement la notice de l'appareil GSVBETA.1 THERMA au format PDF.
| Type d'appareil | Lave-vaisselle encastrable |
| Capacité | 12 à 14 couverts |
| Nombre de programmes | 5 programmes standards |
| Consommation d'eau | 10 à 15 litres par cycle |
| Consommation énergétique | Classe énergétique A++ |
| Niveau sonore | 45 à 50 dB |
| Type de séchage | Condensation |
| Type de commande | Manuelle avec boutons |
| Affichage | Non précisé |
| Dimensions (HxLxP) | 82 x 60 x 55 cm |
| Poids | Non précisé |
| Type de panier | Panier supérieur réglable |
| Système de sécurité | Protection anti-fuite |
| Type d'installation | Encastrable sous plan |
| Alimentation électrique | 230 V, 50 Hz |
| Matériau intérieur | Acier inoxydable |
FOIRE AUX QUESTIONS - GSVBETA.1 THERMA
Questions des utilisateurs sur GSVBETA.1 THERMA
0 question sur cet appareil. Repondez a celles que vous connaissez ou posez la votre.
Poser une nouvelle question sur cet appareil
Téléchargez la notice de votre Lave-vaisselle au format PDF gratuitement ! Retrouvez votre notice GSVBETA.1 - THERMA et reprennez votre appareil électronique en main. Sur cette page sont publiés tous les documents nécessaires à l'utilisation de votre appareil GSVBETA.1 de la marque THERMA.
MODE D'EMPLOI GSVBETA.1 THERMA
Veuillez lire attentivement ce mode d'emploi. Observez avant tout le chapitre "Règles de sécurité".
Conservez ce mode d'emploi afin de pouvoir le consulter ultérieurement, et remettez-le à l'éventuel propriétaire ultérieur de l'appareil.

Ils doivent impérativement être respectés. Ce triangle d'avertissement et/ou les termes de signalisation "Attention!", "Prudence!" soulignant des indications qui sont importantes pour votre sécurité ou pour la capacité de fonctionnement de l'appareil.
- Ce symbole vous guide pas à pas dans la manipulation de cet appareil.
- ...
- ...

Ce symbole précède des informations complémentaires concernant la manipulation et l'utilisation pratique de cet appareil.

Ce symbole signale des conseils et des indications relatifs à l'utilisation économique et écologique de l'appareil.
Ce mode d'emploi contient des indications permettant d'éliminer soi-même des pannes qui pourraient éventuellement survenir. Voir chapitre "Aide en cas de panne".
Si ces indications ne devaient pas suffire, vous avez deux points de consultation chez lesquels on poursuivra vous aider:
- Le point de service après-vente à proximité de chez vous (voir chapitre "Service après-vente") ou

Vous y recevez une réponse à chaque question concernant l'équipement ou l'utilisation de votre appareil. Bien entendu, vos désirs, suggestions ou critiques sont également bienvenus. Notre objectif est de poursuivre l'amélioration de nos produits et prestations de services au profit de notre clientèle.
- En cas de problèmes techniques, notre service après-vente se tient à tout moment à votre disposition (vous trouvez les adresses et numéros au chapitre "Service après-vente").
Veuillez également prendre en considération le chapitre «Service après-vente».
Après vous avez pris connaissance du mode d'emploi, nous vous prions de renvoyer la carte de garantie remplie au service après-vente à Mägenwil.
Table des matières
Règles de sécurité 4
Description de l'appareil 6
Recommandations importantes 7
Avant la première utilisation 9
Remplissage du produit de rinçage 9 Régler le dosage du produit de rinçage 9 Remplissage du sel de régénération 9 Réglage du dosage du sel de régénération 10 Le premier cycle de lavage 10
Corbeilles à vaisselle 11
Compartiment à couverts 11 Corbeille à vaisselle inférieure 12 Corbeille à vaisselle supérieure 14
Verser le produit pour la vaisselle 16
Sélection et démarrage du programme 16
Mise en marche différée 17 Sélection de programme / Corriger ou annuler le démarrage en différé 17 Pour économiser 17 Fin du programme 18 Signal acoustique 18 Panne du réseau électrique 18 Tableau des programmes 19 Signalisation d'erreur 20
Déchéancement de la corbeille à vaisselle 20
Nettoyage et entretien 21
Ajouter du sel régénérant 21 Ajouter du produit de rinçage 21 Nettoyage du tamis grossier 21 Nettoyage du microfiltre 22 Nettoyage des buses des bras de rinçage 23
Aide en cas de panne 24
Service 25
Avant de vous adresser au service après-vente 25 Vous voulez solliciter le service après-vente 25
Pièces de rechange 26
Prescriptions 27
Indications pour tests comparatifs 28
Service après-vente 29
Point de vente de rechange 29 Garantie 29
ThermaPhon 31
Règles de sécurité
La sécurité de cet appareil est conforme à la réglementation reconnue en matière de technique ainsi qu'aux prescriptions de sécurité applicables. Néanmoins, nous estimons devoir vous familiariser avec les consignes de sécurité suivantes.
Installation
- Les raccordements électrique et hydraulique doivent être effectués par un installeur concessionnaire.
- Veuillez rendre l’installateur attentif à l’importance des directives d’installation. En cas de déplacement ultérieur de l’appareil, les directives exactes de montage et d’installation pourront être commandées par téléphone auprès de notre service après-vente.
- Avant la mise en service, assurez-vous que la tension nominale et le type de courant figurant sur la plaquette signalétique de l'appareil correspondent à la tension nominale et au type de courant du lieu d'installation. L'ampérage des fusibles nécessaires figure dans les directives d'installation.
N'utilisez votre lave-vaisselle que pour l'utilisation à laquelle il est destiné
- N'utilisez votre lave-vaisselle que pour y laver de la vaisselle domestique. Si l'appareil est mal utilisé ou s'il est utilisé pour un autre usage que celui pour lequel il a été créé, le fabricant ne saurait être tenu responsable des dommages éventuels.
- L'observation de ce mode d'emploi, ainsi que des instructions d'installation, est la condition préalable à notre engagement de garantie.
- Pour des raisons de sécurité, vous ne devez appporter aucune modification ou transformation, de quelque nature que ce soit, à votre lave-vaiselle.
Avant la première utilisation
- Vérifier que votre lave-vaisselle n'a pas été endommagé pendant le transport. Ne raccordez jamais un appareil endommagé. Si votre lave-vaisselle est endommagé, contactez votre fournisseur.
- Le lave-vaisselle doit être installé et raccordé dans les règles de l'art. Pour prendre connaissance de tous les points à observer, veuillez consulter les directives d'installation.
Sécurité enfants
- Les emballages peuvent être dangereux pour les enfants (sachets, mousse de polyuréthane, p. ex.). Ils peuvent s'étouffer! Veillez donc à ne pas laisser d'emballages à portée des enfants.
- Les enfants ne sont pas nécessairement conscients des dangers liés à la mauvaise utilisation des appareils électriques. Exercez la surveillance appropriée pendant que l'appareil est en fonctionnement et ne laissez pas vos enfants jouer avec le lave-vaisselle.
- Les détergents peuvent avoir un effet caustique sur les yeux, la bouche, la gorge et ils peuvent même provoquer un étouffement! Conservez tous les détergents en lieu sûr, hors de portée des enfants.
- L'eau se trouvant dans votre lave-vaisselle n'est pas potable. Elle peut contenir des résidus de détergent. Veillez à ne pas vous éclabousser avec ces résidus caustiques, il y a danger de brûlure par acide! Tenez les enfants à l'écart lorsque la porte du lave-vaisselle est ouverte.
Votre lave-vaisselle au quotidien
- Ne faites jamais fonctionner votre lave-vaisselle, si le cordon d'alimentation électrique, le tuyau d'alimentation ou d'évacuation, le tableau de commande ou la plinthe sont endommagés.
- En cas de panne, mettez l'appareil hors tension, retirez la fiche de courant de la prise, coupez le(s) disjoncteur(s) ou retirez le(s) fusible(s) du local. Fermez le robinet d'eau.
- Ne jetez jamais la fiche de la prise en tirant sur le cordon ; saisissez-la par la fiche.
- Disposez les objets longs et pointus (comme les couteaux) avec la poignée vers l'avant dans le panier à vaisselle supérieur.
- Après chaque ouverture de la porte, veuillez vous assurer que celle-ci soit à nouveau correctement fermée, car une porte ouverte peut devenir une source de danger.
- Ne vous appuyez pas ou ne vous asseyez pas sur la porte ouverte.
- Les réparations seront confiées exclusivement à un atelier de service après-vente/agréé par nos soins. De plus, seules des pièces de rechange d'origine devront être utilisées.
- Ne versez jamais le moindre solvant dans votre lave-vaisselle, vous risquez de provoquer une explosion!
- Avant d'employer un sel, un détergent et un produit de rinçage spécial pour lave-vaisselle, vérifie bien que le fabricant de ces produits prévoit expressément leur utilisation dans un lave-vaisselle domestique.
Risque lié au gel
- Si l'appareil raccordé est exposé à des températures inférieures au point de congélation, celui-ci devra alors être vidangé d'une manière appropriée par le service après-vente.
- Lors d'une livraison à partir de l'usine, il n'y a pas de risque de congélation!



Recommandations importantes
Veuillez conserver ce mode d'emploi soigneusement avec l'appareil, afin de pouvoir vous y référer au besoin.
Si cet appareil avait été vendu ou laissé à des tiers en cas de déménagement, veuillez vous assurer que ce mode d'emploi soit remis avec le lave-vaisselle, afin que le nouveau propriétaire puisse s'informer sur le fonctionnement et les prescriptions de l'appareil.
Les articles suivants ne sont conformes au lavage dans le lave-vaisselle que lorsqu'ils portent explicitement la mention « approprié au lavage en lave-vaisselle » :
- Couverts avec manche en bois ou en corne, avec des parties collées ; couverts en bronze ; poêle avec manche en bois ; articles en aluminium, cuivre, cristal, verre au plomb, plastique. En cas de doute, veuillez vous renseigner auprès du distributeur ou du fabricant de l'article respectif.
- Les couverts en argent et en acier inoxydable doivent être déposés séparément dans le compartiment à couverts. Si les deux matériaux viennent en contact, une réaction chimique peut provoquer une décoloration de l'argent.
- La porte de l'appareil ne devrait pas être ouverte durant le fonctionnement. Un dispositif de sécurité déclenche le lave-vaiselle si la porte avait été ouverte par inadvertance.
Installation
- Nous recommandons le montage d'un filtre à eau directement sur le robinet d'arrêt, dans les régions possédant une dureté élevée de l'eau, ainsi que dans les zones d'habitation nouvellement bâties. Le filtre à eau maintient votre machine et se laisse nettoyer facilement. Veuillez demander la pose d'un tel filtre à votre installateur.
Durant l'utilisation quotidienne
Entretenez et nettoyez la machine régulièrement. Vous éviterez ainsi de coûteuses interventions du service après-vente. Veuillez également prendre le chapitre "Nettoyage" en considération.
- N'utilisez pas de produits pour laver la vaisselle à la main, respons. de produits de lavage industriels, ou encore des nettoyants.
- Si le lave-vaisselle doit rester sans surveillance durant une période prolongée, par ex. durant les vacances, fermez le robinet d'eau. Assurez-vous que l'interrupteur principal est déclenché.
Évitez les gaspillages et protégez l'environnement
- Rassemblez votre vaisselle sale, rangez-la dans le lave-vaisselle et ne la lavez que lorsque les deux paniers sont pleins, en veillant à ne jamais les surcharger.
- Sélectionnez toujours le programme correspondant au type de vaisselle et au degré de salissure (Voyez le chapitre "Tableau des programmes").
- N'utilisez pas trop de détergent et de produit de finissage. Respectez les doses recommandées dans le présent-manuel et par les fabricants des produits.
- Rassurez-vous que le dispositif de déminéralisation soit réglé correctement.
Vaisselle inadaptée pour un lavage en machine
Les articles suivants ne conviennent pas:
- Planches et plats en bois
- Plastiques ne résistant pas à la chaleur
- Verre en cristal renfermant du plomb
- Ustensiles en étain ou en cuivre Vaisseauelle ou couverts collés
- Anciens couverts assemblés avec des colles sensibles à la chaleur
- Pièces en acier non inoxydable
- Couverts avec des manches en bois, corne, porcelaine et nacre
- Objets d'art
Vaisselle l'ouvrant, sous certaines conditions, être lavée en machine
Les articles suivants demandent certaines précautions:
- Ne lavez les articles en terre cuite que si le fabricant l'autorise explicitement.
- Certains décors peints sur le vernis peuvent s'estomper au fil des lavages.
- Les éléments en argent et en aluminium ont tendance à se décolorer pendant le lavage en machine.
- De nombreux résidus d'aliments (blanc et jaune d'œuf, moutarde, etc.) provoquent souvent des décolorations ou des taches sur l'argenterie. Les couverts et la vaisselle en argent doivent donc tous les jours être débarrassés des restes d'aliments s'ils ne sont pas lavés immédiatement après le repas.
- Certains types de verres peuvent s'opacifier après de nombreux lavages. Il est donc préférable de continuer à laver à la main vos verres précieux.
À l'achat de nouveaux couverts ou de nouvelle vaisselle, vérifie bien qu'ils sont prévus pour le lave-vaisselle.
L'emballage
Le transport de nos lave-vaisselles nécessite un emballage protecteur efficace. À cet effet, nous nous limitons au strict nécessaire.
Tous les matériaux d'emballage utilisés sont recyclables et sans danger pour l'environnement.
Les parties en carton sont fabriquées à partir de nouveaux papiers, les parties en bois sont non traitées. Les matières plastiques sont identifiées comme suit:
«PE» pour polyéthylène. Ex.: feuilles plastiques pour emballage
«PS» pour polystyrène. Ex.: capitonnage (sans CFC)
«POM» pour polyoxyméthylène. Ex.: attaches en plastique.
La récupération et le retraitement de l'emballage permettent d'économiser les matières premières et de réduire le volume des déchets. Remettez votre emballage au centre de recyclage le plus proche. Vous obtiendrez son adresse auprès de la mairie de votre ville.
L'ancien appareil
Si vous souhaitez vous débarrasser de votre appareil un jour, rendez-le totalement inutilisable avant.

Avertissement! Des enfants peuvent s'enfermer en jouant à l'intérieur de l'appareil (risque d'étouffement) ou bien se retrouver dans des situations mettant leur vie en danger. C'est pourquoi vous devrez couper le câble d'alimentation et le mettre de côté. Détruisez le système de verrouillage de la porte afin que celle-ci ne ferme plus.
Identification des parties plastiques pour un recyclage par catégorie:
Toutes les parties en plastique de l'appareil sont désignées par une abréviation normalisée au niveau international (ex. : « PS » pour polystyrène). Cela permet par conséquent de trier les déchets plastiques par catégorie afin d'effectuer un recyclage sans danger pour l'environnement.
Apportez votre appareil hors service au centre de recyclage le plus proche ou bien votre revendeur spécialisé qui vous le reprendra contre une petite participation aux frais.
Avant la première utilisation
Veuillez effectuer les étapes décrites ci-après avant d'utiliser le lave-vaisse pour la première fois.
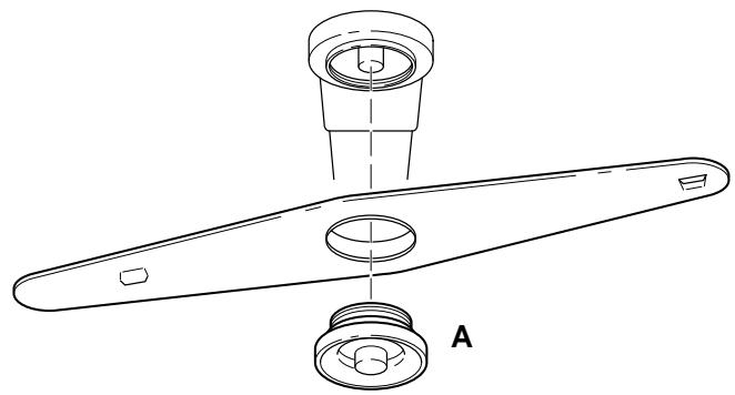
Remplissage du produit de rinçage
- Lorsque l'indicateur de produit de rinçage s'allume, ouvre le réservoir en appuyant sur la touche de fermeture (A).
- Remplir jusqu'au repère «max.» (B) avec le produit de rinçage. Ne pas remplir le récipient au-delà du repère!
- Refermer le récipient, jusqu'à ce qu'il s'enclenche perceptiblement
- Eliminer de suite les gouttes de produit de rinçage éventuelles tombées en dehors du récipient et pouvant sinon provoquer la formation de mousse.
La lampe-témoin du produit de rinçage s'éteint.
Régler le dosage du produit de rinçage
- Ouvrir le récipient de réserve en dévissant le bouchon vers la gauche (A).
- Tourner la flèche de dosage (C) vers la gauche à l’aide d’une pièce de monnaie ou d’
- Fermer le récipient de réserve.
Pour cela, prenez en considération également le chapitre "Aide en cas de panne".
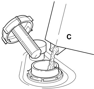
Remplissage du sel dérégénération

Ne jamais remplir le récipient pour sel de régénération avec un produit de rinçage ou de nettoyage!
N'utiliser que du sel régénérant pour le lave-vaisselle. Remplir le sel de la manière suivante:
- Ouvrir le bouchon (A) du récipient à Sel.
- Remplir le récipient avec de l'eau (B).
- Ajouter 1 kg de sel (C) de régénération. Env. 1 L d'eau sera alors absorbé.
- Éliminer le sel de la surface du joint d'étanchéité.
- Verrouiller le sél en tournant le bouchon jusqu'en butée.
- Immédiatement lancer un cycle de lavage afin d'éliminer les éventuels restes de sel.
La lampe-témoin de sel ne s'éteint qu'après 1 à 2 cycles de lavage.




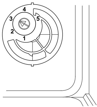
Réglage du dosage d'usel de régénération
Le dosage du sel de régénération pour la déminéralisation de l'eau doit être ajusté en fonction du degré de dureté de l'eau utilisée. En cas de dosage trop faible, des taches calcaires peuvent se déposer sur la vaisselle et les couverts. Le bureau local des forces motrices de votre domicile pourrait vous renseigner quant au degré de dureté de l'eau.
Si vous avez un appareil pour la déminéralisation de l'eau dans votre appartement, il n'est pas nécessaire de mettre du sel de régénération dans le lave-vaisse. Dans ce cas la lampe-témoin de sel est allumée en permanence.
Procédure de réglage du dosage:
À l'aide d'une pièce de monnaie ou d'un tournevis (Nr.4), tourner le bouton de réglage pour déminéralisation de l'eau jusqu'à ce que la flèche sur le bouton indique le niveau désiré de 1 à 5 :

La flèche doit se trouver face à un chiffre et la position doit encocher de manière perceptible.
- Consommation de sel : En fonction du réglage, 1 kg de sel de régénération est suffisant.
Jusqu'à 12,5 degrés de durée française (fH) (ce qui correspond à 7 degrés de durée allemande (dH))
Niveau 2:
Pour des degrés de dureté française compris entre 12,5 et 25 (fH) (ce qui correspond à des degrés de dureté allemande compris entre 7 et 14 (dH))
Niveau 3:
Pour des degrés de dureté française compris entre 25 et 37,5 (fH) (ce qui correspond à des degrés de dureté allemande compris entre 14 et 21 (dH))
Niveau 4:
Pour des degrés de dureté française compris entre 37,5 et 50 (fH) (ce qui correspond à des degrés de dureté allemande compris entre 21 et 28 (dH))
Niveau 5:
Pour des degrés de durété française supérieurs à 50 (fH) (ce qui correspond à des degrés de durété allemandesupérieurs à28 (dH))
Le premier cycle de lavage
- Veuillez laver la première fois avec le programme intensif.

Corbeilles à vaisselle
- Compartiment à couverts avec élément supérieur Corbeille à vaisselle inférieure Corbeille à vaisselle supérieure

Les illustrations vous orientent sur la disposition optimale du chargement de votre lave-vaisselle.

Eliminez les restes de nourriture importants avant de disposer la vaisselle dans la corbeille, sans toutefois rincer à chaud, ni employer de produit de lavage à main.
Compartiment à couverts
Déposez les couverts dans la corbeille avec les manches vers le bas.

À l'exception de ceux possédant un manche très fin, et pouvant bloquer le mouvement du bras de rinçage en traversant la corbeille.

Des couverts et des récipients hauts dans la zone de la poignée de la corbeille à vaisselle ne doivent pas empêcher le couvercle du récipient pour le produit de lavage d'être ouvert!
Important:
Les couverts longs doivent être déposés dans la corbeille à vaisselle supérieure. Disposez les objets longs et pointus (comme les couteaux) avec la poignée vers l'avant dans le panier à vaisselle supérieur.
Élément supérieur du compartiment à couverts
Grâce à l'élément supérieur du compartiment à couverts, les couverts ne se touchent plus par leurs surfaces. Toutes les pièces sont accessibles au jet d'eau. Les couverts sont ainsi moins lavés et séchés.
Enlevez l'élément supérieur du compartiment à couverts
- Enlevez légèrement les cliquets de verrouillage (A).
- Sortez le compartiment à couverts en le tirant vers le haut (B).
sans élément supérieur du compartiment à couverts


avec élément supérieur du compartiment à couverts


Corbeille à vaisselle inférieure
Les pièces plus grandes et très sales sont nettoyées minutieusement dans la corbeille inférieure.
- Tirer complètement la corbeille.
- Placer dans cette corbeille les pièces volumineuses et lourdes (assiettes, plats, marmites...).

Ne modifie pas la position inclinée de la poignée du panier, sous peine de risquer des problèmes lors de l'ouverture du récipient à produit de lavage.
Ratelier amovible pour assiettes, à droite, 10 positions
Pour une utilisation rationnelle de la place dans la corbeille, le ratelier pour assiettes peut être placé dans deux positions différentes. En direction longitudinale ou transversale.
- Dégager le râtelier pour assiettes en tirant la poignée (A) vers le haut.
- Introduire ensuite le râtelier pour assiettes dans le renforcement longitudinal (D), le mettre en position transversale, puis presser la poignée vers le bas (B) jusqu'à ce qu'elle s'engage.
Le râtelier pour assiettes peut être adapté latéralement de manière variable (C), mise en place comme décrite ci-dessus.




Garniture de rail amovible pour assiettes, 5 positions
Pour les assiettes creuses ou les bols, une partie du râtelier gauche peut être retirée.
- Dégager le râtelier pour assiettes en tirant la poignée (A) vers le haut.
La garniture de râtelier pour assiettes peut aussi être montée à droite, à la place du râtelier à 10 positions pour assiettes (B).
Ratelier pour assiettes rabattable à gauche
Pour les grands bois et les cassetoles, les rateliers peuvent être rabattus.
- Retirer la garniture du ratelier à 5 positions pour assiettes et la corbeille à couverts.
- Soulever légèrement le râtelier pour assiettes, et rabattre vers la droite sur le fond de la corbeille.
Le râtelier à assiettes placé transversalement à l'avant droite est optimal pour les petites assiettes plates d'un diamètre de 170-210 mm.

Ne pas placer des récipients creux en avant à droite dans la corbeille à vaisselle inférieure, le récipient pour le produit de lavage ne doit pas être empêché de s'ouvrir.




Corbeille à vaisselle supérieure
Les petites pièces de vaisselle fragiles sont nettoyées avec ménagement dans la corbeille à vaisse lsupérieure.
- Tirer la corbeille à vaisselle supérieure jusqu'à la butée.
- Ranger les petites et légères pièces de vaisselle fragiles comme souscoupes, tasses, verres ainsi que les pièces en plastique résistantes aux écarts thermiques dans la corbeille à vaisselle supérieure.
Étagère à tasses réglable
Pour les verres à pied, accrocher l'appuie-verres sur la position droite (fig. A) puis relever.
Pour les verres cylindriques hauts, accrocher l'appuie-verres sur la position gauche (fig. B) puis relever.
Les verres peuvent également être placés sur les tiges redressées (fig. C)
Pour décharger ou en cas de non-utilisation, rabattre l'appuie-verres sur la droite.




Supports de tasses réglables
Disposer de manière décalée les éléments réglés, au-dessus et au-dessous des supports de tasses rabattables, afin que le jet de giclage puisse atteindre toutes les pièces.
Les verres à pied peuvent être accrochés dans les évidements du support de tasses.

Le support de tasses avant peut être positionné sur 2 niveaux différents.


La corbeille à vaisselle supérieure est ajustable en hauteur sur la droite
Ajuster la corbeille supérieure à la hauteur désirée, en fonction de votre vaisselle:

Egalement possible lorsque la corbeille est chargée.
- retirer la corbeille
- soulever à droite
- tirer vers l'avant jusqu'à la butée, puis engager dans la position supérieure.
Descendre:
- retirer la corbeille
- soulever à droite, puis descendre en position basse

Avant de rincer, contrôlez si les bras gicleurs tournent librement.


Charge optimale corbeille supérieure: position haute
Charge optimale corbeille supérieure: position basse
Ranger les grandes assiettes en position oblique. Corbeille à vaisselle inférieure
Corbeille inférieure : Devant à droite, ne placer que des assiettes plates jusqu'à un diamètre de 210 mm au maximum.
Verser le produit pour la vaisselle

N'utilisez jamais des produits pour laver la vaisselle à la main ou des nettoyants industriels.

N'utilisez que des produits pour la vaisselle en usage dans le commerce qui sont bons pour des lave-vaisselles domestiques.
Normalement le récipient pour le produit de lavage est ouvert.
S'il est fermé :
- Ouvrir le récipient pour le produit de lavage en appuyant sur la touche de fermeture (A).
- Remplir le récipient sec avec du produit pour la vaisselle selon les indications du producteur du produit de lavage (B).
Ne placer les pastilles dans le récipient pour le produit de lavage ou le panier à couverts que selon les indications du producteur.
- Pour les programmes avec prélavage chaud, on peut verser en plus du produit vaisselle dans le deuxième creux (C).
- Fermer l'écrinpt pour le produit de lavage en appuyant.

Sélection et démarrage du programme
- Rentrez totalement les corbeilles à vaisselle.
- Presser sur l'interrupteur principal.
- Sélectionnez le programme désiré, à l'aide de la touche de sélection de programme. Voir les tableaux de programme à la page 19. Le programme sélectionné s'allume dans la fenêtre d'affichage, et la lampe témoin clignote.
- Relever la porte et presser.

Le mécanisme de fermeture de la porte doit s'enrrouiller pour que la machine puisse démarrer.
Le processus de lavage démarre au bout d'environ 3 secondes.
N'ouvrez plus la porte après le démarrage du programme! Pour éviter des brûlures et des dégâts aux meubles pour cause de vapeurs s'échappant de l'appareil.

Mise en marche différée
Démarrage en différé de 1 à 9 heures.
La programmation d'un démar rage en différé du programme de lavage préalablement sélectionné peut s'effectuer à l'aide de la touche de temporisation, qui permet de choisir une durée de 1 à 9 heures par pas de 1 heure.
- La temporisation en heures se programme en pressant plusieurs fois la touche (①). Elle s'affiche alors dans la fenêtre d'affichage. La lampe témoin clignote jusqu'à la fermeture de la porte.
La porte peut être ouverte jusqu'au début du lavage, sans provoquer la perte des programmes.
La machine démarre automatiquement le programme de lavage présélectionné après l'expiration de la durée de temporisation.
Sélection de programme / Corriger ou annuler le démarrage en différé
- Ouvrez la porte.
Le temps restant encore jusqu'au démarrage du programme de lavage s'affiche dans la fenêtre d'affichage.
- Pressez la touche d'arrêt pendant au moins trois secondes.
Le programme de démarrage différé s'annule.
En pressant une nouvelle fois la touche d'arrêt, on annule également le programme de lavage.
- Sélectionner de nouveau le programme, et le démarrer, ou programmer de nouveau le démarrage en différé.
Pour économiser
La touche Oeko e+ permet de diminuer la température de lavage et, ainsi, de consommer moins d'énergie pour le chauffage.



Fin du programme
La fin du programme de lavage est signalée par un signal acoustique multiple.
Comme indication supplémentaire que le processus de lavage est terminé, vous avez un tiret transversal, qui clignote dans l'afficheur de programme.
Signal acoustique
Le signal acoustique peut être neutralisé.
- Pressez simultanément les touches (e + ) et (4) jusqu'à ce que le signal acoustique ne soit plus audible.
- Le signal acoustique s'enclenche de nouveau, en pressant une nouvelle fois sur les touches (e + ) et (4).
Panne du réseau électrique
En cas de panne secteur ou de déclenchement involontaire de l'interrupteur principal, toutes les valeurs régées sont conservées.


| Tableau des programmes | Préavage | Nettoyage | Rinçage | Rinçage final | Sèchage | Durée (Min.) |
| Prélavage | 6 | |||||
| 1 Rinçage froide | ||||||
| Intensif | ||||||
| 2 Vaisselle très fortement souillée | 45°C | 65°C | 70°C | 67 | ||
| 2 + e Vaisselle fortement à très fortement souillée | 40°C | 60°C | 65°C | 61 | ||
| Normal | ||||||
| 3 Vaisselle fortement souillée | 60°C | 70°C | 60 | |||
| Programme quotidien recommendé | 50°C | 65°C | 53 | |||
| 3 + e Vaisselle normalement souillée | ||||||
| BIO avec prélavage | ||||||
| 4 Vaisselle normalement souillée | 40°C | 45°C | 70°C | 60 | ||
| 4 + e Vaisselle normalement souillée | 35°C | 40°C | 65°C | 52 | ||
| ECO avec prélavage | ||||||
| 5 Vaisselle délicate normalement souillée | 50°C | 70°C | 53 | |||
| 5 + e Vaisselle délicate normalement souillée | 40°C | 65°C | 50 | |||
| BIO sans prélavage | ||||||
| 6 Vaisselle légèrement souillée | 45°C | 70°C | 53 | |||
| 6 + e Vaisselle légèrement souillée | 40°C | 65°C | 50 | |||
| ECO sans prélavage | ||||||
| 7 Vaisselle très légèrement souillée | 50°C | 70°C | 47 | |||
| 7 + e Vaisselle très légèrement souillée | 40°C | 65°C | 43 | |||
| Verres à boire | ||||||
| 8 | 45°C | 65°C | 43 | |||
| 8 + e | 40°C | 60°C | 41 | |||
| Bref | ||||||
| 9 | 45°C | 65°C | 32 | |||
| 9 + e | 40°C | 60°C | 28 |

Les données de programmation diffèrent en fonction du mode de raccordement, des variations de tension du réseau électrique, de la température d'entrée de l'eau, de la pression de l'eau et de la charge.
Pour les lavages de test selon la norme de vérification EN 50 242 (voir sur page 28) un encrassement extrêmement tenace est utilisé qui se produit rarement pendant l'usage quotidien.
Nous proposons donc de désigner un programme qui est adapté à l'encrassement selon ce tableau. Des résidus desséchés nécessitent le plus souvent un programme plus fort.
Signalisation d'erreur
L'électronique du lave-vaisselle peut elle-même identifier les erreurs et les afficher. Si une erreur survient, un code d'erreur clignote dans l'afficheur.
Veuillez noter ce code d'erreur avant de contacter le service après-vente.
La signalisation d'erreur s'annule dès que l'interrupteur principal a été déclenché.

Code d'erreur et cause possible
A = Robinet d'eau fermé ou tamis d'alimentation bouché C = Tuyau d'évacuation, filtre grossier, filtre fin ou siphon obstrué E = Pression d'eau trop faible, robinet d'eau n'est pas tout à fait ouvert, conduite d'alimentation ou filtre d'alimentation bouché, machine perd de l'eau. H = Demander l'intervention du service après-venture L = Demander l'intervention du service après-vente P = Demander l'intervention du service après-venture U = Demander l'intervention du service après-venture
Après déroulement du programme de rinceage:
- Décharger la corbeille inférieure en premier.
- Décharger ensuite la corbeille supérieure, afin qu'aucune goutte d'eau ne puisse tomber sur la vaisselle de la corbeille inférieure.

Contrôler le tamis grossier après chaque cycle de nettoyage, et le nettoyer au besoin.

Ajouter du sel régissant

Ne jamais remplir le récipient à sel de régénération avec un produit de rinçage ou de nettoyage!
Le récipient à sel de régénération pour la déminéralisation de l'eau devra être rempli lorsque la lampe-témoin s'illumine.
Procéder comme indiqué du chapitre “Avant la première utilisation” à la page 9, sans cependant devoir ajouter de l'eau.

Après le remplissage, immédiatement enclencher le programme « prélavage », afin de rincer les évventuels dépôts de sel.
Ajouter du produit de rencrage
Lorsque le témoin du produit de rinçage s'allume, il faut rajouter du produit de rinçage.
Procédure comme décrite sur le chapitre "Avant la première utilisation" à la page 9.

Éliminer de suite les gouttes de produit de rinçage eventuelles tombées en dehors du récipient et pouvant sinon provoquer la formation de mousse.
Nettoyage du tamis grossier
Contrôler le tamis grossier après chaque cycle de nettoyage, et le nettoyer au besoin.
- Simplement tirer le tamis grossier vers le haut,
- Le nettoyer sous l'eau courante, et le remettre en place.



Nettoyage du microfiltre
Le microfiltre doit être nettoyé de temps en temps:
- Déverrouiller le filtre en tournant le levier vers la droite.
- Retirer le microfiltre et le nettoyer sous l'eau courante à l'aide d'une brosse.
- Replacer le microfiltre dans son socle.
- Le verrouiller en tournant le levier vers la gauche jusqu'à ce qu'il s'enclenche perceptiblement (flèches).

Ne pas pousser la manette vers le haut. Si le tamis ne s'enclenche pas, les buses des bras de rinçage risquent d'être bouchées.

Nettoyage des buses des bras de rinçage
Contrôler régulièrement si les buses des trois bras de rinçage ne sont pas obstruées par des restes d'aliments. Si nécessaire, nettoyer les buses sous l'eau courante à l'aide d'un fil de fer ou d'une aiguille.

Tout en veillant à ne pas endommager l'orifice.
Bras de rinçage supérieur
Retirer le bras de rinçage supérieur:
- Dévisser la vis de fixation (A) en la tournant vers la gauche.
- Retirer le bras de rincage de l'axe de rotation.
- Nettoyez régulièrement le bras de rincege et les vis de fixation.
- Dévisser le bras de rinçage et le bloquer en tournant la vis (A) vers la droite.
Bras de rinceage médian
- Retirer le bras giclaur median en lui imprimant un mouvement de rotation latéral. Le bras de rinçage en deux parties est maintenu par un ressort de serrage (B).
- Pour le montage, presser le bras giclaur latéral vers le haut, jusqu'à ce qu'il s'engage de manière perceptible.
Bras de rinçage inférieur
Retirer le bras de rinceage inférieur :
- Dévisser l'écrou de fixation (C) en le tournant vers la gauche.
- Retirer le bras de rincage de l'axe de rotation.
- Nettoyer les buses.
- Remonter le bras de rinçage et le bloquer en tournant l'écrou de fixation (C) vers la droite.

En secouant le bras de rinceage entièrement séché, les résidus tenaces peuvent être sortis.




Aide en cas de panne
Avant de faire appel au service après-vente, vérifiez d'abord si vous ne pouvez pas remédier vous-même au problème en suivant les instructions ci-dessous. Si elles ne suffisent pas, n'hésitez pas à contacter le service après-vente.
La pompe d'évacuation tourne en permanence, même si la machine est éteinte.
Le dispositif de protection contre les inondations s'est enclenché. Fermez le robinet d'alimentation en eau. Retirez ensuite la fiche d'alimentation. Dans le cas d'un raccordement fixe, coupez le(s) disjoncteur(s) ou ôtez le(s) fusible(s). Appelez le service après-vente pour identifier la panne.
Le programme ne démarre pas.
Le dernier programme est-il terminé ? Est-ce que le symbole pour la fin du programme est allumé ? - Les fusibles du tableau électrique sont-ils en bon état ? Notre appareil est-il branché ? - La porte est-elle bien fermée ? Si non, fermez-la à fond jusqu'à ce que le mécanisme de fermeture de la porte se verrouille.
L'eau n'arrive pas.
Le robinet d'eau est-il complètement ouvert ? Le robinet d'eau est-il bouché ? Ouvrir et fermer plusieurs fois le robinet d'eau. Le filtre situé dans le raccord du flexible au robinet est-il propre ? Si nécessaire, nettoyez le filtre. - Le flexible d'alimentation est-il plié ? Vérifiez le flexible sur toute sa longueur. - La pression minimale d'écoulement de l'eau est-elle de 1 bar ?
L'indicateur de déroulement de programme reste bloqué au début d'un cycle de lavage avec détergent.
- Avez-vous ouvert le robinet d'eau?
- Le filtre situé dans le raccord du flexible au robinet est-il propre? Si nécessaire, nettoyez le filtre.
L'eau n'est pas évacuée
- Le tuyau d'évacuation subit-il une compression? Vérifier le placement correct du tuyau (voir chapitre «Écoulement de l'eau»).
- Le siphon est-il bouché? Vérifier la non-obstruction du siphon (du local).
La vase n'est pas propre
- Avez-vous sélectionné le programme approprié au type et au degré de salissure de la vaisselle? (Voir le "Tableau des programmes").
- Avez-vous disposé la vaisselle de sorte que les jets d'eau puissent atteindre toutes les faces, intérieures et extérieures, de la vaisselle? Les paniers ne doivent pas être surchargés.
- Les bras n'ont-ils pas été bloqués par de la vaisselle ou des couverts?
- Est-ce que les gicleurs des bras de rinceage sont-ils propres?
- Tous les filtres du fond sont-ils propres? Sont-ils installés correctement?
- Avez-vous mis assez de détergent?
- Le flexible d'évacuation est-il correctement installé?
- Est-ce que le siphon du côté bâtiment est-il obstrué?
- Y a-t-il encore du sel régénérant dans le récipient de réserve du sel? Sans sel, l'eau n'est pas adoucie et des dépôts de calcaire peuvent se former sur la vaisselle et dans la machine.
- Avez-vous réglé l'adoucisseur en fonction de la durée de votre eau de distribution?
La vase n'est pas sèche et n'a rien éclat.
- Y a-t-il encore du produit de rinçage dans le réservoir ? Le dosage du sel régissant est-il correctement réglé ?
Les verres et la vaisselle présent des stries, des bandes, des taches laiteuses ou des auréoles bleuâtres.
- La dose de produit de rinçage est trop importante. Réduisez la dose.
Les verres et la vaisselle sont constellés de taches d'eau sèche.
- La dose de produit de rinçage est trop faible. Augmentez la dose.
- Le dispositif de fermeture du récipient à sel est-il bien fermé?
Taches de rouille à l'intérieur du lave-vaisselle.
- L'intérieur du lave-vaisselle est en acier inoxydable. Si des taches de rouille apparaisent, elles sont d'origine extérieure (rouille dans l'eau, oxydation des casseroles, couverts, etc.). Eliminez ces taches au moyen d'un produit du commerce pour l'entretien de l'acier inoxydable.
- Le programme "Prélavage" a-t-il été lancé immédiatement après avoir fait le plein en sel?
Service
Le service après-vente Thermo met un personnel qualifié à la disposition de ses clients.
Avant de vous adresser au service après-vente
Assurez-vous que vous n'avez fait aucune erreur de manipulation.
Regardez à "Aide en cas de panne".
Vous pouvez solliciter le service après-vente
- Notez les indications suivantes que vous trouvez sur la plaque signalétique de votre appareil:
- Numéro de série
- Désignation de modèle
- N° de produit
- ainsi que des indications d'erreur éventuelles à l'affichage
- Veuillez toujours indiquer ces données si :
- vous demandez l'intervention du service après-vente
- vous commandez des pièces de rechange ou des accessoires
- vous avez des questions d'ordre technique
- Notez minutieusement vos observations, vous simplifiez ainsi l'analyse préliminaire et le travail de nos techniciens.
- Composez le numéro de service 0848 848 999. Notre appel sera automatiquement dévié vers le point de service le plus proche.
- Soyez là lorsque le technicien se présentera à votre domicile, car il a besoin d'informations.


Numéro de pièces de rechange
- Bras de rinçage supérieur 153 0306-00/8
- Palier du bras de rinçage supérieur 153 0142-02/3
- Bras de rincage médian (jeu complet) 153 0272-00/2
3.1 Joint 899646 1238-20/7 3.2 Tubeliaison (n'est pas disponible comme pièce détachée, voir pos.3) 3.3 Palier de bras gicleur, en 2 parties 899 646 1237-86/0 3.4 Ressort de serrage 153 0756-00/4 3.5 Bras de rincage (n'est pas disponible comme pièce détachée, voir pos.3) 4. Écrou et blocage du bras de rinceage 150 2356-00/7 5. Bras de rincage inférieur 153 0859-00/6 6. Corbeille supérieure complète 153 0256-04/7 6.1 Compartment pour tasses 153 0863-01/6 6.2 Soutien pour verres 153 0653-01/1 7. Corbeille inférieure complète 153 0257-03/7 7.1 Corbeille à couverts 153 0699-00/6 7.2 Compartiment à couverts 153 0899-00/2 7.3 Ratelier à assiettes, 10 positions 153 0644-01/0 7.4 Ratelier à assiettes, 5 positions 153 0645-01/7 8. Support de rouleau inférieur complet 153 0216-01/7 9. Joint d'étanchéité de porte 153 0237-02/1 10. Tamis grossier 153 0051-00/0 11. Tamis fin avec microfiltre 153 0217-01/5 12. Couvercle complet, grand 400 60 78-02/8 13. Couvercle complet, petit 400 60 78-06/9 14. Capuchon pour amenée d'eau 153 0166-00/6 15. Couvercle du récipient à sel 805 0135 49-00/3

Le câble de raccordement électrique ne doit être échangé que par un installateur concessionnaire ou par un de nos collaborateurs du service après-vente.



Vente des pièces de rechange:
Stock en pièces de rechange centralisé
5506 Mägenwil
Tel. 0848 848 028
Administration du service après-vente
5506 Mägenwil
062/8899131
Caractéristiques techniques
| Dimensions | Largeur Hauteur Profondeur max. Profondeur max. avec porto ouverte | 54.6 cm 75.9 cm 57.0 cm 114.5 cm |
| Tension de service / Fréquence | 400 V 2N 50 Hz | |
| Tension de service / Fréquence | 230 V 50 Hz | |
| Puisance absorbée | Pompe de circulation | 150 W |
| Puisance absorbée | Corps de chauffe | 3000 W |
| Puisance absorbée totale | 3150 W 10 A 2150 W 10 A 1150 W 6 A | |
| Pression d'eau froide ou chaude jusqu'à max. 65°C | min. max. | 1 bar (eau courante) 10 bars |
| Capacité de charge | Couverts normalisés CEI | 11 |
| Valeurs d'exploitation | Energie (kWh) | Eau (l) |
| Intensif | 1,6 | 16 |
| Intensif + e | 1,3 | 16 |
| Normal | 1,3 | 16 |
| Normal + e | 1,0 | 16 |
| Bref | 1,0 | 13 |
| Bref + e | 0,8 | 13 |
- 1 couvert standard comprend : 1 assiette à soupe, 1 assiette plate, 1 assiette à dessert, 1 sous-tasse, 1 tasse, 1 verre, 1 couteau, 1 fourchette, 1 cuillère à soupe, 1 cuillère à dessert, 1 cuillère à café.
Prescriptions
C E
Cet appareil est conforme aux directives CE
73/23/CEE du 19.02.1973 (Directive sur la sécurité électrique)
89/336/CEE du 03.05.1989 (Directive CEM y compris directive de modification 92/31/CEE) 90/683/CEE.
Indications pour tests comparatifs

Avant les tests, le réservoir de sel régénérant de l'adoucisseur et le réservoir de produit de rinçage doivent être entièrement remplis.
Programme de comparaison:
Normal + Oeko (e+)
Capacité: 11 couverts standard
Dosage de produit de nettoyage:
27,5 g dans le réservoir de produit de nettoyage
Dosage de produit de rinceage:
la position 6

Mesurage de bruit
- La prescription de la puissance du niveau sonore est selon EN 60704-2-3.
- Le mesurage doit suivre à la fin d'un programme bref.


1-10
cuiller
25-35
couteau
fourchette pour servir
36-37
cuillère pour servir
cuiller
38-48
cuillère à dessert
13-23
fourchette
49-59
cuillère à café
cuillère à sauce
Service après-vente
Tel. 062/8899131
Fax 062/8899121
Administration du service 5506 mägenwil
Tel. 062/8899131
Fax 062/8899121
Le Trési 6
Fax 021/8032305
Route de la piscine 10
Fax 027/3238502

7000 Chur
Comercialstrasse 19
Fax 071/3882049
Nous octroyons sur chaque produit Therma une année de garantie à partir de la date de livraison ou de la mise en service. Les pièces défectueuses sont réparées ou remplacées gratuitement. Notre garantie couvre les frais de main-d'œuvre et de déplacement, ainsi que les pièces de rechange.
L'usure ou les dommages causés par des influences extérieures, des cas de force majeure, l'intervention de tiers ou pour des dommages dus à l'inobservation des modes d'emploi ne sont pas couverts par la garantie.
Le service d'information téléphonique de thermo
Lundi à vendredi de 09.00 - 12.00 Uhr
Pour renseignements, conseils et «astuces» concernant l'utilisation de vos appareils ménagers.
Une prestation de service à votre disposition chaque jour pour toutes questions touchant aux appareils ménagers.
Appelez ThermoPhon par exemple pour :
- renseignements rapides concernant l'utilisation des appareils
- conseils judicieux pour l'entretien et les soins à apporter aux appareils ménagers
- «Astuces» utiles pour la cuisson en général, la cuisson au four, l'aération, la réfrigération et le rinçage
- conseils compétents pour le choix d'un appareil correspondant à vos désirs
Notice Facile