GSIB.2 - Lave-vaisselle THERMA - Notice d'utilisation et mode d'emploi gratuit
Retrouvez gratuitement la notice de l'appareil GSIB.2 THERMA au format PDF.
| Type d'appareil | Lave-vaisselle |
| Capacité | 12 à 14 couverts |
| Nombre de programmes | 5 |
| Consommation d'eau | 10-15 litres par cycle |
| Consommation électrique | 1-1,5 kWh par cycle |
| Niveau sonore | 45-50 dB |
| Type d'installation | Encastrable ou pose libre |
| Type de séchage | Condensation |
| Affichage | Écran digital |
| Départ différé | Oui |
| Protection anti-fuite | Oui |
| Type de panier | Panier réglable |
| Matériau intérieur | Acier inoxydable |
| Alimentation électrique | 230 V / 50 Hz |
| Dimensions (HxLxP) | Non précisé |
| Poids | Non précisé |
FOIRE AUX QUESTIONS - GSIB.2 THERMA
Questions des utilisateurs sur GSIB.2 THERMA
0 question sur cet appareil. Repondez a celles que vous connaissez ou posez la votre.
Poser une nouvelle question sur cet appareil
Téléchargez la notice de votre Lave-vaisselle au format PDF gratuitement ! Retrouvez votre notice GSIB.2 - THERMA et reprennez votre appareil électronique en main. Sur cette page sont publiés tous les documents nécessaires à l'utilisation de votre appareil GSIB.2 de la marque THERMA.
MODE D'EMPLOI GSIB.2 THERMA
Veuillez lire attentivement ce mode d'emploi. Observez avant tout le chapitre "Règles de sécurité".
Conservez ce mode d'emploi afin de pouvoir le consulter ultérieurement, et remettez-le à l'éventuel propriétaire ultérieur de l'appareil.

Ils doivent impératifement être respectés. Ce triangle d'avertissement et/ou les termes de signalisation "Attention!", "Prudence!" soulignant des indications qui sont importantes pour votre sécurité ou pour la capacité de fonctionnement de l'appareil.
- Ce symbole vous guide pas à pas dans la manipulation de cet appareil.
- ...
- ...

Ce symbole précède des informations complémentaires concernant la manipulation et l'utilisation pratique de cet appareil.

Ce symbole signale des conseils et des indications relatifs à l'utilisation économique et écologique de l'appareil.
Ce mode d'emploi contient des indications permettant d'éliminer soi-même des pannes qui pourraient éventuellement survenir. Voir chapitre "Aide en cas de panne".
Si ces indications ne devaient pas suffire, vous avez deux points de consultation chez lesquels on poursuivra vous aider:
- Le point de service après-vente à proximité de chez vous (voir chapitre "Service après-vente") ou

Vous y recevez une réponse à chaque question concernant l'équipement ou l'utilisation de votre appareil. Bien entendu, vos désirs, suggestions ou critiques sont également bienvenus. Notre objectif est de poursuivre l'amélioration de nos produits et prestations de services au profit de notre clientèle.
- En cas de problèmes techniques, notre service après-vente se tient à tout moment à votre disposition (vous trouvez les adresses et numéros au chapitre "Service après-vente").
Veuillez également prendre en considération le chapitre «Service après-vente».
Après vous avez pris connaissance du mode d'emploi, nous vous prions de renvoyer la carte de garantie remplie au service après-vente à Mägenwil.
Table des matières
Règles de sécurité 32
Description de l'appareil 34
Recommandations importantes 35
Conseils importants 35
Elimination 36
Avant la première utilisation 37
Remplissage du produit de rinçage 37 Régler le dosage du produit de rinçage 37 Remplissage du sel de régénération 37 Réglage du dosage du sel de régénération 38 Le premier cycle de lavage 38
Corbeilles à vaisselle 39
Compartiment à couverts 39 Corbeille à vaisselle inférieure 40 Corbeille à vaisselle supérieure 42
Remplissage du produit de lavage 44
Sélection et démarrage du programme 44
Affichage des programmes 45 Fin du programme 45 Coupure de sécurité 45 Annuler ou terminer le programme 45 Pour économiser 46 Panne du réseau électrique 46 Tableau des programmes 47 Signalisation d'erreur 48
Déchéancement de la corbeille à vaisselle 48
Nettoyage et entretien 49
Ajouter du sel régénérant 49 Ajouter du produit de rinçage 49 Nettoyage du tamis grossier 49 Nettoyage du microfiltre 50 Nettoyage des buses des bras de rinçage 50 Nettoyage extérieur 51 Appareils avec surface en acier inoxydable 51
Aide en cas de panne 52
Service 53
Avant de vous adresser au service après-vente 53. Vous voulez solliciter le service après-vente 53.
Pièces de rechange 54
Prescriptions 55
Indications pour tests comparatifs 56
Service après-vente 86
Point de vente de rechange 86 Garantie 86
ThermaPhon 87
Règles de sécurité
La sécurité de cet appareil est conforme à la réglementation reconnue en matière de technique ainsi qu'aux prescriptions de sécurité applicables. Néanmoins, nous estimons devoir vous familiariser avec les consignes de sécurité suivantes.
Installation
- Les raccordements électrique et hydraulique doivent être effectués par un installeur concessionnaire.
- Veuillez rendre l’installateur attentif à l’importance des directives d’installation. En cas de déplacement ultérieur de l’appareil, les directives exactes de montage et d’installation pourront être commandées par téléphone auprès de notre service après-vente.
- Avant la mise en service, assurez-vous que la tension nominale et le type de courant figurant sur la plaquette signalétique de l'appareil correspondent à la tension nominale et au type de courant du lieu d'installation. L'ampérage des fusibles nécessaires figure dans les directives d'installation.
N'utilisez votre lave-vaisselle que pour l'utilisation à laquelle il est destiné
- N'utilisez votre lave-vaisselle que pour y laver de la vaisselle domestique. Si l'appareil est mal utilisé ou s'il est utilisé pour un autre usage que celui pour lequel il a été créé, le fabricant ne saurait être tenu responsable des dommages éventuels.
- L'observation de ce mode d'emploi, ainsi que des instructions d'installation, est la condition préalable à notre engagement de garantie. Pour des raisons de sécurité, vous ne devez apporter aucune modification ou transformation, de quelque nature que ce soit, à votre lave-vaisselle.
Avant la première utilisation
- Vérifier que votre lave-vaisselle n'a pas été endommagé pendant le transport. Ne raccordez jamais un appareil endommagé. Si votre lave-vaisselle est endommagé, contactez votre fournisseur.
- Le lave-vaisselle doit être installé et raccordé dans les règles de l'art. Pour prendre connaissance de tous les points à observer, veuillez consulter les directives d'installation.
Sécurité enfants
- Les emballages peuvent être dangereux pour les enfants (sachets, mousse de polyuréthane, p. ex.). Ils peuvent s'étouffer! Veillez donc à ne pas laisser d'emballages à portée des enfants.
- Les enfants ne sont pas nécessairement conscients des dangers liés à la mauvaise utilisation des appareils électriques. Exercez la surveillance appropriée pendant que l'appareil est en fonctionnement et ne laissez pas vos enfants jouer avec le lave-vaisselle.
- Les détergents peuvent avoir un effet caustique sur les yeux, la bouche, la gorge et ils peuvent même provoquer un étouffement! Conservez tous les détergents en lieu sûr, hors de portée des enfants.
- L'eau se trouvant dans votre lave-vaisselle n'est pas potable. Elle peut contenir des résidus de détergent. Veillez à ne pas vous éclabousser avec ces résidus caustiques, il y a danger de brûlure par acide! Tenez les enfants à l'écart lorsque la porte du lave-vaisselle est ouverte.
Votre lave-vaisselle au quotidien
- Ne faites jamais fonctionner le lave-vaisselle, si le cordon d'alimentation électrique, le tuyau d'alimentation ou d'évacuation, le tableau de commande ou la plinthe sont endommagés.
- En cas de panne, mettez l'appareil hors tension, retirez la fiche de courant de la prise, coupez le(s) disjoncteur(s) ou retirez le(s) fusible(s) du local. Fermez le robinet d'eau.
- Ne jetez jamais la fiche de la prise en tirant sur le cordon ; saisissez-la par la fiche.
- Disposez les objets longs et pointus (comme les couteaux) avec la poignée vers l'avant dans le panier à vaisselle supérieur.
- Après chaque ouverture de la porte, veuillez vous assurer que celle-ci soit à nouveau correctement fermée, car une porte ouverte peut devenir une source de danger.
- Ne vous appuyez pas ou ne vous asseyez pas sur la porte ouverte.
- Les réparations seront confiées exclusivement à un atelier de service après-vente/agréé par nos soins. De plus, seules des pièces de rechange d'origine devront être utilisées.
- Ne versez jamais le moindre solvant dans votre lave-vaisselle, vous risquez de provoquer une explosion!
- Avant d'employer un sel, un détergent et un produit de rinçage spécial pour lave-vaisselle, vérifie bien que le fabricant de ces produits prévoit expressément leur utilisation dans un lave-vaisselle domestique.
Risque lié au gel
- Si l'appareil raccordé est exposé à des températures inférieures au point de congélation, celui-ci devra alors être vidangé d'une manière appropriée par le service après-vente.
- Lors d'une livraison à partir de l'usine, il n'y a pas de risque de condensation!


Recommandations importantes
Veuillez conserver ce mode d'emploi soigneusement avec l'appareil, afin de pouvoir vous y référer au besoin.
Si cet appareil avait été vendu ou laissé à des tiers en cas de déménagement, veuillez vous assurer que ce mode d'emploi soit remis avec le lave-vaisselle, afin que le nouveau propriétaire puisse s'informer sur le fonctionnement et les prescriptions de l'appareil.
Les articles suivants ne sont conformes au lavage dans le lave-vaisselle que lorsqu'ils portent explicitement la mention « approprié au lavage en lave-vaisselle »:
- Couverts avec manche en bois ou en corne, avec des parties collées ; couverts en bronze ; poêle avec manche en bois ; articles en aluminium, cuivre, cristal, verre au plomb, plastique. En cas de doute, veuillez vous renseigner auprès du distributeur ou du fabricant de l'article respectif.
- Les couverts en argent et en acier inoxydable doivent être déposés séparément dans le compartiment à couverts. Si les deux matériaux viennent en contact, une réaction chimique peut provoquer une décoloration de l'argent.
- La porte de l'appareil ne devrait pas être ouverte durant le fonctionnement. Un dispositif de sécurité déclenche le lave-vaisselle si la porte avait été ouverte par inadvertance.
Installation
- Nous recommandons le montage d'un filtre à eau directement sur le robinet d'arrêt, dans les régions possédant une dureté élevée de l'eau, ainsi que dans les zones d'habitation nouvellement bâties. Le filtre à eau maintient votre machine et se laisse nettoyer facilement. Veuillez demander la pose d'un tel filtre à votre installateur.
Durant l'utilisation quotidienne
Entretenez et nettoyez la machine régulièrement. Vous éviterez ainsi de coûteuses interventions du service après-vente. Veuillez également prendre le chapitre "Nettoyage" en considération.
- N'utilisez pas de produits pour laver la vaisselle à la main, respons. de produits de lavage industriels, ou encore des nettoyants.
- Si le lave-vaisselle doit rester sans surveillance durant une période prolongée, par ex. durant les vacances, fermez le robinet d'eau. Assurez-vous que l'interrupteur principal est déclenché.
Évitez les gaspillages et protégez l'environnement
- Rassemblez votre vaisselle sale, rangez-la dans le lave-vaisselle et ne la lavez que lorsque les deux paniers sont pleins, en veillant à ne jamais les surcharger. Utilisez la touche demi charge (1/2) en cas de quantité de vaisselle réduite jusqu'à un maximum de 50% de la capacité.
- Sélectionnez toujours le programme correspondant au type de vaisselle et au degré de salissure (Voyez le chapitre "Tableau des programmes").
- N'utilisez pas trop de détergent et de produit de rinçage. Respectez les doses recommandées dans le présent-manuel et par les fabricants des produits.
- Rassurez-vous que le dispositif de déminéralisation soit réglé correctement.
Vaisselle inadaptée pour un lavage en machine
Les articles suivants ne conviennent pas:
- Planches et plats en bois
- Plastiques ne résistant pas à la chaleur
- Verre en cristal renfermant du plomb
- Ustensiles en étain ou en cuivre Vaisseau ou couverts collés
- Anciens couverts assemblés avec des colles sensibles à la chaleur
- Pièces en acier non inoxydable
- Couverts avec des manches en bois, corne, porcelaine et nacre
- Objets d'art
Vaisselle l'ouvrant, sous certaines conditions, être lavée en machine
Les articles suivants demandent certaines précautions:
- Ne lavez les articles en terre cuite que si le fabricant l'autorise explicitement.
- Certains décoration points sur le vernis peuvent s'estomper au fil des lavages.
- Les éléments en argent et en aluminium ont tendance à se décolorer pendant le lavage en machine.
- De nombreux résidus d'aliments (blanc et jaune d'œuf, moutarde, etc.) provoquent souvent des décolorations ou des taches sur l'argenterie. Les couverts et la vaisselle en argent doivent donc tous les jours être débarrassés des restes d'aliments s'ils ne sont pas lavés immédiatement après le repas.
- Certains types de verres peuvent s'opacifier après de nombreux lavages. Il est donc préférable de continuer à laver à la main vos verres précieux.
À l'achat de nouveaux couverts ou de nouvelle vaisselle, vérifie bien qu'ils sont prévus pour le lave-vaisselle.
L'emballage
Le transport de nos lave-vaisselles nécessite un emballage protecteur efficace. À cet effet, nous nous limitons au strict nécessaire.
Tous les matériaux d'emballage utilisés sont recyclables et sans danger pour l'environnement.
Les parties en carton sont fabriquées à partir de nouveaux papiers, les parties en bois sont non traitées. Les matières plastiques sont identifiées comme suit:
«PE» pour polyéthylène. Ex.: feuilles plastiques pour emballage
«PS» pour polystyrène. Ex.: capitonnage (sans CFC)
«POM» pour polyoxyméthylène. Ex.: attaches en plastique.
La récupération et le retraitement de l'emballage permettent d'économiser les matières premières et de réduire le volume des déchets. Remettez votre emballage au centre de recyclage le plus proche. Vous obtiendrez son adresse auprès de la mairie de votre ville.
L'ancien appareil
Si vous souhaitez vous débarrasser de votre appareil un jour, rendez-le totalement inutilisable avant.

Avertissement! Des enfants peuvent s'enfermer en jouant à l'intérieur de l'appareil (risque d'étouffement) ou bien se retrouver dans des situations mettant leur vie en danger. C'est pourquoi vous devrez couper le câble d'alimentation et le mettre de côté. Détruisez le système de verrouillage de la porte afin que celle-ci ne ferme plus.
Identification des parties plastiques pour un recyclage par catégorie:
Toutes les parties en plastique de l'appareil sont désignées par une abréviation normalisée au niveau international (ex. : « PS » pour polystyrène). Cela permet par conséquent de trier les déchets plastiques par catégorie afin d'effectuer un recyclage sans danger pour l'environnement.
Apportez votre appareil hors service au centre de recyclage le plus proche ou bien votre revendeur spécialisé qui vous le reprendra contre une petite participation aux frais.
Avant la première utilisation
Veuillez effectuer les étapes décrites ci-après avant d'utiliser le lave-vaisse pour la première fois.
Remplissage du produit de rinçage
- Lorsque l'indicateur de produit de rinceage s'allume, ouvre le réservoir de produits de rinceage en tournant le couvercle vers la gauche (A).
- Remplir jusqu'au repère «max.» (B) avec le produit de rinceage. Ne pas remplir le récipient au-delà du repère!
- Refermer le récipient.
- Eliminer de suite les gouttes de produit de rinceage éventuellement tombées en dehors du réseau et pouvant sinon provoquer la formation de mousse.
La lampe-témoin du produit de rinçage s'éteint.
Régler le dosage du produit de rinçage
- Ouvrir le récipient de réserve en dévissant le bouchon vers la gauche (A).
- Tourner la flèche de dosage (B) vers la gauche à l'aide d'une pièce de monnaie ou d'un tournevis, pour augmenter le débit. Le réglage en usine se fait sur le niveau 3. (réglage idéal: niveau 2-4)
- Fermer le récipient de réserve.
Pour cela, prenez en considération également le chapitre "Aide en cas de panne".
Remplissage du sel de régénération

Ne jamais remplir le récipient pour Sel de régénération avec un produit de rinçage ou de nettoyage!
N'utiliser que du sel régénérant pour le lave-vaiselle.
Remplir le sel de la manière suivante :
- Ouvrir le bouchon (A) du récipient à sel.
- Remplir le récipient avec de l'eau (B).
- Ajouter 1 kg de sel (C) de régénération. Env. 1 L d'eau sera alors absorbé.
- Éliminer le sel de la surface du joint d'étanchéité.
- Verrouiller le bouchon jusqu'en butée.
- Immédiatement lancer le programme «préincage» afin d'éliminer les eventuels restes de sel.
La lampe-témoin de Sel ne s'éteint qu'après 1 à 2 cycles de lavage.





Réglage du dosage d'usel de régénération
Le dosage du sel de régénération pour la déminéralisation de l'eau doit être ajusté en fonction du degré de dureté de l'eau utilisée. En cas de dosage trop faible, des taches calcaires peuvent se déposer sur la vaisselle et les couverts. Le bureau local des forces motrices de votre domicile pourrait vous renseigner quant au degré de dureté de l'eau.
Si vous avez un appareil pour la déminéralisation de l'eau dans votre appartement, il n'est pas nécessaire de mettre du sel de régénération dans le lave-vaisselle. Dans ce cas la lampe féminine de sel est allumée en permanence.
Procédure de réglage du dosage:
À l'aide d'une pièce de monnaie ou d'un tournevis (Nr.4), tourner le bouton de réglage pour déminéralisation de l'eau jusqu'à ce que la flèche sur le bouton indique le niveau désiré de 1 à 5 :

La flèche doit se trouver face à un chiffre et la position doit encocher de manière perceptible.
- Consommation de sel : En fonction du réglage, 1 kg de sel de régénération est suffisant.
Jusqu'à 12,5 degrés de dureté française (fH) (ce qui correspond à 7 degrés de dureté allemande (dH))
Niveau 2:
Pour des degrés de dureté française compris entre 12,5 et 25 (fH) (ce qui correspond à des degrés de dureté allemande compris entre 7 et 14 (dH))
Niveau 3:
Pour des degrés de dureté française compris entre 25 et 37,5 (fH) (ce qui correspond à des degrés de dureté allemande compris entre 14 et 21 (dH))
Niveau 4:
Pour des degrés de dureté française compris entre 37,5 et 50 (fH) (ce qui correspond à des degrés de dureté allemande compris entre 21 et 28 (dH))
Niveau 5:
Pour des degrés de durété française supérieurs à 50 (fH) (ce qui correspond à des degrés de durété allemande supérieurs à 28 (dH))
Le premier cycle de lavage
- Veuillez laver la première fois avec le programme intensif.

Corbeilles à vaisselle
- Compartiment à couverts avec élément supérieur Corbeille à vaisselle inférieure Corbeille à vaisselle supérieure

Les illustrations vous orientent sur la disposition optimale du chargement de votre lave-vaisselle.

Eliminez les restes de nourriture importants avant de disposer la vaisselle dans la corbeille, sans toutefois rincer à chaud, ni employer de produit de lavage à main.
Compartiment à couverts
Déposez les couverts dans la corbeille avec les manches vers le bas.

À l'exception de ceux possédant un manche très fin, et pouvant bloquer le mouvement du bras de rinçage en traversant la corbeille.

Des couverts et des récipients hauts dans la zone de la poignée de la corbeille à vaisselle ne doivent pas empêcher le couvercle du récipient pour le produit de lavage d'être ouvert!
Important:
Les couverts longs doivent être déposés dans la corbeille à vaisselle supérieure. Disposez les objets longs et pointus (comme les couteaux) avec la poignée vers l'avant dans le panier à vaisselle supérieur.
Élément supérieur du compartiment à couverts
Grâce à l'élément supérieur du compartiment à couverts, les couverts ne se touchent plus par leurs surfaces. Toutes les pièces sont accessibles au jet d'eau. Les couverts sont ainsi moins lavés et séchés.
Enlevez l'élément supérieur du compartiment à couverts
- Enlevez légèrement les cliquets de verrouillage (A).
- Sortez le compartiment à couverts en le tirant vers le haut (B).
sans élément supérieur du compartiment à couverts


avec élément supérieur du compartiment à couverts


Corbeille à vaisselle inférieure
Les pièces plus grandes et très sales sont nettoyées minutieusement dans la corbeille inférieure.
- Tirer complètement la corbeille.
- Placer dans cette corbeille les pièces volumineuses et lourdes (assiettes, plats, marmites...).

Ne modifie pas la position inclinée de la poignée du panier, sous peine de risquer des problèmes lors de l'ouverture du récipient à produit de lavage.
Ratelier amovible pour assiettes, à droite, 10 positions
Pour une utilisation rationnelle de la place dans la corbeille, le ratelier pour assiettes peut être placé dans deux positions différentes. En direction longitudinale ou transversale.
- Dégager le râtelier pour assiettes en tirant la poignée (A) vers le haut.
- Introduire ensuite le râtelier pour assiettes dans le renforcement longitudinal (D), le mettre en position transversale, puis presser la poignée vers le bas (B) jusqu'à ce qu'elle s'engage.
Le râtelier pour assiettes peut être adapté latéralement de manière variable (C), mise en place comme décrite ci-dessus.




Garniture de rail amovible pour assiettes, 5 positions
Pour les assiettes creuses ou les bols, une partie du râtelier gauche peut être retirée.
- Dégager le râtelier pour assiettes en tirant la poignée (A) vers le haut.
La garniture de râtelier pour assiettes peut aussi être montée à droite, à la place du râtelier à 10 positions pour assiettes (B).
Ratelier pour assiettes rabattable à gauche
Pour les grands bois et les casseroles, les rayonnages peuvent être rabattus.
- Retirer la garniture du rayon à 5 positions pour assiettes et la corbeille à couverts.
- Soulever légèrement le râtelier pour assiettes, et rabattre vers la droite sur le fond de la corbeille.
Le râtelier à assiettes placé transversalement à l'avant droite est optimal pour les petites assiettes plates d'un diamètre de 170-210 mm.

Ne pas placer des récipients creux en avant à droite dans la corbeille à vaisselle inférieure, le récipient pour le produit de lavage ne doit pas être empêché de s'ouvrir.




Corbeille à vaisselle supérieure
Les petites pièces de vaisselle fragiles sont nettoyées avec ménagement dans la corbeille à vaisse supérieure.
- Tirer la corbeille à vaisselle supérieure jusqu'à la butée.
- Ranger les petites et légères pièces de vaisselle fragiles comme souscoupes, tasses, verres ainsi que les pièces en plastique résistantes aux écarts thermiques dans la corbeille à vaisselle supérieure.
Étagère à tasses réglable
Pour les verres à pied, accrocher l'appuie-verres sur la position droite (fig. A) puis relever.
Pour les verres cylindriques hauts, accrocher l'appuie-verres sur la position gauche (fig. B) puis relever.
Les verres peuvent également être placés sur les tiges redressées (fig. C)
Pour décharger ou en cas de non-utilisation, rabattre l'appuie-verres sur la droite.




Supports de tasses réglables
Disposer de manière décalée les éléments réglés, au-dessus et au-dessous des supports de tasses rabattables, afin que le jet de giclage puisse atteindre toutes les pièces.
Les verres à pied peuvent être accrochés dans les évidements du support de tasses.

Le support de tasses avant peut être positionné sur 2 niveaux différents.


La corbeille à vaisselle supérieure est ajustable en hauteur sur la droite
Ajuster la corbeille supérieure à la hauteur désirée, en fonction de votre vaisselle:

Egalement possible lorsque la corbeille est chargée.
- retirer la corbeille
- soulever à droite
- tirer vers l'avant jusqu'à la butée, puis engager dans la position supérieure.
Descendre:
- retirer la corbeille
- soulever à droite, puis descendre en position basse

Avant de rincer, contrôlez si les bras gicleurs tournent librement.


Charge optimale corbeille supérieure: position haute
Charge optimale corbeille supérieure: position basse
Ranger les grandes assiettes en position oblique. Corbeille à vaisselle inférieure
Corbeille inférieure : Devant à droite, ne placer que des assiettes plates jusqu'à un diamètre de 210 mm au maximum.
Remplissage du produit de lavage

Ne jamais utiliser des produits pour laver la vaisselle à la main.

N'utiliser que des produits de lavage conventionnels et appropriés aux lave-vaiselles ménagers.
Le couvercle du récipient pour produit de lavage est normalement ouvert.
Si celui est fermé :
- Le écipient s'ouvrira après avoir pressé la touche du couvercle (A) vers l'extérieur.
- Remplir le récipient sec (B) avec du produit de lavage vaisselle, selon les indications du fabricant de ce produit de lavage. Ne placer des pastilles dans le récipient de produit de lavage ou dans la corbeille à couverts, que selon les instructions du fabricant.
- Fermer le récipient (C) pour produit de lavage, en pressant sur le couvercle.
- Vous pouvez ajouter du produit de lavage (D) dans le creux du couvercle pour les programmes avec prélavage chaud.

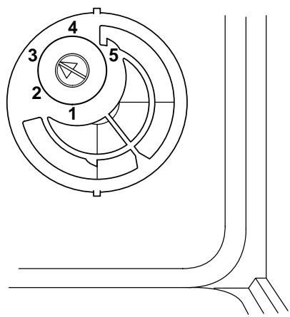
Sélection et démarrage du programme
- Rentrez totalement les corbeilles à vaisselle.
- Relever la porte et presser.

Le mécanisme de fermeture de la porte doit s'enrrouiller pour que la machine puisse démarrer.
- Presser sur l'interrupteur principal. Le symbole fin de programme s'allume dans l'afficheur de programme.
- Ne sélectionnez la touche demi-charge qu'en cas de quantité de vaisselle équivalent à la moitié de la capacité.
- Sélectionner un des programmes (1-4). Voir le tableau des programmes.
La lampe témoin du programme choisi clignote pendant 5 secondes avant que le processus de lavage ne démarre. 6. Pendant les 5 secondes vous pouvez changer de programme et en plus vous pouvez désirer la touche eco ou demi-charge.

Après chaque pression sur une touche vous pouvez effectuer des corrections eventuelles pendant 5 secondes.

N'ouvrez plus la porte après le démarrage du programme! Pour éviter des brûlures et des dégâts aux meubles pour cause de vapeurs s'échappant de l'appareil.
N'ouvrir la porte que quand le symbole pour la fin du programme s'est allumée sur l'affichage de programmes.
Affichage de programmes
Les symboles lumineux dans l'afficheur indiquent dans quelle phase le programme se trouve.
Fin du programme
Le symbole fin de programme s'allume dans l'afficheur de programme ainsi que le programme qui a été choisi en dernier lieu.
- Arrêtez la machine en actionnant l'interrupteur principal.

Le programme est en marche tant que la lampe témoin du symbole pour la fin du programme sur l'affichage de programmes ne s'est pas allumée (voir tableau des programmes pour les temps du programme).
Coupure de sécurité
Une coupure de sécurité protège contre un démarrage répété par inadvertance après la fin du programme. Pour une nouvelle programmation, le lave-vaisselle doit être arrêté et ensuite remis en marche, ou la porte doit être ouverte et ensuite refermée.

La coupure de sécurité est levée dès qu'il n'y a plus que le symbole pour la fin du programme sur l'affichage de programmes qui est allumé.
Annuler ou terminer le programme
Appuyez pendant au moins 3 secondes sur la touche du programme sélectionné. Le programme choisi est annulé et l'eau présente est évacuée par pompage.
La lampe témoin du programme arrêté clignote en cadence d'une seconde tant que la pompe de vidange est encore en marche.
Quand tout l'eau est évacuée par pompage, il n'y a plus que le symbole pour la fin du programme sur l'affichage de programmes qui est allumé. Le lave-vaisselle est de nouveau prêt à fonctionner.

Pour économiser
Avec la touche Eco, on diminue la température de lavage, ce qui diminue la consommation énergétique pour le chauffage. La touche d'économie d'énergie peut être utilisée avec tous les programmes de lavage. Avec la touche demi-charge, on économise de l'énergie en cas d'utilisation de la moitié de la capacité et on obtient malgré tout un résultat de lavage optimal (voir tableau des programmes).

Si on désire Eco et demi-charge en même temps, le programme demi-charge se déroulera.
Panne du réseau électrique
En cas de panne secteur ou de déclenchement involontaire de l'interrupteur principal, toutes les valeurs réglées sont conservées.

| Tableau des programmes | Prélavage | Nettoyage | Rinçage intermédiaire | Rinçage final | Séchage | Durée | |
| Normal + e + 1/2 | Programme quotidien recommendé Vaisselle normalement à fortement souillée | 50°C | 68°C | 70 min. 2.5 h | |||
| Programme le plus économique pour les salissures les plus tenaces. Avec ce programme la distinction AAA selon EN 50242 "label énergie" est obtenu *) | 50°C | 68°C | |||||
| Vaiselle normalement souillée avec demi-charge de vaisselle | 50°C | 65°C | 64 min. | ||||
| Intensif + e + 1/2 | Vaiselle fortement à très fortement souillée | 47°C | 68°C | 73°C | 86 min. | ||
| Vaiselle fortement souillée | 42°C | 63°C | 68°C | 81 min. | |||
| Vaiselle fortement souillée avec demi-charge de vaisselle | 42°C | 63°C | 68°C | 75 min. | |||
| Bref + e + 1/2 | Vaiselle très légèrement à légèrement souillée | 45°C | 65°C | 44 min. | |||
| Vaiselle très légèrement souillée | 40°C | 60°C | 38 min. | ||||
| Vaiselle très légèrement souillée avec demi-charge de vaisselle | 40°C | 60°C | 34 min. | ||||
| Prélavage / / D | Rinçage froid | 5 min. | |||||

Les données de programmation différent en fonction du mode de raccordement, des variations de tension du réseau électrique, de la température d'entrée de l'eau, de la pression de l'eau et de la charge.
A = Meilleure efficacité d'énergie A = Meilleur résultat de nettoyage A = Meilleur résultat de séchage Programme avec effet de séchage fortement prolongé.
Pour les lavages de test selon la norme de vérification EN 50 242 (voir sur page 56) un encrassement extrêmement tenace est utilisé qui se produit que rarement pendant l'usage quotidien.
Nous proposons donc de désigner un programme qui est adapté à l'encrassement selon ce tableau. Des résidus desséchés nécessitent le plus souvent un programme plus fort.
Signalisation d'erreur
L'électronique du lave-vaisselle peut elle-même détecter les erreurs et les afficher. Si une erreur survient, une des lampes du programme clignote.
Veuillez noter ces affichages avant de prendre contact avec le service après-vente.
La signalisation d'erreur s'annule dès que l'interrupteur principal a été déclenché.
Signalisation d'erreur et cause possible
- Le symbole Fin de programme et l'affichage de programme "Normal" clignotent = robinet d'eau fermé ou tamis d'alimentation obstrué.
- Le symbole Fin de programme et l'affichage de programme "Intensif" clignotent = tuyau d'évacuation ou siphon bouché.
- Le symbole Fin de programme et l'affichage de programme "Bref" clignotent = pression d'eau trop faible, conduite d'alimentation ou tamis d'alimentation obstrué.
- Le symbole Fin de programme et l'affichage de programme "Prélavage" clignotent = demander l'intervention du service après-vente.
- Le symbole Fin de programme et l'affichage de programme "Eco" clignotent. = demander l'intervention du service après-vente.

Après déroulement du programme de rinceage:
- Décharger la corbeille inférieure en premier.
- Décharger ensuite la corbeille supérieure, afin qu'aucune goutte d'eau ne puisse tomber sur la vaisselle de la corbeille inférieure.

Contrôler le tamis grossier après chaque cycle de nettoyage, et le nettoyer au besoin.

Ajouter du sel régissant

Ne jamais remplir le récipient à Sel de régénération avec un produit de rinçage ou de nettoyage!
Le récipient à Sel de régénération pour la déminéralisation de l'eau devra être rempli lorsque la lampe-témoin s'illumine.
Procéder comme indiqué du chapitre “Avant la première utilisation” à la page 37, sans cependant devoir ajouter de l'eau.

Après le remplissage, immédiatement enclencher le programme « prélavage », afin de rincer les éventuels dépôts de sel.
Ajouter du produit de rencrage
Lorsque le témoin du produit de rinçage s'allume, il faut rajouter du produit de rinçage.
Procédure comme décrite sur le chapitre "Avant la première utilisation" à la page 37.

Éliminer de suite les gouttes de produit de rinçage eventuellement tombées en dehors du récipient et pouvant sinon provoquer la formation de mousse.
Nettoyage du tamis grossier
Contrôler le tamis grossier après chaque cycle de nettoyage, et le nettoyer au besoin.
- Simplement tirer le tamis grossier vers le haut,
- Le nettoyer sous l'eau courante, et le remettre en place.



Nettoyage du microfiltre
Le microfiltre doit être nettoyé de temps en temps:
- Déverrouiller le filtre en tournant le levier vers la droite.
- Retirer le microfiltre et le nettoyer sous l'eau courante à l'aide d'une brosse.
- Replacer le microfiltre dans son socle et le verrouiller en tournant le levier vers la gauche jusqu'à ce qu'il s'enclenche perceptiblement (flèches).

Ne pas pousser la manette vers le haut. Si le tamis ne s'enclenche pas, les buses des bras de rincage risquent d'être bouchées.

Nettoyage des buses des bras de rinçage
Contrôler régulièrement si les buses des trois bras de rinçage ne sont pas obstruées par des restes d'aliments. Si nécessaire, nettoyer les buses sous l'eau courante à l'aide d'un fil de fer ou d'une aiguille.

Tout en veillant à ne pas endommager l'orifice.
Bras de rinçage supérieur
Retirer le bras de rinceage supérieur :
- Dévisser la vis de fixation (A) en la tournant vers la gauche.
- Retirer le bras de rincage de l'axe de rotation.
- Nettoyez régulièrement le bras de rinçage et les vis de fixation.
- Démonter le bras de rinçage et le bloquer en tournant la vis (A) vers la droite.
Bras de rinceage médian
- Retirer le bras giclaur médian en lui imprimant un mouvement de rotation latéral. Le bras de rinceage en deux parties est maintenu par un ressort de serrage (B).
- Pour le montage, presser le bras gicleur latéral vers le haut, jusqu'à ce qu'il s'engage de manière perceptible.



Bras de rinçage inférieur
Retirer le bras de rinceage inférieur :
- Dévisser l'écrou de fixation (C) en le tournant vers la gauche.
- Retirer le bras de rincage de l'axe de rotation.
- Nettoyer les buses.
- Remonter le bras de rinçage et le bloquer en tournant l'écrou de fixation (C) vers la droite.

En secouant le bras de rincege entièrement séché, les résidus tenaces peuvent être sortis.

Nettoyage extérieur
Les surfaces externes de la machine, et plus particulièrement son panneau de commande, devraient être nettoyées régulièrement à l'aide d'un chiffon doux et humide.
Seuls des produits de nettoyage neutres, tels que pour le lavage de la vaisselle à la main, devront être utilisés. Des solvants organiques tels que l'acétone, des diluants pour peintures, etc., ne doivent être utilisés en aucun cas!
Appareils avec surface en acier inoxydable
Pour la face avant en acier inoxydable, nous recommandons un nettoyage intensif et un entretien à intervalles réguliers, avec des produits appropriés à l'acier inox.
Veuillez observer les instructions relatives à l’emploi de produits de nettoyage et d’entretien. Les produits égratignants et abrasifs ne sont pas appropriés.
Applique le produit de nettoyage sur un chiffon humide avant d'essuyer, ensuite lave la surface en mouillant, et la fais sécher en la frottant avec un chiffon sec.
Lors du nettoyage, veillez à ce que la finition de la surface en acier inoxydable ne se fasse pas contre la structure (les fines lignes horizontales) ; pas de mouvements circulaires!
Aide en cas de panne
Avant de faire appel au service après-vente, vérifiez d'abord si vous ne pouvez pas remédier vous-même au problème en suivant les instructions ci-dessous. Si elles ne suffisent pas, n'hésitez pas à contacter le service après-vente.
La pompe d'évacuation tourne en permanence, même si la machine est éteinte.
Le dispositif de protection contre les inondations s'est enclenché. Fermez le robinet d'alimentation en eau. Retirez ensuite la fiche d'alimentation. Dans le cas d'un raccordement fixe, coupez le(s) disjoncteur(s) ou ôtez le(s) fusible(s). Appelez le service après-vente pour identifier la panne.
Le programme ne démarre pas.
Le dernier programme est-il terminé ? Est-ce que le symbole pour la fin du programme est allumé ? - Les fusibles du tableau électrique sont-ils en bon état ? Notre appareil est-il branché ? La porte est-elle bien fermée ? Si non, fermez-la à fond jusqu'à ce que le mécanisme de fermeture de la porte se verrouille.
L'eau n'arrive pas.
Le robinet d'eau est-il complètement ouvert? - Le robinet d'eau est-il bouché? Ouvrir et fermer plusieurs fois le robinet d'eau. - Le filtre situé dans le raccord du flexible au robinet est-il propre? Si nécessaire, nettoyez le filtre. - Le flexible d'alimentation est-il plié? Vérifiez le flexible sur toute sa longueur. - La pression minimale d'écoulement de l'eau est-elle de 1 bar?
L'indicateur de déroulement de programme reste bloqué au début d'un cycle de lavage avec détergent.
Avez-vous ouvert le robinet d'eau? - Le filtre situé dans le raccord du flexible au robinet est-il propre? Si nécessaire, nettoyez le filtre.
L'eau n'est pas évacuée
Le tuyau d'évacuation subit-il une compression? Vérifier le placement correct du tuyau (voir chapitre «Ecoulement de l'eau»). - Le siphon est-il bouché? Vérifier la non-obstruction du siphon (du local).
La vase n'est pas propre
- Avez-vous sélectionné le programme approprié au type et au degré de salissure de la vaisse? (Voir le "Tableau des programmes").
- Avez-vous disposé la vaisselle de sorte que les jets d'eau puissent atteindre toutes les faces, intérieures et extérieures, de la vaisselle? Les paniers ne doivent pas être surchargés.
- Les bras n'ont-ils pas été bloqués par de la vaisselle ou des couverts?
- Est-ce que les gicleurs des bras de rinçage sont-ils propres?
- Tous les filtres du fond sont-ils propres? Sont-ils installés correctement? Avez-vous mis assez de détergent?
- Le flexible d'évacuation est-il correctement installé?
- Est-ce que le siphon du côté BATIMENT est-il obstrué?
- Y a-t-il encore du sel régénérant dans le récipient de réserve du sel? Sans sel, l'eau n'est pas adoucie et des dépôts de calcaire peuvent se former sur la vaisselle et dans la machine.
- Avez-vous réglé l'adoucisseur en fonction de la durée de votre eau de distribution?
La vase n'est pas sèche et n'a rien éclat.
- Y a-t-il encore du produit de rinçage dans le réservoir? Le dosage du sel régulant est-il correctement réglé?
Les verres et la vaisselle présent des stries, des bandes, des taches laiteuses ou des auréoles bleuâtres.
La dose de produit de rinçage est trop importante. Réduisez la dose.
Les verres et la vaisselle sont constellés de taches d'eau sèche.
- La dose de produit de rinçage est trop faible. Augmentez la dose.
- Le dispositif de fermeture du récipient à sel est-il bien fermé?
Taches de rouille à l'intérieur du lave-vaisse.
- L'intérieur du lave-vaisselle est en acier inoxydable. Si des taches de rouille apparaisent, elles sont d'origine extérieure (rouille dans l'eau, oxydation des casseroles, couverts, etc.). Eliminez ces taches au moyen d'un produit du commerce pour l'entretien de l'acier inoxydable.
- Le programme "Prélavage" a-t-il été lancé immédiatement après avoir fait le plein en sel ?
Service
Le service après-vente Thermo met un personnel qualifié à la disposition de ses clients.
Avant de vous adresser au service après-vente
Assurez-vous que vous n'avez fait aucune erreur de manipulation.
Regardez à "Aide en cas de panne".
Vous pouvez solliciter le service après-vente
- Notez les indications suivantes que vous trouvez sur la plaque signalétique de votre appareil:
- Numéro de série Désignation de modèle N° de produit
- ainsi que des indications d'erreur éventuelles à l'affichage
- Veuillez toujours indiquer ces données si :
- vous demandez l'intervention du service après-vente
- vous commandez des pièces de rechange ou des accessoires
- vous avez des questions d'ordre technique
- Notez minutieusement vos observations, vous simplifierez ainsi l'analyse préliminaire et le travail de nos techniciens.
- Composez le numéro de service 0848 848 999. Notre appel sera automatiquement dévié vers le point de service le plus proche.
- Soyez là lorsque le technicien se présentera à votre domicile, car il a besoin d'informations.


Numéro de pièces de rechange
- Bras de rinçage supérieur 153 0306-00/8
- Palier du bras de rinçage supérieur 153 0142-02/3
- Bras de rinçage médian (jeu complet) 153 0272-00/2 3.1 Joint 8996461238-20/7 3.2 Télécouplage (n'est pas disponible comme pièce détachée, voir pos.3) 3.3 Palier de bras gicleur, en 2 parties 899 646 1237-86/0 3.4 Ressort de serrage 153 0756-00/4 3.5 Bras de rinçage (n'est pas disponible comme pièce détachée, voir pos.3)
- Écrou et blocage du bras de rinceur 150 2356-00/7
- Bras de rincage inférieur 153 0859-00/6
- Corbeille supérieure complète 153 0256-04/7 6.1 Compartiment pour tasses 153 0863-01/6 6.2 Soutien pour verres 153 0653-01/1
- Corbeille inférieure complète 153 0257-03/7 7.1 Corbeille à couverts 153 0699-00/6 7.2 Compartiment à couverts 153 0899-00/2 7.3 Râtelier à assiettes, 10 positions 153 0644-01/0 7.4 Râtelier à assiettes, 5 positions 153 0645-01/7
- Support de rouleau inférieur complet 153 0216-01/7
- Joint d'étanchéité de porte 153 0237-02/1
- Tamis grossier 153 0051-00/0
- Tamis fin avec microfiltre 153 0217-01/5
- Joint d'étanchéité récipient produit de lavage 153 0565-00/9
- Capuchon pour arrivée d'eau 153 0166-00/6
- Couvercle du récipient à sel 805 0135 49-00/3

Le câble de raccordement électrique ne doit être échangé que par un installateur concessionnaire ou par un de nos collaborateurs du service après-vente.
Caractéristiques techniques
| Dimensions | Largeur Hauteur Profondeur max. Profondeur max. avec porto ouverte | 54.6 cm 75.9 cm 57.0 cm 114.5 cm |
| Tension de service Fréquence | 230 V 50 Hz | |
| Puisance absorbée | Pompe de circulation | 150 W |
| Puisance absorbée | Corps de chauffe | 2000 W |
| Puisance absorbée totale | 2150 W 10 A | |
| Pression d'eau floire ou chaude jusqu'à max. 65°C | min. max. | 1 bar (eau courante) 10 bars |
| Capacité de charge Demi-charge | Couverts normalisés CEI Couverts normalisés CEI | 11 6 |
| Valeurs d'exploitation Intensif Intensif + Eco Intensif + 1/2 | Energie (kWh) 1,6 1,3 1,13 | Eau (l) 16 16 15 |
| Normal Normal + Eco Normal +1/2 | 1,0 1,0 0,9 | 16 15 15 |
| Bref Bref + Eco Bref + 1/2 | 1,0 0,8 0,7 | 14 14 12 |
- 1 couvert standard comprend : 1 assiette à soupe, 1 assiette plate, 1 assiette à dessert, 1 sous-tasse, 1 tasse, 1 verre, 1 couteau, 1 fourchette, 1 cuillère à soupe, 1 cuillère à dessert, 1 cuillère à café.
Prescriptions

Cet appareil est conforme aux directives CE
73/23/CEE du 19.02.1973 (Directive sur la sécurité électrique)
89/336/CEE du 03.05.1989 (Directive CEM y compris directive de modification 92/31/CEE)
90/683/CEE.
Indications pour tests comparatifs

Avant les tests, le réservoir de sel régénérant de l'adoucisseur et le réservoir de produit de rinçage doivent être entièrement remplis.
Programme de comparaison:
Normal + Eco
Capacité: 11 couverts standard
Dosage de produit de nettoyage:
27,5 g dans le réservoir de produit de nettoyage
Dosage de produit de rinceage:
la position 6
Exemple de disposition de la vaisselle
Corbeille à vaisselle supérieure en position inférieure (abaissée).


1-10 cuillers 25-35
11 fourchette pour servir 36-37
12 cuillers 38-48
13-23 fourchette 49-59
24 cuillère à sauce
couteau
cuillère pour servir
cuillère à dessert
cuillère à café
Service après-vente
Nous octroyons sur chaque produit Therma une année de garantie à partir de la date de livraison ou de la mise en service. Les pièces défectueuses sont réparées ou remplacées gratuitement. Notre garantie couvre les frais de main-d'œuvre et de déplacement, ainsi que les pièces de rechange.
L'usure ou les dommages causés par des influences extérieures, des cas de force majeure, l'intervention de tiers ou pour des dommages dus à l'inobservation des modes d'emploi ne sont pas couverts par la garantie.
Le service d'information téléphonique de thermo
Lundi à vendredi de 09.00 – 12.00 Uhr
Pour renseignements, conseils et «astuces» concernant l'utilisation de vos appareils ménagers.
Une prestation de service à votre disposition chaque jour pour toutes questions touchant aux appareils ménagers.
Appelez ThermoPhon par exemple pour:
- renseignements rapides concernant l'utilisation des appareils
- conseils judicieux pour l'entretien et les soins à apporter aux appareils ménagers
- «Astuces» utiles pour la cuisson en général, la cuisson au four, l'aération, la réfrigération et le rinçage
- conseils compétents pour le choix d'un appareil correspondant à vos désirs
Téléfax 021 803 25 24
Internet: www.therma.ch
E-Mail: info@therma.ch
A+T Appareils Casalinghi SA
Centro Montana
6616 Losone
Téléphone 0917911412
Téléfax 0917921803
Internet: www.therma.ch
E-Mail: info@therma.ch
Notice Facile