GSIA.2 - Lave-vaisselle THERMA - Notice d'utilisation et mode d'emploi gratuit
Retrouvez gratuitement la notice de l'appareil GSIA.2 THERMA au format PDF.
| Type d'appareil | Lave-vaisselle |
| Capacité | Non précisé |
| Nombre de programmes | Non précisé |
| Consommation d'eau | Non précisé |
| Consommation d'énergie | Non précisé |
| Niveau sonore | Non précisé |
| Type d'installation | Pose libre ou encastrable |
| Type de séchage | Non précisé |
| Classe énergétique | Non précisé |
| Dimensions (HxLxP) | Non précisé |
| Poids | Non précisé |
| Type de commande | Manuelle avec boutons |
| Affichage | Non précisé |
| Sécurité anti-fuite | Non précisé |
| Matériau intérieur | Non précisé |
| Couleur | Blanc |
FOIRE AUX QUESTIONS - GSIA.2 THERMA
Questions des utilisateurs sur GSIA.2 THERMA
0 question sur cet appareil. Repondez a celles que vous connaissez ou posez la votre.
Poser une nouvelle question sur cet appareil
Téléchargez la notice de votre Lave-vaisselle au format PDF gratuitement ! Retrouvez votre notice GSIA.2 - THERMA et reprennez votre appareil électronique en main. Sur cette page sont publiés tous les documents nécessaires à l'utilisation de votre appareil GSIA.2 de la marque THERMA.
MODE D'EMPLOI GSIA.2 THERMA
Veuillez dire attentivement ce mode d'emploi. Observez avant tout le chapitre "Régles de sécurité".
Conserve ce mode d'emploi afin de pouvoir le consul-ter ultérieurement, et remettez-le à l'éventuel propriétaire ultérieur de l'appareil.

Ils doivent impératifement être respectés. Ce triangle d'advertissement et/ou les termes de signalisation "Attention!", "Prudence!" soulignant des indications qui sont importantes pour votre sécurité ou pour la capacité de fonctionnement de l'appareil.
- Ce symbole vous guide pas à pas dans la manipulation de cet apparéil.
- ...
- ...

Ce symbole précède des informations complémentaires concernant la manipulation et l'utilisation pratique de cet apparéil.

Ce symbole signale des conseils et des indications relatifs à l'utilisation économique et écologique de l'appareil.
Ce mode d'emploi contient des indications permettant d'éliminer soi-même des pannes qui pouraient évèn-tuellesment survenir. Voir chapitre "Aide en cas de panne".
Si ces indications ne devaient pas suffire, vous avez deux points de consultation chez lesquels on poursra vous aider:
- Le point de service après-vente à proximité de chez vous (voir chapitre "Service après-vente") ou

Vous y receivez une réponse à chaque question concernant l'équipement ou l'utilisation de votre apparéil. Bien entendu, vos désirs, suggestions ou critiques sont également bienvenus. Notre objectif est de poursuivre l'amélioration de nos produits et prestations de services au profit de notre clientèle.
- En cas de problèmes techniques, notre service après-vente se tient à tout moment à votre disposition (vous trouvezez les adresses et numérodes打电话 au chapitre "Service après-vente").
Veuillez également prendre en considération le chapitre «Service».
Apres vous avez pris connaissance du mode d'emploi, nous vous prions, de renvoyer la carte de garantie remplie le service après-vente à Mägenwil.
Table des matieres
Règles de sécurité 30
Description de l'appareil 32
Recommendations importantes 33
Conseils importants 33
Elimination 34
Avant la première utilisation 35
Remplissage du produit de rincege 35
Régler le dosage du produit de rinçage 35
Remplissage du sel de regénération 35
Réglage du dosage du sel de régénération 36
Le premier cycle de lavage 36
Corbeilles à vaisselle 37
Compartment à couverts 37
Corbeille à vaisselle inférieure 38
Corbeille à vaisselle supérieure 40
Remplissage du produit de lavage 42
Sélection et démarrage du programme 42
Fin du programme 43
Coupure de sécurité 43
Annuler ou terminer le programme 43
Pour economiser 43
Panne du reseau electrique 43
Tableau des programmes 44
Signalisation d'erreur 45
Déchéancement de la corbeille à vaisselle 45
Nettoyage et entretien 46
Ajouter du sel regénérant 46
Ajouter du produit de rinceage 46
Nettoyage du tamis grossier 46
Nettoyage du microfiltre 47
Nettoyage des buses des bras de rençage 47
Nettoyageextérieur 48
Appareils avec surface en acier inoxydable 48
Aide en cas de panne 49
Service 50
Avant de vous adresser au service après-vente 50
Voussoulez solliciter le service après-vente 50
Pièces de rechange 51
Charactéristiques techniques 52
Prescriptions 52
Indications pour tests comparatifs 53
Service après-vente 82
Point de vente de rechange 82
Garantie 82
ThermaPhon 83
Règles de sécurité
La sécurité de cet apparéil est conforme à la réglementation reconnaue en matière de technique ainsi qu'aux prescriptions de sécurité applicables. Néanmoins, nous estimons devoir vous familiariser avec les consignes de sécurité suivantes.
Installation
- Les raccordements électrique et hydraulique doivent être effectuels par un installeur concessionnaire.
- Veuillez rendre l'instantiateur attentif à l'importance des directives d'installation. En cas de déplacement ultérieur de l'appareil, les directives exactes de montage et d'installation pourront être commandées par téléphone auprès de notre service après-vente.
- Avant la mise en service, assurez-vous que la tension nominale et le type de courant figurant sur la plaquette signalétique de l'appareil correspondent à la tension nominale et au type de courant du lieu d'installation. L'ampérage des fusibles nécessaires figure dans les directives d'installation.
N'utilissez votre lave-vaisselle que pour l'utilisation auquel il est destiné
- N'utilisez votre lave-vaisselle que pour y laver de la vaisselle domestique. Si l'appareil est mal utilisé ou s'il est utilisé pour un autre usage que celui pour lequel il a été créé, le fabricant ne saurait être tenu responsable des dommages éventuels.
- L'observation de ce mode d'emploi, ainsi que des instructions d'installation, est la condition préalable à notre engagement de garantie.
Pour des raisons de sécurité, vous ne devez apporter aucune modification ou transformation, de chaque nature que ce soit, à votre lave-vaisselle
Avant la première utilisation
- Vérifier que votre lave-vaisselle n'a pas été endommagé pendant le transport. Ne raccordez jamais un apparil endommagé. Si votre lave-vaisselle est endommagé, contactez votre fournisseur.
- Le lave-vaisselle doit être installé et raccordé dans les règles de l'art. Pour prendre connaissance de tous les points à observer, veuillez consulter les directives d'installation.
Sécurité enfants
- Les emballages peuvent être dangereux pour les enfants (sachets, mousse de polyuréthanne, p. ex.). Ils peuvent sétouffer! Veillez donc à ne pas laisser d'emballages à portée des enfants.
- Les enfants ne sont pas nécessairement conscients des dangers liés à la mauvaise utilisation des apparèils électriques. Exercez la surveillance appropriée pendant que l'appareil est en fonctionnement et ne laissez pas vos enfants jouer avec le lava-vaisse.
- Les détergents peuvent avoir un effet caustique sur les yeux, la bouche, la gorge et ils peuvent même provoquer un étouffement! Conservez tous les détergents en lieu sûr, hors de portée des enfants.
- L'eau se trouvant dans votre lave—vaisselle n'est pas potable. Elle peut conténir des résidus de dédTangent. Veillez à ne pas vous éclabousser avec ces résidus caustiques, il y a danger de brûlure par acide! Tenez les enfants à l'écart lorsque la porte du lave—vaisselle est ouverte.
Votre lave-vaisselle au quotidien
- Ne faites jamais fonctionner chez lave-vaisselle, si le cordon d'alimentation électrique, le tuyau d'alimentation ou d'évacuation, le tableau de commande ou la plinthe sont endommages.
- En cas de panne, mettez l'appareil hors tension, retirez la fiche de courant de la prise, coupez le(s) disjoncteur(s) ou retirez le(s) fusible(s) du local. Fermez le robinet d'eau.
- N'ôtez jamais la fiche de la prise en tirant sur le cordon; saississez-le par la fiche.
- Disposez les objets longs et pointus ( comme les couteaux) avec la poignée vers l'avant dans le panier à vaisselle supérieur
- Àpres chaque ouverture de la porte, veuillez vous assurer que celle-ci soit à nouveau correctement fermée, car une porte ouverte peut devenir une source de danger.
- Ne vous appuyez pas ou ne vous asseyez pas sur la porte ouverte.
- Les réparations seront confiées exclusively à un atelier de service après-vente/agree par nos soins. De plus, seules des pieces de rechange d'origine devront être utilisées.
- Ne versez jamais le moindre solvant dans votre lave-vaisselle, vous risquez de provoquer une explosion!
- Avant d'employer un sel, un dédTangent et un produit de rincege spécial pour lave-vaisselle, vérifie bien que le fabricant de ces produits prévoit expressément leur'utilisation dans un lave-vaisselle domestique.
Risque lié au gel
- Si l'appareil raccordé est exposé à des températures inférieures au point de congélation, celui-ci devra alors être vidangé d'une manière appropriée par le service après-vente.
- Lors d'une livraison à partir de l'usine, il n'y a pas de risque de condélation!
Description de l'appareil
Lave-vaissette

Champ de commande

Recommendations importantes
Veuillez conserve r ce mode d'emploi soigneusement avec l'appareil, afin de pouvoir vous y referrer au besoin.
Si cet apparéil avait été vendu ou laissé à des tiers en cas de déménagement, veuillez vous assurer que ce mode d'emploi soit remis avec le lave-vaissette, afin que le nouveau propriétaire puisse s'informer sur le fonctionnement et les prescriptions de l' apparéil.
Les articles suivants ne sont conformes au lavage dans le lave-vaisselle que lorsquils portent explicitement la mention « approprié au lavage en lave-vaisselle»:
- Couverts avec manche en bois ou en corne, avec des parties collées; couverts en bronze; poèle avec manche en bois; articles en aluminium, cuivre, cristal, verre au plomb, plastique. En cas de doute, veuillez vous renseigner auprès du distributeur ou du fabricant de l'article respectif.
- Les couverts en argent et en acier inoxydable doivent être déposés séparément dans le组成部分 à couverts. Si les deux matériaux viennent en contact, une réaction chimique peut provoquer une décoloration de l'argent.
- La porte de l'appareil ne devrait pas etre ouverte durant le fonctionnement. Un dispositif de sécurité déclenché le lave-vaisselle si la porte avait etre ouverte par inadvertance.
Installation
- Nous recommendons le montage d'un filtré à eau directement sur le robinet d'arrêt, dans les régions possédant une durée élevée de l'eau, ainsi que dans les zones d'habitation nouvellement bâties. Le filtré à eau menage votre machine et se laïsse nettoyer facilement. Veuillez demander la pose d'un tel filtré à votre installerateur.
Durant l'utilisation quotidienne
Entretenez et nettoyez la machine régulière.
Vous éviterez ainsi de couteuses interventions du service après-vente. Veuillez également prendre le chapitre "Nettoyage" en considération.
- N'utilise pas de produits pour laver la vaisse à la main respons. de produits de lavage industriels, ou encore des nettoyants.
- Si le lave-vaisse doit rester sans surveillance durant une période prolongée, par ex. durant les vacances, fermez le robinet d'eau. Assurez-vous que l'interrupteur principal est déclenché.
Conseils importants
Evitez les gaspillages et protégez l'environnement
- Rassemblez votre vaisselle sale, rangez-la dans le lave-vaisselle et ne la lavez que lorsque les deux paniers sont pleins, en veillant à ne jamais les surcharger.
- Sélectionnez toujours le programme correspondant au type de vaisselle et au degré de salissure (Voyez le chapitre "Tableau des programmes").
- N'utilisez pas trop de détermagent et de produit de finçage. Respectez les doses recommandées dans leprésent-manuel et par les fabricants des produits.
- Rassurez vous que le dispositif de déminéralisation soit régle correctement.
Vaissele inadaptée pour un lavage en machine
Les articles suivants ne convennent pas:
- Planches et plats en bois
- Plastiques ne résistant pas à la chaleur
- Verre en cristal renfermant du plomb
- Ustensiles en etain ou en cuivre
Vaissele ou couverts collés - Anciens couverts assemblés avec des colles sensibles à la chaleur
- Pièces en acier non inoxydable
- Couverts avec des manches en bois, corne, porcelain et nacre
- Objets d'art
Vaisse l'ouant, sous certaines conditions, etre lavee en machine
Les articles suivants demandent certaines précautions:
- Ne lavez les articles en terre cuite que si le fabri-cant l'autorise explicitement.
- Certains décor points sur le vernis peuvent s'estomper au fil des lavages.
- Les éléments en argent et en aluminium ont tendance à se décolorer pendant le lavage en machine.
- De nombreux résidus d'aliments (blanc et jaune d'oeuf, moutarde, etc.) provoquent souvent des décolorations ou des taches sur l'argenterie. Les couverts et la vaisse en argent doivent donc tous jours être débarrassés des restes d'aliments s'il ne sont pas lavés immédiatement après le repas.
- Certains types de verres peuvent s'opacifier après de nombreux lavages. Il est donc préféable de continuer à laver à la main vos verres précieux.
A l'achat de nouveaux couverts ou de nouvelle vaisse, vérifie bien qu'ils sont précédus pour le lavevaisselle.
Elimination
L'emballage
Le transport de nos lave-vaisselezécessite un emballage protecteur efficace. A cet effet, nous nous limitons au strict nécessaire.
Tous les matériaux d'emballage utilisés sont recyclables et sans danger pour l'environnement.
Les parties en carton sont fabriquées à partir deieux papiers,les parties en bois sont non traitées.Les matrières plastiques sont identifiées comme suit:
«PE» pour polyéthylène. Ex.: feuilles plastiques pour emballage
«PS» pour polystyrene. Ex.: capitonnage (sans CFC)
«POM» pour polyoxyméthylène. Ex.: attaches en plastique.
La récapération et le retraitement de l'emballage permettent d'économiser les matières premières et de réduire le volume des déchets. Remettez votre emballage au centre de recyclage le plus proche. Vous obtiendaç son adresse auprès de la mairie de votre ville.
L'ancien apparéil
Si vous souhaitez vous débarrasser de votre apparéil un jour, rendez-le totalément inutilisable avant.

Avertissement! des enfants peuvent s'enfermer en jouant à l'intérieur de l'appareil (risque d'étouffement) ou bien se retrouver dans des situations mettant leur vie en danger. C'est pourquoit, vous devrez couper le cable d'alimentation et lemettre de côté. Détruirez le système de verrouillage de la porte afin que cette-ci ne ferme plus.
Identification des parties plastiques pour un recyclage par catégorie:
Toutes les parties en plastique de l'appareil sont désignées par une abréviation normalisée au niveau international (ex.: «PS» pour polystyrene). Cela permet par conséquent de trier les déchets plastiques par catégorie afin d'effectuer un recyclage sans danger pour l'environnement.
Apportez votre apparéil hors service au centre de recyclage le plus proche ou bien votre revendeur spécialisé qui vous le reprendra contre une petite participation aux frais.
Avant la première utilisation
Veuillez effectuer les étapes décrites ci-après avant d'utiliser le lave-vaisse pour la première fois.
Remplissage du produit de rinceage
- Lorsque l'indicateur de produit de rinceage s'allume, ouvre le réseau de produits de rinceage en tournant le couvercle vers la gauche (A).
- Remplir jusqu'au repère «max.» (B) avec le produit de rinceage. Ne pas remplir le recipient au-delà du repère!
- Refermer le écipient.
- Eliminer de suite les gouttes de produit de rinçage éventuellesment tombées en dehors du réseau et pouvant sinon provoquer la formation de mousse.
La lampe-témoin du produit de rincege s'eteint.
Régler le dosage du produit de rinceage
- Ouvrir le écipient de réserve en dévissant le bouchon vers la gauche (A).
- Tourner la flèche de dosage (B) vers la gauche à l'aide d'une piece de monnaie ou d'un tournevis, pour augmenter le débit. Le réglage en usine se fait sur le niveau 3. (réglage idéal: niveau 2-4)
- Fermer le écipient de réserve.
Pour cela prenez en considération également le chapitre "Aide en cas de panne".
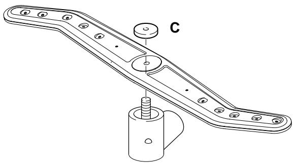
Remplissage du sel de régénération

Ne jamais replir le recipient pour Sel de régénération avec un produit de rinçage ou de nettoyage!
N'utiliser que du sel regénérant pour le lave-vaiselle.
Remplir le sel de la maniere suivante:
- Ouvrir le bouchon (A) du récipient à Sel.
- Remplir le écipient avec de l'eau (B).
- Ajouter 1 kg de sel (C) de régénération. Env. 1 l d'eau sera alors absorbé.
- Eliminer le sel de la surface du joint d'étanchéité.
- Verrouiller le salarié à Sel en tournant le bouchon jusqu'en butée.
- Immédiatement lancer le programme «préincage» afin d'éliminer les évventuels restes de sel.
La lampe-témoin de Sel ne s'éteint qu'après 1 à 2 cycles de lavage.





Réglage du dosage dusel de régénération
Le dosage du sel de régénération pour la déminéralisation de l'eau doit être ajusté en fonction du degré de dureté de l'eau utilisée. En cas de dosage trop faible, des taches calcaires peuvent se déposer sur la visselle et les couverts. Le bureau local des forces motrices de votre domicile pourrait vous renseigner quant au degré de dureté de l'eau.
Si vous avez un apparéil pour la déminéralisation de l'eau dans votre appartement, il n'est pas nécessaire de mettre du sel de régénération dans le lave-vais-selle. Dans ce cas la lampe–fémenin de sel est allumée en permanence.
Procedure de réglage du dosage:
A l'aide d'une piece de monnaie ou d'un tournevis (Nr.4), tourner le bouton de réglage pour déminéralisation de l'eau jusqu'à ce que la flèche sur le bouton indique le niveau désiré de 1 à 5:

La flèche doit se trouver face à un chiffre et la position doit encocher de manière perceptible.
- Consommation de sel: En fonction du réglage, 1 kg de sel de régénération est suffisant
Jusqu'à 12,5 degrés de durété française (fH) (ce qui correspond à 7 degrés de durété allemande (dH))
Niveau 2:
Pour des degrés de durété française compris entre 12,5 et 25 (fH) (ce qui correspond à des degrés de durété allemande compris entre 7 et 14 (dH))
Niveau 3:
Pour des degrés de durété française compris entre 25 et 37,5 (fH) (ce qui correspond à des degrés de durété allemande compris entre 14 et 21 (dH))
Niveau 4:
Pour des degrés de durété française compris entre 37,5 et 50 (fH) (ce qui correspond à des degrés de durété allemande compris entre 21 et 28 (dH))
Niveau 5:
Pour des degrés de durété française supérieurs à 50 (fH) (ce qui correspond à des degrés de durété allemandesupérieurs à28 (dH))
Le premier cycle de lavage
- Veuillez laver la première fois avec le programme intensif.

Corbeilles à vaissette

Les illustrations you orientent sur la disposition optimale du chargement de votre lavevaisselle.

Eliminez les restes de nourriture importants avant de-disposer la vaisselle dans la corbeille, sans toutefois rincer à chaud, ni employer de produit de lavage à main.
Compartment à couverts
Déposez les couverts dans la corbeille avec les manches vers le bas.

À l'exception de ceux possédant un manché très fin, et pouvant bloquer le mouvement du bras de rincege en traversant la corbeille.
Les surfaces des couverts ne devraient pas entre en contact. Toutes les couverts devraient etre accessibles au jet d'eau du bras de rinçage.

Des couverts et des recipients hauts dans la zone de la poignée de la corbeille à vaissele ne doivent pas empêcher le couvercle du réseau pour le produit de lavage d'être ouvert!
Important:
Les couverts longs doivent être déposés dans la corbeille à vaisselle supérieure. Disposez les objets longs et pointus ( comme les couteaux) avec la poignée vers l'avant dans le panier à vaisselle supérieur.

Corbeille à vaisseille inférieure
Les pièces plus grandes et très sales sont nettoyées minutieusement dans la corbeille inférieure.
- Tirer complètement la corbeille.
- Placer dans cette corbeille les pièces volumineuses et lourdes (assiettes, plats, marmites...).

Ne modifies pas la position inclinée de la poignée du panier, sous peine de risquer des problèmes lors de l'ouverture du recipient à produit de lavage.
Ratelier amovible pour assiettes, à droite, 10 positions
Pour une utilisation rationnelle de la place dans la corbeille, le râtelier pour assiettes peut être placé dans deux positions différentes. En direction longitudinale ou transversale.
- Dégager le rátelier pour assiettes en tirant la poignée (A) vers le haut.
- Introduire ensuite le râtelier pour assiettes dans le renforcement longitudinal (D), leMETRE en position transversale, puis presser la poignee vers le bas (B) jusqu'à ce qu'elle s'engage.
Le râtelier pour assiettes peut être adapté lateralement de manière variable (C), mise en place comme décrit ci-dessus.




Garniture de râtelier amovible pour assiettes, 5 positions
Pour les assiettes creuses ou les bols, une partie du rátelier gauche peut être retiree.
- Dégager le rátelier pour assiettes en tirant la poignée (A) vers la haut.
La garniture de râtelier pour assiettes peut aussi être montée à droite, à la place du râtelier à 10 positions pour assiettes (B).
Ratelier pour assiettes rabattable à gauche
Pour les grands bois et les casseroles, les ráteliers peuvent être rabattus.
- Retirer la garniture de rátelier à 5 positions pour assiettes et la corbeille à couverts.
- Soulever légèrement le rátelier pour assiettes, et rabattre vers la droite sur le fond de la corbeille.
Le râtelier à assiettes place transversalement à l'avant droite est optimal pour les petites assiettes plates d'un diamètre de 170-210 mm.

Ne pas placer des recipients creux en avant à droite dans la corbeille à vaisselle inférieure, le recipient pour le produit de lavage ne doit pas être empêché de s'ouvrir.




Corbeille à vaisselesupérieure
Les petites pièces de vaisse lles fragiles sont nettoyées avec menagement dans la corbeille à vaisse supérieure.
- Tirer la corbeille à vaisse supérieure jusqu'à la butée.
- Ranger les petites et légères pièces de vaisselle fragiles comme souscoupes, tasses, verres ainsi que les pièces en plastique résistantes aux écarts thermiques dans la corbeille à vaisselle supérieure.
Etagère à tasses réglabre
Pour les verres à pied, accrocher l'appuie-verres sur la position droite (fig. A) puis relever.
Pour les verres cylindriques hauts, accrocher l'appuie-verres sur la position gauche (fig. B) puis relever.
Les verres peuvent également être placés sur les tiges redressées (fig. C)
Pour décharger ou en cas de non-utilisation, rabattre l'appuie-verres sur la droite.




Supports de tasses régables
Disposer de manière décalée les éléments régés, au-dessus et au-dessous des supports de tasses rabattables, afin que le jet de giclage puisse atteindre toutes les pièces.
Les verres à pied peuvent être accrochés dans les évidements du support de tasses.

Le support de tasses avant peut être positionné sur 2 niveaux différents.


La corbeille à vaisselesupérieure est ajustable enhauteur sur la droite
Ajuster la corbeille supérieure à la hauteur désirée, en fonction de votre vaissette:

Egalement possible lorsque la corbeille est chargée.
Remonter:
- retirer la corbeille
- soulever à droite
- tirer vers l'avant jusqu'à la butée, puis engager dans la position supérieure.
Descendre:
- retirer la corbeille
- soulever à droite, puis descendre en position basse

Avant de rincer, contrôle si les bras giclleurs tournent librement.



Charge optimale corbeille supérieure: position haute

Charge optimale corbeille supérieure: position basse

Ranger les grandes assiettes en position oblique. Corbeille à vaisseille inférieure
Corbeille inférieure:
Devant à droite ne placer que des assiettes plates jusqu'à un diamètre de 210 mm au maximum.
Remplissage du produit de lavage

Ne jamais utiliser des produits pour laver la vaisselle à la main.

N'utiliser que des produits de lavage conventionnels et appropriés aux lave-vaiselles menagers.
Le couvercle du écipient pour produit de lavage est normalement ouvert.
Si celui est fermé:
- Le écipient s'ouvrira après avoir pressé la touche du couvercle (A) vers l'extérieur.
- Remplir le écipient sec (B) avec du produit de lavage vaisselle, selon les indications du fabricant de ce produit de lavage. Ne placer des pastilles dans le écipient de produit de lavage ou dans la corbeille à couverts, que selon les instructions du fabricant.
- Fermer le récipient (C) pour produit de lavage, en pressant sur le couvercle.
- Vous pouvez ajouter du produit de lavage (D) dans le creux du couvercle pour les programmes avec prélavage chaud.

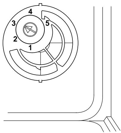
Sélection et démarrage du programme
- Rentreit totalement les corbeilles à vaisselle.
- Relever la porte et presser.

Le mécanisme de fermeture de la porte doit se verrouiller pour que la machine puisse démarrer.
- Presser sur l'interrupteur principal.

Les quatre lampes témoin doivent être allumées sinon il n'est pas possible d'effectuer une entrée (voir également fin du programme).
4. Sélectionnez le programme en appuyant une ou plusieurs fois sur la touche de programme correspondante (voir tableau des programmes).
La lampe témoin du programme sélectionné s'allume pendant 5 secondes avant le début du processus de lavage.
5. Durant ces pendant 5 secondes, on peut changer de programme ou selectionner en plus Eco.
Après chaque pression d'une touche, il vous reste 5 secondes pour procéder à une correction eventuelle.
N'ouvrez plus la porte après le démarrage du programme! Pour éviter des brûlures et des dégats aux meubles pour cause de vapeurs s'échappant de l'appareil.

N'ouvre la porte que quand la lampe témoin pour le programme correspondant clignote en cadence d'une seconde.
Fin du programme
La lampe témoin du programme sélectionné en dernier lieu clignote en cadence d'une seconde.
- Arrêtez la machine en actionnant l'interrupteur principal.

Tant que la lampe témoin du programme choisi ne clignote pas le programme n'est pas terminé (voir tableau des programmes pour les temps du programme).
Coupure de sécurité
Une coupure de sécurité protège contre un démarrage repété par inadvertance après la fin du programme. Pour une nouvelle programmation le lave vaisselle doit être arrêté et ensuite remis en marche, ou la porte doit être ouverte et ensuite refermée.

La coupure de sécurité est levée des que toutes les quatre lampes tiemoin de programme sont réallumées.
Annuler ou terminer le programme
Appuyez pendant pour au moins 3 secondes sur la touche de selection de programme. Le programme sélectionné est effacé et l'eau présente est evacuée par pompage.
La lampe témoin du programme arrêté clignote en cadence d'une seconde tant que la pompe de vidange est encore en marche.
Lorsque l'eau a été pompée, les quatre lampes témoin de programme s'allument. Le lave-vaisselle est de nouveau prét à fonctionner.
Pour économiser
Avec la touche Eco, on diminue la température de lavage, ce qui diminue la consommation énergétique pour le chauffage. La touche d'économie d'énergie peut être utilisée avec tous les programmes de lavage.
Panne du réseau électrique
En cas de panne secteur ou de déclenchement involtaire de l'interrupteur principal, toutes les valeurs régées sont conservées.

| Tableau des programmes | Préavage | Nettoyage | Ringage intermédiaire | Ringage final | Séchage | Durée |
| Normal + e + e + 5 | Programme quotidien recommendé Vaisse lernormalement à fortement souillée Programme le plus économique pour les salissures les plus tenaces. (Programme avec effet de séchage forttement prolongé.) | 50°C 50°C | 68°C 68°C | 70 min. 2.5 h |
| Intensif | Vaissefortement à très fortement souillée | 47°C | 68°C | 73°C | 86 min. | ||
| + e + e | Vaissefortement souillée | 42°C | 63°C | 68°C | 81 min. |
| Bref | |||||
| Vaisseletrés lègèrement à lègèrement souillée | 45°C | 65°C | |||
| + e Vaisseletrés lègèrement souillée | 40°C | 60°C | |||
| 38 min. |
| Prélavage Rinçage froid | 5 |

Les données de programmation diffèrent en fonction du mode de raccordement, des variations de tension du réseau électrique, de la température d'entrée de l'eau, de la pression de l'eau et de la charge.
Pour les lavages de test selon la norme de vérification EN 50 242 (voir sur page 53) un encrassement extrèment tenace est utilisé qui se produit que rarement pendant l'usage quotidien.
Nous proposons donc deCHOISIR un programme qui est adapté à l'encrassement selon ce tableau. Des résidus desschés nécessitent le plus souvent un programme plus fort.
Signalisation d'erreur
L'électronique du lave-vaisselle peut elle-même dé-tector les erreurs et les afficher. Si une erreur survient, une des lampes tiemens de programme clignote.
Veuillez noter ces affichages avant de prendre contact avec le service après-vente.
La signalisation d'erreur s'annule des que l'interru-.
teur principal a ete declenché.
Signalisation d'erreur et cause possible
- L'indicateur de programme "Normal" clignote rapidement.
= robinet d'eau fermé ou tamis d'alimentation obstrué.
L'indicateur de programme "Intensif" clignote rapidement.
= tuyau d'évacuation ou siphon bouché.
- L'indicateur de programme "Bref" clignote rapidement.
= pression d'eau trop faible, conduite d'alimentation ou tamis d'alimentation obstrué.
- L'indicateur de programme "Prélavage" clignote rapidement.
= demander l'intervention du service après-venture.
L'indicateur de programme "Eco" clignote rapidement.
= demander l'intervention du service après-venture.

Déchéancement de la corbeille àVAISSELLE
Après déroulement du programme de rinceage:
- Décharger la corbeille inférieure en premier.
- Décharger ensuite la corbeille supérieure, afin qu'aucune goutte d'eau ne puisse tomber sur la vaissette de la corbeille inférieure.

Contrôler le tamis grossier après chaque cycle de nettoyage, et le nettoyer au besoin.

Nettoyage et entretien
Ajouter du sel régissant

Ne jamais replir le écipient à Sel de régénération avec un produit de rinçage ou de nettoyage!
Le récipient à Sel de régénération pour la déminéralisation de l'eau devra être rempli lorsque la lampetémoin s'illumine.
Procéder comme indiqué du chapitre “Avant la première utilisation” à la page 35, sans cependant devoir ajouter de l'eau.

Après le remplissage, immédiatement encl寒cher le programme « prélavage», afin de rincer les évventuels dépôts de sel.
Ajouter du produit de rençage
Lorsque le témoin du produit de rinceage s'allume, il faut rajouter du produit de rinceage.
Procéder comme décrit sur le chapitre "Avant la première utilisation" à la page 35.

Eliminer de suite les gouttes de produit de rinceage eventuellesment tombées en dehors du recipient et pouvant sinon provoquer la formation de mousse.
Nettoyage du tamis grossier
Contrôler le tamis grossier après chaque cycle de nettoyage, et le nettoyer au besoin.
- Simplement tirer le tamis grossier vers le haut,
- le nettoyer sous l'eau courante, et le remetre en place.



Nettoyage du microfiltre
Le microfiltre doit être nettoyé de temps en temps:
- Déverrouiller le filtré en tournant le levier vers la droite.
- Retirer le microfiltre et le nettoyer sous l'eau courante à l'aide d'une Brosse.
- REPLACER le microfiltre dans son socle et le verrouiller en tournant le levier vers la gauche jusqu'à ce qu'il s'enclenché perceptiblement (flèches).

Ne pas pousser la manette vers le haut. Si le tamis ne s'enclenché pas, les buses des bras de rinceage risquent d'être bouchées.

1.

2.

3.

Nettoyage des buses des bras de rinçage
Contrôr régulierrement si les buses des trois bras de rincege ne sont pas obstruées par des restes d'aliments. Si nécessaire, nettoyer les buses sous l'eau courante à l'aide d'un fil de fer ou d'une aiguille.

Tout en veillant à ne pas endommager l'orifice.
Bras de finçage supérieur
Retirer le bras de rinceage supérieur:
- Dévisser la vis de fixation (A) en la tournant vers la gauche.
- Retirer le bras de rincage de l'axe de rotation.
- Nettoyez régulièrement le bras de rincege et les vis de fixation.
- Démoner le bras de rincege et le bloquer en tournant la vis (A) vers la droite.
Bras de rinceage median
- Retirer le bras giclaur median en lui imprimant un mouvement de rotation latéral.
Lebras derinçage en deux parties est maintenu par un ressort de serrage (B).
- Pour le montage, presser le bras giclaur latorial vers le haut, jusqu'à ce qu'il s'engage de manière perceptible.


Bras de rinceage inférieur
Retirer le bras de rincege inférieur:
- Dévisser l'écrou de fixation (C) en le tournant vers la gauche.
- Retirer le bras de rincage de l'axe de rotation.
- Nettoyer les buses.
- Remonter le bras de rincege et le bloquer en tournant l'écrou de fixation (C) vers la droite.

En secouant le bras de rinceage entièrement séché les résidus tenaces peuvent être sortis.
Nettoyage extérieur
Les surfaces externes de la machine, et plus particulièrement son panneau de commande devraient être nettoyées régulierement à l'aide d'un chiffon doux et humide.
Seuls des produits de nettoyage neutres, tels que pour le lavage de la vaisse à la main devront être utilisés. Des solvants organiques tels que l'acétone, des diluants pour peintures, etc., ne doivent être utilisés enaucun cas!
Appareils avec surface en acier inoxydable
Pour la face avant en acier inoxydable, nous recom-mandons un nettoyage intense et un entretien à inter-valles réguliers, avec des produits appropriés à l'acier inox.
Veuillez observer les instructions relatives à l'emploi de produits de nettoyage et d'entretien. Les produits égratignants et abrasifs ne sont pas appropriés.
Applique le produit de nettoyage sur un chiffon humide avant d'essuyer, ensuite laver la surface en mouillant, et la faire secher en la frottant avec un chiffon sec.
Lors du nettoyage, veillez à ce que la finition de la surface en acier inoxydable ne se fasse pas contre la structure (les fines lignesizontales); pas de mouvements circulaires!

Aide en cas de panne
Avant de faire appel au service après-vente, vérifie d'abord si vous ne pouvez pas remédier vous-meme au problème en suivant les instructions ci-dessous. Si elles ne suffisent pas, n'hésitez pas à contacter le service après-vente.
La pompe d'évacuation tourne en permanence, même si la machine est éteinte.
Le dispositif de protection contre les inondations s'est enclenché. Fermez le robinet d'alimentation en eau. Retirez ensuite la fiche d'alimentation. Dans le cas d'un raccordement fixe, foupez le(s) disjoncteur(s) ou otez le(s) fusible(s). Appelez le service après-vente pour identifier la panne.
Le programme ne démarre pas.
- Allumées les quatre lampes témoin? (Voir Sélection et démarrage du programme).
- Les fusibles du tableau électrique sont-ils en bon état? Notre apparéil est-il branché?
La porte est-elle bien fermée? Si non, fermez-la à fond jusqu'à ce le mécanisme de fermeture de la porte se verrouille.
L'eau n'arrive pas.
Le robinet d'eau est-il complètement ouvert?
- Le robinet d'eau est-il bouché? Ouvrir et fermer plusieurs fois le robinet d'eau.
Le filtré situé dans le raccord du flexible au robinet est-il propre? Si nécessaire, nettoyez le filtré.
- Le flexible d'alimentation est-il plié? Vérifiez le flexible sur toute sa longueur.
- La pression minimale d'écoulement de l'eau est—elle de 1 bar?
L'eau n'est pas evacuée
Le tuyau d'évacuation subit-il une compression? Vérifier le placement correct du tuyau (voir chap-ritre «Écoulement de l'eau»).
- Le siphon est-il bouché? Vérifier la non obstru-tion du siphon (du local).
La vaisse n'est pas propre
- Avez-vous sélectionné le programme approprié au type et au degré de salissure de la vaisse? (Voir le "Tableau des programmes").
- Avez-vous disposé la vaisselle de sorte que les jets d'eau puissant atteindre toutes les faces, interreures et extérieures, de la vaisselle? Les paniers ne doivent pas être surcharges.
- Les bras n'ont-ils pas eté bloqués par de la vais-selle ou des couverts?
- Est-ce que les giclleurs des bras de rinçage sont-ils propres?
- Tous les filtres du fond sont-ils propres? Sont-ils installés correctement?
Avez-vous mis assez de dédTangent? -
Le flexible d'évacuation est-il correctement installé?
-
Est-ce que le siphon du côté bâtiment est-il obstrué?
- Y a-t-il encore du sel regénérant dans le recipient de réserve du sel? Sans sel, l'eau n'est pas adoucie et des dépôts de calcaire peuvent se former sur la vaisselle et dans la machine.
- Avez-vous régle l'adoucisseur en fonction de la durée de votre eau de distribution?
La vaisse n'est pas sèche et n'a rien éclat.
- Y a-t-il encore du produit de rinceage dans le réservoir?
Le dosage du sel régencerant est-il correctement régle?
Les verres et la vaisselleprésent des stries, des bandes, des taches laiteuses ou des aureoles bleuâtres.
La dose de produit de rincege est trop importante. Réduisez la dose.
Les verres et la vaisse sont constellés de taches d'eau séchée.
La dose de produit de rinceage est trop faible. Augmentez la dose.
- Le dispositif de fermetre du récipient à Sel est-il bien fermé?
Taches de rouille à l'intérieur du lave-vaisselle.
- L'intérieur du lave-vaisselle est en acier inoxydable. Si des taches de rouille apparaisent, elles sont d'origine extérieure (rouille dans l'eau, oxydation des casseroles, couverts, etc.). Eliminez ces taches au moyen d'un produit du commerce pour l'entretien de l'acier inoxydable.
- Le programme "Prélavage" a-t-il été lancé immédiatement après avoir fait le plein en Sel?
Service
Le service après-vente Thermo met un personnel qualifié à la disposition de ses clients.
Avant de vous adresser au service après-vente
Assurez-vous que vous n'avez fait aucune erreur de manipulation.
Regardez à "Aide en cas de panne".
Vous foulez solliciter le service après-vente
-
Notez les indications suivantes que vous trouvez sur la plaque signalétique de votre apparéil:
-
Numéro de série
Désignation de modele
N° de produit -
ainsi que des indications d'erreur éventuelles à l'affichage
Veuillez toujours indiquer ces données si: -
vous demandez l'intervention du service après-vente
- vous commandez des pieces de rechange ou des accessoires
-
vous avez des questions d'ordre technique
-
Notez minutieusement vos observations, vous simplifierez ainsi l'analyse préliminaire et le travail de nos techniciens.
- Composez le numéro de service 0848 848 999. Voitre appel sera automatiquement devié vers le point de service le plus proche.
- Soyez là lorsque le technicien seprésentera à votre domicile, car il a besoin d'informations.


Désignation de modulo
Pièces de rechange
Désignation
No. de pieces de rechange
- Bras de rincege supérieur 153 0306-00/8
- Palier du bras de rinçage
supérieur 153 0142-02/3 - Bras de rincavage médian (jeu complet) 153 0272-00/2
3.1 Joint 8996461238-20/7
3.2 Tubeliaison (n'est pas disponible comme piece détachée, voir pos.3)
3.3 Palier de bras gicleur, en 2 parties 899 646 1237-86/0
3.4 Ressort de serrage 153 0756-00/4
3.5 Bras de rincage (n'est pas disponible comme piece détachée, voir pos.3) - Ecrou et blocage du bras de rinceage 150 2356-00/7
- Bras de rincage inférieur 153 0859-00/6
- Corbeille supérieure complète 153 0256-04/7
6.1 Compartment pour tasses 153 0863-01/6
6.2 Soutien pour verres 153 0653-01/1 - Corbeille inférieure complete 153 0257-03/7
7.1 Corbeille à couverts compl. 153 0699-00/6
7.2 Rátelier à assiettes, 10 positions 153 0644-01/0
7.3 Rátelier à assiettes, 5 positions 153 0645-01/7 - Support de rouleau inférieur complet 153 0216-01/7
- Joint d'étanchéité de porte 153 0237-02/1
- Tamis grossier 153 0051-00/0
- Tamis fin avec microfiltre 153 0217-01/5
- Joint d'étanchéité récipient produit de lavage 153 0565-00/9
- Capuchon pour amenée d'eau 153 0166-00/6
- Couvercle du récipient à Sel 805 0135 49-00/3

Le cable de raccordement électrique ne doit être échangé que par un installateur concessionnaire ou par un de nos collaborateurs du service après-vente.
Ersatzteilverkauf:
Caractéristiques techniques
| Dimensions | Largeur Hauteur Profondeur max. Profondeur max. avec porte ouverte | 54.6 cm 75.9 cm 57.0 cm 114.5 cm |
| Tension de service Fréquence | 230 V 50 Hz | |
| Puisance absorbée | Pompe de circulation | 150 W |
| Puisance absorbée | Corps de chauffe | 2000 W |
| Puisance absorbée totale | 2150 W 10 A | |
| Pression d'eau floire ou chaude jusqu'à max. 65°C | min. max. | 1 bar (eau courante) 10 bars |
| Capacité de charge | Couverts normalisés CEI | 11 |
| Valeurs d'exploitation Intensif Intensif + e | Energie (kWh) 1,6 1,3 | Eau (l) 16 16 |
| Normal Normal + e | 1,1 1,0 | 16 15 |
| Bref Bref + e | 1,0 0,8 | 14 14 |
- 1 couvert standard comprend:1 assiette à soupe, 1 assiette plate, 1 assiette à dessert, 1 sous-tasse, 1 tasse, 1 verre, 1 couteau, 1 fourchette, 1 cuillère à soupe, 1 cuillère à dessert, 1 cuillère à café.
Prescriptions

Cet apparéil est conforme aux directive CE
73/23/CEE du 19.02.1973 (Directive sur laasse tension)
89/336/CEE du 03.05.1989 (Directive CEM y compris directive de modification 92/31/CEE)
90/683/CEE.
Indications pour tests comparatifs

Avant les tests, le réservoir de Sel regénérant de l'adoucisseur et le réservoir de produit de rincege doivent être entièrement replis.
Programme de comparaison:
Normal + Eco
Capacité: 11 couverts standard
Dosage de produit de nettoyage:
27,5 g dans le réservoir
de produit de nettoyage
Dosage de produit de rençage:
la position 6
Exemple de disposition de la vaisselle

Corbeille à vaisselle
supérieure en position inférieure (abaissée).

Kundendienst
Service après-vente
Nous octroyons sur chaque produit Therma une année de garantie à partir de la date de livraison ou de la mise en service. Les pieces défectueuses sont réparées ou remplaces gratuitement. Notre garantie couvre les frais de main-d'oeuvre et de déplacement, ainsi que les pieces de rechange.
L'usure ou les dommages causés par des influences extérieures, des cas de force majeure, l'intervention de tiers ou pour des dommages des à l'inobservation des mode d'emploi ne sont pas couverts par la garantie.
Garanzia
Le service d'information téléphonique de Thermo
Lundi à vendredi de 09.00 – 12.00 Uhr
Pour renseignements, conseils et «astuces» concernant l'utilisation de vos apparèils menagers.
Une prestation de service à votre disposition chaque jour pour toutes questions touchant aux apparciels menagers.
Appelez ThermoPhon par ex-ample pour:
- renseignements rapides concernant l'utilisation des apparèils
- conseils judicieux pour l'entretien et les soins à apporter aux apparèils menagers
- «astuces» utiles pour la cuisson en général, la cuisson au four, l'aération, la réfrigération et le rinçage
- conseils compétents pour lechioix d'un apparéil correspondant à vos désirs
Notice Facile