GSI GAMMA.1 - Lave-vaisselle THERMA - Notice d'utilisation et mode d'emploi gratuit
Retrouvez gratuitement la notice de l'appareil GSI GAMMA.1 THERMA au format PDF.
| Type d'appareil | Lave-vaisselle |
| Capacité | 12 à 15 couverts |
| Nombre de programmes | 5 à 7 programmes |
| Consommation d'eau | 10 à 15 litres par cycle |
| Consommation énergétique | Non précisé |
| Niveau sonore | 45 à 55 dB |
| Type d'installation | Pose libre ou encastrable |
| Type de séchage | Condensation |
| Type de commande | Mécanique ou électronique |
| Affichage | Non précisé |
| Protection anti-fuite | Oui |
| Type de panier | Panier supérieur et inférieur réglables |
| Départ différé | Oui |
| Couleur | Blanc ou inox |
| Dimensions (HxLxP) | Non précisé |
| Poids | Non précisé |
FOIRE AUX QUESTIONS - GSI GAMMA.1 THERMA
Questions des utilisateurs sur GSI GAMMA.1 THERMA
0 question sur cet appareil. Repondez a celles que vous connaissez ou posez la votre.
Poser une nouvelle question sur cet appareil
Téléchargez la notice de votre Lave-vaisselle au format PDF gratuitement ! Retrouvez votre notice GSI GAMMA.1 - THERMA et reprennez votre appareil électronique en main. Sur cette page sont publiés tous les documents nécessaires à l'utilisation de votre appareil GSI GAMMA.1 de la marque THERMA.
MODE D'EMPLOI GSI GAMMA.1 THERMA
Nous vous remercions d'avoir porté votrechoix sur un lave-vaisselle Therma. Vous misez ainsi sur la qualite et la durabilité.
Ces instructions pour l'emploi vous permetront de découvertir votre lave-vaisselle pas à pas, et d'utiliser ses possibilités de manière optimale. Avant la première mise en marche, vous devriez au moins avoir parcouru le chapitre «Avant la première mise en marche». Nous vous recommendons d'entreposer ces instructions pour l'emploi à proximate du lave-vaisselle, afin de l'avoir à portée de main en cas d'ambiguité.
Table des matières
F
Pourvoiresecurite 28
Lampes-témoin et éléments de commande 29
Recommendations importantes 30
Conseils importants pour la bonne utilisation de votre lave-vaisselle 30
Elimination 31
Avant la première utilisation 32
Remplissage du produit de rincege 32
Régler le dosage du produit de rinceage 32
Remplissage du sel de regénération 32
Réglage du dosage du sel de régénération 33
Le premier cycle de lavage 33
Les corbeilles àVAISSelle 34
Compartment à couverts 34
Corbeille à vaisselle inférieure 35
Ratelier amovible pour asiettes, à droite, 10 positions 35
Garniture de râtelier amovible pour assiettes, 5 positions 35
Ratelier pour assiettes rabattable a gauche 36
Corbeille à vaisselle supérieure 36
Etagère à tasses régiable 36
Supports de tasses régibles 36
La corbeille à vaisselle supérieure est ajustable en hauteur sur la droite 37
Remplissage du produit de lavage 38
Sélection et démarrage du programme 38
Affichage de programmes 39
Durée du programme 39
Fin du programme 39
Coupure de sécurité 39
Démarrage en différé 39
Pour economiser 40
Tableau des programmes 41
Panne du réseau électrique 42
Signalisation d'erreur 42
Déchéancement de la corbeille à vaisselle 42
Nettoyage et entretien 43
Ajouter du sel regénérant 43
Ajouter du produit de rinceage 43
Nettoyage du tamis grossier 43
Nettoyage du microfiltre 43
Nettoyage des buses des bras de rinceage 44
Bras de rinceage supérieur 44
Bras de rinceage median 44
Bras de rinceage inférieur 44
Nettoyageextérieur 45
Si vous pensez que votre lave-vaisselle ne fonctionne pas correctement 46
Egalement à votre service après l'achat 47
Avant de vous adresser au service après-vente 47
Lorsque you avez recours au service apres-vente 47
Pièces de rechange 48
49
Service après-vente 74
Point de vente de rechange 74
Garantie 74
ThermaPhon 75
La sécurité des apparèils électriques THERMA est conforme aux règles techniques reconnues ainsi qu'au règlement en vigueur. Toutefois, nous estimons de notre devoir de vous familiariser avec les consignes de sécurité suivantes.
Installation
- Les raccordements électrique et hydraulique doivent être effectuels par un installateur concessionnaire.
- Veuillez rendre l'installateur attentif à l'importance des directives d'installation. En cas de déplacement ultérieur de l'appareil, les directives exactes de montage et d'installation pourront être commandées par téléphone auprès de notre service après-vente.
N'utilisez votre lave-vaisselle que pour l'usage auquel il est destiné.
- N'utilisez votre lave-vaisse que pour y laver de la vaisse domestique. Si l'appareil est mal utilisé ou s'il est utilisé pour un autre usage que celui pour lequel il a été consu, le fabricant ne saurait être tenu responsable des dommages évientuels.
Pour des raisons de sécurité, vous ne devez apporter aucune modification ou transformation, de chaque nature que ce soit, à votre lave-vaisse.
Avant la première utilisation
- Vérifier que votre lave-vaisselle n'a pas été endommagé pendant le transport. Ne raccordez jamais un apparéil endommagé. Si votre lave-vaisselle est endommagé, contactez votre fournisseur.
- Le lave-vaisselle doit être installé et raccordé dans les règles de l'art. Pour prendre connaissance de tous les points à observer, veuillez consulter les directives d'installation.
- Avant la mise en service, assurez-vous que la tension nominale et le type de courant figurant sur la plaquette signalétique de l'appareil correspondent à la tension nominale et au type de courant du lieu d'installation. L'ampérage des fusibles nécessaires figure dans les directives d'installation.
Sécurité enfants
- Les emballages peuvent être dangereux pour les enfants (sachets, mousse de polyuréthanne, p. ex.). Ils peuvent sétouffer! Veillez donc à ne pas laisser d'emballages à portée des enfants.
- Les enfants ne sont pas nécessairement conscients des dangers liés à la mauvaise utilisation des apparèils électriques. Exercez la surveillance appropriée pendant que l'appareil est en fonction-
noment et ne laisses pas vos enfants jouer avec le lave-vaisse.
- Les détergents peuvent avoir un effet caustique sur les yeux, la bouche, la gorge et ils peuvent même provoquer un étouffement! Conservez tous les détergents en lieu sûr, hors de portée des enfants.
- L'eau se trouvant dans votre lave-vaisselle n'est pas potable. Elle peutContainir des résidus de détermagent. Veillez à ne pas vous éclabousser avec ces résidus caustiques et à ne pas respirer ces vapeurs, vous pourriez suffoquer! Maintenez les enfants à l'écart lorsque la portedu lave-vaisselle est ouverte.
Votre lave vaisselle au quotidien
- Ne faites jamais fonctionner chez lave-vaissette, si le cordon d'alimentation électrique, le tuyau d'alimentation ou d'évacuation, le tableau de commande ou la plinthe sont endommages.
- En cas de panne, mettez l'appareil hors tension, retirez la fiche de courant de la prise, coupez le(s) disjoncteur(s) ou retirez le(s) fusible(s) du local. Fermez le robinet d'eau.
- N'ôtez jamais la fiche de la prise en tirant sur le cordon; saisissez-le par la fiche.
- Àprouche chaque ouverture de la porte, veuillez vous assurer que celle-ci soit à nouveau correctement fermée, car une porte ouverte peut devenir une source de danger.
- Ne vous appuyez pas ou ne vous asseyez pas sur la porte ouverte.
- Les réparations seront confiées exclusivement à un atelier de service après-vente agrée par nos soins. De plus, seules des pieces de rechange d'origine devront être utilisées.
- Ne versez jamais le moindre solvant dans votre lave-vaisselle, vous risquez de provoquer une explosion!
- Avant d'employer un sel, un dédTangent et un produit de rincege spécial pour lave-vaisse, vérifie bien que le fabricant de ces produits prévoit expressesment leur utilisation dans un lave-vaisse domestique.
Risque lie au gel:
- Si l'appareil raccordé est exposé à des températures inférieures au point de congélation, celui-ci devra alors être vidangé d'une manière appropriée par le service après-venture.
- Lors d'une livraison à partir de l'usine, il n'y a pas de risque de congélation!
Lampes-témoin et éléments de commande
F
- Touche de programme verres, avec lampe témoin
- Touche de programme normal, avec lampe témoin
- Touche de programme intensif, avec lampe témoin
- Touche de programme bref, avec lampe témoin
- Touche de programme prélavage avec lampe témoin
- Bouton Eco (bouton économiqueur)
- Bouton Stop (arret)
- Lampe tímoin produit de rincage
- Lampe tímoin Sel régénérant
- Témoins de déroulement du programme

Prélavage

Nettoyage

Rinçage

Sechage

Fin du programme
- Témoin de mise en marche différée
- Interrupteur principal
-
Touche pour mise en marche différée
-
Bras de rincage supérieur
- Bras de rincage median
- Tamis de retenue grossier
- Tamis de retenue fin avec microfiltre
- Compartiment à couverts
- Désignation du programme
- Plaquette signalétique
- Récipient pour produit de nettoyage
- Orifice de dosage pour produit de rinceage
- Récipient pour produit de rincege
- Corbeille à vaisselle inférieure
- Récipient à Sel pour déminéralisation de l'eau
- Bras de rincage inférieur
- Bouton de réglage pour déminéralisation de l'eau
- Corbeille à vaisse lsupérieure (réglage en hauteur)


Recommendations importantes
F
Veuillez conserveur ce mode d'emploi soigneusement avec l'appareil, afin de pouvoir vous y reférer au besoin.
Si cet apparéil avait été vendu ou laissé à des tiers en cas de déménagement, veuillesz vous assurer que ce mode d'emploi soit remis avec le lave-vaissette, afin que le nouveau propriétaire puisse s'informer sur le onctionnement et les prescriptions de l' apparéil.
- Les articles suivants ne sont conformes au lavage dans le lave-vaiselle que lorsqu'ils portent explicitement la mention « approprié au lavage en lave-vaiselle»: Couverts avec manche en bois ou en corne, avec des parties collées; couverts en bronze; poèle avec manche en bois; articles en aluminium, cuivre, cristal, verre au plomb, plastique. En cas de doute, veuillez vous renseigner au+.上前 du distributeur ou du fabricant de l'article respectif.
- Les couverts en argent et en acier inoxydable doivent être déposés séparément dans le组成部分 à couverts. Si les deux matériaux viennent en contact, une réaction chimique peut provoquer une décoloration de l'argent.
- La porte de l'appareil ne devrait pas etre ouverte durant le fonctionnement. Un dispositif de sécurité déclenché le lave-vaisselle si la porte avait etre ouverte par inadvertance.
Installation
- Nous recommendons le montage d'un filtré à eau directement sur le robinet d'arrêt, dans les régions possédant une durée élevée de l'eau, ainsi que dans les zones d'habitation nouvellement bâties. Le filtré à eau menage votre machine et se laisse nettoyer facilement. Veuillez demander la pose d'un tel filtré à votre installerateur.
Durant l'utilisation quotidienne
Entretenez et nettoyez la machine régulière.
Vous éviterez ainsi de couteuses interventions du service après-vente. Veuillez également prendre le chapitre "Nettoyage" en considération.
- N'utilise pas de produits pour laver la vaisselle à la main respons. de produits de lavage industriels, ou encore des nettoyants.
- Si le lave-vaisselle doit rester sans surveillance durant une période prolongée, par ex. durant les vacances, fermez le robinet d'eau. Assurez-vous que l'interrupteur principal est déclenché.
Conseils importants pour la bonne utilisation de votre lave-vaissette
Evitez les gaspillages et protégéz l'environnement
- Rassemblez votre vaisse sale, rangez-la dans le lave-vaisse et ne la lavez que lorsque les deux paniers sont pleins, en veillant à ne jamais les surcharger.
- Sélectionnez toujours le programme correspondant au type de vaisselet et au degré de salissure (Voyez le chapitre "Tableau des programmes").
- N'utilisez pas trop de dédTangent et de produit de rincege.
- Respectez les doses recommandées dans le pré-sent-manuel et par les fabricants des produits.
Vaissette inadaptee pour un lavage en machine
Les articles suivants ne convennent pas:
- Planches et plats en bois
- Plastiques ne résistant pas à la chaleur
- Verre en cristal renfermant du plomb
- Ustensiles en etain ou en cuivre
Vaissele ou couverts collés - Anciens couverts assemblés avec des colles sensibles à la chaleur
- Couteaux en acier non inoxydable
- Couverts avec des manches en bois, corne, porcelain et nacre
- Objets d'art
Vaisse l'ouvant, sous certaines conditions, estre lavée en machine
Les articles suivants demandent certaines précautions:
- Ne lavez les articles en terre cuite que si le fabri-cant l'autorise explicitement.
- Certains décors peints sur le vernis peuvent s'estomper au fil des lavages.
- Les éléments en argent et en aluminium ont tendance à se décolorer pendant le lavage en machine.
- De nombreux résidus d'aliments (blanc et jaune d'oeuf, moutarde, etc.) provoquent souvent des décolorations ou des taches sur l'argenterie. Les couverts et la vaisselle en argent doivent donc toutes être débarrassés des restes d'aliments s'il ne sont pas lavés immédiatement après le repas.
- Certains types de verres peuvent s'opacifier après de nombreux lavages. Il est donc préféable de continuer à laver la main vos verres précieux.
A l'achat de nouveaux couverts ou de nouvelle vaisse, vérifie bien qu'ils sont prévus pour le lavevaisselle.
Elimination
L'emballage
Le transport de nos lave-vaisselezécessite un emballage protecteur efficace. A cet effet, nous nous limitons au strict nécessaire.
Tous les matériaux d'emballage utilisés sont recyclables et sans danger pour l'environnement.
Les parties en carton sont fabriquées à partir deieux papiers,les parties en bois sont non traitées.Les matières plastiques sont identifiées comme suit:
«PE» pour polyéthylène. Ex.: feuilles plastiques pour emballage
«PS» pour polystyrene. Ex.: capitonnage (sans CFC)
«POM» pour polyoxyméthylène. Ex.: attaches en plastique.
La récapération et le retraitement de l'emballage permettent d'économiser les matières premières et de réduire le volume des déchets. Remettez votre emballage au centre de recyclage le plus proche. Vous obtiendaç son adresse auprès de la mairie de votre ville.
L'ancien apparéil
Si vous souhaitez vous débarrasser de votre apparéil un jour, rendez-le totalément inutilisable avant.
Avertissement! des enfants peuvent s'enfermer en jouant l'intérieur de l'appareil (risque d'étouffement) ou bien se retrouver dans des situations mettant leur vie en danger. C'est pourquoit, vous devrez couper le cable d'alimentation et le metre de côté. Détruirez le système de verrouillage de la porte afin que celle-ci ne ferme plus.
Identification des parties plastiques pour un recyclage par catégorie:
Toutes les parties en plastique de l'appareil sont désignées par une abréviation normalisée au niveau international (ex.: «PS» pour polystyrene). Cela permet par conséquent de trier les déchets plastiques par catégorie afin d'effectuer un recyclage sans danger pour l'environnement.
Apportez votre apparéil hors service au centre de recyclage le plus proche ou bien votre revendeur spécialisé qui vous le reprendra contre une petite participation aux frais.
Avant la première utilisation
F
Veuillez effectuer les étapes décrites ci-après avant d'utiliser le lave-vaisselle pour la première fois.
Remplissage du produit de rinceage
A Ouvrir le écipient (23) en tournant le capuchon de verrouillage vers la gauche, si la lampe d'indication (8) est allumée.
B Remplir jusqu'au repère «max.» avec le produit de rincege. Ne pas remplir le recipient au-delà du repère!
- Refermer le écipient.
- Eliminer de suite les gouttes de produit de rincege évientuelles tombées en dehors du réseau et pouvant sinon provoquer la formation de mousse.
La lampe-témoin du produit de rinçage s'éteint (8).
Régler le dosage du produit de rinceage
A Ouvrir le écipient de réserve (23) en dévissant le bouchon vers la gauche.
B Tourner la flèche de dosage vers la gauche à l'aide d'une piece de monnaie ou d'un tournevis, pour augmenter le débit. Le réglage en usine se fait sur le niveau 3. (réglage idéal: niveau 2-4)
- Fermer le récipient de réserve.
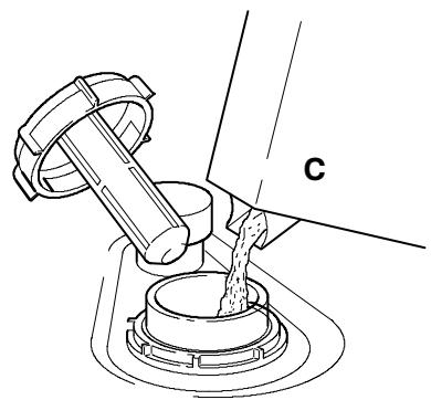
Remplissage du sel de régénération
N'utiliser que du sel regénérant pour le lave-vaissette.
Remplir le sel de la maniere suivante:
A Ouvrir le bouchon du écipient à Sel (25).
B Remplir le recipient avec de l'eau.
C Ajouter 1 kg de sel de régénération. Env. 1 l d'eau sera alors absorbé.
- Eliminer le sel de la surface du joint d'étanchéité.
- Verrouiller le recipient à Sel en tournant le bouchon jusqu'en butée.
- Immediatement lancer le programme « prérinçage» (5) afin d'éliminer les évventuels restes de sel.

Ne jamais replir le recipient pour Sel de régénération avec un produit de rinceage ou de nettoyage!
La lampe-témoin de Sel (9) ne s'éteint qu'après 1 à 2 cycles de lavage.





Réglage du dosage du sel de régénération
Le dosage du sel de régénération pour la déminéralisation de l'eau doit être ajusté en fonction du degré de dureté de l'eau utilisée. En cas de dosage trop faible, des taches calcaires peuvent se déposer sur la visselle et les couverts. Le bureau local des forces motrices de votre domicile pourrait vous renseigner quant au degré de dureté de l'eau.
Si vous avez un apparéil pour la déminéralisation de l'eau dans votre appartement, il n'est pas nécessaire de mettre du sel de régénération dans le lave-vaisse. Dans ce cas la lampe-témoin de sel est allumée en permanence.
Procedure de réglage du dosage:
A l'aide d'une piece de monnaie, tourner le bouton de réglage (27) jusqu'à ce que la flèche sur le bouton indique le niveau désiré de 1 à 5:

La flèche doit se trouver face à un chiffre et la position doit encocher de manière perceptible.
- Consommation de sel: En fonction du réglage, 1 kg de sel de ré génération est suffisant
| sur position | cycles de lavage |
| 1 | 40 - 60 |
| 2 | 30 - 40 |
| 3 | 25 - 30 |
| 4 | 18 - 22 |
| 5 | 10 - 15 |
Niveau 1:
Jusqu'à 12,5 degrés de dureté française (fH) (ce qui correspond à 7 degrés de dureté allemande (dH))
Niveau 2:
Pour des degrés de durété française compris entre 12,5 et 25 (fH) (ce qui correspond à des degrés de durété allemande compris entre 7 et 14 (dH))
Niveau 3:
Pour des degrés de dureté française compris entre 25 et 37,5 (fH) (ce qui correspond à des degrés de dureté allemande compris entre 14 et 21 (dH))
Niveau 4:
Pour des degrés de durété française compris entre 37,5 et 50 (fH) (ce qui correspond à des degrés de durété allemande compris entre 21 et 28 (dH))
Niveau 5:
Pour des degrés de durété française supérieurs à 50 (fH) (ce qui correspond à des degrés de durété allemande supérieurs à 28 (dH))
Le premier cycle de lavage
- Veuillez laver la première fois avec le programme intensif (3).

Les corbeilles à vaissele
Eliminez les restes de nourriture importants avant de désposer la vaisse dans la corbeille, sans toute fois rincer à chaud, ni employer de produit de lavage à main.
Les illustrations vous orientent sur la disposition opti-
male du chargement de votre lave-vaiselle.
Compartment à couverts
- Déposez les couverts dans la corbeille avec les manches vers le bas, à l'exception de ceux possédant un manche très fin, et pouvant bloquer le mouvement du bras de rincege en traversant la corbeille. Les surfaces des couverts ne devraient pas entraer en contact. Toutes les couverts devraient être accessibles au jet d'eau du bras de rincege.
Important:
- Les couverts longs doivent être déposés dans la corbeille à vaisse l'supérieure.
- Pour des raisons de sécurité, les couteaux longs et pointus doivent également être déposés dans la corbeille supérieure, avec le manche en haut.




Corbeille à vaisselle inférieure
Râtelier amovible pour assiettes, à droite, 10 positions
Pour une utilisation rationnelle de la place dans la corbeille, le râtelier pour assiettes peut être placé dans deux positions différentes. En direction longitudinale ou transversale.
- Dégager le râtelier pour assiettes en tirant la poignée (A) vers le haut.
- Introduire ensuite le râtelier pour assiettes dans le renforcement longitudinal (D), leMETRE en position transversale, puis presser la poignée vers le bas (B) jusqu'à ce qu'elle s'engage.
Le râtelier pour assiettes peut être adapté latéralement de manière variable (C), mise en place comme décrit ci-dessus.
Garniture de râtelier amovible pour assiettes, 5 positions
Pour les assiettes creuses ou les bols, un partie du râtelier Gauche peut être retiree.
- Dégager le rátelier pour assiettes en tirant la poignée (A) vers la haut.
- La garniture de râtelier pour assiettes peut aussi être montée à droite, à la place du râtelier à 10 positions pour assiettes (B).





Ratelier pour assiettes rabattable à gauche
Pour les grands bols et les cassetoles, les ráteliers peuvent être rabattus.
Retirer la garniture de rátelier à 5 positions pour assiettes et la corbeille à couverts. Soulever légèrement le rátelier pour assiettes, et rabattre vers la droite sur le fond de la corbeille.
Important
Le petit râtelier transversal dispose sur la droite à l'avant convient seulement pour petites assiettes plates jusqu'àu diamètre de max. 210 mm.
Corbeille à vaisse lsupérieure
Etagère à tasses réglabre
Pour les verres à pied, accrocher l'appuie-verres sur la position droite (fig. A) puis relever.
Pour les verres cylindriques hauts, accrocher l'appuie-verres sur la position gauche (fig. B) puis relever.
Pour décharger ou en cas de non-utilisation, rabattre l'appuie-verres sur la droite.
Supports de tasses régibles
Disposer de manière décalée les éléments régés, au-dessus et au-dessous des supports de tasses rabatables, afin que le jet de giclage puisse atteindre toutes les pieces. Les verres à pied peuvent être accrochés dans les évidements du support de tasses.
Le support de tasses avant peut être positionné sur 2 niveaux différents.

Si les supports de tasses sont relevés, la corbeille à vaisselle supérieure ne peut être rentrée qu'en position abaissee.





La corbeille à vaissele supérieure est ajustable en hauteur sur la droite
- Ajuster la corbeille supérieure à la hauteur désirée, en fonction de votre vaisse:

Egalement possible lorsque la corbeille est chargée.
Remonter:
- retirer la corbeille
- soulever à droite
- tirer vers l'avant jusqu'à la butée, puis engager dans la position supérieure.
Descendre:
- retirer la corbeille
- soulever à droite, puis descendre en position basse

Avant de rincer, contrôle si les bras gicleurs tournent librement.

Charge optimale corbeille supérieure: position haute
Ranger les grandes assiettes en position oblique.




Charge optimale corbeille supérieure: position basse
Remplissage du produit de lavage

Ne jamais utiliser des produits pour laver la vaisselle à la main.

N'utiliser que des produits de lavage conventionnels et appropriés aux lave-vaisselles menagers.
Le couvercle du écipient pour produit de lavage est normalement ouvert (21).
Si celui est fermé:
A Le récipient s'ouvrira après avoir pressé la touche du couvercle vers l'extérieur.
B Remplir le recipient avec du produit de lavage vaisse, selon les indications du fabricant de ce produit de lavage. Ne placer des pastilles dans le recipient de produit de lavage ou dans la corbeille à couverts, que selon les instructions du fabricant.
C Fermer le recipient pour produit de lavage, en pressant sur le couvercle.
D Vous pouvez ajouter du produit de lavage dans le creux du couvercle pour les programmes avec prélavage chaud.

Sélection et démarrage du programme
- Rentreit totallyment les corbeilles à vaisselle.
- Relever la porte et presser.

Le mecanisme de fermeture de la porte doit se verrouiller pour que la machine puisse démarrer.
- Presser sur l'interrupteur principal (12).
- Sélectionner un des programmes (1-5). Voir le tableau des programmes sur page 41. La lampe généoin correspondante clignote pendant 5 secondes avant que le cycle de lavage ne démarre. Il est possible de passer à un autre programme dans les 5 secondes.
Après chaque pression de touche, on a de nouveau 5 secondes pour procéder à d'eventuelles corrections.

Aussi longtemps que la lampe témoin du programme sélectionné clignote, on peut en outre selectionner le mode économique.
N'ouvrez plus la porte après le démarrage du programme!

Affichage de programmes
Les symboles lumineux dans l'afficheur (10) indiquent dans qu'elle phase le programme se trouve.

Durée du programme
Dès qu'un programme démarre, le temps résiduel en minutes est indiqué dans le champ d'affichage (11). Ce temps varie en fonction de la charge et de la température de l'eau amenée. Un arrêt prolongé sur un chiffre ou un saut sur plusieurs minutes peut survenir en fonction du programme, et ne représenté pas une erreur.
Fin du programme
La fin du cycle de rinceage est signalée dans l'afficheur de programme (11) par le clignotement de barres transversales. Le symbole fin de programme est en outre allumé ainsi que le programme qui a été choisi en dernier lieu.
Coupure de sécurité
Une coupure de sécurité protège contre un démarrage repété par inadvertance après la fin du programme. Pour une nouvelle programmation le lava vaisselle doit être arrêté et ensuite remis en marche (12), ou la porte doit être ouverte et ensuite refermée.
Démarrage en différé
Le démarriage du programme sélectionné peut être différé par pas horsaire de 1 à 9 heures, au moyen de la touche de temporisation (13).
Le temps de temporisation se programme en heures, en fonction du nombre de pressions exercé sur la touche (13), puis est affiché dans le champ d'affichage (11). Affichage: heures et un petit “h”.

On peut soit sélectionner d'abord un programme de lavage puis programmermer ensuite la durée de temporisation, ou bien procéder inversionement.
Si une durée de temporisation est programmée sans qu'il y ait un programme de lavage, le temps programmé s'efface au bout de 5 secondes. Àpres la sélection du programme, la sélection du démarriage en différé doit également se faire dans les 5 secondes.
Après avoir été activé, le démarrage en différé est indiqué dans le champ d'affichage par un point clignotantitué pres du "h".
La machine démarre automatiquement le programme sélectionné, dés que la durée de temporisation est écoulée.



Corriger ou annuler la sélection de programme / la temporisation de démarrage
La touche Stop (7) permet d'interrompre ou d'arrêter un programme en cours d'exécution ou la temporisation de démarrage.
Interruption:
- Une brève pression sur la touche Stop (7) a pour effet d'interrompre tous les programmes et de faire clignoter la lampe tímoin de l'arrêt.
- Une nouvelle pression sur la touche Stop (7) réactive les programmations.
Interruption:
- Si la touche Stop (7) est maintainue pressée plus de 2 secondes, le programme et la temporisation de démarriage sont annulées et l'eau existante evacuée par la pompe. Dès que toute l'eau a été pompée, le symbole de fin de programme s'allume dans l'afficheur (10).
Pour economiser
La touche Eco (6) permet de diminuer la température de lavage et, ainsi, de consommer moins d'énergie pour le chauffage.

Tableau des programmes
F
| Prélavage | Nettoyage | Ringage intermédiaire | Ringage final | Séchage | Durée (min.) | Durée (min.) | |
| Racordement 230 V | Racordement 400 V 2N | ||||||
| Prélavage | |||||||
| Rinçage froid | |||||||
| Intensif | |||||||
| Vaiselle fortement à très fortement souillée | 45°C | 65°C | 70°C | 86 | 72 | ||
| + e Vaisselle fortement souillée | 40°C | 60°C | 65°C | 81 | 67 | ||
| Normal | |||||||
| Vaiselle normalamente à fortement souillée | 60°C | 70°C | 79 | 65 | |||
| Programme quotidien recommendé | |||||||
| + e Vaisselle normalement souillée | 50°C | 65°C | 74 | 60 | |||
| Verres | |||||||
| Vaiselle légèremente à normalement souillée | 45°C | 65°C | 59 | 46 | |||
| + e Vaisselle légèremente souillée | 40°C | 60°C | 55 | 42 | |||
| Bref | |||||||
| Vaiselle très légèremente à légèremente souillée | 45°C | 65°C | 47 | 34 | |||
| + e Vaisselle très légèremente souillée | 40°C | 60°C | 42 | 31 | |||

Les données de programmation different en fonction du mode de raccordement, des variations de tension du réseau électrique, de la température d'entrée de l'eau, de la pression de l'eau et de la charge.
Le temps indiqué au champ d'affichage (11) en sens inverse correspond toujours au mode de raccordement 230V.

Panne du réseau électrique
En cas de panne secteur ou de déclenchement involtaire de l'interrupteur principal, toutes les valeurs régées sont conservées.
Signalisation d'erreur
L'électronique du lave-vaisselle peut elle-même identifier les erreurs et les afficher. Si une erreur survient, un code d'erreur clignote, une des lampes tímoin du programme clignote dans l'afficheur (11), ainsi que le symbole de fin de programme dans l'afficheur (10).
Veuillez noter ce code d'erreur avant de contacter le service après-vente.
La signalisation d'erreur s'annule des que l'interrupteur principal (12) a eté déclenché.
Code d'erreur et cause possible
A = Robinet d'eau fermé ou tamis d'alimentation bouché
C = Tuyau d'évacuation, filtré grossier, filtré fin ou siphon obstrué
E = Pression d'eau trop faible, robinet d'eau n'est pas tout à fait ouvert, conduite d'alimentation ou filtré d'alimentation bouché, machine perd de l'eau.
E2 = Demander l'intervention du service après-venture
H = Demander l'intervention du service après-venture
L = Demander l'intervention du service après-venture
P = Demander l'intervention du service après-venture
U = Demander l'intervention du service après-venture
Déchéancement de la corbeille à vaisselle
Après déroulement du programme de rinceage:
Décharger la corbeille inférieure en premier (24).
Décharger ensuite la corbeille supérieure (28), afin qu'aucune goutte d'eau ne puisse tomber sur la vaisse de la corbeille inférieure.
Contrôler le tamis grossier (16) après chaque cycle de nettoyage, et le nettoyer au besoin.


Ajouter du sel régénérant
Le recipient à Sel de régénération pour la déminéralisation de l'eau devra être rempli lorsque la lampe-té-moin (9) s'illumine.
Proceder comme indiqué à la page 31, sans cependant devoir ajouter de l'eau.

Après le replissage, immédiatement enclencher le programme « prélavage» (5), afin de rincer les évventuels dépôts de sel.

Ne jamais replir le écipient à sel de régéénération avec un produit de rinçage ou de nettoyage!
Ajouter du produit de rinçage
Lorsque le témoin du produit de rinceage (8) s'allume, il faut rajouter du produit de rinceage.
Proceder comme décrit sur la page 31.

Eliminer de suite les gouttes de produit de rincege eventuellesment tombées en dehors du recipient et pouvant sinon provoquer la formation de mousse.
Nettoyage du tamis grossier
Contrôler le tamis grossier (16) après chaque cycle de nettoyage, et le nettoyer au besoin.
- Simplement tirer le tamis grossier vers le haut,
- le nettoyer sous l'eau courante, et le remetre en place.
Nettoyage du microfiltre
Le microfiltre (17) doit être nettoyé de temps en temps:
- Déverrouiller le filtré en tournant le levier vers la droite (position A). Retirer le microfiltré et le nettoyer sous l'eau courante à l'aide d'une Brosse.
- Replacer le microfiltre dans son socle et le verrouiller en tournant le levier vers la gauche (position B).




B
Nettoyage des buses des bras de rinçage
Contrôler régulièrement si les buses des bras de rincege (14), (15) et (26) ne sont pas obstruées par des restes d'aliments. Si nécessaire, nettoyer les buses sous l'eau courante à l'aide d'un fil de fer ou d'une aiguille.

Tout en veillant à ne pas endommager l'orifice.
Bras de rinceage supérieur
Retirer le bras de rinceage supérieur (14):
- Dévisser la vis de fixation (A) en la tournant vers la gauche.
- Retirer le bras de rincage de l'axe de rotation.
- Nettoyer le bras gicleur et les vis de fixation.
- Demonter le bras de rincege et le bloquer en tournant la vis vers la droite.
Bras de rinceage median
- Retirer le bras giclaur median (15) en lui imprimant un mouvement de rotation latéral.
Pour le montage, presser le bras giclaur latorial vers le haut, jusqu'à ce qu'il s'engage de manière perceptible.
Bras de rinceage inférieur
Retirer le bras de rinceage inférieur (26):
- Dévisser l'écrou de fixation (A) en le tournant vers la gauche.
- Retirer le bras de rincage de l'axe de rotation.
- Nettoyer les buses.
- Remonter le bras de rincege et le bloquer en tournant l'écrou de fixation (A) vers la droite.




Nettoyage extérieur
Les surfaces externes de la machine, et plus particulièrement son panneau de commande devraient être nettoyées régulierement à l'aide d'un chiffon doux et humide. Seuls des produits de nettoyage neutres, tels que pour le lavage de la vaisselle à la main devront être utilisés. Des solvants organiques tels que l'acétone, des diluants pour peintures, etc., ne doivent être utilisés enaucun cas!
Appareils avec surface en acier inoxydable
Pour la face avant en acier inoxydable, nous recom-mandons un nettoyage intense et un entretien à inter-valles réguliers, avec des produits appropriés à l'acier inox.
Veuillez observer les instructions relatives à l'emploi de produits de nettoyage et d'entretien. Les produits égratignants et abrasifs ne sont pas appropriés.
Applique le produit de nettoyage sur un chiffon humide avant d'essuyer, ensuite laver la surface en mouillant, et la faire secher en la frottant avec un chiffon sec.
Lors du nettoyage, veillez à ce que la finition de la surface en acier inoxydable ne se fasse pas contre la structure (les fines lignes horizontales); pas de mouvements circulaires!
Si vous pensez que votre lave-vaisselle ne fonctionne pas correctement
Avant de faire appel au service après-vente, vérifie d'abord si vous ne pouvez pas.Remédier vous-meme au problème en suivant les instructions ci-dessous. Si elles ne suffisent pas, n'hésitez pas à contacter le service après-vente.
La pompe d'évacuation tourne en permanence, même si la machine est éteinte.
Le dispositif de protection contre les inondations s'est enclenché. Fermez le robinet d'alimentation en eau. Retirez ensuite la fiche d'alimentation. Dans le cas d'un raccordement fixe, foupez le(s) disjoncteur(s) ou otez le(s) fusible(s). Appelez le service après-vente pour identifier la panne.
Le programme ne démarre pas.
- Les fusibles du tableau électrique sont-ils en bon état? Notre apparéil est-il branché?
- La porte est-elle bien fermée? Si non, fermez-la à fond jusqu'à ce le mécanisme de fermeture de la porte se verrouille.
L'eau n'arrive pas.
- Le robinet d'eau est-il complètement ouvert?
- Le robinet d'eau est-il bouché? Ouvrir et fermer plusieurs fois le robinet d'eau.
- Le filtrte situé dans le raccord du flexible au robinet est-il propre? Si nécessaire, nettoyez le filtrte.
- Le flexible d'alimentation est-il plie? Vérifiez le flexible sur toute sa longueur.
- La pression minimale d'écoulement de l'eau est-elle de 1 bar?
L'indicateur de déroulement de programme resté bloqué au début d'un cycle de lavage avec détergent.
- Avez-vous ouvert le robinet d'eau?
- Le filtrte situé dans le raccord du flexible au robinet est-il propre? Si nécessaire, nettoyez le filtrte.
La vaisse n'est pas propre
- Avez-vous sélectionné le programme approprié au type et au degré de salissure de la vaisselle? (Voir le "Tableau des programmes").
-
Avez-vous disposé la vaisselle de sorte que les jets d'eau puissant atteindre toutes les faces, intérêures et extérieures, de la vaisselle? Les paniers ne doivent pas été surcharges.
-
Les bras n'ont-ils pas eté bloqués par de la vais-selle ou des couverts?
- Est-ce que les giclleurs des bras de rinceage sont-ils propres?
- Tous les filtres du fond sont-ils propres? Sont-ils installés correctement?
- Avez-vous mis assez de dédTangent?
- Le flexible d'évacuation est-il correctement installé?
- Est-ce que le siphon du cotéBATIMENT est-il obstrué?
- Y a-t-il encore du sel régénérant dans le recipient de réserve du sel? Sans sel, l'eau n'est pas adoucie et des dépôts de calcaire peuvent se former sur la vaisselle et dans la machine.
- Avez-vous régle l'adoucisseur en fonction de la durée de votre eau de distribution?
La vaisse n'est pas sèche et n'a rien éclat.
- Y a-t-il encore du produit de rincege dans le réservoir?
- Le dosage du sel régencerant est-il correctement régle?
Les verres et la vaisselleprésent des stries, des bandes, des taches laiteuses ou des auréoles bleuâtres.
- La dose de produit de rinceage est trop importante. Réduisez la dose.
Les verres et la vaisselle sont constellés de taches d'eau séchée.
- La dose de produit de rinceage est trop faible. Augmentez la dose.
- Le dispositif de fermeture du recipient à Sel est-il bien fermé?
Taches de rouille à l'intérieur du lave-vaisselle.
- L'intérieur du lave-vaisse est en acier inoxydable. Si des taches de rouille apparaisent, elles sont d'origine extérieure (rouille dans l'eau, oxydation des casseroles, couverts, etc.). Eliminez ces taches au moyen d'un produit du commerce pour l'entretien de l'acier inoxydable.
- Le programme "Prélavage" a-t-il été lancé immédiatement après avoir fait le plein en Sel?
Egalement à votre service après l'achat
F
Un service après-vente Thema efficace est à la disposition de toute notre clientèle.
Avant de vous adresser au service après-venture
- Regardez à la page "Si vous pensez que vous lave-vaisse ne fonctionne pas correctement".
Lorsque vous avez recours au service après-vente
-
Notez les indications suivantes que vous trouvez sur la plaque signalétique (20) de l'encadrement rouge de votre apparéil:
-
Numéro de série
- Désignation du modele
- Numéro de production
- Signalisation d'erreur


- Notez vos constatations. Ceci facilitera les préparats et la tâche de nos techniciens de service.
- Appelez le service número 0848 848 999.
- Veuillez est present à votre domicile durant l'intervention du technicien de service, car il est dépendant de vos informations.
Désignation
No. de piece de rechange
- Bras de rincege supérieur 153 0306-00/8
- Bras de rincavage median 899 646 2211-40/1
2.1 Palier de bras gicleur, en 2 parties 899 646 1237-80/3
2.2 Rondelleressort 1530756-00/4 - Bras de rincage inférieur 153 0393-00/6
- Palier du bras de rinçage
supérieur 153 0142-01/5 -
Ecrou et blocage du bras de rinceage 150 2356-00/7
-
Corbeille inférieure complète 153 0257-02/9
- Corbeille à couverts compl. 153 0699-00/6
- Rátelier à assiettes, 10 positions 153 0644-00/2
8.1 Rátelier à assiettes, 5 positions 153 0645-00/9 - Corbeille supérieure complète 153 0256-02/1
- Compartment pour tasses 899 646 1228-20/8
- Support de rouleau inférieur complet 153 0216-01/7
-
Soutien pour verres 153 0653-00/3
-
Tamis grossier 153 0051-00/0
- Tamis fin avec microfiltre 153 0217-01/5
- Couvercle du récipient à Sel 805 0135 49-00/3
- Capuchon pour amenée d'eau 153 0166-00/6
- Joint d'étanchéité de porte 153 0237-01/3
- Joint d'étanchéité récipient produit de lavage 153 0565-00/9
Vente des pieces de rechange:
Stock en pieces de
rechange centralisé
5506 Mägenwil
Tel. 0848 848 028
Administration du
service après-vente
5506 Mägenwil
062/8899131



techniques
F
| Dimensions | Largeur Hauteur Profondeur max. Profondeur max. avec porte ouverte | 54.6 cm 75.9 cm 57.0 cm 114.5 cm |
| Tension de service Fréquence | 400 V 2N 50 Hz 230 V 50 Hz | |
| Puisance absorbée | Pompe de circulation | 150 W |
| Puisance absorbée | Corps de chauffe | 3000 W |
| Puisance absorbée totale | 3150 W 10 A 2150 W 10 A 1150 W 6 A | |
| Pression d'eau froide ou chaude jusqu'à max. 65°C | min. max. | 1 bar (eau courante) 10 bar |
| Capacité de charge | Couverts normalisés CEI | 11 |
| Valeurs d'exploitation Intensif Intensif + e | Energie (kWh) 1,6 1,3 | Eau (l) 16 16 |
| Normal Normal + e | 1,3 1,0 | 16 16 |
| Bref Bref + e | 1,0 0,8 | 13 13 |
L'utilisateur final de tout produit acheté et utilisé en Suisse, bénéficia d'une garantie complète d'une année à partir de la date de livraison. La facture ou le justificatif d'achat correspondant fait foi en la matière.
Garanzia
Le service d'information téléphonique de Thermo
Lundi à vendredi de 09.00 - 12.00 Uhr
Pour renseignements, conseils et «astuces» concernant l'utilisation de vos apparèils menagers.
Une prestation de service à votre disposition chaque jour pour toutes questions touchant aux apparciels menagers.
Appelez ThermoPhon par exemple pour:
- renseignements rapides concernant l'utilisation des apparèils
- conseils judicieux pour l'entretien et les soins à apporter aux apparèils menagers
«astuces» utiles pour la cuisson en général, la cuisson au four, le lavage de vaisselle ou pour laver/ secher le linge - conseils compétents pour le choix d'un apparéil correspondant à vos désirs
Notice Facile