HA2000PS - Système d'alarme EDEN - Notice d'utilisation et mode d'emploi gratuit
Retrouvez gratuitement la notice de l'appareil HA2000PS EDEN au format PDF.
| Type de système | Système d'alarme sans fil |
| Nombre de zones | 20 zones |
| Installation | Sans fil |
| Alimentation | Non précisé |
| Type de capteurs compatibles | Non précisé |
| Notification d'alarme | Non précisé |
| Type de sirène | Non précisé |
| Contrôle à distance | Non précisé |
| Interface utilisateur | Non précisé |
| Fonctionnalités supplémentaires | Non précisé |
| Dimensions | Non précisé |
| Poids | Non précisé |
| Langues supportées | Français |
| Garantie | Non précisé |
| Normes de sécurité | Non précisé |
FOIRE AUX QUESTIONS - HA2000PS EDEN
Téléchargez la notice de votre Système d'alarme au format PDF gratuitement ! Retrouvez votre notice HA2000PS - EDEN et reprennez votre appareil électronique en main. Sur cette page sont publiés tous les documents nécessaires à l'utilisation de votre appareil HA2000PS de la marque EDEN.
MODE D'EMPLOI HA2000PS EDEN
Système d'alarme sans fils 20 Zones
Manuel d'installation & defonctionnement

SOMMAIRE
Introduction et généralités 6
Contenu du Kit. 7
I. Kit HA2000 7
II. Kit HA2000Y 8
PLANIFICATION DE L'INSTALLATION 9
I. Identifier les éléments 10
II. Mise en Service 11
Configurer notre systeme 12
I. Entrer dans le mode de Programmation 12
II. Reglages Généaux 14
- Codes Secrets Utilisateur 14
- Codes Secrets Administrator 16
- Retard à l'Entrée 16
- Retard à la Sortie 16
- Tempo d'alarme 17
- Sirène U.C 17
- Auto-pro. U.C 17
8.Sortie sonore 17 - Entre sonore 18
- Carillon 18
- Interférences 18
- Bips d'alerte 18
- Langues 19
III. Menu Accessories 19
- Ajouter des Accessoires 19
1.1 Télecommande HA2000R 19
1.2 Contact d'Ouverture HA2000M 21
1.3 Deteceur PIR HA2000P 25
1.4 Medaillon de détresse HA2000SOS 28
1.5 Interrupteur panique HA2000PB 28
1.6 Detecteur d'oxyde de carbone HA2000CO & d'inondation HA2000W 28
1.7 Deteactor de fumee HA2000S 28
1.8 Clavier HA2000K 29
- Modifier des Accessoires 33
-
Supprimer des Accessoires 33
-
Programmer une Sirène ou un transmetteur d'alerte téléphonique 34
4.1 Auto Protection de la Sirène 35
4.2 Confirmation d'Armement 35
4.3 Supprimer la Sirene 35
- Mode Test 35
Fonctionnement du Systeme 36
I. Menu de l'utilisateur 36
- Economiseur d'énergie & remise en route 36
- Entrer dans le menu Utilisateur 36
II. Mode Armament Total 37
- Armer le système 37
- Arrête le Retard de sortie 37
- Prolonger le Retard de sortie 38
III. Mode Désarmé 38
1.Désarmer le système 38
2. Carillon de Porto 38
IV. Mode Partiel 38
- Entrer en mode Partiel 38
- Arrête le Retard de sortie 39
- Prolonger le Retard de sortie 39
V. Activation de I'alarme 39
1.Mode Armement Total 39
2. Mode Désarmé 39
3.Mode Armement Partiel 40
4. Types d'alarme 40
VI. Arrêter l'alarme et affichage à l'écran 41
- Arrête l'alarme 41
- Mémoire d'alarme 41
VII. Situations d'erreur 41
- Affichage des Messages d'erreur 41
- Autoprotection des accessoires 42
- Piles faibles sur des accessoires 42
VIII. J.D.E de la centrale 42
Installation 43
I. Comment installer la centrale 43
II. Detecteur PIR HA2000P 44
III. Contact d'Ouverture HA2000M 45
Appendice 47
I. Changement des piles 47
II. Procedure de réinitialisation des Codes de la Centrale 48
Specifications: 48
REPERTOIRE SYSTEME 51
Garantie 52
Introduction et généralités
FELICITATIONS, vous venez de franchir un grand pas dans votre protection, celle de votre habitation et de son contenu contre l'aggression et le vol. Bien qu'un système d'alarme ne constitue pas une garantie absolue contre ces méfais, il présente un caractère tout à fait dissuasif.
Le système d'alarme EDEN HA2000 a été conçu en respectant les principes suivants :
- Facilité d'installation :
Le système peut être installé par chacun. Il ne nécessite pas de connaissances particulières dans le domaine des alarmes.
Pas besoin d'outils spéciaux.
- Facilité d'utilisation :
Le système est armé et désarmé au moyen d'une télécommande, en appuyant sur un simple bouton.
- Flexibilité :
Le système EDEN HA2000 peut être adapté en fonction de vos besoin,
Il suffit d'ajouter des détecteurs supplémentaires à où vous en avez besoin. Il est totalement modulable et permet l'utilisation de sirènes déportées, intérieures ou extérieures, et celle de systèmes de transmission d'alerte téléphonique.
La possibilité de désactiver une ou plusieurs zones correspondant à certains détecteurs permet également une protection des espaces inoccupés (garage, rez-de-chaussée, bureau, abri jardin, etc.) lors de votre présence dans votre habitation.
- Auto alimentation :
Tous les éléments du système étant alimentés par piles avec une autonomie moyenne de 2 ans, le système peut être installé dans des locaux où le courant secteur 220V n'est pas disponible.
- Facilitation transposable en cas de déménagement :
Si besoin, le système peut très facilement être démontré pour être installé dans votre nouvelle demeure.
- Fiabilité :
Tous les éléments du système EDEN HA2000 subissant des contrôleles de qualité rigoureux de façon à assurer la sécurité de votre habitation pour de longues années.
Chaque élément fonctionne sur une fréquence homologuée (868,63MHz), parfaitement sûre (codage fixé en usine sur plus de 16 Millions de possibilités), neprésentant aucun risque d'interférences ou de dérangements pour vous-même ou pour votre voisinage.
Nous vous conseillons vivement de dire attentivement ce guide avant de commencer toute installation, et de suivre les instructions d'installation dans l'ordre avec les éléments sur une table.
GARANTIE
Ce produit (à l'exception des piles) bénéficia d'une garantie pieces et main d'oeuvre de 4 ans.
Contactez notre ligne d'assistance téléphonique suivant votre pays (tel en fin de notice) pour vous assurer de la réalité de la panne et de son origine.
NOTE IMPORTANTE : A l'exception de la sirène déportede HA2000E et du clavier à code radio HA2000K, aucun élément du système HA2000 n'est prévu pour un fonctionnement à l'extérieur, et ne doit être exposé aux intempéries. Le non respect de cette prescription entraînera l'invalidation de la garantie normalement applicable pour chacun des éléments considérés.
I. Kit HA2000
Le système d'alarme HA2000 contient les éléments suivants:
1 x Centrale d'alarme LCD (20 Zones)

1 x Détector PIR HA2000P

1 x Contact d'Ouverture HA2000M

1 x Télecommande HA2000R

- Manuel d'installation & fonctionnement
- Pack de fixation
- Piles suivant accessoires de chaque kit :
1x3 V CR2032 Lithium (HA2000R)
1 × 3.6 ~V AA 12 Lithium (HA2000M)
1 x3.6V AA Lithium (HA2000P)
4x1.5VDCLR201alcaline (centrale)
II. Kit HA2000Y
Le système d'alarme HA2000Y contient les mêmes éléments que le kit HA2000 avec en plus :
1 x Detecteur PIR HA2000P

- 1 x Clavier HA2000K

- Files supplémentaires :
1x3.6V AA Lithium (HA2000P)
1x3V CR2450 Lithium (HA2000K)


Pile 3.6V 12 AA Lithium pour Contact Ouverture
Pile 3V CR2032 Lithium pour télécommande
Pile 3.6 V AA Lithium pour détecteur PIR
Pile 1.5 V Type D Alcaline pour centrale et sirène externe
PLANIFICATION DE L'INSTALLATION
En raison de l'absence totale de travaux de cablage, un système d'alarme sans fil est particulièrement facile à installer.
Facile également à modifier, car il sera très simple de déplacer un détecteur pour lemettre àun emplacement plusperformant si nécessaire.
De cette façon vous n'avez pas à vousSOCUCIER de réaliser une installationparfaite dEs le depart.
Avant toute installation, il est essentiel d'évaluer soigneusement les risques d'intrusion par rapport au plan de votre habitation, et notamment ses ouvertures vers l'extérieur. Ceci permettra de définir les meilleur

emplacements et le nombre des détecteurs infrarouges ou d'ouverture, la nécessité d'installer une sirène déportée, un transmetteur d'alerte téléphonique, etc.
Bien que le système EDEN HA2000 permette deGERER jusqu'à 20 accessoires,soonenez vous qu'il n'est pas nécessaire de protégger toutes les pieces de votre habitation : il est souhaitable de protégger les issues principales ou celles par lesquilles une intrusion est la plus probable,ainsi que les pièces par lesquilles le passage est obligé (hall, couloir d'accès) et celles ou se trouvent les objets de plus grande valeur.
Chaque habitation a sa propre implantation, et le dessin ci-contre ne constitue qu'une indication. Un détecteur magnétique d'ouverture HA2000M protège la fenêtre et la porte d'entrée. Nous avons protégé leSED jour ou se trouvent chaîne hifi, télévision, magnétoscope, etc., avec un détecteur infra rouge HA2000P ainsi que la chambre et le garage.
La centrale d'alarme a eté placée dans le hall. D'une façon générale, elle devrait etre installée dans un endroit central de la maison, ne pouvant etre vue par les fenêtres.
La sirène-flash extérieure HA2000E alerte le voisinage immédiat en cas de déclenchement de l'alarme. La sirène interieure radio HA2000I permet de protégger la centrale (mode silence) mais aussi d'assourdir les cambrioleurs. Le transmetteur d'alerte téléphonique se chargerà lui, d'appeler des correspondants plus éloignés. Il doit être place pres d'une prise téléphonique, (uniquement pour le HA2000RTC).
Lorsque les habitants seront dans la maison, il sera possible grâce à la fonction d'armement sélectif (Partiel) de ne garder actifs que les détecteurs placés dans les zones inocuppées.

Généralités
I. Identifier les éléments

1/ Affichage LCD rétro-éclairé
2/ Touches numérotées
3/ Touche “▲”
4/ Touche "▼"
En mode Programmation ou dans le menu de l'utilisateur, appuyez sur ces touches pour déplacer le curseur et faire dérouler l'affichage vers le haut ou vers le bas.
5/ Touche G
En mode Programmation ou dans le menu de l'utilisateur, appuyez sur cette touche pour revenir en arrêté.
6/ Touche "OK"
Pour confirmer les données entrées ou confirmer la selection ou pour activer l'affichage lorsque l'écran est étant.
7/ Touche
Pour entrer dans le mode Programmation
8/ Touche “ * “ : non utilisée
II. Mise en Service
La centrale offre un fonctionnement entièrement sans fils avec quatre piles alcalines LR20. La durée de vie des piles est estimée à 2 ans ou plus.
Pour un apprentice plus facile du fonctionnement de votre système, disposez tous les éléments à programmer sur une table devant vous, avant derialcder au montage à l'emplacement prévu.

Retirez le support de montage au mur en le déclipsant vers le bas.


Etape 1. Retirez les vis comme indiqué et enlevez le couvercle du compartment à piles et celui plus petit situé au dessus, qui donne accès à l'interrupteur de réinitialisation SW1.
Etape 2. Insérez les piles fournies dans le compartment à piles, en respectant la polarité.
Etape 3. Appuyez sur le bouton "SW1" pendant 3 secondes.
Etape 4. L'écran affiche en Anglais "Press ok (appuyer sur la touche OK). Sélectionnez la langue d'affichage à utiliser à l'aide des curseurs parmi les 5 langues affichées (English, Français, Nederlands, Deutsch et Français) et terminez en appuyant sur OK.
Un long bip se fera entendre et l'écran affiche "Armé" pendant quelques secondes.
Etape 5. Saisissez le Code Secret par défaut "0000" et appuyez sur "OK" pour désarmer la centrale.
| E | n | t | r | e | r | C | o | d | e | ||||||
| * |
Vousetendrez2bips courts et l'écran indique:
| D | é | s | a | r | m | é | |||||||||
La centrale est maintainant désarmée.
Refermer les 2 couvercles et remonter les vis.
- Vous doivent appuyer sur la touche "OK" confirmant le Code Secret saisi dans les 10 secondes sinon l'affichage disparaît et le système reste armé.
- Si vous appuyez sur plus de 20 touches (y compris les touches “OK” & “G”) sans un enchâinement valide, le clavier s'inactive pendant 1 minute.
- Si vous n'appuyez pas sur les touches pendant 10 minutes, l'affichage disparait et le système reste en mode désarmé.
Configurer votre système
I. Entrer dans le mode de Programmation
L'écran étant vide, appuyer sur OK pour vérifier que la centrale est en mode « Désarmé ». A partir de là,
Etape 1. Appuyez sur la touche “
à l'invite, saisissez le Code Secret Administrateur
| M | e | n | u | P | r | o | g | r | . | ||||||
| C | o | d | e | M | . | . | . | . | . |
Etape 2. Composez "0000" (Code Secret "Admistroeur" par défaut) dans les 10 sec.
Etape 3. Appuyez sur "OK"
Le message suivant est affchépendant 2 secs.
| M | e | n | u | P | r | o | g | r | . | ||||||
| C | h | o | i | s | i | s | s | e | z | . | . |

TABLEAU SYNOPTIQUE DES PROGRAMMES
Code Utilisateur 1 ou 2+OK

Pour revenir à tout moment à l'étape précédente, appuyer sur “G”.
Etape 4. Puis le menu de Programmation s'affiche.
Etape 5. Appuyez sur "▲", "▼" pour déplacer le curseur en haut ou en bas, les可以选择 :
Mode Test
- Régles Généaux.
Acc+/-
II. Réglages Généraux
Ce menu permet de définir les codes d'accès à la centrale et de personnaliser un certain nombre de paramètres de fonctionnement :
REGLAGES DISPONIBLES :
1. Codes Secrets Utilisateur
- 4 Codes Secrets peuvent être programmes : “Utilisateur 1”, “Utilisateur 2”, “Ménage” et “Temp”.
- “Utilisateur 1” et “Utilisateur 2”: Utilisables pour armer/désarmer la centrale,mettre en mode test et acceder au journal d'evénements.
- "Ménage" permet uniquement un Armement Total.
- "Temp": permet une seule manœuvre de désarmement puis d'armement ou une seule manœuvre d'armement (Le code est invalidé après une manœuvre d'armement).
- Chaque Code Secret est constitué de 4 chiffres. Le Code Secret “0000” est activé par défaut pour “Utilisateur 1”. Les autres codes ne sont pas au départ actifs. Avant de régler votre propre Code Utilisateur, “0000” doit être saisi à chaque fois que “Entrer Code” est affiché à l'écran.
Pour régler votre propre Code Utilisateur
Etape 1. Déplacer le curseur sur le menu "Code Utilisateur" puis appuyez sur "OK" l'écran suivant s'affiche :
- Le "o" affché pres de "Utilisateur 1" indique que celui "Utilisateur 1" est activé avec 0000 comme code par défaut
- Le "x" affiché après "Utilisateur 2", "Ménage" et "Temp" indique que ces codes ne sont pas actifs.
Etape 2. Utilisez les flèches pour sélectionner "Utilisateur 1" et appuyez sur "OK"
| N | O | u | v | e | a | u | c | o | d | e | |||||
| . | . | . | . |
Etape 3. Saisissez les 4 chiffres du code choisi puis "OK"
Pour revenir en arrêté appuyer sur G. le Code Secret d'origine est alors conservé.
Etape 4. L'écran returnera à l'écran précédent et affiche le nouveau code.
Etape 5. Suivez les mêmes étapes pour programmer et activer Utilisateur 2, “Ménage” et le Code Secret “Temp” respectivement.
- Les codes "Utilisateur 1", "Utilisateur 2", "Ménage" et "Temp" doivent être différents. Si des codes identiques sont selectionnés, l'écran affiche "Déjà pris, composez!". Choiser dans ce cas un autre code.
Pour activer & désactiver les Codes Secrets
- Chaque Code Secret sauf “Utilisateur 1” peut être activé ou désactivé en appuyant sur
- Au niveau de l'affichage ; les codes actifs sont visualisés par (o), les codes inactifs par (x)
Appuyez sur la touche "
L'affichage bascule du mode activé:
U T i 1. 2 (0) 1 1 1 1
à désacté:
U T i 1. 2 (x)
2. Codes Secrets Administrateur
- Ce Code est utilisé exclusivement pour acceder au mode de Programmation et est régé sur "0000" en usine.
- IMPORTANT : Sauf si il est également programme comme Code Utilisateur (1 ou 2), le code Administrateur n'est pas utilisable pour armer ou désarmer le système.
- Comment régler votre Code Administrateur.
Etape 1. A l'aide des flèches positionné vous sur Code Admin. et appuyez sur “OK”. L'écran affiche
| N | O | u | v | e | a | u | c | o | d | e | |||||
| . | . | . | . |
Etape 2. Saisissez les 4-chiffres du nouveau code choisi puis OK.
Etape 3. Saisissez ensuite à nouveau le code pour contrôle puis OK:
| A | n | o | u | v | e | a | u | . | . | . | |||||
| . | . | . | . |
L'écran returne au menu « Réglages Généaux »
- Si le code n'est pas correct, un message "Code est incorrect" s'affichera 2 secs. et vous devrez repeter l'objet 3.
- Il est recommandé de régler le "Code Admin" différentment des codes utilisateurs, pour que chaque personne responsable ait accès à la programmation, toute fois il peut être identique au code utilisateur 1 pour une utilisation plus facile.
Quand vous entrez dans les écrans de réglage individuels suivants, la valeur affichée à l'écran ou l'option que le curseur indique, est le réglage en cours de chaque élément.
Si il n'est pas nécessaire de changer le réglage en cours, appuyez simplement sur “ G “ pour sortir.
3. Retard à l'Entrée
Ce mode permet de selectionner le temps de retard à l'entrée, s'écouant entre une détction, et le déclenchement de l'alarme. Le salarié peut varier de 0 à 70 sec. par tranches de 10-sec.
Utilisez les touches “▲”, “▼” pour afficher le salarié souhaité, puis appuyez sur “OK”.
10 secs. est regle par défaut.
Le temps de retard à l'entrée ne concerne que les détecteurs paramétrés en mode « ENTREE » et « TEMP PARTIEL » (voir plus loin).
4. Retard à la Sortie
Ce mode permet de selectionner le temps de sortie s'ecoulant entre l'envoi d'une instruction d'armement, et l'armement effectif de la centrale. Le salarié peut varier de 0 à 70 sec. par tranches de 10-sec
| R | e | t | a | r | d | S | o | r | t | i | e | ||||
| 1 | 0 | s | e | c | . |
Utilisez les touches "▲", "▼" pour afficher le salarié souhaité, puis appuyez sur "OK".
10 secs. est régla par défaut.
5. Tempo d'alarme
Il s'agit de la durée de fonctionnement de la sirène intégrée quand une alarmé est activée. Sur la centrale ce déliait peut varier de 1 min. à 10 min. par tranche d'1 min.
Utilisez les touches "▲", "▼" pour passer d'une valeur à une autre puis appuyez sur "OK".
- 3 minutes est régées par défaut.
6. Sirene U.C
Permet l'activation ou la désactivation de la sirène intégrée à la centrale.
- Appuyez sur “▲”,“▼” pour sélectionnner l'option souhaïée puis sur “OK.
- "Sirène U.C OUI" (sirène active) est régle par défaut.
7. Auto-pro. U.C
Permet d'activer ou de désactiver la protection à l'arrachement et à l'ouverture de la centrale.
| A | - | P | U | . | C | . | N | O | N | ||||||
| A | - | P | U | . | C | . | O | U | I |
- Appuyez sur “▲”, “▼” pour sélectionner la valeur souhaitée puis “OK”.
- “A-P U.C. NON” est régle par défaut.
L'autoprotection de la centrale s'active d'elle-même après une vingtaine de minutes donc vous n'êtes pas obligé de penser à activer cette fonction.
8. Sortie sonore
Permet de selectionner un volume faible, fort ou de supprimer les bips d'advertisement sonores émis pendant le retard à la sortie.
| F | a | i | b | I | e | ||||||||||
| F | o | r | t | ||||||||||||
| A | u | c | u | n |
- Appuyez sur les touches “▲”, “▼” pour sélectionner la valeur souhaïée puis “OK”.
- "Faible" est régle par défaut.
9. Entre esonore
Permet de selectionner un volume faible, fort ou de supprimer les bips d'advertissement sonores émis pendant le retard à l'entrée.
| F | a | i | b | I | e | |||||||||
| F | o | r | t | |||||||||||
| A | u | c | u | n |
- Appuyez sur les touches “▲”, “▼” pour sélectionner la valeur souhaitée puis “OK”.
- "Faible" est régle par défaut.
Les réglages sonores n'influent que sur les Bips de signalisation et n' affectent pas la puissance de la sirène sur la centrale, qui n'est pas réglabre en intensité.
10. Carillon
La centrale dispose d'un carillon d'entrée, qui sera activé par les détecteurs paramétrés en mode « ENTREE » (voir plus loin) lors d'une détction, lorsque la centrale n'est pas armée.
Ce menu permet de valider ou d'invalider le carillon sur la centrale et de selectionner entre un volume fort ou faible.
| C | a | r | i | l | l | o | n | f | a | i | b | l | e | ||
| C | a | r | i | l | l | o | n | f | o | r | t | ||||
| C | a | r | i | l | l | o | n | N | O | N |
- Appuyez sur les touches “▲”, “▼” pour sélectionner la valeur souhaïée puis “OK”.
- "Carillon faible" est régle par défaut.
11. Interférences
La centrale possède un dispositif de détction des interférences radio sur sa fréquence, susceptibles de générer les liaisons avec ses accessoires. Le menu INTERFERENCES permit d'activer ou de désactiver ce dispositif.
- Quand le dispositif est actif, si des interférences de plus de 30 secondes sont détectées la Centrale indiquera un message d'erreur en modes Désarmé et Partiel mais déclenchera l'alarme en mode Total (voir plus loin les modes d'armement du système).
- Quand le dispositif est inactif, la centrale ne réagira pas en cas d'interférences.
| A | n | t | i | - | s | a | t | . | O | U | I | |||
| A | n | t | i | - | s | a | t | . | N | O | N |
- Appuyez sur les touches “▲”, “▼” pour sélectionner la valeur souhaïée puis “OK”.
- “Anti-sat. NON” (inactif) est réglé par défaut.
12. Bips d'alerte
Ce menu permet d'activer ou de désactiver les bips d'alerte en cas d'erreurs système.
| B | i | p | a | I | a | r | m | e | O | U | I |
- Appuyez sur les touches “▲”,“▼” pour selectionner la valeur souhaitation puis “OK”. “Bip alarmé OUI” est régle par défaut.
Si "Bip alarmé OUI" est choisi, en mode Désarmé la centrale fera entendre un bip toutes les 30 sec. dans les cas ou une erreur système persiste.
13. Langues
Choisissez la langue d'affichage souhaitée.
| E | n | g | l | i | s | h | |||||||||
| F | r | a | n | ç | a | i | s | ||||||||
| N | e | d | e | r | l | a | n | d | s | ||||||
| D | e | u | t | s | c | h | |||||||||
| E | s | p | a | n | o | l |
- Appuyez sur les touches “ ,” ” pour sélectionner la valeur souhaïée puis “OK”.
III. Menu Accessoires
1. Ajouter des Accessoires
Les accessoires de commande (telécommande et clavier déported) et de détction (décteurs PIR et d'ouverture et déducteurs de risques domestiques) doivent faire l'objet d'un apprentice passage par la centrale, afin de pouvoir dialoguer avec elle.
Cet apprentice se fait par le menu "Ajouter Acc."
1.1 Télecommande HA2000R


La télécommande permet de mettre la centrale en modes d'armement TOTAL, PARTIEL, DESARMEMENT et aussi de proceder à un déclenchement « panique » de l'alarme.
DESCRIPTION
1. Touche

Appuyer pendant 3 secondes pour un armement TOTAL
2. Touche

Appuyer pendant 3 secondes pour un déclenchement en alarme panique.
3. Touche
Appuyer pendant 3 secondes pour un armement PARTIEL.
4. Touche
Appuyer pendant 3 secondes pour un désarmement (à partir d'une situation d'armement TOTAL ou PARTIEL). Si l'alarme sonne, elle s'arrête.
5. DIODE TEMOIN
6. COMPARTIMENT PILE
Témoin d'émission
Si vous appuyez sur l'une des quatre touches pendant 3 secondes, la diode s'allume pour confirmer l'envoi du signal correspondant à la Centrale.
- Pile
La télécommande fonctionne avec une pile Lithium "CR2032" de 3V 230 mAh. La durée de vie de la pile est d'environ 2 ans.
- Mise en service

- Enlevez le couvercle en le faisant tourner dans le sens contraire des aiguilles d'une montre avec une piece de monnaie.
- Insérez la pile comme indiqué dans le schéma avec le + vers vous.
Refermez-le couvercle en le faisant tourner en sens inverse. - La centrale étant à l'etat « Désarmé » appuyer sur puis composez le code Administrateur puis OK. Sélectionnez le menu “Acc. +/-” puis OK, puis « Ajouter Acc. » puis OK.
L'écran affiche :
| A | p | p | u | y | e | r | O | K | : | ||||||
| A | c | c | . | à | a | j | o | u | t | e | r | ! |
- Appuyez sur une des touches de la télécommande pendant 3 secondes.
La centrale affiche :
- Appuyer sur OK pour confirmer. Vous pouvez ensuite attribuer un nom à la télécommande (ex.prénom de la personne qui l'utilise):
| E | n | t | r | e | z | s | o | n | N | O | M | : | |||
| . | . | . | . | . | . | . | . | . | . | . | + | O | K |
- Vous pouvez entrer jusqu'à 12 caractères de votrechoix suivis de "OK" ou appuyer simplement sur "OK" si vous ne souhaitez pas utiliser cette possibilité.
- Quand l'écran "Entrez son NOM", apparaît, le clavier peut être utilisé pour entraîre le texte, comme les "texto" d'un téléphone portable.
- Quand vous appuyez sur la touche “ ”, les caractères passeront de majuscules en minuscules et seront indiqués à la première ligne de l'écran soit dans la case du haut ou celle du bas au format “NOM” ou “nom”.
| 1 | 1 |
| 2 | ABC2(abc2) |
| 3 | DEF3.def3) |
| 4 | GHI4(ghi4) |
| 5 | JKL5(jkl5) |
| 6 | MNO6(mno6) |
| 7 | PQRS7(pQRS7) |
| 8 | TUV8(tuv8) |
| 9 | WXYZ9(wxyz9) |
| 0 | <espace>0 |
| / & .', | |
| Sélection minuscule ou Majuscule | |
| ▲ | Espace en avant |
| ▼ | Espace en arrière |
| Effacer caractère et espace en arrière |
Appuyez ensuite sur "OK" pour terminer.
Le nom peut être effacé en appuyant sur puis sur "OK".
- Si vous avez d'autres télécommandes à enregistrer, procéder de la même façon.
1.2 Contact d'Ouverture HA2000M
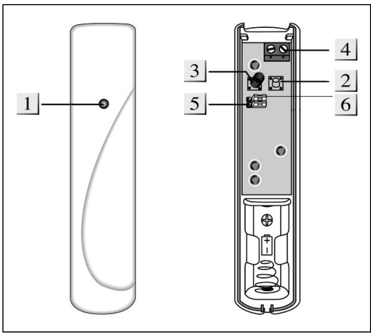
Le Contact d'Ouverture (ou Contact Magnétique) est utilisé pour détecter l'ouverture et la fermeture des portes et fenêtres. De façon générale, le Contact d'Ouverture est fixé sur le cadre de la porte ou fenêtre et l'aimant lui fait face sur le battant. Quand la porte s'ouvre, l'aimant s'éloigne et un signal d'alarme est envoyé à la centrale.
Le Contact d'Ouverture est constitué de deux parties, une base et un couvercle. Le couvercle contient toute l'électronique et la base sert à la fixation sur le support. Un contact d'autoprotection protège le boîtier contre les ouvertures ou l'arrachement de la surface sur laquelle il est monté.
DESCRIPTION
Desserer sur une longueur de 5 mm environ la vis à la base du détecteur (elle ne sort pas complètement) puis séparer les deux parties en commençant par l'extrémité où se trouve la vis.
1. Témoin lumineux
2. Bouton Enregistrement / Test
Ce bouton est utilisé pour tester la communication radio avec la centrale et pour l'enregistrement du détecteur sur la cert

3. Contact d'auto protection.
Protège le boîtier des ouvertures ou de l'arrachement.
4. Bornier supplémentaire
Permet le raccordement de détecteurs filaires supplémentaires délivrant un contact sec de type N.F. (Normalement fermé).
5. Cavalier mode TEST JP1
Ce cavalier (celui du haut) est utilisé pourmettre le Contact d'Ouverture en mode Test :

Si le cavalier est sur ON (à cheval sur les deux broches), le contact d'ouverture est en mode Test. La diode是用来 s'allume lors de chaque ouverture ou fermeture de la porte, ce qui permet de contrôler le bon fonctionnement du détecteur.

Si le cavalier est sur OFF (le cavalier est enlevé ou à cheval sur une seule broche), le Contact d'Ouverture est en mode Normal. (mode par Défaut)
6. Cavalier de selection de fonctionnement (JP2)
Ce cavalier (celui du bas) est à positionner en fonction de l'utilisation de l'aimant :

Positionner le cavalier sur ON si vous ne souhaitez pas utiliser l'aimant (seuls les détecteurs filaires connectés au bornier activeront le Contact d'Ouverture.

Positionner le cavalier sur OFF si vous souhaitez utiliser l'aimant.
- Quelle que soit la position du cavalier JP2, le bornier reste actif.
Témoin lumineux
En mode de fonctionnement Normal, la diode sur la face avant du détecteur ne s'allumera pas sauf dans les situations suivantes:
- Dans le cas de piles faibles, chaque fois que le Contact d'Ouverture sera activé (ouverture ou ferméture de porte.)
- Si le couvercle est ouvert et si l'interrupteur Auto-P est désactivé.
- Pile
Le Contact d'Ouverture fonctionne avec une pile 3.6V Lithium dont la durée de vie dépasse en général 3 ans.
Le niveau de la pile est surveillé, un signal de pile faible est envoyé à la centrale 1 mois avant l'épuisement total de la pile.
- Supervision
- ÀpRES installation, le Contact d'Ouverture transmet automatiquement des signaux de supervision à des intervalles de 30 à 50 min à la centrale.
- Si la centrale cesse de receivevoir le signal, elle se met en défaut.
- Mise en service
- Insérez la pile dans son logement en prénant soin de respecter la polarité.
- Le témoin lumineux clignote brievement, attendez pendant 10 secondes.
- La centrale étant deja dans le menu "Acc. +/-", Sélectionnez le menu "Ajouter Acc." puis OK.
L'écran affiche :
| A | p | p | u | y | e | r | O | K | : | ||||||
| A | c | c | . | à | a | j | o | u | t | e | r | ! |
- Appuyez sur OK puis appuyez sur le bouton test bleu à l'intérieur du détecteur.
L'écran affiche :
- Appuyer sur OK pour confirmer.
La centrale vous demande alors de définir le paramétrage du détecteur parmi les suivants :
- Le nombre de paramètres varie en fonction du type de détecteur considéré.
PARAMETRAGE DES DETECTEURS
| PARAMETRAGE | CODE | ARMEMENT TOTAL | ARMEMENT PARTIEL | |
| INTRUSION | INSTANT NON | I | DECLENCHEMENT IMMEDIATET | |
| INSTANT OUI | II | |||
| PARTIEL | INSTANT NON | P | DECLENCHEMENT IMMEDIATET | DETECTEUR INACTIF |
| INSTANT OUI | PI | |||
| ENTREE | E | DECLENCHEMENT RETARDE + CARILLON SI CENTRALE DESARMEE | ||
| TEMP PARTIEL | INSTANT NON | D | DECLENCHEMENT IMMEDIATET | DECLENCHEMENT RETARDE |
| INSTANT OUI | DI | |||
| 24H | H | DECLENCHEMENT MEME SI CENTRALE DESARMEE, MODE UTILISABLE UNIQUÉMENT POUR LES DETECTeurs D'OUVERTURE UTILISES COMME RELAIS POUR LE RACCORDEMENT DE DETECTeurs FILAIRES (Incendie et autres risques domestiques) | ||
| FEU | F | |||
| AGGRESSION | P | DECLENCHEMENT MEME SI CENTRALE DESARMEE, MODE UTILISABLE POUR télécommande HA2000R et médaillon HA2000SOS | ||
| MEDICALE | M | DECLENCHEMENT MEME SI CENTRALE DESARMEE, MODE UTILISABLE POUR medaillon HA2000SOS et interrupteur panique HA2000PB | ||
| ALARME int .ou ext. | Al ou AE | DECLENCHEMENT DE BIPS SUR LA CENTRALE + SIRENES DEPORTEES, MODE UTILISABLE POUR Détecteur d'inondation HA2000W et Détecteur de monoxyde de carbone HA2000CO | ||
- En vous référant au tableau de la page précédente,CHOISSEZ le paramétrage pour le détecteur d'ouverture, en fonction de son emplacement et de l'utilisation prévue.
- Si le détecteur d'ouverture est utilisé en mode intrusion, les paramétrages INTRUSION, PARTIEL, ENTREE, TEMPS PARTIEL sont utilisables.
Utiliser impératifement PARTIEL pour un détecteur qui ne devra fonctionner qu'en armement TOTAL mais PAS en armement PARTIEL (par exemple ceux situés dans les pièces que vous occupez la nuit). - Si le détecteur sort de relais pour des détecteurs domestiques devant déclencher l'alarme dans toutes les conditions (centrale armée ou désarmée), utilisez les modes 24H, ou FEU si il s'agit spécifique d'une détction incendie.
-
Positionnez le curseur en face du paramétrage désiré et appuyez sur OK.
L'écran vous invite ensuite à définir le mode de déclenchement : -
En mode « Instantané OUI», le déclenchement de l'alarme durant une temporisation d'entrée sera instantané après sollicitation du détecteur.
-
En mode « Instantané NON», la centrale attend la fin de la temporisation d'entrée avant de déclencher l'alarme, après sollicitation du détecteur.
- Positionné le curseur en face du réglage désiré puis appuyez sur OK.
L'écran affiche ensuite:
| E | N | t | r | e | z | s | o | n | N | O | M | : | |||
| . | . | . | . | . | . | . | . | . | . | . | + | O | K |
- Vous pouze attribuer un nom au détecteur, de manière à faciliter l'identification ultérieure d'un problème, par exemple l'origine d'une alarme. Ex : « chambre 1 »
- Vous pouvez entrair jusqu'à 12 caractères de votrechoix suivis de "OK" ou appuyer simplement sur "OK" si vous ne souhaitez pas utiliser cette possibilité.
L'ecran affiche ensuite l'accessoire ajouté et vous demande une dernière fois de confirmer :
| M | Z | o | n | e | 0 | 2 | I | I | |||||||
| C | O | n | f | i | r | m | e | r | (O | K | ? | ) |
-
Dans cet exemple :
-
M : indique que l'accessoire est un détecteur magnétique d'ouverture.
-
Zone 02 : La zone est attribuée en série de façon automatique par la centrale (02 car vous avez déjà enregistré une télécommande).
-
I: il s'agit du code indiquant le paramétrage choisi (liste des codes dans le tableau page précédente)
- Confirmer en appuyant sur OK, l'enregistrement du détecteur est terminé et l'écran returne au menu d'ajout d'accessoires, vous permettant le cas échéant d'enregistrer d'autres détecteurs.
Pour sortir et revenir au mode DESARME, appuyer sur la touche G
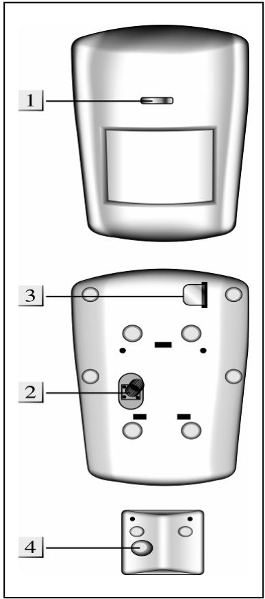
1.3 Détector PIR HA2000P
Le détecteur PIR permet une détction de mouvements au sein d'une zone assignée et déclenché l'alarme si un intrus traverse son champ de détction.
Le détecteur est constitué de deux parties: un couvercle et sa base. Le couvercle contient toute l'électronique et l'optique, la base permet la fixation. Un montage d'angle est possible grâce au support
triangulaire fourni mais le détecteur peut aussi être fixé à plat sur un mur auquel cas le support triangulaire ne sera pas utilisé.
Un interrupteur d'autoprotection déclenché l'alarme si le détecteur est arraché du mur (montage à plat) ou de sa base en cas de montage en angle.
- Pile
Le Deteur PIR fonctionne avec une pile 3.6V Lithium dont la durée de vie dépasse en général 3 ans.
Le niveau de la pile est surveillé, un signal de pile faible est envoyé à la centrale 1 mois avant l'épuisement total de la pile.
- Supervision
- ÀpRES installation, le détector PIR transmet automatiquement des signaux de supervision à des intervalles de 30 à 50 min à la centrale.
Si la centrale n'a pas reçu le signal après un temps programme, elle se met en défaut.
Le PIR est donc pour offrir une détction jusqu'à 12 mètres sur 90^ s'il est monté à 2 mètres au-dessus du sol (en fonction de paramètres comme température ambiente, importance de la masse en déplacement, direction du déplacement par rapport au détecteur)
Description
1. Bouton Test et témoin lumineux
Le bouton test est double d'un Témoin lumineux. Le bouton test est utilisé pour tester la performance de la radio et pour l'enregistrement du détecteur sur la centrale. Le Témoin lumineux est utilisé pour indiquer l'état du système.
2. Interrupteur d'Auto Protection
L'interrupteur d'Auto Protection protège le boîtier d'une ouverture non autorisée.
3. Isolant des piles
4. Support de montage d'angle
Mode normal
Le PIR se désactive de lui-même pendant environ 1 minute pour économiser de l'énergie après chaque détction. Si un autre mouvement est detecté pendant ce décai, le temps de mise en sometime des émissions sera prolongé d'une minute. De cette façon, les mouvements continus devant un PIR ne sollicitent pas les piles.
Mode Test
Il est obtenu en appuyant sur le bouton Testitué sur la face avant
au-dessus de la lentille. En mode Test, la détction est répétitive et le témoin lumineux clignote à chaque fois qu'un mouvement est détecté. A chaque fois que le bouton Test est pressé, le PIR transmettra un signal radio à la centrale pour un test de portée radio et reste en mode test pendant 3 min. à l'issue desquelles le détector revient en mode normal.
Témoin lumineux
En fonctionnement normal, le témoin lumineux ne s'allume pas sauf dans les situations suivantes:
- Quand la pile est faible, le témoin lumineux s'allume pendant environ 2 secondes lors des déctions.
- Si le détecteur est ouvert et l'interrupteur d'autoprotection n'est pas fermé, le témoin lumineux

s'allume pendant environ 2 secs. pour indiquer la transmission du signal d'autoprotection.
- Initialisation
- Tirez la languette isolante vers vous pourmettre la pile en service. La languette doit sortir complètement et ne sera plus utilisée.
- Le témoin lumineux clignote de manière continue pendant 30 secondes (période d'initialisation). Pendant ce temps, le PIR n'est pas actif. A l'issue de ce début le témoin s'éteint et le PIR est prét à fonctionner.
- La centrale étant dans le menu "Acc. +/-", Sélectionnez le menu "Ajouter Acc." puis appuyez sur OK.
L'écran affiche
| A | p | p | U | y | e | r | O | K | : | ||||||
| A | c | c | . | à | a | j | o | u | t | e | r | ! |
- Appuyez sur le bouton test du détecteur.
L'écran affiche
| D | ét | et | ct | ct | e | ur | P | I | R | : | |||
| Dé | t | ec | ct | é | ( | O | K | ? | ) |
Appuyer sur OK pour confirmer.
- La centrale vous demande alors de définir le mode de fonctionnement du détecteur. Procede de la même façon que pour le détecteur d'ouverture, après avoir choisi le paramétrage adéquat à l'aide du tableau.
Positionnez le curseur en face du paramétrage désiré et appuyez sur OK.
L'écran vous invite ensuite à définir le mode de déclenchement (Instantané ou retardé). Positionné le curseur en face du réglage désiré puis appuyez sur OK.
L'écran affiche ensuite :
| E | nt | r | e | z | s | o | n | N | O | M | : | ||
| . | . | . | . | . | . | . | . | . | . | . | + | O | K |
- Vous pouze attribuer un nom au détecteur, de manière à faciliter l'identification ultérieure d'un problème, par exemple l'origine d'une alarme. Ex : « SEJOUR »
- Vous pouvez entrair jusqu'à 12 caractères de votrechoix suivis de "OK" ou appuyer simplement sur "OK" si vous ne souhaitez pas utiliser cette possibilité.
L'écran affiche ensuite l'accessoire ajouté et vous demande une dernière fois de confirmer :
| P I R Z o n e 0 3 | P | C O n f i r m e r (O K ? ) |
-
Dans cet exemple :
-
PIR : indique que l'accessoire est un détecteur PIR.
-
Zone 03 :La zone est attribuée en sequence de façon automatique par la centrale (03 si vous avez par exemple précédrement enregistré une télécommande et un détecteur d'ouverture).
-
P : il s'agit du code indiquant le paramétrage besoini (liste des codes dans le tableau des paramétrages)
- Confirmer en appuyant sur OK, l'enregistrement du détector est terminé et l'écran returne au menu d'ajout d'accessoires, vous permettant le cas échéant d'enregistrer d'autres détecteurs.
Pour sortir et revenir au mode DESARME, appuyer sur la touche G
1.4 Médaillon de détresse HA2000SOS
La procédure d'enregistrement du medaillon est similaire à celle utilisée pour les détecteurs. le signal de reconnaissance est envoyé en appuyant sur le bouton de détresse pendant 2 secondes. Vous pouvez ensuite spécifique le paramétrage au besoin entre les modes AGRESSION ou MEDICAL.
1.5 Interrupteur panique HA2000PB
La procédure d'enregistrement de l'interrupteur est similaire à celle utilisée pour le medaillon HA2000SOS. Le signal de reconnaissance est envoyé en appuyant sur le bouton de détresse pendant 2 secondes. Vous pouvez ensuite spécifique le paramétrage au besoin entre les modes AGRESSION ou MEDICAL.
1.6 Détecteur d'oxyde de carbone HA2000CO & d'inondation HA2000W
Le détecteur HA2000CO est enregistré simplement en appuyant sur le bouton sur la face avant du détecteur (voir guide détaillé fourni avec le détecteur). Le détecteur bipera 3 secondes.
Pour le détecteur d'inondation HA2000W, démonter le détecteur en enlevant les vis, le signal de reconnaissance est envoyé à la centrale en appuyant sur l'interrupteur bleu situé sur la carte.
Voussousqueensuite specifiele parametragede chaque détecteur parmi 2 modes differents :
- "Al" pour Alarme Interne
Seule la sirène de la centrale est activée (en cas d'alerte, les sirènes déportées interieure et extérieure sont inactives).
- “AE” pour Alarme Externe
En cas d'alerte, la sirène de la centrale et aussi les sirenes déportées seront activées.
1.7 Détector de fumée HA2000S
L'apprentissage du détecteur de fumée par la centrale se fait après que le calibrage automatique du détecteur soit terminé (voir détails sur le guide du détecteur). Appuyer sur la touche Test du détecteur, la centrale indique
- Confirmer en appuyant sur OK.
- Dans l'exemple ci après:
| S | Z | o | n | e | 0 | 8 | F | |||||||
| C | o | n | f | i | r | m | e | r | ( | O | K | ? ) |
Le détector est visualisé comme « S » (Smoke = fumée en angeis), la centrale lui alloue la zone 08 (7 accessoires étaient déjà mémorisés), et le détector se positionne automatiquement en zone F (FEU).
DESCRIPTION:


- Voyant d'Etat
- Voyant d'Information
- Voyant d'Erreur
- Caches Vis
- Touche Armement Total
- Touche Armement Partiel
- Touche - pour returner en arrêté d'une étape et demande d'Information à la centrale
- Touche Désarmement
- Touche #
10. Touche
-
pour entrer dans le menu programmation
-
Touche Médicale +
-appuyez sur les deux touches 7 et 9 pour déclencher l'alarme Médicale - Touche Incendie
- appuyez sur les deux touches 4 et 6 pour déclencher l'alarme Incendie
- Touche Agression A
- appuyez sur les deux touches 1 et 3 pour déclencher l'alarme Aggression
- Trous de fixation
- Interrupteur Auto-P
16. Touches Numérotées
- En veille, tous les voyageants sont eteints. Quand vous appuyez sur une touche, le voyageant d'etat rouge s'allume pendant 5 secondes indiquant que le HA2000K est actif.
- Levoyant d'etat s'éteint quand vous avez appuyé sur une série de touches valides ou quand la pause entre les touches est plus longue que 5 secondes.
- Si levoyant d'etat s'éteint avant qu'une série de touches valide soit terminée, la manoeuvre est ignorée.
- Un bip court est entendu lors de chaque appui sur une touche.
- Trois bips continus indiquent que l'utilisateur doit repeter son action.
Alimentation:
- Le clavier fonctionne avec une pile CR2450 3V au lithium pré-installée en usine dont la durée de vie normale est de 3 ans avec une moyenne de 5 activations par jour.
| VOYANT | FUNCTION | VERT | ROUGE | ||
| FIXE | CLIGNOTANT | FIXE | CLIGNOTANT | ||
| ETAT | Mode Test | Piles faibles (en mode test) | Témoin touche | Piles faibles (en mode normal) | |
| INFO | mode DESARME | ERREUR (code faux, pas de réponse centrale, etc) | mode TOTAL | mode PARTIEL | |
| ERREUR | Mémoire d'Alarme | ERREUR SYSTEME (autoprotection, probl. supervision, etc) | |||
- Si la pile est faible le voyant d'Etat clignote (vert en mode Test ou rouge en mode normal) pendant le fonctionnement. Le signal de pile faible est alors envoyé à la centrale.
Fonction économique d'énergie
En vue, le HA2000K n'utilise pas d'énergie. Il s'active pendant 5 secondes quand vous appuyez sur une touche.
- Avec 5 secondes d'inactivité, les voyants s'éteignent et le clavier returne au mode veille.
Mode Test:
- Il permet une désactivation-temporaire de l'autoprotection, par exemple lors de l'installation du clavier ou pour changer la pile.
Pour passer en mode test saisissez le code Administrateur du clavier régle par défaut 0000 puis

Levoyant d'etat s'allume vert fixe.
A partir du mode test, les fonctions suivantes sont accessibles :
Transmission du signal d'enregistrement et de test du clavier : “ ” + “7”
- Activation de l'alarme panique à doubles touches —“ ” + “2”
- Activation de l'alarme incendie à doubles touches —“” + “3”
- Activation de l'alarme Médicale à doubles touches —“P” + “4”
- Changement du code Administrateur —“ ” + “6”
Désactivation de toutes les doubles touches - "P" + "5"
- Le clavier permet le cas échéant un armement PARTIEL ou TOTAL sans exiger de code utilisateur (par exemple pour permettre ces manoeuvres à un utilisateur occasionnel à qui l'on ne souhaite pas délivrer de code autorisant le désarmement.) Cette fonction peut être activée ou désactivée comme suit :
-
Autoriser l'Armement Total / Partiel sans Code Utilisateur : “P” + “8”
-
Interdire l'Armement Total / Partiel avec Code Utilisateur — “ ” + “9”
-
Pour sorting du mode Test, appuyez deux fois sur la touche “ ( )”, le clavier émet un bip long et levoyant d'Etat passé de vert à rouge avant de s'éteindre, puis le clavier returne en mode veille. Sinon le clavier sortira automatiquement du mode Test après 5 minutes.
Installation:
Etape 1. Placez le clavier en mode Test en entrant "0000" puis "". Le clavier émet un bip long et le voyant d'etat s'allume vert fixe.
Etape 2.Enregistrer ensuite le clavier sur la centrale :
Sélectionnez, sur la centrale, le menu "Acc.+/-" puis le sous-menu "Ajouter Acc."
Sur le clavier, appuyez sur "®" et « 7 ». Le clavier et la centrale émettent un bip.
Terminer l'enregistrement sur la centrale comme vous l'avez fait pour les autres accessoires.
Etape 3.Àpres enregistrement du clavier, mettez la centrale en Mode Test, tenez le clavier à l'endroit prévu pour son montage, puis appuyez sur "®" et "7" pour contrôle que la centrale est bien à portée.
Vous ne pouvez pas enregistrer le clavier sur la centrale si un autre accessoire (telécommande ou détecteur) n'est pas déjà en mémoire.
Le clavier est etanche et vous pouze sans crainte le positionner a l'extérieur.
Etape 4. Enlevez les 2 caches clipsés sur la partie avant du clavier.
- Utilisez les 2 orifices de passage des vis de fixation comme gabarit pour pointer les emplacements des trous sur le mur support.
-
Insérez les chevilles puis monter le clavier à l'aide des 2 vis. Assurez vous que le ressort du contact d'autoprotection est maintainu appuyé par le support mural.
-
Remetre en place les 2 caches de vis puis partager du mode test en appuyant deux fois sur la touche
- Sortir la centrale du mode test.
- Changement du Code Administrateur:
Le clavier dispose d'un code Administrateur qui autorise exclusivement l'accès au mode test et à la programmation. Ce code est régèle en usine sur « 0000 ». Pour le modifier :
Etape 1. Placez vous en mode Test, ensuite appuyez sur les touches " et " un long bip sera émis.
Etape 2. Entrez "0000" ou le code existant si le code usine a déjà été modifié.
Etape 3. Appuyez sur "O", le clavier émet un long bip.
Etape 5. Entrez votre nouveau code à 4 chiffres et appuyez sur "#", le clavier émet un long bip.
Etape 6. Appuyez deux fois sur " pour sortir du Mode Test.
- Fonctionnement
IMPORTANT : Les manoeuvres d'armement Total, Partiel et de Désarmement sont effectuées en utilisant l'un au besoin des codes utilisateurs présents SUR LA CENTRALE.
Ces codes ne nécessitant PAS d'être programmes sur le clavier lui-même.
Armement Total : composer un Code utiliser + “ 🅥 ”
Armement Partiel : composer un Code utiliser + “ 📦 ”
Désarmement : composer un Code utiliser + “ 🍸 ”
- Alarme Aggression — “1” + “3” en même temps
- Alarme Incendie — “4” + “6” en même temps
- Alarme Médicale — “7” + “9” en même temps
Réinitialisation
Si vous avez oublé le Code Administrateur du clavier ou si un dysfonctionnement s'est produit, vous pouvez réinitialiser les paramètres usine sur le clavier de la façon suivante :
Etape 1 Ouvrez le clavier, retirez la pile et activez l'interrupteur d'auto protection plusieurs fois.
Etape 2 Appuyez sur "3" pendant que vous replacez la pile.
Etape 3 Continuez à appuyez sur "3" jusqu'à ce 3 bips courts indiquent une réinitialisation réussie
Etape 4 Relâchéz le bouton "3"
- Fonction interrogation à distance de la centrale.
Le clavier vous permet de contrôler, par exemple lorsque vous rentrez chez vous, le statut de la centrale, afin de vérifier si elle est armée ou désarmée.
Pour obtenir cette information, appuyer simplement sur la touche du clavier. ÀpRES 1 seconde environ (temps d'échange d'information avec la centrale), la diode d'information s'allume de la façon suivante :
- VERT FIXE si la centrale est désarmée (vous pouvez entrer).
- ROUGE FIXE si la centrale est en armement TOTAL (Désarmer avant d'entrée)
- ROUGE CLIGNOTANT si la centrale est en armement PARTIEL
(Désarmer si besoin en fonction des zones actives)
- Changer la pile
Etape 1 Mettez la centrale en mode Test.
Etape 2 Démontez le clavier, en enlevant d'abord les caches vis puis les vis de fixation.
Etape 3 Ouvrez le clavier en démontant les 3 vis de fixation situées à l'arrière.
Etape 4 Enlevez l'ancienne pile et attendez 5 minutes avant de la replacer par une neue, avec le côté marqué + vers vous.
Etape 5 Refermez le boîtier de la même façon, remontez le clavier sur son support et replacez les caches.
Etape 7 Sortez la centrale du mode test.

2. Modifier des Accessoires
Pour modifier le paramétrage ou renomer les accessoires qui ont déjà été installés, désissez "Modifier Acc." dans le menu "Acc. +/-". L'écran indique :
| D | é | b | u | t | |||||||||||
| ▼ |
- Cherchez l'accessoire à modifier en utilisant les touches “ ”,“▲”. Les éléments mémorisés sont listed dans l'ordre des numérios de zone, par exemple :
| R | Z | o | n | e | 0 | 1 | P | ||||||||
| A | I | e | x | . | . | . | . | . | . | . | . |
- Appuyez sur "OK" quand l'accessoire désiré est trouvé, puis à nouveau OK pour confirmer.
- Choiser les nouvelles options de paramétrage parmi celles proposées, vous avec aussi la possibilité de changer le nom de l'accessoire. Terminer en appuyant sur OK, l'écran revient ensuite à l'affichage de la liste.
- Si le menu "modifier Acc." est besoin alors qu'aucun accessoire n'a ete memorise, l'ecran indique "Pas d'accessoire disponible" pendant 2 secs. et returnera au menu des "Acc. +/-
3. Supprimer des Accessoires
Pour effacer un accessoire,CHOISSEZ "Effacer Acc." dans le menu "Acc. +/-". L'écran indique:
| D | é | b | u | t | |||||||||||
| ▼ |
Etape 1. Cherchez l'accessoire à supprimer en utilisant les touches “ ”,“▲”. Les noms sont listed dans l'ordre des numérios de zone.
- Positionnez le curseur face à l'accessoire à supprimer puis appuyez sur OK. Une confirmation vous est demandée ..
| P | I | R | Z | o | n | e | 0 | 3 | I | I | |||||
| E | f | f | a | c | e | r | ( | O | k | ? | ) |
- Appuyez sur "OK". L'accessoire est maintainant supprimé et l'écran returne à la liste.
- Si vous n'êtes pas certain de l'accessoire à supprimer, vous pouvez revenir en arrêté en appuyant sur G
- Si le menu "Effacer Acc." est choisi alors qu'aucun accessoire n'a ete memorise, l'ecran indique "Pas d'accessaire disponible" pendant 2 secs. et returne au menu "Acc. +/-".
4. Programmer une Sirène ou un transmetteur d'alerte téléphonique
Si une sirène extérieure ou un transmetteur téléphonique sont prevus dans l'installation, ils doivent etre programmes par la centrale. (La centrale envoie un signal radio qui devra faire l'objet d'un apprenticessage par la sirène ou le transmetteur).
Pour programmer la sirène ou le transmetteur, selectionner "Menu Sirene" dans le menu "Acc. +/-" puis appuyer sur OK. L'écran affiche le menu de paramétrage de la sirène:
- Mettez la sirène ou le transmetteur en mode Apprentissage (Référez-vous à son manuel de fonctionnement).
-
Dans le Menu Sirené de la centrale déplacez le curseur sur la position "Signal sirené" puis appuyez sur "OK".
-
La centrale émet un BIP prolongé en même temps qu'elle envoit un signal radio destiné à la sirène ou au transmetteur. La sirène ou le transmetteur accusent réception du signal. Terminez la procédure sur la sirène ou le transmetteur en vous reférant au guide correspondant.
4.1 Auto Protection de la Sirene
La sirène dispose d'un contact d'autoprotection à l'arrachement et à l'ouverture qui peut être activé et désactivé à distance par la centrale.
- Pour désactiver l'Auto Protection de la Sirène sélectionnez “ A-P. Sirène NON ” et appuyez sur “OK”
- Pour activer l'Auto Protection de la Sirené sélectionnez “ A-P. Sirené OUI” et appuyez sur “OK”.
L'auto protection de la Sirene se reactive automatiquement après environ une heures.
4.2 Confirmation d'Armement
La sirène peut confirmer l'armement et le désarmement du système en émettant des bips.
- Pour désactiver les bips de confirmation, Sélectionnéz “Confirm. Non” et appuyez sur OK.
- Pour activer les bips de confirmation, Sélectionnez "Confirm. Oui" et appuyez sur OK.
4.3 Supprimer la Sirene
Pour supprimer la sirène, positionnez vous dans le menu « Signal Sirène ». Appuyez sur OK puis appuyez simultanément sur les touches 1 et 3. Un BIP prolongé est émis et l'écran affiche “Sirène effacée”.
5. Mode Test
Cette fonction est disponible dans le Menu Utilisateur et dans le menu de Programmation et fonctionne de manière identique dans les 2 cas.
Le mode test permet une vérification du fonctionnement des accessoires de commande et de détction du système et aussi une évaluation de la qualité de réception du signal radio reçu par la centrale.
- Positionnez le curseur sur "Mode Test" et appuyez sur OK.
- Si vous sollicitez un détecteur, la centrale émet un son modulé à 2 tons et l'écran vous indique l'accessoire dont le signal a été reçu, par exemple :
-
Dans cet exemple le détecteur reçu est un PIR, positionné en zone 01 et en mode INTRUSION. Le chiffre 5 indique la qualité du signal reçu, qui peut varier de 1 à 9, 9 étant la meilleure qualité de réception radio. Le message s'affiche jusqu'à réception du signal venant d'un autre détecteur.
La liste des accessoires testes peut etre visualise en la deroulaant a l'aide des touches *et **.
Pour sortir du "Mode Test", appuyez sur la touche G. -
En mode de programmation; la centrale sort automatiquement du mode test après 10 minutes si chaque signal n'est reçu (3 minutes à partir du mode test du menu Utilisateur).
- La sirène extérieure peut être testée en armant et désarmant le système, à condition de valider les bips sonores dans le Menu Sirène (« Confirm. Oui »).
- Quand la centrale est armée, la sirène bipe une fois et le feu/flash clignote à l'issue du retard à la sortie.
- Quand la centrale est désarmée, la sirène bipe deux fois et la lumière clignote d'un cotoé à l'autre deux fois.
Fonctionnement du Systeme
I. Menu de l'utilisateur
1. Economiseur d'énergie & remise en route
La centrale fonctionne avec des piles. Pour préserver l'énergie des piles et prolonger leur durée de vie, la centrale se met en mode économiqueur d'énergie dans les deux cas suivants :
- En mode de fonctionnement normal, après 10 secondes d'inactivité des touches.
- En mode de Programmation, après 10 minutes d'inactivité des touches.
En mode economisier d'énergie, l'écran LCD est vierge et le rétro éclairage du clavier est également éteint.
Pour remettre l'affichage en route:
- Appuyez sur n'importe qu'elle touche numérotée, l'affichage indique "Entrer Code, * _ _ " en considérant que le premier numéro entrez avec la touche numérotée est le premier chiffre du code qui sera masqué par une étoile *".
- Appuyez surG, l'affichage indiquera I'etat Armé, Désarmé ou Partiel.
2. Entrer dans le menu Utilisateur
Quand le système est en mode Désarmé, saisir un code Utilisateur valide permet d'acceder au menu de l'utilisateur. Le système peut ainsi être mis en Armement Total ou en Partiel ou en mode Test et le Journal des événements peut être consulté.
Quand you appuyez sur la premiere touche numerotée, le clavier s'allume et l'écran affiche :
| E | n | t | r | e | r | C | o | d | e | ||||||
| * | - | - | - |
Après saisie d'un Code Utilisateur suivi de “OK”, les deux premières lignes du menu s'affichent dans les 10 secs:
| ▲ | A | r | m | . | T | o | t | a | l | |||||
| A | r | m | . | P | a | r | t | i | e | l |
Le curseur se positionne sur la première ligne; le menu comprend les options suivantes :
| A | r | m | . | T | o | t | a | I | |||||||
| A | r | m | . | P | a | r | t | i | e | I | |||||
| M | o | d | e | T | e | s | t | ||||||||
| J | . | D | . | E | . |
Le passage d'une option à l'autre se fait à l'aide des touches “ , “ ”.
II. Mode Armement Total
1. Armer le système
Si le système est en mode Désarmé, pour armer, procédez comme ceci.
Etape 1. Entrez un code Utilisateur puis "OK" L'affichage indique:
| ▲ | A | r | m | . | T | o | t | a | l | ||||||
| A | r | m | . | P | a | r | t | i | e | l | |||||
| M | o | d | e | T | e | s | t | ||||||||
| J | . | D | . | E | . |
Etape 2. Le cursest etant face à “Arm. Total”, appuyez sur “OK”
Etape 3. L'écran devient vide et le retard à la sortie début et est transcrit par une série de bips suivant temporisation définie au menu RETARD ENTREE.
- Pendant le retard à la sortie, appuyez sur “OK” pour réactiver l'affichage décomptant le temps restant avant armement :
| A | R | m | . | d | a | n | s | ||||||||
| 1 | 0 | s | e | c |
Etape 4. Quand le retard à la sortie est écoué, la centrale émet un long bip. Le système est maintainant en mode Armé.
Le système peut aussi être armé avec la télécommande à l'aide de la touche ou du clavier déported en composant l'un des codes Utilisateurs programmes sur la centrale, suivi de la touche.
- Si la sirène extérieure est programmée dans le système, elle bipera une fois et son feu flash clignotera une fois à l'issue du retard à la sortie.
2. Arrête le Retard de sortie
Le Retard à la Sortie peut être arrêté en désarmant le système.
Etape 1. Appuyez sur “ G ”
Etape 2. La centrale vous demande de saisir le Code Secret. Le compte à rebours du retard de sortie s'affiche.
Etape 3. Saisissez un Code Utilisateur puis "OK". "Désarmé" s'affiche à l'écran et le système revient
en mode désarmé.
- Le retard de sortie peut également être arrêté en appuyant sur le bouton "D" de la télécommande.
3. Prolonger le Retard de sortie
Le temps de retard de sortie peut être prolongé en appuyant sur le bouton “ ” sur le clavier déported. A chaque fois que le bouton “ ” est appuyé, le délié commencerà à partir du début.
III. Mode Désarmé
1. Désarmer le système
Pour désarmer le système :
Si le système est en mode Total ou en mode Partiel, entrez un code Utilisateur et appuyez sur "OK". Si le code est correct, la centrale émet 2 bips assez courts et returne au mode désarmé.
L'écran indique :
| D | é | s | a | r | m | é | |||||||||
Le système peut aussi être désarmé avec la télécommande à l'aide de la touche ou du clavier déported en composant l'un des codes Utilisateurs programmes sur la centrale, suivi de la touche.
2. Carillon de Porte
Si un Contact d'ouverture ou un détecteur PIR est en "Entrée", la centrale émettra un son carillon à chaque détction (si la fonction carillon est activée).
IV. Mode Partiel
Le mode Partiel permet de surveiller uniquement certaines pieces ou portes (garage, porte d'entrée, pieces inccupées durant la nuit...)
1. Entrer en mode Partiel
Etape 1. Entrez un code Utilisateur et appuyez sur "OK" dans les 10 secondes qui seront. L'affichage indique :
| ▲ | A | r | m | . | T | o | t | a | l | ||||||
| A | r | m | . | P | a | r | t | i | e | l | |||||
| M | o | d | e | T | e | s | t | ||||||||
| J | . | D | . | E | . |
et le cursesur se positionne sur “ Arm. Total ”
Etape 2. Appuyez sur "▼ " pour déplacer le curseur vers le bas pour Sélectionner "Arm. Partiel".
Etape 3. Appuyez sur "OK".
Etape 4. L'écran suivant s'affiche.
| A | r | m | . | d | a | n | s | ||||||||
| 1 | 0 | s | e | c |
Le compte à rebours du Retard de Sortie s'affiche.
L'écran devient vide dans les 10 secs. mais le compte à rebours continue. Si vous appuyez sur "OK", l'affichage réapparait à nouveau pendant encore 10 secs.
Etape 5. Quand le temps de Retard à la Sortie est terminé, la centrale émet trois bips courts. Le système est en mode Partiel et l'écran LCD reste vide.
- Vous pouvez égalementmettre le systeme en mode Partiel en appuyant sur la touche de la télécommande. Sur le clavier déporté, composer un code Utilisateur suivi de la touche
2. Arrête le Retard de sortie
Proceder de la même façon qu'en armement total
3. Prolonger le Retard de sortie
Proceder de la même façon qu'en armement total
V. Activation de l'alarme
- Tous les détecteurs sont actifs et (à l'exception de ceux paramétrés en mode ENTREE) provoquent un déclenchement immédiat de l'alarme.
2. Mode Désarmé
- En mode Désarmé; si une alarme 24H, Incendie, Agression, ou une autoprotection sont déclenchées, la centrale active l'alarme immédiatement.
- Si un Contact d'ouverture ou un détecteur PIR est en "Entrée", la centrale émet un son carillon, si cette fonction est activée.
-
Possibilité de déclenchement manuel :
-
Alarme Aggression:
Une alarmé Aggression peut être déclenchée sur la centrale en appuyant en même temps sur les touches 1 et 3 pendant 2 secondes.
- Alarme Incendie:
Une alarmé incendie peut être déclenchée sur la centrale en appuyant en même temps sur les touches 4 et 6 pendant 2 secondes.
- Alarme Médicale:
Une alarmé Médicale peut être déclenchée sur la centrale en appuyant en même temps sur les touches 7 et 9 pendant 2 secondes.
3. Mode Armement Partiel
- Déclenchement immédiat pour les détecteurs paramétrés en INTRUSION.
- Pas de déclenchement pour les détecteurs paramétrés en PARTIEL.
- Déclenchement retardé pour les détecteurs paramétrés en mode ENTREE.
- Déclenchement retardé pour les détecteurs paramétrés en TEMPS PARTIEL.
- Déclenchement immédiat en cas d'alarme 24H, Incendie, Aggression.
4. Types d'alarme
INTRUSION
- En INTRUSION la centrale déclenché sa sirène (sauf si elle est désactivée par le menu Sirenne UC/NON) et les sirènes déportées le cas échéant, et un message intrusion est transmis si un transmetteur est utilisé.
- Les sirènes externes et celle de la centrale, sonnent à haute féquence.
INCENDIE
- En INCENDIE la centrale déclenché sa sirène (sauf si elle est désactivée par le menu Sirenne UC/NON) et les sirènes déportées le cas échéant, et un message incendie est transmis si un transmetteur est utilisé.
- Les sirènes externes et celle de la centrale, sonnent à haute fréquence mais en Alternance.
AGGRESSION
- En AGRESSION la centrale déclenché sa sirène (sauf si elle est désactivée par le menu Sirène UC/NON) et les sirènes déportées le cas échéant, et un message agression est transmis si un transmetteur est utilisé.
- Les sirènes externes et celle de la centrale, sonnent à haute fréquence.
Cette alarme ne peut etre coupee par la telecommande mais seulement par le clavier de la centrale.
Ceci permet d'eviter que la télécommande ne soit arrachée des mains de l'utilisateur et que l'alarme soit stoppée en utilisant le bouton désarmé.
MEDICAL
- En MEDICAL la centrale déclenché sa sirène (sauf si elle est désactivée par le menu Sirenne UC/NON) et les sirènes déportées le cas échéant, et un message Médical est transmis si un transmetteur est utilisé.
- Les sirènes externes et celle de la centrale, sonnent à haute fréquence.
VI. Arrête l'alarme et affichage à l'écran
Sauf pour une alarme "incendie", l'écran de la centrale reste vierge lors d'un déclenchement.
Pendant une alarme "incendie", la centrale affichera:
Pendant une alarme, pour arrêté la sirène et effacer l'affichage:
Etape 1. Entrez un code Ultilisateur, puis appuyez sur "OK".
Etape 2. Si le Code est correct, la sirène s'arrête et l'écran affiche l'origine de l'alarme:
Le capteur qui déclenché l'alarme est affché sur la ligne du haut ainsi que le numéro de sa zone et son nom (s'il a été définit) qui seront affichés sur la deuxième ligne.
Etape 3. Appuyez sur "OK", l'affichage sera effacé et remplaçé par "Désarmé".
2. Mémoire d'alarme
Si une alarme a eté déclenchée pendant votre absence :
- Quand vous revenez et désarmez le système par le clavier de la centrale, ou à l'aide de la télécommande ou du clavier déported, la centrale émet 5 bips (2 bips en temps normal). Si le clavier de la centrale est utilisé, l'écran LCD affiche l'origine de l'alarme.
- Appuyez sur "OK" pour effacer.
VII. Situations d'erreur
La centrale est capable de détecter les erreurs système suivantes :
✓ Piles faibles de la centrale
✓ Piles faibles des accessoires
Autoprotection des accessoires et de la centrale
Interférences radio
1. Affichage des Messages d'erreur
-
Quand une erreur système persiste, la centrale répond en mode Désarmé de la façon suivante :
-
Un bip d'alarme est émis toutes les 30 secondes (si "Bip alarme OUI" est régle).
- Si vous appuyez sur une touche, la centrale émet une série de bips et le message d'erreur s'affiche.
- Le message d'erreur indique le type d'accessoire avec le numéro de sa zone, son nom et la nature de l'erreur.
| P | I | R | B | a | t | t | . | f | a | i | b | I | e | ||
| Z | 0 | 3 | C | h | a | m | b | r | e |
Alternant avec:
| D | é | s | a | r | m | é | e | ||||||||
- Si plus d'une situation de fonctionnement erroné persiste, un message d'erreur individuel s'affichera avec 2-sec d'intervalle.
- L'affichage d'erreur sera effacé automatiquement quand l'erreur aura ete resolue. Sinon, l'erreur s'affichera a chaque manipulation.
- Vous pouvez forcer l'armement et le désarmement malgré l'erreur affichée.
- Meme si le message d'erreur est effacé, les événements de fonctionnement erroné resteront dans le journal d'évènements "J.D.E.".
2. Autoprotection des accessoires
En cas d'activation du contact d'autoprotection sur un détecteur, le clavier déported ou la centrale elle-même, la centrale réagit de la façon suivante :
- En mode Désarmé, uniquement la sirène de la centrale sonne (si celle est validée dans le menu Sirène U.C./OUI). Les sirènes déportées ou Transmetteur Téléphonique sont inactifs.
- Quand le système est en mode Arm. Total ou en Partiel, une alarmé d'intrusion est déclenchée.
- ÀpRES l'alarme, si les conditions d'Auto Protection persistent, un message d'erreur avec bips sonores est émis à chaque fois que la centrale est utilisé. Le bip d'erreur sera également émis toutes les 30 secondes.
- Quand le problème d'Autoprotection est résolu, l'affichage d'erreur sera effacé automatiquement. Si cet état d'erreur persiste, entrez puis sortez du Mode de Programmation, ceci aura pour effet d'effacer le message.
3. Piles faibles sur des accessoires
Quand une pile faible est détectée sur l'un des accessoires, la centrale émet des bips toutes les 30 secondes et un message d'erreur s'affiche lors du désarmement.
- En cas de piles faibles dans la centrale, la sirène sonne de façon discontinue pour vous informer que les piles doivent être replacées.
VIII. J.D.E de la centrale
Le J.D.E. (Journal Des Evénements) de la centrale mémorise les 20 derniers événements y compris
Armement/désarmement, déclenchements,
√ mise en programmation
Erreurs système
-
Les événements enregistrés sont affichés dans l'ordre chronologique. Les événements les plus récents seront affichés en premier.
Le JDE affiche "début" pour les événements les plus récents et "Fin" pour les plus anciens. -
Quand la centrale est armée, seul l'accessoire qui a général l'alarme sera enregistré.
Pour visualiser l'historique:
Etape 1. Entrez un code utilisateur et appuyez sur "OK".
Etape 2. Dans le menu, selectionner "J.D.E." puis appuyez sur "OK" et le début du journal s'affichera.
| D | é | b | u | t | |||||||||||
| ▼ |
Etape 3. Le journal peut être déroule vers le haut et vers le bas avec les touches “ , “ ”; les événements les plus récents sont affichés en premier.
Etape 4. Un exemple d'évenement enregistré est donné ci-dessous; la pile du contact d'ouverture a été remplaçée. Le deuxième exemple indique que l'autoprotection du détecteur PIR a été replaced
Après avoir procédé à l'apprentissage et au paramétrage de l'ensemble des composants de votre système, vous pouvez procéder au montage de chacun de ces éléments à l'emplacement prévu.
I. Comment installer la centrale
Assurez-vous que la centrale sera placée à hauteur approximative de poitrine, permettant une bonne lisibilité de l'écran, et une accessibilité du clavier.
Utilisez les 2 trous du support de montage mural comme gabarit et pointez les trous sur le mur.
- Percez, placez les chevilles et fixez le support au mur.
- Suspendez la centrale au support en la tenant face à vous et la faisant coulisser vers le bas.


- Activez l'autoprotection de la centrale après montage mural.
Placer ensuite la centrale en "Mode Test" afin de fixer les accessoires, pour éviter un déclenchement d'alarme par autoprotection des détecteurs ou du clavier déported.
II. Détector PIR HA2000P
- Restrictions
- Ne positionnez pas un PIR face à une porte déjà protégée par un contact d'ouverture, ceci pourrait entraîner une transmission simultanée et conflictuelle des signaux radio.
- N'installez pas le PIR directement vers la lumière du soleil.
- Evitez d'installer le PIR dans des endroits subissant des changements rapides de température dans la zone de détction, ou des flux d'air chaud ou froid à une température différente de celle ambiente (bouches de climatisation, chauffage pulsé, etc.)
- Attention aux obstacles dans la zone de détention.
- Ne dirigez pas directement le PIR vers une sources de chaleur (cheminée, chauffages ou poêles ou au-dessus des radiateurs.)
- Attention aux objets qui pourraient se déplacer dans la zone de détention (rideaux, portes battantes, etc).
- Emplacements conseillés
- Lieux de passage obligé (paliers à l'étage et rez de chaussée, entrée, hall d'accès) et pieces renferment des valeurs importantes (typiquement leSEDjour)
- Entre 2 et 2.5 m au-dessus du sol pour une(Meilleure performance de détction.
- Dans un angle pour faire coïncider le champ de détction avec lapiece à surveiller.
- Montage
Le PIR est concu pour etre monté soit a plat soit dans un angle demur.
Le socle possède des évidements où le plastique est plus fin. Quatre pour une fixation à plat et quatre pour une fixation en angle comme indiqué dans le schéma.
Pour un montage en angle, un support supplémentaire triangulaire est fourni afin que le contact d'auto protection arrêté soit fermé. Montez d'abord le support triangulaire sur le mur, vous n'aurez plus qu'à fixer ensuite le détecteur sur les clips du support.
- Montage sur une surface plane:
Etape1. Retirez la vis de fixation et séparez les 2 parties du détecteur.
Etape2. Percez les évidements de la base.
Etape 3. En utilisant les trous comme un modele, pointez les trous sur le mur.

Etape 4. Insérez les chevilles.
Etape 5. Vissez la base dans les chevilles murales puis remontez le détecteur sur sa base.
- Montage en angle:
Etape 1.Percez les deux renforts sur le support triangulaire.
Etape 2. En utilisant les trous comme un modele, percez des trous dans l'angle de mur.
Etape 3. Insérez les chevilles
Etape 4. Vissez le support triangulaire dans les chevilles murales avec les deux picots vers le haut.
Etape 5. Placez le PIR sur les clips du support.
III. Contact d'Ouverture HA2000M
- Montage
Note: Nous déconseillons dans la mesure du possible un montage du détecteur à l'aide d'adhésif double face, qui a tendance à se ramollir par fortes chaleurs, ou à se déterminer dans le temps, sachant par ailleurs que le ressort du contact d'autoprotection accentue la tendance du détecteur à se décoller de son support. La base possède deux évidements où le plastique est plus fin pour facilitier le montage. L'adhésif double face peut à la rigueur être utilisé pour la fixation de l'aimant.
Pour monter le contact d'ouverture :
Etape 1. Retirez le couvercle renfermant l'électronique après avoir desserré la vis à la base (elle ne s'enleve pas complètement). Un clip retient le côté opposé à la vis.
Etape 2.Percez les deux orifices evides sur la base.
Etape 3. Pointez les trouss à pincer sur le support.
Etape 4. Insérez les chevilles et vissez la base sur son support.
Etape 6. Replacez le détecteur sur sa base et desserrez la vis.
Etape 7. Montez l'aimant sur la porte en utilisant le tampon à doubles faces ou les vis fournis. Alignez l'aimant par rapport au détector en suivant les 2 traits qui servent de repères.
L'aimant ne doit pas etre a plus de 20 mm du détecteur quand la porte est fermée.
Assurez-vous que le ressort de l'interrupteur d'autoprotection au dos du détecteur est appuyé sur le support.
- Les fenêtres peuvent être protégées de la même façon que les portes. En cas d'utilisation sur une fenêtre, placez l'aimant sur la partie mobile et le détecteur sur le cadre.
- Si vous souhaitez tester le détecteur, avant de le refermer, mettez le cavalier JP1 sur ON et mettez la centrale en mode TEST. Dans ce cas la diode sur le détecteur s'allume lors de l'ouverture de la porte, vous permettant de vérifier plus efficacement le fonctionnement du détecteur. Ne pas oublier après cette vérification de remettre le cavalier sur OFF (position normale) afin de préserver sa pile d'une usure prématurée.
- L'installation est maintainant terminée.
Utiliser le bornier d'extension.
Le bornier d'extension du détector permit le raccordement de détecteurs filaires supplémentaires en mode NF (normalement fermé), contacts de feuillage, contacts bris de vitre, contacts sabot pour protection de porte de garage ou volet roulant, etc.
- Egalement si la configuration du support n'autorise pas le montage d'un détecteur, vous pouvez connecter un contact magnétique filaire et déporter le contact d'ouverture.

- Plusieurs portes ou fenêtres peuvent être protégés par un contact d'ouverture. Les contacts magnétiques doivent être montés en série sur le bornier auxiliaire comme suit:

- Le bornier forme une boucle fermée avec l'accessoire qui y est connecté. Quand la boucle est ouverte, le contact d'ouverture est activé.
Appendice
I. Changement des piles
Quand les piles de la centrale deviennent faibles, un message « piles faibles » est affiché avec un bip.
Pour changer les piles:
Désactivez l'auto protection de la centrale par le Mode de Programmation.
-
Le Mode de Programmation sera évacué automatiquement après 10 minutes si vous n'appuyez sur aucune touche.
-
Enlever la centrale de son support etPTRer le couvercle des piles et celui de l'interrupteur SW1.
- Retirez les anciennes piles et insérer les nouvelles. Avant d'insérer la 4ième pile:
- Maintenez appuyé le bouton « SW1 » et mettez la 4ème pile en même temps.


Relâchez le bouton « SW1 »
- Replacez le couvercle du compartment des piles.
Utilisez toujours des piles alcalines pour assurer un fonctionnement de longue durée.
II. Procedure de réinitialisation des Codes de la Centrale
Il est possible de réinitialiser tous les codes utilisateurs sans affecter les autres programmations en mémoire en suivant la procédure suivante:
Etape 1. Si possible désactiver l'auto protection de la centrale.
Etape 2.Appuyez sur la touche 一 ^ 一 et en meme temps sur le bouton SW1
Etape 3. Relâchéz le bouton « SW1 » tout en gardant la touche. « ▲ » appuyée. Vous entendrez un long bip puis “Entrez Code” s'affichera.
Etape 4.Appuyez sur la touche .La centrale émet un BIP et l'écran affiche: « eff. des codes», puis « Armé »
Etape 5 Les codes Administrateur et Utilisateur 1 sont à nouveau « 0000 ». Pour désarmer composez « 0000 » puis « OK »
Specifications:
techniques communés
- Fréquence radio: 868.6375MHz +-2.5ppm
- Modulation/ Démodulation: FM bande étroite au-dessus de 15KHz avec cristal compensé en température (VCTCXO)
- Sensibilité: >105dbm @S/N +20db
- Puissance de transmission : E.I.R.P. -8dbm +-3db
- Portée de fonctionnement: 300 m à champ libre
Code fixé en usine parmi 16 777 216 possibilités - Température de fonctionnement: -10^ +45^
Taux d'humidité: < 90%
Centrale HA2000
- Entièrement sans fils/fonctionne avec piles.
- Affichage LCD:2x16 caractères.
Retro-éclairage sur clavier et affichage LCD - Peut supporter jusqu'à 20 accessoires sans fils (1 accessionaire/zone)
Mode de fonctionnement (Intrusion, Partiel, Entreee, Temps Partiel, 24 heures, - Incendie, Médical, Instantané) selon le type de détecteur
- 5 modes d'alarme (Intrusion, Incendie, Médicale, Panique, Technique)
- Détecteurs supervisés.
- Codes tournants pour les télécommandes et les claviers.
- Codes fixes pour les autres accessoires avec plus de 16 millions de combinaisons possibles.
- Possibilité d'Alarme silencieuse.
- Fonction anti-saturation programmable.
- Confirmation Armé/désarmé pour les sirènes extérieures et intérieures.
- Fonction carillon.
- Verrouillage du clavier dans les cas d'erreurs multiples de code.
Volume sonore de la Temporisation entrée/sortie programmable. - Autoprotection désactivable pour la maintenance sirenes et centrale.
-
5 codes secrets différents (1xAdministrateur, Utilisateurs 1 et 2, 1xdomestique et 1xtemporaire)
Historique des 20 derniers événements. -
Dimensions: 265 mm( I) × 180 mm( L) × 65.mm( H)
- Alimentation avec piles alcalines: 4x piles Alcalines "D cell" LR20 de 1.5V
- Durée de vie des piles: environ 2 ans
- Possibilité d'utilisation d'un adaptateur secteur (9V dc 300mA) pour un affichage permanent de l'écran (piles utilisées en secours)
Télécommande HA2000R
4 fonctions: Arm. Total, Arm. Partiel, Désarmé et Panique.
- Etanche IP44
Signal piles faibles
- Alimentation : pile lithium “CR2032” 3.0V 180 mA/H
Durée de vie de la pile: 3 ans
Voyant bicolore: Rouge pour la transmission de signal et vert pour la pile faible
- Codes tournants parmi 16 777 216 Combinaisons
- Dimensions: 65 ~mm (I) × 38 ~mm (L) × 15.00 ~mm (H)
- Poids : 35g
Contact d'ouverture. HA2000M
- Détction pile faible
- Supervisé: signal aléatoire 30 min à 50 min
- Bornier pour le branchement de détecteurs filaires supplémentaire (boucle NF)
- Double autoprotection : Socle + Couvercle
Voyant: Défaut & Mode Test. - Signaux Transmis: Ouverture, Fermetre, Pile faible, Autoprotection, Autoprotection replacé, Supervision et Mode Test.
Durée de vie: plus de 3 ans pour 50 transmissions / jour. Approximativement 5 ans en utilisation normale. 1 mois après le signal de pile faible. Pile au lithium 1/2 AA 3.6V 1000mAh - Tolerance d'espacement de l'aimant : 20mm max
- Dimensions : 103mm (l)31mm (L)20.5mm (H)
Detecteur PIR HA2000P
- Analyse par conversion A/N (MSLT), compensé en température, Protection Hautes Fréquences (interférences magnétiques et radio)
- Portée de détction: 90^ au-dessus de 12 mètres, 19 secteurs dont 9 sur la même ligne
Supervision: aléatoire 30 min à 50 min
Voyant et bouton: Destruct & Mode Test. - Signaux Transmis: Ouverture, Fermetre, Pile faible, Autoprotection, Autoprotection replacé, Supervision et Mode Test.
Lentille blanche à réfléchissement jusqu'à 6000 lux (rayons solaires, Feux de vehicule...) - Double autoprotection : Socle + Couvercle
Durée de vie de la pile: plus de 3 ans pour 50 transmissions / jour. Approximativement 5 ans enutilisation normale. 1 mois après le signal de pile faible. Pile au lithium AA 3.6V 2400mAh - Détction pile faible
- Dimensions: 93mm (I)64mm (L)42mm (H)
Clavier déporté HA2000K
- 6 fonctions: Arm. Total, Partiel, Désarmé, Médicale, Incendie et Aggression.
- Voyants: Transmission, erreur, Mode Test, état de la centrale et pile faible
Retro éclairé - Résistant aux intempéries IP 44
- Autoprotection
- Alimentation: pile au lithium CR2450, 3V 220mA/H
- Durée de vie de la pile: plus de 4 ans pour 8 transmissions / jour.
Code tournant parmi 16 777 216 combinaisons - Dimensions: 122mm (I) × 93mm (L) × 25mm (H)
- Poids : 190g
Sirène / Flash extérieure HA2000E
- 8 fonctions: Intrusion, Incendie, confirmation armement + désarmement, piles faibles, autoprotection, erreur autoprotection, anti saturation.
- Niveau sonore : 104db @ 1m
- Sonorités : Bips (Armé, Désarmé, Piles faibles, erreur autoprotection) + Sirene (Intrusion & incendie)
- Flash : 3 voyants haute luminosite.
- Signal piles faibles avec bips et clignotement
Durée maximum de la sirène: 1/5/10 min ou 1 s en mode Test
Durée de vie des piles: plus de 3 ans. 1 mois après le signal de piles faibles. - Alimentation : piles alcalines 4*D 1.5V
Code fixé en usine parmi 16 777 216 possibilités - Dimensions: 257 mm (I)220mm (L)69mm (H)
- Imperméable IP44 Polycarbonate résistant UV
REPERTOIRE SYSTEME
Vous pouvez compléter le tableau ci-dessous afin de mieux répertorier les éléments de votre installation du système et garder une trace de la configuration définie, ce qui pourrait vous aider dans d'eventuelles démarches de dépannage.
| Zone | Type Accessoire | Localisation | Paramétrage | Arm. Total | Arm. Partiel |
| 1 | |||||
| 2 | |||||
| 3 | |||||
| 4 | |||||
| 5 | |||||
| 6 | |||||
| 7 | |||||
| 8 | |||||
| 9 | |||||
| 10 | |||||
| 11 | |||||
| 12 | |||||
| 13 | |||||
| 14 | |||||
| 15 | |||||
| 16 | |||||
| 17 | |||||
| 18 | |||||
| 19 | |||||
| 20 |
Codes Secrets :
- A ne noter que si ce guide est conservé en lieu sûr !
Codes secrets Utilisateurs
Utilisateur 1:
Utilisateur 2:
Ménage:
Temps:
Code secret Administrateur :
Numérodesétéléphone du transmetteur téléphonique
No. de téléphone 1:
No. de téléphone 2:
No. de téléphone. 3:
No. de téléphone. 5:
No. de téléphone 4:
No. de téléphone. 6:
Garantie
Ce produit est garanti 4 ans sauf piles. La première année prévoit l'échange standard contre produit neuf. Les 3 autres années la garantie joue par réparation Veuillez contactez le service technique de votre pays pour confirmer les défauts et la procédure de garantie.
France: Eden: 0825 560 650
Site Internet: www.eden.fr
Hollande: Elro: 0900 208 8888
Site Internet: www.elro-nl.com
Belgique: Elro: 070 2330031
Eden: 0033 825 560 650
Allemagne: Elro: 0049 17755 24123
Angleterre: Byron:
0845 230 1231
Site Internet: www.chbyron.com


B 400/0000780/43
Notice Facile