VERO - Poêle à bois WANDERS - Notice d'utilisation et mode d'emploi gratuit
Retrouvez gratuitement la notice de l'appareil VERO WANDERS au format PDF.
| Type d'appareil | Poêle à bois |
| Puissance nominale | Non précisé |
| Rendement | Non précisé |
| Capacité de chauffage | Non précisé |
| Dimensions (HxLxP) | Non précisé |
| Poids | Non précisé |
| Matériau | Acier et verre |
| Type de porte | Vitree |
| Sortie de fumée | Verticale |
| Type de combustion | Combustion propre |
| Type de chargement | Chargement frontal |
| Normes de sécurité | Non précisé |
| Installation | Murale ou au sol |
| Accessoires fournis | Non précisé |
| Couleur | Gris métal |
| Garantie | Non précisé |
FOIRE AUX QUESTIONS - VERO WANDERS
Téléchargez la notice de votre Poêle à bois au format PDF gratuitement ! Retrouvez votre notice VERO - WANDERS et reprennez votre appareil électronique en main. Sur cette page sont publiés tous les documents nécessaires à l'utilisation de votre appareil VERO de la marque WANDERS.
MODE D'EMPLOI VERO WANDERS
Véro / Véro 33 / Vérox

NL Handleiding en installmentevoorschriften Vero / Vero 33 / Verox 2
GB Users guide and installation manual for the Véro / Véro 33 / Vérox 14
FR Mode d'emploi et instructions d'installation le Véro / Véro 33 / Vérox 27
D Gebrauchsanweisung und Montage Vorschriften Vero / Vero 33 / Verox 40
NL
Geachte klant,
| Schoorsteenhoogte buitendaks op een horizontale afstand A vanaf de nok | |||||||||
| Dak helling X | horizontal | ||||||||
| In denok | 0,5 m | 0,75 m | 1 m | 1,25 m | 1,5 m | 2 m | 3 m | 4 m | |
| 25° | 0,5 | 0,75 | 0,85 | 1,0 | 1,1 | 1,2 | 1,6 | 2,5 | 3,3 |
| 30° | 0,5 | 0,85 | 1,2 | 1,6 | 2,0 | 2,4 | 3,2 | 4,9 | 6,5 |
| 35° | 0,5 | 1,0 | 1,8 | 2,4 | 3,0 | 3,6 | 4,8 | 7,3 | 10 |
| 40° | 0,5 | 1,2 | 2,4 | 3,2 | 4,0 | 4,8 | 6,4 | 10 | 13 |
| 45° | 0,5 | 1,5 | 3,0 | 4,0 | 5,0 | 6,0 | 8,0 | 12 | 16 |
Véro / Véro 33 / Vérox
Dear Client,
Technical details Véro / Véro 33 / Vérox
Technical details
Mode d'emploi et instructions d'installation Véro / Véro 33 / Vérox
Cher client,
Nous vous félicitons pour l'acquisition de votre nouveau poèle à bois de WANDERS.
C'est une source de chaleur comfortable qui vous donnera beaucoup de plaisir pendant de longues années.
Par son design unique est visible de tous les coins de la pierce.
Ce poèle à bois a été concu tout spécialment pour répondre aux exigences d'un employi aisé, de la sécurité et du design.
Votre poêle est développé et produit dans notre usine à Netterden (Pays-Bas) et fait à la main pour une partie importante. La construction est faite uniquement en les membresux matériaux en conformité avec les normes européennes en vigueur. Vous bénéficierez ainsi de la garantie d'une longue durée de vie pour ce poêle.
La première partie de ce mode d'emploi est consacrée aux conseils pour une utilisation correcte de votre poèle à bois en toute sécurité. La deuxieme partie comporte les instructions d'installation et les caractéristiques techniques destinées notamment à l'installateur.
Nous vous recommendons de dire ce manuel attentivement avant la mise en service de votre poèle à bois et de bien le conserver. Notre installerateur en aura besoin pour l'entretien annuel de votre poèle.
Nous espérons que vous profiterez beaucoup de l'ambiance chaleuruse du Véro.
L'Equipe de WANDERS
Table des matières
Votre poèle à bois Véro 30
Installation 30
Allumage du poèle 30
Premierchauffage 31
Combustible: le bois 31
La façon optimale de chauffer le poèle 32
Cheminée et conduit de cheminée 32
Entretien 32
33
Garantie 33
Instructions d'installation du Véro 34
Dessins techniques 53
Votre poèle à bois Véro

Le Véro 33 avec pierre ollaire
Le Véro vous offre à la fois le comport et une émission de chaleur efficace.
L'émission de la chaleur est très importante, car la surface de la vitre du poèle par laquelle la chaleur se diffuse directement est très grande. Avec vous Véro vous obtiendaçez ainsi le plus de chaleur possible dans votre piece. Le déflecteur des gaz de fumée intégré sert à retarder encore de la chaleur complémentaire des gaz de fumée, augmentant encore l'émission de la chaleur par le poèle. De plus, à l'aide du tiroir à air intégré vous pouvez régler vous-même l'amnée de l'air de combustion et donc un apport plus ou moins grand en oxygène au poèle, qui de ce fait aura une allure plus grande ou plus moderation et donc une émission de chaleur plus importante ou plus moderation.
Installation
En règle générale, c'est le revendeur de votre Véro qui se charge de l'installation du poèle. Si ce n'est pas le cas, confiez-la à un installateur/agréé. C'est lui qui vous conseillera aussi sur le conduit de cheminée auquel votre poèle devra être raccordé. Le raccordement des poèles à bois par une personne non agréée est fortement déconseillé. Dans ce cas, nous ne garantissons pas le bon fonctionnement du Véro.
L'installation devra répondre également aux normes anti-incendie. Voir la page 35.
Allumage du poèle pendant l'entre-saison (début de l'autonne ou fin de l'hiver)
Lorsque la température extérieure et celle à l'intérieur de votre maison sont presque pareilles, il n'est pas si simple d'obtenir un bon tirage. Ces jours, le meilleur tirage s'obtient si vous brûlez du bois en petite quantité tout en laissant tous les orifices d'air ouverts au maximum. C'est que l'amnée importante de l'air favorise un rechauffement rapide et cela a un effet stimulant au tirage de cheminée. En utilisant peu de bois, vous éviterez que la fumée est refoulée dans la piece.
Ce poèle à bois est très utile en chauffage d'appoint et ne sert pas à replacer par exemple votre installation du chauffage central.
Allumage du poêle
Le poèle devient très chaud pendant l'allumage et le chauffage et il a besoin d'au moins deux heures pour refroidir. Evitez de toucher le Véro pendant le chauffage et deux heures après sans être protégé d'un gant. L'utilisation d'un gant est nécessaire si vous manipulez le poèle, sinon vous risquez d'avoir des brûlures sévères.
Avant d'allumer le poèle, n'oubliez pas d'enlever le dépôt évientuel des vitres avec un bout de papier d'un rouleau essue-tout par exemple. Vous utiliserez ce papier ensuite pour allumer le feu.
Ouvrez la prise d'air de combustion complètement. Ouvrez aussi le tiroir à air complètement avant l'allumage. Ensuite, ouvrez la porte; introduizez dans le poèle quelques tortillons de papiers ou quelques allume-feux et ajoutez là-dessus du petit bois sec. Allumez ces bouts de bois et entrouvre la porte pendant 3 à 5 minutes en vue d'une aménée d'air supplémentaire et pour favoriser le tirage initial de la cheminée. Quand les bouts de bois se sont enflammés, vous pouvez rajouter du bois supplémentaire. (Faites en sorte que les buches ne soient pas trop serrées afin de permettre aux flames de bien se développementer tout autour)
Fonctionnement du tiroir à air
Le tiroir à air connait 3 positions:
- le tiroir est complètement ouvert : les prises d'air primaire et secondaire sont ouvertes.
- poussez jusqu'au premier déclic : seule la prise d'air secondaire est ouverte. Le poèle a alors son meilleur rendement et le dessivage des vitres est le plus performant
- poussez jusqu'au deuxième déclic : toutes les prises sont fermées et le poèle s'eteindra peu à peu.

Attention:
Evitez de toucher la vitre du poèle de vos doigts. Les empreintes digitales se fixeront au verre par la température élevée et ne s'enleveront plus par la suite.
Il est interdit d'allumer le poèle en utilisant des produits liquides tels que l'essence ou l'alcool à brûler.
Quand le poèle brûle, vous ne pouvez pas utiliser en même temps une hotte aspirante dans la même piece.
Ne touche pas les éléments laqués pendant le rechauffement du poèle.
Premier chauffage
Changement de couleur des parois, plafonds et grilles
Par le chauffage du poèle, les parois, plafonds et grilles peuvent changer de couleur. C'est que des grains de poussière brûlent dans le manteau de convection. Il s'agit d'un processus naturel dont WANDERS ne saurtait assumer la responsabilité. Pour réduire au maximum la décoloration, veuillez vous reporter aux consignes généralement données dans le commerce sur les poêles d'ambiance. Vote installateur vous renseignera
Pendant le premier chauffage du Véro, le poèle a besoin d'être rodé. Voitre poèle est couvert d'une laque thermorésistante qui doit encore être « cuite » à des températures de plus de 400~^ C . Cela se fait pendant les premiers chauffages quand les températures peuvent atteindre jusqu'à 600~^ C . Au début, cela peut entraîner une odeur désagréable, mais inoffensive. Les 4 à 5 premières fois, il est recommendé de n'introduire que quelques bûches et de faire brûler le poèle pendant au moins 6 heures. Assurez-vous que la ventilation de la piece soit ajustée. N'utilise pas une hotte aspirante quand le poèle brûle, car elle aspirerait l'air de combustion dont le poèle aurait besoin.
Pendant le "rodage" du poèle, un dépôt de suie peut se produit sur la vitre de la porte. La suie s'enlève facilement avec un chiffon humide ou éventuellesment à
l'aide d'un détergent pour plaques de cuisson céramique quand le poèle s'est refroidi. Ne touchez plus la vitre nettoyée de vos doigts. Les empreintes digitales se fixeront au verre par la température élevée et ne peuvent plus être enlevées par la suite.
Vous avez un logement neuf ou renové récemment?
Il est déconseillé d'allumer un poèle dans un logement qui vient d'etre construit ou qui a été renové récemment. Mieux vaut attendre encore six semaines. C'est que les murs et plafonds contiennent encore des gaz, des amollissants et de l'humidité issus du platrage et de la peinture. Par les courants d'air chauds, les grains de poussière dans la piece changent de couleur et se collent contre les murs et plafonds. De plus, les points humides au murs et plafonds en revenant chauds forment ainsi des taches jaunâtres.
Combustible: le bois
| Espèce de bois | Durée de séchage | |
| Pin, Peuplier | 1 | an |
| Tilleul, Saule, Sapin, Bouleau, | ||
| Frîne, Aune | 1,5 | an |
| Arbre fruitier, Hêtre | 2 | ans |
| Chône | 2,5 | ans |
Le Véro ne peut brûler que du bois exclusivement. Ne chargez le poèle que de 1 kg de combustible à la fois. Utilisez toujours du bois propre, coupé et bien sec. Consultez le tableau qui précède pour les durées de sechage commandées. Le bois humide ne brûle pas bien et entraîne un dégagement de fumée excessif. De ce fait, la vitre risque de se noircir par la suite. De plus, des particules de suie peuvent se déposer dans le conduit de cheminée et être à l'origine d'un feu de cheminée.
Feu de cheminée - Que faire ?
Au cas où un feu de cheminée se produit, fermez immédiatement le clapet dans la cheminée et tous les tuyaux d'amnée d'air. Alertez les pompiers. Àpres l'extinction d'un feu de cheminée, faites contrôle de nouveau la cheminée et le poèle par votre installateur.
Le bois vert et humide a un taux d'humidité d'environ 50% . ÀpRES une année de séchage, le bois de fente contient encore 20% d'humidité. ÀpRES deux années, le taux d'humidité n'est que de 12 à 15 pour cent. Le bois sec produit un beau spectacle des flammes sans fumée ou presque. Le crépiment du feu se fait alors entendre. Le bois humide émet un sifflement et produit beaucoup de fumées et une vue des flammes insignifiante. Cela réduit le comfort et le rendement du
chauffage considérablement.
Les bùches contenant de la paraffine ne sont pas admises au poèle. ÀpRES la fermeture de la porte, la paraffine se séparait des bùches en se fondant trop vite en raison de la température élevée. Les gaz de fumée encrassés qu'elles dégagent sont déposés directement sur la vitre de la porte; ils sont marqués sur le verre et ne peuvent plus être nettoyés.
Il ne faut pas utiliser du bois peint, imprégne, collé au traité autrement. Les gaz de fumée sont très nuisibles pour l'environnement et peuvent attaquer votre poèle. Il est également interdit de brûler des matières plastiques et d'autres déchets à cause du dégagement de ces fumées toxiques.
Espèces de bois et entreprisesage
Toutes les espèces de bois propre, coupé et sec peuvent servir de combustible. Les espèces dures, telles que le chêne, le hêtre et le bouleau se consument lentement et forment de façon simple des charbons de bois. Les espèces plus tendres, telles que le sapin, le pin et le feuquier produit plus de flammes et moins de charbons de bois.
L'entreposage du bois se fait de préférence à un endroit exposé au vent, mais bien à l'abri de la pluie. C'est la manière naturelle de sécher le bois. Empilez les buches sur une palette usagée ou sur une grille pour que les buches se sèchent aussi par le bas. De cette manière, les buches les plus basses n'entreont pas en contact avec l'eau.
La façon optimale de chauffer le poèle
Les poêles de WANDERS ont été conçus pour produit un rendement maximal. Un poêle à bois bien chauffé peut avoir un rendement d'environ 75%. Ainsi, pour obtenir la même chaleur vous avez besoin d'une quantité de buches inférieure. De plus, un poêle bien chauffé dégage moins de fumées polluantes. Quelques conseils pour un comfort du chauffage optimal:
- Ne chauffez le poèle que si la porte est bien fermée: le rendement du chauffage en sera 8 à 10 fois plus grand. Si la porte est ouverte, la cheminée aspire plus d'air que nécessaire pour une bonne combustion et l'air relativement frais refroidit le feu. Une porte fermée empêche que des étincelles s'échappent du poèle et causent des dégats, surtout quand il s'agit de bois de résineux.
- Ne rajoutez pas plus de 3 bûches à la fois au feu. Le chargement de beaucoup de carburant en une fois n'est pas favorable à une combustion efficace et constitue une pollution inutilde de l'environnement.
- Prévoyez une ventilation ajustée de la pierce
pendant l'utilisation du poêle. Un feu crépitant a une consommation de 25 mètres cubes d'air par heures au minimum. N'utilisez jamais le poêle et une hotter aspirante dans la piece en même temps.
- Soyez prudent en cas de brouillard ou de calme plat. Par temps calme, il n'y a presque pas de tirage dans la cheminée froide. Puisque la fumée est plus lourde que l'air, il se pourrait alors que la fumée est refoulée dans la piece. Quand il y a du brouillard, la fumée qui sort de la cheminée se refroidit rapidement et descend tout en causant des nuisances dans votre environnement.
- N'éteignez pas le feu d'un coup à l'aide de l'eau, mais laissez le feu s'eteindre. Sinon, les matériaux à l'intérieur du poèle peuvent subir des déformations ou des fissures par les grands écarts de température survenus brusquement.
Cheminée et conduit de cheminée
La cheminée est l'objet le plus important de votre poèle à bois.
Une cheminée bien construite empêche que certains problèmes se produit, tels que la pénetration des fumées dans la pierce, le dépôt de malpropriétés sur la vitre ou une mauvaise combustion. Avant l'installation de votre appariel, votre installer ou un ramoneur agrée devra vérifier si le conduit de la cheminée a un diamètre de 150 millimétrès au moins sur toute sa longueur et s'il est propre, lisse et étanche.
Cheminee avec un bon tirage
L'air chaud tend toujours à monter et c'est là le principe du tirage dans la cheminée. Le tirage est encore favorisé lorsqu'au niveau de la bouche de cheminée l'air est aspirée par le vent. L'effet inverse a lieu parfois par un vent descendant qui suffle de nouveau l'air dans la cheminée. De même, le brouillard frais et relativement lourd peut contrarier le bon tirage de votre cheminée, tout comme un long conduit de cheminée dont la paroi est rugueuse et avec de nombreuses courbes. Si le tirage naturel est mauvais, demandez conseil à votre installerur sur l'utilisation évientuelle d'un ventilateur dans votre conduit de cheminée.
Entretien
Petit entretien
- Il est recommandé de laisser en place une couche de cendres de deux à trois centimètres ; elle servira à protéger la sole.
- Nettoyez l'extérieur du poèle à l'aide d'un chiffon humide non peluchexu. N'utilise pas des détergents et abrasifs agressifs.
- Le verre (redevenu froid) se nettoie avec un détergent
spécial pour plaques de cuisson en céramique. Evitez de toucher encore la vitre nettoyée de vos doigs : les emp冀tes digitales resteront marquées au verre par la température élevé.
- N'oubliez pas d'huiler de temps en temps les charnières et le verrou de porte.
N'utilise pas des détergents et abrasifs agressifs pour l'entretien de votre poèle.
Mise hors service
- En été, les portes et les tiroirs à air doivent tous être fermés.
- Il faudra metre du sel absorbant dans le poèle s'il se trouve dans une piece humide.
Entretien annuel
- Tous les ans, pour la sécurité incendie et en application de l'assurance contre l'incendie, faites bien ramoner la cheminée par un ramoneur/agréé.
- Tous les ans, faites vérifier l'étanchéité du tuyau d'évacuation des gaz de fumée et du tuyau de l'amnéée de l'air de combustion de la canalisation d'évacuation des gaz de fumée à double paroi.
- Tous les ans, faites contrôle la canalisation entière, y compris la traversée de toit ou de façade et le débouché à l'endroit où il dépasse la façade.
- Tous les ans, faites contrôle le fonctionnement des tiroirs et/ou des clapets.
- Tous les ans, faites vérifier si les joints des portes et des chassin sont pas usés.
Sécurité
Un poèle à bois de WANDERS, c'est toujours une source de chaleur comfortable et sure.
Ce qui est primordial pour assurer la sécurité contre l'incendie, ce sont une installation correcte et un tuyau d'évacuation des gaz de fumée fonctionnant correctement. C'est pourquoit votre installer déva respecter les consignes d'installation comme décrites aux pages 34 et suivantes. Pour un chauffage en toute sécurité, les points suivants sont également importants:
- Chauffez le poèle autant que possible la porte fermée. Cela augmente le rendement et respecte moins l'environnement.
- Tenez les jeunes enfants et les personnes infirmes éloignés d'un poèle qui brûle et ne laissez-les pas seuls dans la pierce. Eventuèlement, vous pouvezmettre en place un pare-feu.
- Ne versez ou ne mettez pas des liquides ou des matériaux combustibles dans le poèle. Ils risquent d'endommager le poèle irrémédiablement.
-
Si le plancher autour du poèle est fait en matière combustible, utilisez une plaque d'assise. La plaque doit avoir les dimensions minimales de:
-
sur le devant de la porte: 50 cm depuis le poèle
-
à chaque côte de la porte: 30 cm depuis le poèle
-
Evitez la présence de matières combustibles, par exemple des rideaux, des objets en bois (armoires, tableaux) tout pres du poèle ou du conduit de cheminée. Respectez un écartement d'au moins 80 centimétres depuis l'extérieur du poèle et du conduit de cheminée.
- Ne faites jamais habiller le manteau de cheminée de matières combustibles (telles que des papiers points).
- Respectez les points énumérés au chapitre « La façon optimale de chauffer le poèle » à la page 32.
- Le poèle à bois ne doit être réparé que par un installateur/agréé en utilisant des pieces d'origine.
Garantie
Votre poèle à bois de WANDERS Metaalproducten B.V. à Netterden bénéficie d'une garantie de 5 ans à partir de la date d'achat, à condition que le poèle ait eté installé et utilise conformément aux instructions données dans ce mode d'emploi. La garantie couvre tous les defaute qui résulteraient des vices de matière et de construction. Dans ces cas, vous receivez des pieces nouvelles gratuitement. Les frais de salaire et les autres frais n'entrent pas dans le champ de la garantie. Les pieces défectueuses peuvent être expediées franco à WANDERS Metaalproducten B.V., Amtweg 4, 7077 AL, Netterden, Pays-Bas.
Avant de procéder à la pose de l'appareil vous devrez vérifier si le poèle ne présente pas des dommages visibles. Dans ce cas, il ne faut pas accepter l'appareil en prendre contact avec votre fournisseur.
La garantie ne couvre pas la vitre et ne s'applique pas aux dérangements provenant d'une mauvaise utilisation, d'un manque de respect de la reglementation nationale et des instructions d'installation et d'emploi fournis avec l'appareil, d'une installation effectue par un installateur ou revendeur non-agree par WANDERS, d'un défaut d'entretien et en cas où le poèle serait passé en d'autres mains. La garantie ne s'applique pas non plus si un combustible non approprié a été utilisé.
La garantie a une durée de 1 an pour les éléments suivants: toutes les pieces en fonte ou vermiculite, les éléments electriques, le couvercle de thermostat et la laque.
WANDERS n'est pas responsable des éventuelles fissures au plâtrage de parement et des décolorations des parois, plafonds et/ou grilles après le chauffage du poèle. Les décolorations peuvent être causées par la combustion des grains de poussière dans le manteau de convection. Pour réduire au maximum les fissures au


platrage et les décolorations évientuelles, veuilles vous reporter aux consignes généralement données dans le commerce sur les poèles d'ambiance. Vote installateur vous renseignera.
Les plaintes sont examinées après qu'elles ont été représentées par l'établissement de vente, par l'instandateur, accompaniesnes d'une copie de la facture d'achat indiquant la date d'achat.
Les réparations ne donnent pas droit à une prerogation de la durée de garantie. Les dommages conséquents sont exclus.
Instructions d'installation du Véro
| Consignes générales | 34 |
| Préparation | 35 |
| Installation | 36 |
| Réparations | 37 |
| Données techniques Véro / Véro 33 / Vérox | 38 |
Consignes generales
Le Véro satisfait à la norme internationale EN 13240 et à une norme plus spécifique relative au meilleur respect de l'environnement lors du chauffage en ce qui concerne les gaz de fumée
art. 15a B-Vg. Des BmfWA). Le poèle peut être raccordé à un conduit de fumée auquel sont raccordés plusieurs poëles. Le tuyau d'évacuation des gaz de fumée a une diamètre de 150 millimétres.
Votre poèle à bois doit être monté et raccordé uniquement par un installateur/agréé et selon les instructions d'installation suivantes. De plus, les législations et réglementations nationales et locales relatives au montage et à l'utilisation de poèles à bois devront être respectées.
WANDERS n'est soumise à aucune garantie si le Véro a été raccordé et/ou installé de manière incomplète ou inappropriée.
Il est interdit d'installer votre poèle:
- Dans les galleries ou couloirs accessibles au public.
- Dans les cages d'escalier, sauf dans les immeubles ne comportant pas plus de deux logements.
- Dans les locaux servant à la manutention de matières facilement inflammables ou explosives.
- Dans les locaux où se trouve une hotte aspirante en marche ou qui sont équipés d'un système de tirage mécanique, sauf dans le cas où l'arrivée de l'air provient directement de l'extérieur, ce qui assure une combustion sans danger.

versantxsupérieurà23'

versant x inférieur à 23'
| Hauteur cheminée hors toit à une distance horizontalé A du faîte | |||||||||
| Versant X | distance horizontalé A à partir de la faîte en mètres | ||||||||
| Dans la faîte | 0,5 m | 0,75 m | 1 m | 1,25 m | 1,5 m | 2 m | 3 m | 4 m | |
| \( 25^o \) | 0,5 | 0,75 | 0,85 | 1,0 | 1,1 | 1,2 | 1,6 | 2,5 | 3,3 |
| \( 30^o \) | 0,5 | 0,85 | 1,2 | 1,6 | 2,0 | 2,4 | 3,2 | 4,9 | 6,5 |
| \( 35^o \) | 0,5 | 1,0 | 1,8 | 2,4 | 3,0 | 3,6 | 4,8 | 7,3 | 10 |
| \( 40^o \) | 0,5 | 1,2 | 2,4 | 3,2 | 4,0 | 4,8 | 6,4 | 10 | 13 |
| \( 45^o \) | 0,5 | 1,5 | 3,0 | 4,0 | 5,0 | 6,0 | 8,0 | 12 | 16 |
Preparation
Le conduit de cheminée
Avant de procéder au montage du poèle, vérifie les points suivants:
- Si le poèle est raccordé à un conduit de cheminée existant, celui-ci doit d'abord être nettoyé et contrôle par une entreprise de ramonage agrée. Les évventuels clapets de fermeture doivent être enlevés.
- Le tuyau d'évacuation des gaz de fumée du poèle doit être raccordé sans déviations au conduit de cheminée.
- La dépression dans le conduit de cheminée doit être de 12 Pa ou 0,12 mbar au minimum.
- La bouche du conduit de cheminée doit se couver dans la zone d'embouchure 1. Voir les figures et le tableau.
- Avant de faire l'installation, vérifie si le conduit de cheminée est propre, étanche et sans obstacle. Le diamètre prescrit est de 150mm .
- Les courbes serontielles dans le conduit de cheminée ne peuvent etre supérieures à 45 degrés.
- Vérifiez la capacité du conduit d'évacuer les gaz de fumée de manière suffisante, ajustate et en toute sécurité.
- Les valeurs à retenir pour le calcul du conduit de cheminée se trouvent sous les données techniques à la page 35.
Sécurité anti-incendie
En vue de la sécurité anti-incendie, il est important de respecter les prescriptions suivantes avant l'installation du poèle.
- Si le plancher autour du poèle est fait en matière combustible, utilisez une plaque d'assise.
La plaque doit avoir les dimensions minimales de: - sur le devant de la porte: 50 cm depuis le poèle
- à chaque côté de la porte: 30 cm depuis le poèle
- Respectez un écartement de 80 centimètres au minimum entre le poèle et les objets combustibles, tels que les rideaux, des objets de bois (armoires et tableaux) et des objets de verre. Maintenez une même distance par rapport au conduit de cheminée.
- Les éléments de construction en bois se trouvant dans le rayon de la chaleur (80 centimètres à partir de l'extérieur du poèle) doivent être habillés de matières résistantes au feu.
- Si le tuyau d'évacuation des gaz de fumée traverse un plafond et/ou un toit faits en matières combustibles, les entourages (environ 80 centimètres) d'un point de passage doivent être recouverts de matières résistantes au feu. Les solivages et les lignes électriques évientielles doivent aussi être protégés.
- Entre le poèle et les éléments de la charpente en acier, il doit y avoir une distance de 50 centimètres au moins
- Protégez toutes les matières combustibles se trouvant dans un rayon de 80 centimètres à partir des ouvertures du poèle. Cela sans appliquer de matières combustibles.
- N'habillez jamais le manteau de cheminée de matières combustibles (telles que les papiers points).
- Le mur derrière le poèle doit être composé de matières résistantes au feu ou être isolé par de telles matières. Les matières isolantes devront pouvoir résister à une température de 700^ Celsius et avoir une densité de 80~kg / m3 . Consultez le tableau des matérieliaux d'isolement à la page 39).
- Faites en sorte que la position du poèle empêche la chaleur de pénétrer dans le mur. Une émission de chaleur traversant un mur qui n'est pas protégé peut même entraîner un feu de l'autre côté du mur. Evitez ce risque.
Installation
Le Véro satisfait à la norme internationale EN 13240 et à une norme plus spécifique relative au meilleur respect de l'environnement lors du chauffage en ce qui concerne les gaz de fumée (art. 15a B-Vg. Des BmfWA). Le poèle peut être raccordé à un conduit de fumée auquel sont raccordés plusieurs poëles. Le tuyau d'évacuation des gaz de fumée a un diamètre de 150 millimétres.
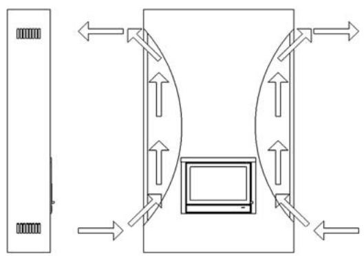
Amenée d'air de combustion
Le poèle a besoin de l'air de combustion suffisant et frais. Aménagez si nécessaire une prise d'air supplémentaire dont l'endroit doit être choisi aussi pres du poèle que possible pour éviter le courant d'air. Une prise d'air supplémentaire est absolument imposée si :
- La pierce est équipée d'un système de récapération de chaleur.
- La piece est équipée d'un système d'extraction central.
- Une hotte aspirante est installée dans la même piece.
Une prise d'air qui traverse un mur résistant au feu doit pouvoir être fermée. S'il y a plusieurs apparèils de combustion dans une pierce, il faudra prévoir des prises d'air en nombre suffisant pour que la combustion se fasse en toute sécurité.
Raccord du poèle
Le Véro est un poèle à bois qui pèse lourd. Le poids du poèle en modèle début, y compris le tuyau d'évacuation des gaz de fumée de 2 mètres de long, est de 160 kilos. Assurez-vous que le mur ou le plancher prévu pour le montage du poèle peut supporter ce poids sans problème. Avant de commencer le montage, it est recommendé de suivre les consignes du chapitre précédent intitulé « Préparation ». Attention : menagez votre dos et protégez
le plancher pendant toute la durée du montage.
Montage modele debout :
- Vérifiez les boîtes d'emballage ; si ellesprésent des dommages apparents, veuillez les signaler à vous-tré distributeur.
- Le modele début est emballé dans 2 boîtes (1 pour le poêle ; 1 pour le socle).
- Deballez le poèle.
- Mettez avec précaution le poèle sur le dos. Prenez soin de couvrir le plancher pour le protégger.
- Sortez le socle de la boîte.
- Fixez le socle à l'aide des 4 vis au poèle.
- Mettez le poèleABOUT (Ménagez votre dos!)
- Posez-le poèle à l'endetroit souhaité ; faites en sorte qu'il se trouve précisément sous le trou d'évacuation.
- Montez ensuite le tuyau d'évacuation des gaz de fumée de façon à permettre l'écoulement des eaux.

Fixez le socle à l'aide des 4 vis au poèle
Montage modele suspendu:
- Vérifiez la boîte d'emballage ; s'il y a des dommages apparents, veuillez les signaler à votre distributeur.
- Au fond de la boîte se trouve l'étrier de suspENSION.
- Montez l'étrier de suspension au mur. N'applique jamais des moyens de fixation synthétiques. Assurez-vous que l'étrier se trouve précisément sous le trou d'évacuation et que les crochets sont orientés vers le haut. Les boulons de fixation ne doivent pas dépasser la paroi de plus de 10~mm , sinon ils risquent de faire obstacle lorsque vous accrocher le poèle.
- Accrochez le poèle à l'étrier (attention à votre dos!).
- Montez ensuite le tuyau d'évacuation des gaz de fumée de façon à permettre l'écoulement des eaux.


Montage modele insert
Pour installer l'insert il faut enlever les 4 plaques fixées dans chaque angle.
Principe d'aération de la cheminée (Selon conseil de WANDERS)


Réparations
Remplacement de la vente de la porte
Ouvrez la portedont la vitre est cassée.
- Enlevez les 4 vis et les 2 baguettes à la face interieure de la porte
- Attention : le verre est tranchant.
- Remplacez la yourselves.
- Vérifiez si la bande de verre est toujours intacte et bien fixée sur la porte. Sinon, collez de nouveau ou remplacez intégralement.
- Remplacez le verre.
- Remontez l'ensemble.

Enlevez les 4 vis et les 2 baguettes à la face interieure de la porte
Données techniques Véro / Véro 33 / Vérox
Données techniques
| Verrou de la porte | Ba | I/II |
| Puisance nominale * | 5 | kW |
| Diamètre tuyau gaz de fumées | 150 | mm |
| Chargement en bois maximal | 1 | kg |
| Chargement en lignite maximal | - | kg |
| Volume,chambre de combustion | 0,02 | m3 |
| Surface sol de la(chambre de combustion | 0,06 | m2 |
- la chaleur nominale de 8 kW est obtenue par un tirage de la cheminée de 0,12 mbar
Combustible, bûches, 30 x 10 cm
| Chargement maximal | 3 bûches |
| Clapet d'air primaire | max. |
| Trou d'air secondaire | max. |
| Durée de consommation combustible | 1 heures environ |
Valeurs des gaz de fumée selon DIN 4705, DIN 18895 partie 2
| Porte fermée | bois | |
| Quantité gaz de fumée | 4,2 | g/s |
| Température gaz de fumée | 330 | °C |
| Pression préliminaire | 0,12 | mbar |
| Rendement | 78,7 | % |
| CO à 13% O2 | 0,06 | % |
| Particules fines | 30 | mg/m3 |
| Institut d'inspection 1625 . Norme d'inspection EN13240 . Certificat d'essay nr. RRF-400169 | ||
Valeurs indicatives pour la capacité du local à chauffer:
Les locaux ne répondent pas tous aux valeurs R actuelles. Pour le volume des locaux à chauffer, les valeurs suivantes selon DIN 18893 peuvent être retenues:
Par circonstances de chauffage favorables: calcul selon DIN 4701
Par circumstances moins favors: 70 m3
Par circonstances defavorables: 50 m3
Pour un chauffage-temporaire, à une interruption de plus de 8 heures, il est possible de calculer 25% en moins pour le volume àchauffer.
Tableau épaissur de l'iso1ation par épaissur de mur
| épaisseur de mur 10 cm | isolation | manteau convection | |
| Protection du mur | arrière8 cmcôte8 cmcessous6 cm | ||
| Parois composées d'éléments de construction combustibles | X | X | |
| Charpente en acier | X | X | |
| Meuble encastrable contre le poële | X | X | |
| Meuble encastrable dans le mur arrêtè | X | X | |
| Autres parois | |||
| Épaisseur de paroi < 10 cm | X | X | |
| Épaisseur de paroi > 10 cm( peut être un mur de maçonneorie) | - | - |
Tableau indiquant quelle epaiseur de l'isoation est a besoin par quelle epaiseur de mur pour la protection des parois encastrées.
Tableau matérielial isolant, NB: seul le matériel indiquedans la zone grise est admis
| Isolation | Emballage | Conduction Thermique | Temp e de serv la plus élevé | Densité | |||||
| no | article | no | forme | no | emballage | no | °C | no | Kg/m3 |
| 10 | Laine minérale | 01 | Bandes | 01 | Matelats piqués | 10 | 100 | 02 | 20 |
| 11 | Laine minérale | 02 | Laine en vrac | Matelats piqués | 12 | 120 | 03 | 30 | |
| 12 | Laine de roche | 03 | Laine | 02 | Matelats piqués | 14 | 140 | 04 | 40 |
| 13 | Scories | Granulat | G. courbe 2 | 16 | 160 | 05 | 50 | ||
| 04 | Feutre | 06 | 60 | ||||||
| 05 | Mat. a lamelles | 10 | Ecailles | 07 | 70 | ||||
| G. courbe 1 | 08 | 80 | |||||||
| 06 | Matelats piqués | 11 | Ecailles | 09 | 90 | ||||
| 07 | Panneaux | G. courbe 2 | 10 | 100 | |||||
| 08 | Plats | 72 | 720 | 11 | 110 | ||||
| 09 | Segments | 20 | Panneaux | 74 | 740 | 12 | 120 | ||
| 10 | Tressés | G. courbe 1 | 76 | 760 | 13 | 130 | |||
| 21 | Panneaux G. courbe 2 | 18 | 180 | ||||||
| 99 | Autres | 99 | Seul | 99 | 99 | ||||
Sélectionnez le matériel d'iso1ation proposé au tableau. ATTENTION: Le groupe 99 est INTERDIT.
Notice Facile