VERO - Houtkachel WANDERS - Gratis gebruiksaanwijzing en handleiding
Vind de handleiding van het apparaat gratis VERO WANDERS in PDF-formaat.
Download de handleiding voor uw Houtkachel in PDF-formaat gratis! Vind uw handleiding VERO - WANDERS en neem uw elektronisch apparaat weer in handen. Op deze pagina staan alle documenten die nodig zijn voor het gebruik van uw apparaat. VERO van het merk WANDERS.
GEBRUIKSAANWIJZING VERO WANDERS
Van harte gefeliciteerd met de aanschaf van uw houthaard, een comfortabele warmtebron waar u nog jarenlang plezier van zult hebben. De Vero is dankzij�<|im_start|>ne unieke vormgeving vanuit elke hoek van de kamer zichtaar.
Bij de ontwikkeling van deze houtkachel hebben we gelet op gebruiksgemak, veiligheid en vormgeving. De Vero is ontwikeld en geproduced in unsere eigen fabrik in Netterden en voor een belangrijk deel handgemaakt. Voor de constructie zijn alleen de Beste materialen gebruikt die voldoen aan de Europees geldende normen. Zo heeft u de garantie van een lange levensduur voor deze houtkachel.
In het eerste deel van deze handleiding geen we u tips en aanwijzingen voor een juist en veilig gebruik van uw houtkachel. In deel twee staan de installmentievoorschriften en de technische specificaties van de Vero. Deze� vooral van belang voor de installateur.
Het is raadzaam om voor de ingebruikname van uw houtkachel deze handleiding zorgvuldig te lezen enervoigens goed te bewaren. Uw installeur kan deze handleiding nodig hebben voor het Jaarlijke onderhoud van uw haard.
Wij wensen u veel warmte met uw aanschaf.
Het Team van WANDERS.
Inhoudsopgave
Uw Véro houtkachel in een oogopslag 4
Installatie 4
Aansteken van de kachel 4
Eerstekeerstoken 5
Brandstof: hout 5
De optimale stockwijze 6
Schoorsteen en rookkanaal 6
Onderhoud 6
Veiligheid 7
Garantie 7
Installatievoorschriften Vero 8
Technische tekeningen 53
Uw Véro houtkachel in een oogopslag

De Vero 33 Serpentine
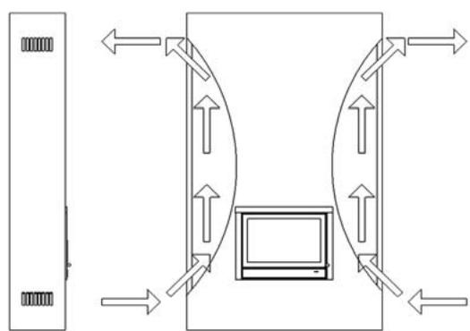
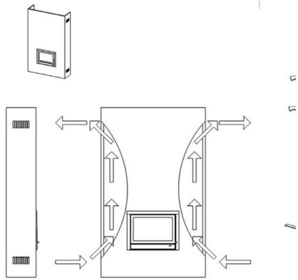
De Véro is een combinatie van comfort en een efficiente warmteafgifte.
Door de große hoeveelheid glas zal de warmte in de kachel direct uitgestraald worden zodate u zoveel möglichk warmte in het vertrek krijgt. De ingebouwde rookgas keerplaat, zorgt ervoor dat er extra warmte aan de rookgassen worden ontrokken, waardoor de kachel meer warmte uitstraalt. En met de ingebouwde luchtschuif kut u zich de verbrandingslucht regelen zodate de haard hierdoor meer/minder zuurstof krijgt en daardoormeer/ minder hard brandt, dus meer/minder warmte afgeeft.
Installatie
Over het algemeen zorgt de dealer waar u de Véro heeft aangeschäft, ook voor de plaatsing. Is dat Niet het geval, verzeker u er dan van dat deplaatsing wordenuitgevoerd door een erkende installmenteur. Een erkende installmenteur kan u ook het juiste advies geen over het rookkanaal waarop de haard要去 worden aangesloten. Aansluiten van houtkachels door onbevoegden is verboden. Wij+kunnen u in dat geval geen garantie geen op de juiste werkung van de Véro.
Houd bij de installment ook rekening met de brandveiligheid. Zie pagina 9.
De houthaard is geschikt als bijverwarming en is geen
vervanger voor bijvoorbeeld uw CV-installatie.
Aansteken in de vroege herfst of late winter
Wanneer de buiten- en binnentemperatuur Niet veel van elkaar verschillen is een goede schoorsteentrek een ware uitdaging. In de vroege herfst of late winterdagen kunt u de schoorsteentrek een handje helpen door weinig hout te verbranden terwijl u alle luchtopeningen maximaal open houdt. Veel luchttoevoer bevordert snelle opwarming en dat stimuleert des schoorsteentrek weeR. Stoken met weinig hout voorkomt dat rook de kamer wee instroomt
Aansteken van de kachel
De haard worden bij het aansteken en stoken erg heet en heeft zeker twee uur nodig om af te koelen. Raak de kachel waarom Niet onbeschermd aanijdens het stoken en twee uu daarna. Bedien de haard.altijd met een handschoen, anders=kunt u zware brandwonden oplopen.
Voordat u de haard gaat aansteken, veeg met bijv. een papiertje van een keukenrol, de eventuele aanslag van de ramen. En gebruik dit papier gelijk voor het aanmaken van uw vuur.
Zet de verbrandingslucht toevoer opening open. Schuif, voordat u de kachel aansteekt, de schuif maximaal open. Open daarna de deur en leg een paar propjes papier of aanmaakblokjes in de haard met waar bovenop een aantal kleine stukjes hout. Steek de stukjes hout aan en zet de deur voor enkele (3-5) Minutes op een kier voor extra luchttoevoer, en om de schoorsteen trek sneller op gang te krijgen. Wonneer de stukjes hout branden, kut u extra hout toevoegen. (Probeer het hout zodanig losjes in het vuur te leggen, dat de vlammen zich er goed rond konnen ontwikkelen).
Werking van de luchtschuif
De luchtschuif heeft 3 standen n.l.
- helemaal uitgetrokken primaire en secundaire luchttoevoer open.
- indrukken tot de eerste klik alleen secundaire luchttoevoer open de kachel heeft nu het hoogste rendement en de ruitenspoeling werkt het best.
- indrukken tot de tweede klik alles dicht de kachel za nu langzaam uitgaan.

Let op vingerafdrukken
Pas op dat u het glas van de kachel Niet met de vingers aanraakt. Vingerafdrukken branden in het glas en+zijn daarna Nieteer te verwijderen.
Het is verboden om met vloeibare middelen zoals benzine en spiritus de kachel aan te steken.
Voorkom dat indezelfde ruimte waar u de kachel stookt een afzuigkap aanstaat.
Raak de gelakte delen nooit aan bij het opwarmen van de haard.
Eerste keer stoken
Verkleuren van wanden, plafonds en roosters
Na het stoken van de haard+kunnen wanden, plafonds en roosters verkleuren. Dit komt doordat stofdeeltjes verbranden in de convectiemantel. Dit is een naturuurlijk proces waar WANDERS Niet verantwoordelijk voor is. Om verkleuring te minimaliseren verwijzen wij hier het advies dat gegeven worden in de sfeerhaardenbranche. Uw installmentar kan u�aver informeren.
Wanner u de Vero voor de eerste keer gebruikt,要去 de haard instoken'. Het toestel is voorzien van een hittebestendige laklaag die bij temperaturen hoger dan 400 graden Celcius in de kachel branden. Dat gebeurt de eerste paar keren dat u stookt, als de temperaturen oplopen tot 600 graden Celcius. Overigens kan dit instoken' een onaangename geur met zich meebrengen, maar die is onschadelijk. We raden u aan om de kachel -de eerste 4 tot 5 keer dat u stookt- minimaal 6uur te latenten branden met Niet te veel brandstof. Ventileer de ruimte goed verwijl u stookt. Zorg ervoor dat indezelfde ruimte geen afzuigkap aanstaat verwijl de haard brandt; een afzuigkap trekt verbrandingslucht weg die de haard nodig heeft.
Tijdens het instoken kan er aanslag komen op het glas van de kacheldeur. Deze aanslag verwijdert u eenvoudig met een Licht vochtige doek, als de kachel koud is. Gebruik eventueel special schoonmaakmiddel voor keramische kookplaten. Raak het schone glas Niet meer
Nieuwbouwwoning of recente renovatie?
Wachtzeswekenmetstokenineennieuwbouwwoning die recent is opgeleverd, of een ruimte die onlangs sterk is gerenoveerd. In muren en plafonds zitten dan nog gassen, weekmakers en vocht afkomstig van stuc- en schilderwerk. Door de warme luchtstromen, kunden de vele stofdeeltjes in de ruimte verkleuren en vastplakken aan wanden en plafonds. Ook het vocht in de muren en plafonds worden warm, wat gele vlekken kanveroorzaken.
met de vingers aan. Vingerafdrukken branden in het glas en+zijn daarna Niet更是 verwijderen.
Brandstof: hout
| Houtsoort | Droogtijd | |
| Den, Populier | 1 | jaar |
| Linde, Wilg, Spar, Berk, Es, Els | 1,5 | jaar |
| Fruitboom, Beuk | 2 | jaar |
| Eik | 2,5 | jaar |
De Véro kan alleen gestoekt worden met hout. Leg Niet meer dan 1 kg brandstof tegelijk in de kachel. Gebruik.altijd schoon, gekapt hout dat voldoende droog is.Zie voor de droogtijden bovenstaande tabel. Nat hout verbrandt slecht en zorgt voor overmatige rookontwikkeling.Daardoor kan de ruit van uw haard zwart van roet worden.Ook+kennen roetdeeltjes zich vastzetten in het rookkanaal. Dat vergroot de kans op schoorsteenbrand.
Wate doen bij schoorsteenbrand.
Bij schoorsteenbrand sluit u direct de afsluitklep in de schoorsteen en alle luchttoevoerkanalen. Bel de brandweer. Na het blussen要去en schoorsteen en kachel opnieuw worden gekeurd door uw installateur.
Vers nat hout, bevat ongeveer 50% procent vocht. Na een jaar drogen, bevat gekloofd hout nog 20% vocht. Na tweejabr drogen is het vochtpercentage gedaald tot 12 tot 15 procent. Droog hout geeft een mooti vlambeeld en weinig tot geen rook. Tijdens het branden hoort u het hout knapperen. Nat hout geeft een sissend geluid, veel rook en een minimaal vlambeeld. Het vermindert het stockplezier en rendement aanzienlijk.
Gebruik geen paraffinehoudende houtblokken in uw haard. Als de deur gesloten is, smelt door de hoge但它 de paraffine te snel uit de houtblokken. De verruilde rookgassen die hierdoor ontstaan slaan direct neer op het glas van de kacheldeur, branden in het glas en zichn dan Niet meer te verwijderen.
Gebruik geen hout dat is geverfd, geimpregneerd, verlijmd of anderszins bewerkt. De rookgassen zijn zeer schadelijk voor het milieu en+kunnen uw haard aantasten. Ook is het verboden om plastics en ander afval te verbranden vanwege de giftige rookontwikkeling.
Houtsoorten en opslag
Alle soorten schoon, gekapt en droog hout kun t u gebruiken als brandstof. Harde houtsoorten zoals eik, beuk en berg branden langzaam, geen veel warmte af en vormen gemakkelijk houtskool. Zachtere houtsoorten zoals spar, den en populier geen meer vlammen, maar minder warmte en minder houtskool.
Hout kunt u het Beste opslaan op een winderige plek, beschut gegen de regen. Zo droogt het hout op een tatsächlijke wijze. Stapel de houtblokken op een oude pallet of rooster. Zo kan het hout ook vanaf de onderkant drogen en komen de onderste houtblokken Niet in contact met water.
De optimale stookwijze
Kachels van WANDERS zich zo ontworpen, dat zemaxaal rendement leveren. Een goed gestookte houtkachel kan een rendement halen van ongeveer 75% . Hierdoor heeft u minder hout nodig voor evenveel warmte. Bovendien geeft een goed gestookte kachel minder rookveruiling. Een,aantal tips voor optimaal stockplezier:
- Stook uw kachel algijd met gesloten deur; daardoor verbetert het stookrendement 8 tot 10 koer. Bij een open deur trekt de schoorsteen meer lucht aan dan nodig voor een goede verbanding. De relatief koude lucht koelt het vuur af. Tevens voorkomt u brandschade door möglichuktispattende vuurdeeltjes, met name van naaldhout.
- Leg Niet meer dan 3 houtblokken ineens op het vuur. Veel brandstof ineens werkdt efficiente verbranding tegen en belast het milieu onnodig.
- Ventileer de ruimte goed als uw haard brandt. Een knetterend houtvuur heeft een minimaal verbruik van 25 kubieke meter lucht per uur. Zet nooit uw afzuigkap aan als uw kachel indezelfde ruimte brandt.
- Wees voorzichtig met stoken bij mist of windstil waar. Bij windstil waar is er nauwelijks trek in de koude schoorsteen. Omdat rook zwaarder is dan lucht bestaat de kans dat de rook dan de kamer instroomt. Bij mistr kal de rook uit de schoorsteen (buiten) snel afkoelen, omlaag zakken en overlast veroorzaken in uw omgeving.
- Doof het vuur Niet plotseling met water maar LAST het opbranden. De materialen binnen in de haard kuren verrormen of scheuren door plotselinge, grote temperatuurverschillen.
Schoorsteen en rookkanaal
De schoorsteen is het belangrijkste onderdeel van uw houthaard. De juiste schoorsteen voorkomt rook in
de kamer, aanslag op de ruit en slechte verbranding. Voordat hij tot installmentie overgaat, dient uw installateur, of een erkend schoorsteenveger, te controleren of het schoorsteenkanaal over de gehele lenghte een diameter heeft van minimaal 150 millimeter en of het kanaal schoon, glad en lekdicht is.
Schoorsteen met een goede trek
Warme lucht wil opstijgen. Van dat principe maakt iedere schoorsteen gebruik. Wat meehelpt, is als de wind bij de schoorsteenmond ook nog eens de luchtuit de schoorsteen 'wegzuiigt'.
Soms kan valwind darüber het omgekeerde effect给他们, en de lucht juist terug de schoorsteen inblazen. Ook relatief zware koude mistlucht kan een goede trek van uw schoorsteen gegenwerken, evenals een lang rookkanaal met een ruw oppervlak en veel bochten. Bij slechte natuurlijke trek kan uw installerateur u voorlichten over het gebruik van een ventilator voor uw rookkanaal.
Onderhoud
Klein onderhoud
- Wij adviseren u om een laagje as van tweet tot drie centimeter te lately liggen. Zo beschermen u de stookplaat.
- Reinig de kachel aan de buitenkant met eenlicht vochtige doek die Niet pluist. Gebruik geen agressieve schoonmaak- en schuurmiddelen.
Maak het koude glas schoon met schoonmaakmiddel voor keramische kookplaten. Raak het schone glas Niet meer met de vingers aan. Vingerafdrukken branden in het glas. - Olie af en toe de scharnieren en de deursluiting.
Gebruik geen agressieve schoonmaak- en schuurmiddelen om uw haard te onderhonden.
Buiten gebruiktelling
- Sluit alle deuren en luchttoevoeren in het zomerseizoen
- Plaats vochtabsorberend zout in de kachel als die in een vochtige ruimte staat
Jaarliks onderhoud
- Laat, in verband met brandveiligigkeit en een eventuele brandverzekering, ieder一年多 uw schoorsteen grondig vegen door een erkende schoorsteenveger.
- Laat Jaarliks de dichtheid controlleren van der rookgasafvoer en de verbrandingsluchttoevoer van het dubbelwandige rookkanaalsystem
- Laat一年多 ago het volledige kanalensysteme controleren, inclusief de dak- of geveldoorvoer en de uitmonding net buiten de gevel.
- Laat elk jaar de schuiven en/of kleppen controleren
op hun werking.
- Laat Jaarlijs alle afdichtingen van deuren en glasramen controleren op slijtage.
Veiligheid
Met een houthaard van WANDERS heeft u een comfortabile en veilige warmtebron in lui.
De brandveiligheid begint bij een correcte installmenten een goed werkend rookgasafvoerkanaal. Uwinstalleur dient zich daartoe te houden aan deinstallatievoorschriften, zoals omschreiben op pagina8 en verder. Voor veilig stoken�verder de volgende punten van belong:
- Stook uw haard zo veel möglichk met een gesloten deur. Dat verhoegt het rendement en is ook better voor het milieu.
- Voorkom dat keine kideren of hulpbehoevenden in de buurt van een brandende kachel komen en LAST ze Niet alleen als de haard brandt. Gebruik eventueel een haardschem.
- Giet of leg geen brandbare vloeistoffen en materialen in de kachel. Dit kan de kachel onherstelbaar beschadigen.
- Als de vloer rond de haard van brandhaar materiaal is, gebruik dan een vloerplaat. De vloerplaat dient een minimale grootte te hebben van: aan de voorzijde van de deur: 50 cm uit de haard. Aan elke zijkant van de deur: 30 cm uit de haard
- Plaats geen brandbare materialen, bijvoorbeeld gordijnen, houten voorwerpen (kasten, scholderijen), vlakbij de kachel of het rookkanaal. Houd minimaal een afstand van 80 centimeter aan vanaf de buitenzijde van de haard en het schoorsteenkanaal.
- Laat de schouw nooit bekleden met brandbaar materiaal (zoals papierbehang).
- Houd de punten in acht die staan onder het kopje 'Optimale stockwijze', op pagina 6.
- Laat de haard alleen repareren door een erkend installateur en met originele onderdelen.
Garantie
Op uw houtkachel biedt WANDERS Metaalproducten B.V. te Netterden een garantie van 5aar na aankoopdatum, mits de haard op een juiste wijze is geinstalleerd en worden gebruikt volgens de aanwijzingen in deze handleiding. Onder de garantie vallen alle gebreken die te herleiden zijn tot materiaal- en constructiefouten. In die gevallen ontvangt u gratis nieuwe onderdelen. Arbeidsloon en andere kosten vallen nicht onder de garantie. Defecte onderdelen kunt franco toezenden aan WANDERS Metaalproducten B.V., Amtweg 4, 7077 AL, Netterden. Voordat de haard geplaatst worden,要去 u controlleden of er zichbare schade is aan het toestel.
In dat geval moet u het toestel nicht accepteren, maar contact opnemen met uw leverancier.
Buiten de garantie vallen: het glas, storingen ontstaandoorondeelkundig gebruik; Niet juiste naleving van de landelijkke voorschriften en de bijgevoegde installmenten bedieningsvoorschrift-ten; installment door een Niet door WANDERS erkend installeur of dealer; verwaarlozing van het toestel en bij wisseling van eigenaar. De garantie vervalt ook bij gebruik van een verkeerde brandstof.
Voor de volgende onderdelen geldt een garantietermijn van 1aar: alle gietijzeren en vermiculite onderdelen, de elektrische onderdelen, dethermostaatklep en de lak.
WANDERS is nicht verantwoordelijk voor eventuele scheuren in sierpleisterwerk en verkleuringen van wanden, plafonds en/of roosters na het stoken van de haard. Verkleuringen können ontstaan doordat stofdeeltjes verbranden in de convectiemantel. Om de kans op scheuren in sierpleisterwerk en eventuele verkleuringen te minimaliseren verwijzen wij maar het advies dat gegeven worden in de sfeerhaardenbranche. Uw installmentar kan u hierover informeren.


Klachten worden in behandeling genomen nadat de verkoopfirma/installateur of het gasbedrijf een klacht heeft ingediend, vergezeld van de aankoopdatum en een kopie van de aankoopbon. Reparations geenrecht op verlenging van de garantietermijn. Alle gevolgschade wordenuitgesloten.
Installievoorschriften Véro
| Algemene aanwijzingen | 8 |
| Voorbereiding | 8 |
| Installatie | 9 |
| Reparaties | 11 |
| Technische gegevens Véro | 12 |
Algemene aanwijzingen
De Véro is gekeurd volgens de internationale normering EN 13240 en kent een extra uitbreidingsnormering voor optimaal milieu vrijelijk stoken met betrekking tot rookgassen (art. 15a B-Vg. Des BmfWA). De haard kan aangesloten worden op een rookkanaal waar meerde kachels op+zijn aangesloten. De pijp voor de rookgasafvoer heeft een diameter van 150 millimeter.
Het toestel mag alleen geplaatst en aangesloten worden door een erkend installerateur en volgens de onderstaande installmentevoorschriften. Daarnaast gelden de nationale en lokale wet- en regelgeving voor plaatsing en gebruik van houtkachels. WANDERS biedt geen garantie wanner de Vero onvolledig of onjuist is aangesloten of geinstalleerd.
Het is nicht toegestaan de kachel teplaatsen in:
- Algemeen toegankelijke galerijen en gangen.
- Trappenhuizen, behalte in gebouwen met nicht meer dan twee woningen
- Ruimtes waarlicht ontvlambare of explosieve en gevaarlijke stoffen worden verwerkt.

dakhelling x groter dan 23
- Ruimtes waar een afzuigkap aanstaat of een mechanisch afzuigsysteme is geplaatst, behalve wanner u de luchtaanvoerrechtstreeks van buiten haalt, zodate een gevaarloze verbranding verzekererd is.
Voorbereiding
Het schoorsteenkanaal
Voordat u de haard plaatst dient u de volgende punten in acht te nemen:
- Als u de kachel aansluit op een bestaande schoorsteen, dan要去 die eerst vakkundig schoongemaaakt en gecontrolerd worden door een erkend schoorsteenveegbedrijf. Eventuele aflsruitkleppen dienen te worden verwijderd.
- Derookgasafvoervandehaarddientzonderomwegen te worden aangesloten op het schoorsteenkanaal.
- De onderdruk in het schoorsteenkanaal要去 minimaal 12Pa of 0,12 mbar়n.
- Het schoorsteenkanaal moet.altijd inuitmondingsgebied 1uitkommen. Zie onderstaande tekeningen en tabel.

dak helling x kleiner dan 23
- Het schoorsteenkanaal dient tenijd de vanplaatsing schoon en lekdicht te zich en zonder enige belemmering een diameter van minstens 150 millimeter te hebben.
Eventuele bochten in het rookkanaal mogen Niet groter zichn dan 45 graden.
U dient zich ervan te overtuigen dat het schoorsteenkanaal de rookgassen voldoende, goed en veilig kan afvoeren. - De waardes voor de berekening van het schoorsteenkanaal vindt u onder de Technische gegevens op bladzijde 9.
Brandveiligheid
In verband met brandveiligheid is het belangrijk om onderstaande voorschriften in acht te nemen voordat de kachel worden geinstalleerd.
- Als de vloer rond de haard van brandhaar materiaal is gebruik dan een vloerplaat. De vloerplaat dient een minimale groitte te hebben van:
- aan de voorzijde van de deur: 50 centimeter uit de haard
- aan deijken van de deur: 30 centimeter uit de haard
- Houd minimaal 80 centimeter afstand:tussen de kachel en brandbare objecten, zoals: gordijnen, houten voorwerpen (kasten en scholderijen) en glazen objecten. Houddezelfde afstand aan ten opzichte van het rookkanaal.
- Houten constructieonderdelen binnen het stralingsbereik van de kachel (80 centimeter vanaf buitenzijde kachel) dienen brandvrij bekleed te worden.
- Indien de rookgasafvoer door een plafond en/of dak gaat dat bestaat uit brandbare materialen, dienen plafond en dak ongeveer 80 centimeter rond bekleed te worden met brandvrijne materialen. Let hierbij op balklagen en eventuele elektrische leidingen.
- Tussen de kachel en dragende, stalen constructieonderdelen要去 minimaal een afstand van 50 centimeter zitten (in alle richtingen).
- Scherm alle brandbare materialen auf die sich binnen
een straal van 80 centimeter van de kachelopeningen bevinden. Doe dit met Niet brandbare materialen.
- Bekleed de schouw nooit met brandhaar materiaal (zoals papierbehang).
- De muur darüber de kachel moetuit brandvrijeme materialen bestaan of ermee geisoleerd worden. Het isolatiematerialiaaldienteen temperatuur van 700 gradeN Celcius te weerstaan en een dichtheid van 80~kg / m3 te hebben.Zie voor de isolatiematerialen tabel op pagina 13).
- Voorkom bij hetplaatsen van de haard warmtedoorslag. De warmte afgifte van een brandende haard kan door de muur hebtekken. Dit kan zichs brand veroorzaken aan de andere kant van de muur. Voorkom dit.
Installatie
De Véro is gekeurd volgens de internationale normering EN 13240 en kent een extra uitbreidingsnormering voor optimaal milieu vriendelijk stoken met betrekking tot rookgassen (art. 15a B-Vg. Des BmfWA). De haard kan aangesloten worden op een rookkanaal waar meerde kachels op zijn aangesloten. De pijp voor de rookgasafvoer heeft een diameter van 150 millimeter.
Verbrandingslucht toevoer
De haard dient voldoende verse verbrandingslucht toegevoerd te krijgen. Maak indien nodig een extra luchttoevoer opening, zo zich möglichk bij de kachel; zo vermijdt u tocht. Een extra luchttoevoeropening is absolutut vereist indien:
- Het vertrek is voorzien van een warmerterugwinsystem.
- Het vertrek is voorzien van een centraal afzuigsystemeem.
- Een afzuigkap indezelfde ruimte staat.
De luchttoeoperpening要去afsluitbaar zijn indien\ deze door een brandwerende muur loopt. Zijn er\ meerdere verbrandingstoestellen indezelfde ruimte\ aanwezig, dan要去en er voldoende luchtopeningen\ zijn om een zorgeloze verbranding te garanderen.
Aansluiten van de haard
De Véro is een zware houthaard. De staande versie weegt -inclusief 2 meter rookgasafvoer-kanaal- 160 kilo. Verzeker u ervan dat de muur of vloer waar u de haard op of aan monteert, dit gewicht probleemloos kan dragen. Volg, voordat u de haard monteert, eerst de aanwijzingen op uit het vorige hoofdstuk 'Voorbereiding'. Bescherm uw rug en de vloerijdens de hele montage.
Staande versie:
- Controller de verpakking, zich er zichbare schades zo ja meldt dit.
- Voor de staande versie heeft u 2 verschillende dozen (1x de haard + 1x de voet)
- Haal de haard uit de doos,
- Leg de haard voorzichtig op rug. (let op leg ter bescherming iets op de vloer)
- Haal de voetuit de doos.
- Monteer de voet, met de 4 schroeven wee terug vast.
- Til de haard nu rechtep. (Denk aan uw rug)
- Zet de haard op+zijnplaats, zorg ervoor dat de haard precies midden onder het afvoergat staat.
- monteer nu uw rookgasafvoer. De rookgasafvoer di- ent afwaterend gemonteerd te worden

Voet monteren
Hangende versie:
- Controller de verpakking,় er zichbare schades zo ja meldt dit.
- Achter in de doos ligt de ophangbeugel.
- Monteer de ophangbeugel aan de muur gebruik hiervoor geen kunststof bevestigingsmaterialen. Zorg ervoor dat de beugel precies midden onder het afvoergat zit en dat de hakenaar boven wijzen. De bevestigingsbauten mogen Niet langer dan 10mm uitsteken, omdat deze danijdens het ophangen van de haard in de weg zitten.
- Hang de haard nu in de beugel. (Denk aan uw rug).
- monteer nu uw rookgasafvoer. De rookgasafvoer di- ent afwaterend gemonteerd te worden

Hangende versie

Inbouw versie
Om de inzet te monteren dient men de 4 strips op de hoeken te verwijderen.
WANDERS adviseert schouwbeluchting bij alle haarden die worden ingebouwd

Reparities
Vervangen van glas van de deur:
open de deur met de kapotte ruit.
- Verwijder de 4 schroeven en de 2 glassstrippen aan de binnenzijde van de deur.
- Pas op het glas is scherp
- Vervang de glasruit
- Controller of het glasband nog heel en vast op de deur zit. Zo Niet plank deze opnieuw vast of verwang.Deze geheel.
- Vervang het glas
- Monteer allevs weer terug.

Verwijder de 4 schroeven en de 2 glassstrippen
| Deur sluiting | Ba | I/II |
| Nominal vermogen* | 5 | kW |
| Pijpdiameter verbrandingsgassen | 150 | mm |
| Maximale vulling bij hout | 1 | kg |
| Maximale vulling bruinkool | - | kg |
| Inhoud verbrandingskamer | 0,02 | m3 |
| Oppervlak bodem verbrandingskamer | 0,06 | m2 |
- nominale warmte van 5 kW worden verkreten bij een schoorstentrek van 0,12 mbar
Brandstof, houtblokken, 30 × 10 ~cm
| Max. opleg hoeveelheid | 3 stuks |
| Primaire luchtklep | max. |
| Secundaire luchtopening | max. |
| Brandtijd brandstof | ongeveer 1 uw |
Rookgaswaarden volgens DIN 4705, DIN 18895 deel 2
| Bij gesloten deur | hout | |
| Rookgashoeveelheid | 4,2 | g/s |
| Rookgastemperatuur | 330 | °C |
| Voordruk | 0,12 | mbar |
| Rendement | 78,7 | % |
| CO op 13% O2 | 0,06 | % |
| Fijnstof | 30 | mg/m3 |
| Keuringsinstituut 1625 . Keuringsnorm EN13240 . Keuringsrapport nr. RRF-400169 | ||
Richtwaarden voor de inhoud van de te verwarmen ruimte:
Niet alle vertrekken voldoen aan de huidige isolatiewaarden. Voor de inhoud van de te ver-warmen ruimte konnen volgens DIN 18893 de volgende waarden aangehouden worden:
Bij gunstige verwarmende omstandigheden:
bereken volgens DIN 4701
Bij minder gunstige omstandigheden:
70 m3
Bij ongunstige omstandigheden:
50 m3
Voor tijdelijke verwarming, bij een onderbreking van meer dan 8uur, kan voor de te verwarmen inhoud 25% );
minder gerekend worden.
Tabel isolatiedikte bij muurdikte
| muurdikte 10 cm | isolatie | convectie mantel | |
| Bescherming van de muur | achterkant 8 cm | ||
| Wanden uit brandbare bouwdelen | X | X | |
| Dragende wanden uit staalbouw | X | X | |
| Inbouw meubel gegen kachel | X | X | |
| Inbouw meubel inchyterliggende muur | X | zijkant 8 cm | X |
| Overige wanden | |||
| Wand dikte < 10 cm | X | onderkant 6 cm | X |
| Wand dikte > 10 cm (kan gemetselde muurশ) | - | - |
Tabel geeft aan welke isolatiedikte gekozen moet worden bij welke muurdikte, ter bescherming van inbouwwanden.
Tabel isolatiematerialial, NB: alleen wat in grijs gebied staat is toegestaan
| Isolatie | Verpakt | Warmtegeleiding | Bovenste gebruikstemp. | Dichtheid | |||||
| nr | artikel | nr | vorm | nr | verpakt | nr | °C | nr | Kg/m3 |
| 10 | Mineraal Wol | 01 | Banen | 01 | Matten verstikt | 10 | 100 | 02 | 20 |
| 11 | Glaswol | 02 | Losse wol | Matten verstikt | 12 | 120 | 03 | 30 | |
| 12 | Steenwol | 03 | Wol | 02 | Matten verstikt | 14 | 140 | 04 | 40 |
| 13 | Slakken | Granulaat | G. kromme 2 | 16 | 160 | 05 | 50 | ||
| 04 | Vilt | 06 | 60 | ||||||
| 05 | Lamelle mat | 10 | Schilfers | 07 | 70 | ||||
| G. kromme 1 | 08 | 80 | |||||||
| 06 | Matten verstikt | 11 | Schilfers | 09 | 90 | ||||
| 07 | Platen | G. kromme 2 | 10 | 100 | |||||
| 08 | Schalen | 72 | 720 | 11 | 110 | ||||
| 09 | Segmenten | 20 | Platen | 74 | 740 | 12 | 120 | ||
| 10 | Gevlochten | G. kromme 1 | 76 | 760 | 13 | 130 | |||
| 21 | Platen | ||||||||
| G. kromme 2 | 18 | 180 | |||||||
| 99 | Overige | 99 | Enkel | 99 | 99 | ||||
Zoek in deze tabel het isolatiematerialiaal UIT.
NOTA BENE: Groep 99 is NIET toegestaan.
Notice-Facile