VERO - Holzofen WANDERS - Kostenlose Bedienungsanleitung
Finden Sie kostenlos die Bedienungsanleitung des Geräts VERO WANDERS als PDF.
Laden Sie die Anleitung für Ihr Holzofen kostenlos im PDF-Format! Finden Sie Ihr Handbuch VERO - WANDERS und nehmen Sie Ihr elektronisches Gerät wieder in die Hand. Auf dieser Seite sind alle Dokumente veröffentlicht, die für die Verwendung Ihres Geräts notwendig sind. VERO von der Marke WANDERS.
BEDIENUNGSANLEITUNG VERO WANDERS
Technische gegevens Véro
Technische gegevens
Gebrauchsanweisung und Installationsvorschriften Véro Holzofen
Sehr geehrter Kunde,
Herzlichen Glückwunsch zum Kauf Ihres Holzofens, der eine komfortable Wärmequelle ist die Ihnen jahrelang Freue machen wird. Dank seiner einzigartigen Form, ist der Véro von überall im Zimmer zu sehen.
Bei der Entwicklung these Holzofens haben wir besonders auf Gebrauchsfreundlichkeit, Betriebssicherheit und Design geachtet. Der Vero ist in unserer eigenen Fabrik in Netterden entwickelt, hergestellt und großenteils handgemacht. Bei der Produktion wurden nur die besten Materiale, die den europäischen Normen entsprechen, eingesetzt. Damit gewährleisten wir eine lange Lebensdauer these Holzofens.
Im ersten Teil dieser Gebrauchsanweisung geben wir Ihnen Tipps und Hinweise für die richtige und sichere Art ihren Holzofen zu benützen. Im zweiten Teil befinden sich die Installationsvorschriften sowie auch die technischen Angaben diesen Véro Ofens. Diese sind vor Allem für den Installateur wichtig.
Vor Gebrauch Ihres Holzofens bitten wir Sie die Gebrauchsanweisung sorgfältig zu lessen und sie dann gut zu bewahren. Ihr Installateur braucht weiterecht diese Anleitung für die jährliche Wartung Ihres Ofens.
Wir wünschen Ihnen viel Wärme mit ihrem Kauf.
Das WANDERS Team
INHALT
Ihr Vero auf einen Blick 43
Montage 43
Den Ofen anmachen 43
Das erstemal Heizen 44
Heizmaterial: Holz 44
Die optimale Art zu Heizen 45
Schornstein und Rauchkanal 45
Wartung 45
Brandschutz 46
Garantie 46
Montagevorschriften Vero Holzofen 47
Technische Zeichnungen 53
Ihr Véro auf einen Blick

Der Vero 33 mit Serpentino-Seitenteile
Der Vero kombiniert Komfort und effiziente Wärmeabgabe.
Durch die große Glasoberfläche wird die Wärme im Ofen direkt ausgestrahl, sodass soviel wie möglich Wärme in den Raum gelangt. Die eingebaute Rauchgas Kehrplatte bewirkt, dass den Rauchgasen extra Wärme entzogen wird, wodurch der Ofen mehr Wärme ausstrahlt. Mit dem eingebauten Luftriegel, konnen Sie die Verbrennungsluft selbst regulieren, sodass dadurch dem Ofen mehr/weniger Sauerstoff zugeführrt wird und dadurch mehr/weniger stark brennt, deshalb mehr/ weniger Wärme abgibt
Montage
Im Allgemeinen kummert sich der Handler, wo Sie den Ofen gekauft haben, auch um die Installation. Wenn das nicht der Fall ist, beachten Sie, dass die Installation von einem anerkannten Installateur gemacht wird. Ein anerkanter Installateur kann Ohnen auch den korrekten Rat geben, über den Rauchabzugskanal an welchen der Ofen angeschlossen werden muss. Der Anschluss der Holzöfen durch Unbefugte, ist verboten. In dem Fall konnen wir Ohnen die gute Funktion des Véro Ofens nicht garantieren.
Bei der Installation müssen Sie auch auf die Brandschutzvorrichtung achten. Sie Seite 48.
Dieser Holzofen ist als Zusammenheizung geeignet und kein Ersatz für ihre Zentralheizung.
Ichren Ofen im Herbst oder Ende Winter anmachen
Wenn die Außen- und Raumtemperatur nicht viel verschieden sind, ist einGreater Kaminabzug eine richtige Herausforderung. Früh im Herbst oder Ende des Winters konnen Sie für einenugen Abzug sorgen, indem Sie weniger Holz verbrennen und alle Luftungsöffnungen maximal offen halten. Viel Luftzufuhr fordert einechnelle Erwärnung und regt einenugen Abzug an. Mit weniger Holz heizen verhindert, dass der Rauch wieder in den Raum strömen kann
Den Ofen anmachen
Der Ofen wird beim anmachen und heizen sehr heißt und braucht mindestens zwei Stunden um abzukühlen. Berühren sie deshalb den Ofen während des Heizens oder bis zwei Stunden danach, nicht ohne Schutz und bedierten Sie den Ofen immer mit Handschuhen, weil Sie sich sonst schwer verbrennen können.
Bevor Sie den Ofen anmachen, wischen Sie, z.B. mit einem Kuchenpapier, den eventuellen Belag vom Ofenfenster. Benützen Sie these Papier zum Anzünden des Feuers.
Öffnen Sie die Verbrennungsluftzufahr. Öffnen Sie – bevor Sie den Ofen anzünden- den Schieber vollständig. Öffnen Sie dann die Ofentür und legen Sie eine Papierknäuel oder Feueranzünder in den Ofen und Holzspäne oben drauf. Zünden Sie die Späne an und öffnen Sie die Tür einige Minuten(3-5) auf einen Spalt, sodass zusammen Luft zugeführrt und der Zug im Kamin Schneller erreicht wird. Sobald die Holzspäne brennen, füllen Sie Holz nach. (Bitte legen sie die Holzscheiten locker auf das Feuer, damit sich die Flammen rundherum gut entfachen können).
Funktion des Luftschiebers
Der Luftschieber hat 3 Positionen:
- vollständig ausziehen: primäre und sekundäre Luftzufuhr offen.
- eindrücken bis es einzelmal Schnappt: nur sekundäre Luftzufuhr is offen. Der Ofen hat jetzt den Höchstertrag und die Scheibensprülung Funktioniert optimal.
- eindrücken bis es zweimal Schnappt: alles ist zu und das Ofenfeuer erlischt langsam.

Achten Sie auf Fingerabdrücke
Achten Sie darauf, dass Sie die Scheiben des Ofens nicht mit den Fingern berühren. Fingerabrücke brennen in das Glas und können danach nicht mehr entfernt werden.
Es ist verboten, mit flüssigen Stoffen, so wie Benzin und Spiritus, den Ofen anzumachen. Vermeiden Sie, dass im gleichen Raum in welchem der Ofen stehen, eine Abzughaube an ist. Berühren Sie während des Heizens nie die lackierten Teile des Ofens..
Das erstemal Heizen
Verfürbung von Wänden, Decken und Roste
Durch Heizen des Ofens, können Wände, Decken und Roste sich verfahren. Das kommt dazu, dass Staubteilchen im Konvektionsmantel verbrennen. Das ist ein natürlicher Vorgang, wofür WANDERS nicht verantwortlich ist. Um Verfärbung zu minimalisieren, verweisen wir Sie auf den Rat der von der Branche der Kaminöfen gegeben wird. Ihr Installateur kann Sie damit beraten.
Wenn Sie den Vero das ersten Mal in Gebrauchnehmen, muss der Ofen „eingebrannt" werden. Das Gerät ist mit einer hitzebeständigen Lackschicht versehen, die bei Temperatur die hoher sind als 400^ Celsius, in den Ofen einbrennen. Das geschieht die ersten paar Male, wenn Sie die ersten paar Male heizen, wenn die Temperatur auf mehr als 600^ Celsius steigen. Außen dem kann diese „Einbrennen" einen unangenehmen Geruch mit sich bringen, der aber unschädlich ist. Wir raten Ohnen, den Ofen die ersten 4 bis 6 Mal mindestens 6 Stunden mit nicht zu viel Heizmaterial brennen zu halten. Während des Heizens muss gut geluftet werden. Vermeiden sie, dass, während sie heizen, im selbst Raum eine Abzughaube an ist; Eine Abzugshaubezieht Verbrennungsluft, die der Ofen braucht, weg.
Während des Einbrennens kann sich ein Belag auf Scheiben und Ofentür bilden. Diese Belag kann gaz einfach mit einem feuchten Tuch abgewischt werden, wenn der Ofen wieder kalt ist. Sie können auch spezialles
Reinigungsmittel für keramische Kochplatten benützen. Berühren sie die Scheiben, ach dem Reinigen, nicht mehr. Fingerabdrücke brennen in das Glas und{lassen sich nicht mehr entfernen.
Neubauwohnung oder vor kurzem renoviert?
Warten sie sechs Wochen mit heizen in einer Neubauwohnung die vor kurzem fertig gestellt wurde, oder einem Raum der stark renoviert wurde. In den Wänden und Decken befinden sich noch Gase, Weichmacher und Feuchtigkeit von den Stuck- und Malerarbeiten. Durch die warmen Luftströme können sich die vielen Staubteilchen im Raum verfüllen und sich auf Wände und Decken festsetzen. Auch die noch vorhandene Feuchtigkeit in Wänden und Decken erwartt sich und kann gelbe Flecken verursachen.
Heizmaterial: Holz
| Holzart | Trocknungsszeit | |
| Kiefer, Pappel | 1 | Jahr |
| Linde, Weide, Tanne, Birke, Esche, Erle | 1,5 | Jahr |
| Obstbäume, Buche | 2 | Jahr |
| Eiche | 2,5 | Jahr |
DerVero kann nur mit Holz beheizt werden. Legen sie nie mehr als 1 Kg Heizmaterial in den Ofen. Benützen Sie immer sauberes, gehacktes Holz das genügend trocken ist. Die Trocknungszeiten sehen Sie in der Tabelle oben. Feuchtes Holz brennt schlecht und erzeugt übermöig viel Rauch. Dadurch konnen die Scheiben des Ofens vom Russ schwarz werden. Russ kann sich auch im Rauchabzugkanal festsetzen, was die Möglichkeit auf einen Schornsteinbrand erhöht.
Was tun wenn es einen Schornsteinbrand gibt?
Bei einem Schornsteinbrand müssen sie sofort das Ventil im Schornstein und alle andere Luftzufuhrkanä schließen. Die Feuerwehr anrufen. Nach dem Löschen muss der Schornstein und der Ofen von ihrem Installateur überprüft und neu zugelassen werden.
Frisches feuchtes Holz enthalt noch ungebahr 50% Feuchtigkeit. Nach einer Trocknungszeit von einem Jahr, enthalt gespaltetes Holz noch 20% Feuchtigkeit. Nach zwei Jahren Trocknung ist der Feuchtigkeitsgehalt auf 12 bis 15% gesunden. Trockenes Holz gibt eine schöne Flamme und so gut wie kein Rauch ab. Während des Verbrennens kann man das Holz prasseln horen. Feuchtes Holz erzeugt ein zischendes Gerausch, viel Rauch und eine petite Flamme. Die Freude am Heizen und die Nutzleistung werden stark beeinträchtigt.
Gebrauchen sie in Ihr dem Ofen keine Holzblöcke die Paraffin enthalten. Wenn die Ofentür geschlossen ist schmilzt das Paraffin zu schnell aus den Holzblöcken. Die verschmutzten Rauchgase die dadurch entstehen, bilden einen Niederschlag auf der Scheibe der Ofentür, brennen ins Glas und können dann nicht mehr entfernt werden.
Gebrauchen sie kein gestrichenes, imprägniertes, verleimtes oder anderweitig bearbeitetes Holz. Die Rauchgase sind sehr schädlich für das Milieu und konnen ihren Ofen antasten. Es ist auch verboten darin Plastik oder anderen Abfall, wegen der giftingen Rauchentwicklung, zu verbrennen.
Holzarten und Lagerung
Alle Arten sauberes, gespaltetes und trockenes Holz konnen als Heizmaterial gebraucht werden. Harte Holzarten, sowie Eiche, Buche und Birke brennen langsam, geben viel Wärme ab und bildenleitung Holzkohle. Weichere Holzarten, sowie Kiefer, Tanne und Poppel erzeugen mehr Flammen aber weniger Wärme und weniger Holzkohle. Holz wird am Besten an einer windigen Stelle, aber gut vom Regen geschützt, gelagert. So trocknet das Holz auf natürliche Art. Stapeln Sie die Holzblöcke auf einer alten Palette oder auf einem Rost. So kann das Holz auch von unter trocknen und bleiben die untersten Holzblöcke trocken.
Die optimale Art zu Heizen
Die Öfen von WANDERS sind so entworfen, dass sie die Beste Nutzleistung erzeugen. Ein gut beheizter Holzofen kann eine Nutzleistung von etwa 75% erreichen. Dadurch verbrauchen Sie weniger Holz um genauso viel Wärme zu erzeugen. Darüber hinaus, verursacht ein gut beheizter Öfen weniger Verschmutzung durch Rauch. Hier einzel Tipps für viel Freude am Heizen:
- Heizen sie ihren Ofen immer mit geschlossener Tur. Dadurch liegt die Nutzleistung 8- bis 10-mal höher. Wenn die Ofentür auf ist, saugt der Kamin mehr Luft, als für eine gute Verbrennung nötig ist, an. Die relativ kalte Luft kühlt auch das Feuer. Gleichzeitig wird auch Feuerschaden durch heraussprühende Funken, vor allem bei Nadelholz, vermieden.
- Legen sie nie mehr als 3 Holzsche auf das Feuer. Viel Heizmaterial verhindert eine effiziente Verbrennung und belastetURNtig das Milieu.
- Lüften Sie gut den Raum wenn sie heizen. Ein prasselndes Holzfeuer hat einen minimalen Verbrauch von 25 Kubikmeter Luft pro Stunde. Machen Sie nie eine Abzugshaube an, wenn im gleichen Raum ein Ofen brennt.
Vorsicht bei windstillem und nebligem Wetter. Bei
windstillem Wetter gibt es beinahe keinen Zug um Kamin. Weil Rauch schwerer ist als Luft, ist es möglich, dass der Rauch in den Raum strömt. Bei Nebel kühlt kann der Rauch aus dem Schornstein sehr}schnell abkühlen und fallen und damit in der Umgebung hinterlich sein.
- Löschen Sie nie das Feuer mit Wasser, sondern halten es von selbst ausgehen. Die Materiale im Ofen können sich sonst durch den plötzlichen Temperaturunterschied verformen oder reißen.
Schornstein und Rauchkanal
Der Schornstein ist der wichtige Teil Ihres Holzofens; Der korrekte Schornstein verhindert dass Rauch in den Raum strömt, sich ein Belag auf der Scheibe bildet und schlechte Verbrennung. Bevor Sie den Ofen montieren, muss Ihr Handler oder ein anerkanter Schornsteinfeger den Schornsteinkanal über die ganze Länge kontrollieren ob er mindestens einen Durchmesser von 150 Millimeter hat und ob der Kanal sauber, glatt und dicht ist.
Schornstein mit gutem Zug
Warme Luft will steigen. Auf diesen Prinzip Funktioniert jeder Schornstein. Was darauf hilft, ist dass der Wind auch noch die Luft von der Schornsteinausmündung „weg saugt". Manchmal kann aber ein Fallwind die umgekehrte Wirkung haben und die Luft in den Schornstein blasen. So kann auch eine relativ schwere Nebelluft den eigenen Zug im Schornstein hemmen. Auch ein zu länger Rauchkanal mit rauer Oberfläche und zuvielen Biegungen ergibt diese Wirkung. Bei einem natürlich schlechten Zug kann Sie der Installateur über den Gebrauch eines Ventilators im Rauchkanal aufklären
Wartung
Kleine Wartung
- Wir raten Ihnen, eine zwei bis drei Zentimeter dicke Schicht Asche liegen zu halten. Dies gewährt einen Schutz für die Feuerstelle.
- Reinigen sie den Ofen an der Außenseite mit einem feuchten, nicht fusselndem, Tuch. Benutzen Sie keine beîßende Putz- oder Scheuermittel.
- Reinigen Sie den kalten Scheiben mit einem Putzmittel für Keramikkochplatten. Berühren sie dann das gereinigte Glas nicht mehr mit ihren Fingern. Fingerabdrücke brennen ins Glas.
- Schmieren Sie ab und zu die Scharniere der Ofentür.
Benutzen sie keine beizenden Putz- und Scheuermittel im ihren Ofen zu pflegen.
Außer Gebrauchnahme
- Schließen Sie die Tur und Luftzufuhr im Sommer
- Legen Sie Feuchtigkeitsabsorbierendes Salz in den Ofen, wenn dieser in einem feuchten Raum stehen.
Jährliche Wartung
- Mit Bezug auf Brandschutz und eventuell einer Brandschutzversicherung, müssen Sie den Schornstein jährlich durch einen anerkannten Schornsteinfeger fegen halten.
- Lassen sie jährlich den Rauchgasabzug und die Verbrennungsluftzuführ des doppelwandigen Rauchkanalsystems auf Undurchlüssigkeit prufen.
- Lassen Sie jährlich das gesamte Kanalsystem, einschliesslich der Durchfuhr durch das Dach oder der Fassade und deren Ausmündungen kontrollieren.
- Lassen Sie jährlich die Funktion der Schieber und/oder Klappen kontrollieren.
- Lassen sie jährlich all Dichtungen von Türen und Glasscheiben auf Verschleißerscheinungen prüfen.
Brandschutz
Mit einem Holzofen von WANDERS haben Sie eine bequeme und sichere Wärmequelle im Haus. Der Brandschutz fängt schon bei der korrekten Montage und einem gut Funktionierendem Rauchgasabzug an. Ihr Installaturmussich deshalbandieMontagevorschriften, sowie auf Seite 47 und folgende Seiten beschreiben, halten. Für sicheres Heizen sind auch folgende Punkte wichtig:
- Beheizen Sie den Ofen soviel wie möglich mit geschlossener Tur. Dadurch wird die Nutzleistung erhöht und es ist auch better für das Milieu.
- Verhindern Sie, dass keine Kinder oder hilfsbedürftige Personen in die Nähe des Ofens kommt und让他们 sie nicht allein wenn der Ofen brennt. Gebrauchen Sie eventuell einen Kaminvorsatz.
- Giessen oder legen Sie keine brennbaren material in den Ofen. Dadurch kann der Ofen unwiderruflich beschädigt werden.
- Wenn der Boden um den Ofen herum aus brenbarem Material ist, benutzen Sie dann eine feuerfeste Bodenplatte. Die Bodenplatte muss mindestens eine Grübe von: -an der Vorderseite der Tür: 50 cm ab Außenseite des Ofens - an den Seiten der Tür: 30 cm Außenseite des ab Ofens
- Bringen Sie keine brennbare Materiale, zum Beispiel Gardinen, Holzgegenstände (Schränke, Gemälde) in der Höhe des Ofens oder des Rauchkanals an. Halten sie mindestens einen Abstand von 80 Zentimeter
gemessen ab der Außseneite des Ofens und des Kamins, ein.
- Bekleiden Sie nie den Kamin mit brennbarem Material (z.B. Tapete).
- Beachten Sie die Punkte die unter dem Abschnitt „Optimale Art des Heizens" auf Seite 45 beschrieben sind.
- Lassen Sie den Ofen nur durch einen anerkannten Installateur mit originalen Ersatzteilen reparieren.
Garantie
Auf ihren Vero gibt Ichnen WANDERS Metaalproduten B.V. in Netterden ein Jahr Garantie ab Kaufdatum, vorausgesetzt dass der Ofen korrekt installiert und gemäß den Anweisungen in dieser Gebrauchsanweisung benutzt wurde. Unter diese Garantie fallen alle Mängel die auf Material- oder Konstruktionsfehler zurückzuführen sind. In diesen Fälle erhalten Sie gratis neue Ersatzteile. Der Arbeitslohn und andere Kosten fallen nicht unter die Garantie. Fehlerhafte Teile konnen Sie franco an WANDERS Metaalproduten B.V. Amtweg 4, 7077 AL Netterden (Holland) schicken.
Vor Montage des Ofens müssen Sie kontrollieren ob das Gerät keine sightbaren Schäden aufweist. In dem Fall müssen Sie das Gerät nicht akzeptieren, müssen aber mit ihren Lieferanten Kontakt aufnehmen.
Nicht unter die Garantie fallen: Störungen die durch nicht sachgemäßen Gebrauch entstanden sind; nicht strikte Befolgung der Installations- und Bedienungsvorschriften; Montage durch einen nicht von WANDERS anerkannten Installateur, Vernachlässigung des Ofens und bei einem Wechsel des Besitzers. Die Garantie verfällt auch, wenn verkehrtes Heizmaterial benutzt wurde.
Für folgenden Zubehör gilt eine Garantiefrist von 1 Jahr: alle gusseisernen und vermiculit Teile, das elektrische Zubehör, und der Lack.
Wanders ist nicht verantwortlich für eventuelle Risse im Feinputz und Verfährungen der Wände, Decken und/oder Roste nach Heizen des Ofens. Verfährungen können entstehen weil Staubteilchen im Konvektionsmantel verbrennen. Um eventuelle Risse im Feinputz und Verfährungen zu minimisieren, verweisen Sie auf den Rat der von der Branche für Kaminöfen gegeben wird. Ihr Installateur kann Sie darüber informieren.
Reklamationen werden erst dann behandelt, wenn die Verkaufsfirma, der Installateur eine Reklamation, zusammen mit einer Kopie des Kassenzettels mit Kaufdatum, eingereicht hat. Reparaturen berechtigen nicht zu einer Veränderung der Garantie. Alle Folgeschäden sind ausgeschlossen.


Montagevorschriften Véro Holzofen
| Allgemeine Anweisungen | 47 |
| Vorbereitung | 47 |
| Installation | 49 |
| Reparaturen | 50 |
| Technische Angaben Véro / Véro 33 / Vérox | 51 |
Allgemeine Anweisungen
Der Véro ist gemäß der internationalen Norm EN 13240 und außer dem gemäß einer zusätzlichen Norm für optimes milieu-freundliches Heizen bezüglich Rauchgas Ausstoss (Art. 15a B-Vg des BmfWA) geprüft. Der Ofen kann an einen Rauchkanal mit mehreren Öfen angeschlossen werden. Das Rohr des Rauchgasabzugs hat einen Durchmesser von 150 Millimeter.
Der Ofenarf nur durch einen anerkannten Installateur und gemäß den unten beschrieben Installationsvorschriften montiert werden. Dabei,müssen auch die nationalen und ortlichen Gesetze und Vorschriften fur Installation und Gebrauch von Holzöfen beachtet werden. WANDERS bietet keine Garantie bei unvollständig oder nicht korrekt angeschlossen oder installiertem Vero.
Der Ofenarf nicht montiert werden in:
- Allgemein zugängliche Galerien und Gänge
- Treppenhäuser, außer in Gebäuden mit nur zwei Stockwerken
- In Räumen, in welchen leicht entflammbare oder explosive Stoffe verarbeitet werden.
- In Räumen in welchen sich eine Abzughaube oder ein mechanisches Absaugsystem befindet, außer dann wenn die Luftzuführ direkt von außen geholt wird sodass die Verbrennung ohne Gefahr geschehen kann.
Vorbereitung
Der Rauchabzugskanal
Bevor der Ofen montiert werden kann, müssen folgende
Punkte beachtet werden:
- Wenn der Ofen an einen schon bestehenden Rauchabzug angeschlossen werden soll, dann muss dieser erst durch einen anerkannten Schornsteinfeger fachkundig gefegt und kontrolliert werden. Eventuell vorhandene Ventile müssen halten.
- Der Rauchgasabzug des Ofens muss ohne Umwege direkt an den Rauchgaszugskanal angeschlossen werden.
- Der Unterdruck im Rauchabzugkanal muss mindestens 12 Pa oder 0,12 mbar betragen.
- Der Rauchabzugskanal muss immer in 1 ausmüssen.
Siehe unterstehende Skizzen und Tabellen.
- Der Schornsteinkanal muss bei der Montage sauber und ohne Behinderung einen Durchmesser von 150 mm haben.
- Eventuelle Biegungen im Rauchabzugskanal * dürfen nicht mehr als 45 Grad betragen.
- Sie müssen sicheren stellen, dass der Rauchabzugskanal die Rauchgase gut genug und auf sichere Weise abziehen kann.
- Für die Berechnung des Rauchgasabzugkanals finden Sie die Werte unter den Technischen Angaben auf Seite 48.

Dachneige x großer als 23^

Dachneige x kleiner als 23^
| Schornsteinhöhe über Dach auf horizontalem Abstand A ab dem Giebel | |||||||||
| Dachneige X | Horizontaler Abstand A ab Giebel in Meter | ||||||||
| Im Giebel | 0,5 m | 0,75 m | 1 m | 1,25 m | 1,5 m | 2 m | 3 m | 4 m | |
| \( 25^{\circ} \) | 0,5 | 0,75 | 0,85 | 1,0 | 1,1 | 1,2 | 1,6 | 2,5 | 3,3 |
| \( 30^{\circ} \) | 0,5 | 0,85 | 1,2 | 1,6 | 2,0 | 2,4 | 3,2 | 4,9 | 6,5 |
| \( 35^{\circ} \) | 0,5 | 1,0 | 1,8 | 2,4 | 3,0 | 3,6 | 4,8 | 7,3 | 10 |
| \( 40^{\circ} \) | 0,5 | 1,2 | 2,4 | 3,2 | 4,0 | 4,8 | 6,4 | 10 | 13 |
| \( 45^{\circ} \) | 0,5 | 1,5 | 3,0 | 4,0 | 5,0 | 6,0 | 8,0 | 12 | 16 |
Brandschutzvorrichtung
Im Zusammenhang mit Brandschutz ist es wichtig, dass Sie die unter erwähnten Vorschriften beachten, bevör der Ofen montiert wird.
- Wenn der Fußboden um den Ofen herum aus brennbarem Material ist, dann müssen Sie eine feuerfeste Bodenplatte benutzen. Die Bodenplatte muss mindestens eine Grösse haben:
- an der Seite der Tür: 50 cm ab der Außenseite des Ofens
-
an den Seiten: 30 cm ab der Außenseite des Ofens
-
Halten Sie mindestens 80~cm Abstand zwischen Ofen und brennbaren Materialen ein. Denken Sie darauf an Gardinen, Gegenstände aus Holz (Schränke und Gemälde) und Glasgegenstände. Halten sie den gleichen Abstand vom Rauchabzugskanal ein
- Holzerne Konstruktion die innerhalb des 80 cm Bereichs des Ofens sind, müssen mit feuerfestem Material verkleidet werden.
- Wenn der Rauchgasabzug durch die Decke und/oder das Dach führt welche aus brennbarem Mate
rial bestehen, müssen diese rundum + 80 cm mit feuerfestem Material bekleidet werden. Achten sie hierbei auf Zwischenbalken und eventuell elektrische Leitungen.
- Zwischen Ofen und tragenden Konstruktionsteilen aus Stahl muss mindestens ein Abstand von 50 cm (rundum) eingehalten werden.
- Schützen sie alle brennbare Materiale die sich in einem Strahl von 80 Zentimeter der Ofentür befinden Nehmen Sie dazu feuERfeste Materiale.
- Bekleiden sie den Kamin nie mit brennbarem Material (wie z.B. Tapete)
- Die Wand hinter dem Kamin muss aus feuerfestem Material sein oder muss damit isoliert werden. Das Isolationsmaterial muss eine Temperatur von 700 Grad Celsius vertragen konnen und eine Dichte von, 80Kg / m^3 haben. Angaben über Isolationsmaterial finden Sie in der Tabelle auf Seite 52.
- Vermeiden Sie Wärmedurchschlag bei der Montage. Die Wärme die der Ofen ausstrahlt kann durch die Wandziehen. Dies kann)sagar Brand auf der anderen Seite der Wand verursachen.Verhindern Sie dies!
Installation
Der Véro ist nach den internationalen Normen EN 13240 geprüft und kennt eine zusätzliche Erweiterungsnorm für optimes umweltfreundliches Heizen in Bezug auf Rauchgase (Art. 15a B-Vg. Des BmfWA). Der Ofen kann an einen Rauchkanal angeschlossen werden, woran mehrere Ofen angeschlossen sind., Das Rauchgasabzugsrohr hat einen Durchmesser von 150 mm.
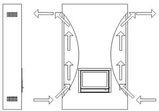
Verbrennungsluftzufuhr
Dem Ofen soll ausreichend frische Verbrennungsluft zugeführten werden. Bringen Sie gegebenenfalls eine zusätzliche Luftzufuhröffnung so nahe wie möglich am Ofen an. Eine zusätzliche Luftzufuhröffnung ist erforderlich, wenn:
- Der Raum mit einem Wärmewiedergewinnungssystem ausgestattet ist.
- Der Raum mit einemzentralen Absaugsystem ausgestattet ist.
- Eine Dunstabzugshaube sich im gleichen Raum befindet
Die Luftzufuhröffnung soll verschliessbar sein, wenn diese durch eine feuerbeständige Wand gehen. Gibt es mehrere Verbrennungsgeräte im gleichen Raum, sollen ausreichend Lufzufuhröffnungen angebracht sein, damit eine sorgenfreie Verbrennung garantiert ist.
Den Ofen anschliessen
Der Vero ist ein schwerer Holzofen. Das Standmodell wiegt -inklusive Rauchgasabzugskanal- 160 kg. Sichern
Sie sich deshalb einen problemos tracefähigen Boden oder eine hängefähige Wand, worauf oder worden Sie den Ofen montieren. Befolgen Sie, bevor Sie den Ofen montieren, zuerst die Hinweise im vorigen Kapitel „Vorbereitungen". Schonen Sie während der ganzen Montage ihren Rücken und den Boden.
Standmodell:
- Überprüfen Sie die Verpackung, gibt es sightbare Schäden, so melden Sie das.
- Das Standmodell erhalten Sie in 2 verschiedene Kartons (1x Herd + 1x Fussteil).
- Nehmen Sie den Ofen aus dem Karton,
- Legen Sie den Ofen vorsichtig auf den Rückenteil (Achtung: legen Sie zum Schutz etwas unter)
- Nehmen Sie den Fussteil aus dem Karton.
- Montieren Sie den Fussteil mit den 4 Schrauben wieder zurück.
- Stellen Sie den Ofen nun gerade auf (Achten Sie auf ihren Rücken).
- Setzen Sie den Ofen jetzt auf seinen Platz, achten Sie darauf, dass der Ofen bereits mitten unter der Abzugsoffnung stehen.
- Montieren Sie nun den Rauchgasabzug. Der Rauchgasabzug soll abfliessend montiert werden.

Montieren Sie den Fussteil
Hängemodell:
- Überprüfen Sie die Verpackung, gibt es sightbare Schäden, so melden Sie das.
- Unten im Karton befindet sich der Aufhängebügel.
- Montieren Sie den Aufhängebügel an die Wand, benützen Sie dazu kein Befestigungsmaterial aus Kunststoff. Achten Sie daraufuf, dass der Bügel genaum mitten unter der Abzugsoffnung befestigt ist und dass die Haken nach oben sehen.
- Hängen Sie jetzt den Ofen in den Bügel (Achten Sie auf ihren Rücken).
- Montieren Sie nun den Rauchgasabzug. Der Rauchgasabzug soll abfliessend montiert werden.

Einbaumodell:

Um die Einbauversion zu installieren muss man die 4 Platten an den Ecken abmontieren.
WANDERS empfeht Schornstein Luftung für optimale Nützung.

Reparaturen
Auswechseln der Glasscheibe der Ofentür:
- Öffnen Sie die Tur mit der zerbrochenen Scheibe.
- Entfernen Sie die 4 Schrauben und die 2 Glasstreifen an der Innenseite derTür.
Vorsicht! Das Glas ist scharf.
- Ersetzen Sie die Glasscheibe.
- Kontrollieren Sie, ob der Glasstreifen noch heil ist und fest aufsitzt. Wenn nicht, kleben Sie diese wiederum fest oder ersetzen diese vollständig
- Wechseln Sie das Glas aus.
- Montieren Sie alles wieder zurück.

Technische Angaben Véro / Véro 33 / Vérox
Technische Angaben
| Tür Verschluss | Ba | I/II |
| Nominales Leistung* | 5 | kW |
| Rohrdurchmesser Verbrennungsgase | 150 | mm |
| Maximale Füllung mit Holz | 1 | kg |
| Maximale Füllung mit Braunkohle | - | kg |
| Inhalt Brennkammer | 0,02 | m3 |
| Oberfläche Boden der Brennkammer | 0,06 | m2 |
*nominate Wärme von 8 KW wird mit einem Schornsteinzug von 0,12 mbar
Heizmaterial, Holzscheite 30 × 10 cm
| Max. Einlagen | 3 Stück |
| Primäre Luftklappe | max. |
| Sekundäre Lüftungsöffnung | max. |
| Brennzeit Heizmaterial | ungebung 1 Stunde |
Rauchgaswerte gemäß DIN 4705, DIN 18895 Teil 2
| Mit geschlossener Tür | Holz | |
| Rauchgasmenge | 4,2 | g/s |
| Rauchgastemperatur | 330 | °C |
| Vordruck | 0,12 | mbar |
| Nutzleistung | 78,7 | % |
| CO op 13% O2 | 0,06 | % |
| Feinstaub | 30 | mg/m3 |
| Prüfungsinstitut 1625. Prüfnorm EN13240. Prüfungsgutachten nr. RRF-400169 | ||
Richtwerte für den Inhalt des zu wärmenden Raums:
Nicht alle Räume entsprechen den heutigen Vorschriften betreffend Isolation. Für den Inhalt des zu wärmenden Raums können folgende DIN 18893 Werte erwähnt werden.
Bei gänstigen Umständen: berechnet gemäß DIN 4701
Bei weniger gänstigen Umständen 135 m3
BeiungunstigenUmständen: 95m3
Für eine kurzfristige Behezung, mit einer Unterbrechung von mehr als 8 Stunden, kann man für den zu wärmenden Inhalt 25% weniger rechnen.
Tabelle für Isolation bei Wanddicke
| Dicke der Wand 10 cm | Isolation | Konvections-Mantel | |
| Schutz der Wand | Rückseite 8 cm | ||
| Wände aus brennbaren Baumaterial | X | X | |
| Tragewände aus Stahl | X | Seite 8 cm | X |
| Einbaumöbel gegen de Ofen | X | X | |
| Einbaumöbel an der Wand hinter den Ofen | X | X | |
| Unterseite 6 cm | |||
| Übrige Wände | |||
| Wanddicke < 10 cm | X | X | |
| Wanddicke > 10 cm (kann gemauerte Wand sein) | - | - |
Die Tabelle zeigt an, welche Isolationsdicke gewählt werden muss bei welcher Wanddicke um vor Einbauöfen zu schützen.
Tabelle Isolationsmaterial: NB nur das was im gefärbten Gebiet steht ist erlaubs
| Isolation | Verpackt | Wärmeleitung | Höchste Gebr-auchs Temp. | Dichte | |||||
| nr | Artikel | nr | Form | nr | verpackt | nr | °C | nr | Kg/m3 |
| 10 | Mineralwolle | 01 | Bahren | 01 | Matten genäht | 10 | 100 | 02 | 20 |
| 11 | Glaswolle | 02 | Lose Wolle | Matten vernäht | 12 | 120 | 03 | 30 | |
| 12 | Steinwolle | 03 | Wolle | 02 | Matten vernäht | 14 | 140 | 04 | 40 |
| 13 | Schlacke | Granulat | G. Krumme 2 | 16 | 160 | 05 | 50 | ||
| 04 | Filz | 06 | 60 | ||||||
| 05 | Lamellenmatte | 10 | Splitter | 07 | 70 | ||||
| Vernähte | G. Krumme 1 | 08 | 80 | ||||||
| 06 | Matten | 11 | Platten | 09 | 90 | ||||
| 07 | Platten | G. Krumme 2 | 10 | 100 | |||||
| 08 | Schalen | 72 | 720 | 11 | 110 | ||||
| 09 | Segmente | 20 | Platten | 74 | 740 | 12 | 120 | ||
| 10 | Geflochten | G. Krumme 1 | 76 | 760 | 13 | 130 | |||
| 21 | Platten | ||||||||
| G. Krumme 2 | 18 | 180 | |||||||
| 99 | Übrige | 99 | Einzeln | 99 | 99 | ||||
Suchen Sie sich in der Tabelle das Isolationsmaterial aus. NB: Gruppe 99 ist NICHT zugelassen.
Technische tekeningen / Technical drawings Dessins techniques / Technische Zeichnungen




| RUMHEID VOLGENS NEN 3634 | ISO-PASSINGSTELSEL NEN-ISO 286-1 EN-2 | OPMERXINGEN | VORM-EN PLAATTOLERANCES VOLGENS NEN-ISO 1101 | |
| WANDERS BV. AMTWEG 4 | WUZ | GETEKEND: COEN SOMMERS | AMERKAANSE PROJECTIE | |
| 7077AL NETTERDEN tel.: +31 (0)315-386414 fax.: +31 (0)315-386201 WWW.WANDERS.COM | MAATEENHEID: MM | KACHEL: VERO | ||
| DATUM: 13-6-2007 | MATERIAL: | |||
| WANDERS | BENAMING: VERO | NUMMER: GVE.0500 | FORMAAT A3 | |




| RUMHEID VOLGENS NEN 3634 | ISO-PASSINGSTELSEL NEN-ISO 286-1 EN-2 | OPMERKINGEN | VORM-EN PLAATTOLERANCES VOLGENS NEN-ISO 1101 | |
| WANDERS BY. AMTWEG 4 | WUZ | GETEKEND: COEN SOMMERS | AMERKAANSE PROJECTIE | |
| 7077AL NETTERDEN tel.: +31 (0)315-386414 fax. +31 (0)315-386201 WWW WANDERS COM | MAATEENHEID: MM | KACHEL: VERO 33 STAAL | ||
| DATUM: 26-5-2007 | MATERIAL: | |||
| WANDERS | BENAMING: VERO 33 STAAL | NUMMER: GVE.0510 | FORMAAT A3 | |




| RUVHEID VOLGENS NEN 3634 | ISO-PASSINGSTELSEL NEN-ISO 286-1 EN-2 | OPMERKINGEN | VORM-EN PLAATTOLERANCES VOLGENS NEN-ISO 1101 | ||
| WANDERS BV. AMTWEG 4 | WUZ | GETEKEND: COEN SOMMERS | AMERKAANSE PROJECTIE | ||
| 7077AL NETTERDEN tel.: +31 (0)315-386414 fax.: +31 (0)315-386201 WWW.WANDERS.COM | MAATEENHEID: MM | KACHEL: VEROX | |||
| DATUM: 24-7-2007 | MATERIALAAL: | ||||
| WANDERS | BENAMING: VEROX | NUMMER: GVE.0530 | FORMAAT A3 | ||





| Type of appliance / Geräte Typ Type de l'appareil / Tipo di apparecchio Aparelho modelo / Type apparaat | |
| Serial number / Seriennummer Nr. de série /Numero di matricola Série no / Seriennummer | |
| Date of purchase / Kaufdatum Date de l'achat / Data di acquisito Data da aquisicao / Aankoop datum | |
| Name / Name / Nom / Nome / Nome / Naam | |
| Address / Adresse Adresse / Indirizzo Direcção / Adres | |
| Postalcode-Town / Plz-Ort Code postal-Lieu / Codice postale-Localita Código postal-Cidade / Postcode-Plaats | |
| Country / Land / Pays / Paese / Paise / Land | |
| Name of supplier / Händlername Nom du vendeur / Nome del fornitore Nome do revendedor / Naam leverancier | |
| Address / Adresse Adresse / Indirizzo Direcção / Adres | |
| Postalcode-Town / Plz-Ort Code postal-Lieu / Codice postale-Localita Código postal-Cidade / Postcode-Plaats | |
| Name of installer / Name des Installateurs Nom due l'installateur / Nome dell'installatore Nome de instalador / Naam installeur | |
| Address / Adresse Adresse / Indirizzo Direcção / Adres | |
| Postalcode-Town / Plz-Ort Code postal-Lieu / Codice postale-Localita Código postal-Cidade / Postcode-Plaats |
Notice-Facile