ECONOMIC 75 - Poêle à bois WANDERS - Notice d'utilisation et mode d'emploi gratuit
Retrouvez gratuitement la notice de l'appareil ECONOMIC 75 WANDERS au format PDF.
| Type d'appareil | Poêle à bois |
| Puissance nominale | Non précisé |
| Rendement | Non précisé |
| Capacité de chauffage | Non précisé |
| Dimensions (L x H x P) | Non précisé |
| Poids | Non précisé |
| Matériau | Acier et verre |
| Type de porte | Vitres latérales et frontale |
| Type de combustible | Bois |
| Sortie de fumée | Non précisé |
| Installation | Encastrable |
| Utilisation | Chauffage domestique |
| Normes | Non précisé |
| Garantie | Non précisé |
| Accessoires inclus | Non précisé |
FOIRE AUX QUESTIONS - ECONOMIC 75 WANDERS
Téléchargez la notice de votre Poêle à bois au format PDF gratuitement ! Retrouvez votre notice ECONOMIC 75 - WANDERS et reprennez votre appareil électronique en main. Sur cette page sont publiés tous les documents nécessaires à l'utilisation de votre appareil ECONOMIC 75 de la marque WANDERS.
MODE D'EMPLOI ECONOMIC 75 WANDERS
| Schoorsteenhoogte buitendaks op een horizontale afstand A vanaf de nok | |||||||||
| Dak helling X | horizontal | ||||||||
| In denok | 0,5 m | 0,75 m | 1 m | 1,25 m | 1,5 m | 2 m | 3 m | 4 m | |
| 25° | 0,5 | 0,75 | 0,85 | 1,0 | 1,1 | 1,2 | 1,6 | 2,5 | 3,3 |
| 30° | 0,5 | 0,85 | 1,2 | 1,6 | 2,0 | 2,4 | 3,2 | 4,9 | 6,5 |
| 35° | 0,5 | 1,0 | 1,8 | 2,4 | 3,0 | 3,6 | 4,8 | 7,3 | 10 |
| 40° | 0,5 | 1,2 | 2,4 | 3,2 | 4,0 | 4,8 | 6,4 | 10 | 13 |
| 45° | 0,5 | 1,5 | 3,0 | 4,0 | 5,0 | 6,0 | 8,0 | 12 | 16 |
dakhelling x groter dan 23'
dak helling x kleiner dan 23'
Mode d'emploi et instructions d'installation economic
Cher client,
Nous vous félicitons pour l'acquisition de votre nouveau poèle à bois de WANDERS. C'est une source de chaleur confortable qui vous donnera beaucoup de plaisir pendant de longues années.
Ce poêle à bois a été conçu spécialement pour répondre aux exigences d'un employé aisés, de la sécurité et du design.
Votre poêle est développé et produit dans notre usine à Netterden (Pays-Bas) et fait à la main pour une partie importante. La construction est faite uniquement en utilisant les meilleurs matériaux en conformité avec les normes européennes en vigueur. Vous bénéficierez ainsi de la garantie d'une longue durée de vie pour ce poêle.
La première partie de ce mode d'emploi est consacrée aux conseils pour une utilisation correcte de votre poêle à bois en toute sécurité. La deuxième partie comporte les instructions d'installation et les caractéristiques techniques destinées notamment à l'installateur.
Nous vous recommandons de lire ce manuel attentivement avant la mise en service de votre poêle à bois et de bien le conserver. Notre installateur en aura besoin pour l'entretien annuel de votre poêle.
Nous espérons que vous profiterez beaucoup de l'ambiance chaleureuse du Economic.
L'Équipe de WANDERS
Table des matières
Votre poèle à bois Economic 34 Installation 34 Allumage du poèle 34 Premier chauffage 35 Combustible: le bois et briquettes 36 La façon optimale de chauffer le poèle 36 Cheminée et conduit de cheminée 37 Entretien 37 Sécurité 37 Garantie 38 Instructions d'installation du Economic 39 Dessins techniques 60
Votre poêle à bois economic
Un des modèles Economic
L'Economic vous offre à la fois le confort et une émission de chaleur efficace. Le poêle se compose d'un manteau extérieur et d'un corps. Par sa conception, 70% de la chaleur sont utilisés pour chauffer rapidement votre pièce par convection et les autres 30% se dégagent par le rayonnement à travers la face vitrée.
Le déflecteur des gaz de fumée intégré sert à faire circuler les gaz de fumée dans le corps et assure de cette manière une émission de chaleur complémentaire. Les 1 ou 2 ventilateurs intégrés, accompagnés d'un bruit faible, seront à augmenter le rendement de votre poêle à bois. L'air frais aspiré d'en bas du poêle est conduit par le côté arrière vers le haut pour être soufflé finalement par la façade. La vitesse des ventilateurs se règle à la main.
Le clapet de thermostat automatique régule l'apport d'air vers votre poêle par le tiroir à cendres. Avant d'allumer l'Economic, ouvre le clapet au maximum. Au fur et à mesure que le poêle à bois devient chaud, le clapet se ferme automatiquement. En effet, si toutes les autres ouvertures restent fermées, le fonctionnement du clapet réduit au minimum la chance qu'une surchauffe se produise et que le poêle soit détérioré. N'oubliez pas que pour un apport d'air optimal, il est nécessaire de vider le tiroir à cendres régulièrement.
Installation
En règle générale, c'est le revendeur de votre Economic qui se charge de l'installation du poêle. Si ce n'est pas le cas, confiez-la à un installateur/agréé. C'est lui qui vous conseillera aussi sur le conduit de cheminée auquel votre poêle devra être raccordé. Le raccordement des poêles à bois par une personne non agréée est fortement déconseillé. Dans ce cas, nous ne garantissons pas le bon fonctionnement du Economic.
L'installation devra répondre également aux normes anti-incendie. Voir la page 40.
Ce poêle à bois est très utile en chauffage d'appoint et ne sert pas à remplacer par exemple votre installation du chauffage central.
Allumage du poêle pendant l'entre-saison (début de l'automne ou fin de l'hiver)
Lorsque la température extérieure et celle à l’intérieur de votre maison sont presque pareilles, il n’est pas si simple d’obtenir un bon tirage. Ces jours-là, le meilleur tirage s’obtient si vous brûlez du bois en petite quantité tout en laissant tous les orifices d’air ouverts au maximum. C’est que l’aménée importante d’air favorise un réchauffement rapide et cela a un effet stimulant sur le tirage de cheminée. En utilisant peu de bois, vous éviterez que la fumée soit refoulée dans la pièce.
Allumage du poêle
Le poêle devient très chaud pendant l'allumage et le chauffage et il a besoin de deux heures au moins pour se refroidir. Pendant le chauffage et deux heures de suite, évitez de toucher l'Economic sans protection. L'utilisation d'un gant est nécessaire si vous manipulez le poêle, sinon vous risquez de vous brûler les mains sévèrement.
Ouverture de la porte

Actionnement (l'index) de la grille (A) à secousses avec tige. Bouton de clapet de thermostat automatique (B)
Ouvrez la porte et mettez quelques tourbillons de papiers ou des allume-feu dans le poêle ; ajoutez en-dessus quelques bouts de bois ou briquettes de lignite. Ouvrez au maximum le clapet de thermostat automatique (photo). Ouvrez la grille de secousses avec tige et pendant les cinq à dix premières minutes maintenez le tiroir à cendres ouvert en vue d’une alimentation d’air supplémentaire. Allumez ces bouts de bois ou briquettes de lignite et entrouvrez la porte pour augmenter l’alimentation d’air. Après quelques minutes, vous refermerez cette porte. Quand les bouts de bois se sont enflammés, vous pouvez rajouter du combustible supplémentaire et refermer le tiroir à cendres. Ne rajoutez jamais plus de trois buches à la fois. Dès que le poêle brûle bien, il régule par lui-même l’alimentation de l’air de combustion. Prévoyez donc toujours une ventilation suffisante pendant l’utilisation du poêle.
Attention:
Évitez de toucher la vitre du poêle de vos doigts. Les empreintes digitales se fixeront au verre par la température élevée et ne s'enleveront plus par la suite.
Il est interdit d'allumer le poèle en utilisant des produits liquides tels que l'essence ou l'alcool à brûler.
Quand le poêle brûle, vous ne pouvez pas utiliser en même temps une hotte aspirante dans la même pièce.
Ne touchez pas les éléments laqués pendant le réchauffement du poêle.
Changement de couleur des parois, plafonds et grilles
Par le chauffage du poêle, les parois, plafonds et grilles peuvent changer de couleur. C'est que des grains de poussière brûlent dans le manteau de convection. Il s'agit d'un processus naturel dont WANDERS ne saurait assumer la responsabilité. Pour réduire au maximum la décoloration, veuillez vous reporter aux consignes généralement données dans le commerce sur les poêles d'ambiance. Votre installateur vous renseignera.
Pendant le premier chauffage du Economic, le poèle a besoin d'être rodé. Voiture poèle est couvert d'une laque thermorésistante qui doit encore être « cuite » à des températures de plus de 400~^ C. Cela se fait pendant les premiers chauffages quand les températures peuvent atteindre jusqu'à 600°C. Au début, cela peut entraîner une odeur désagréable, mais inoffensive. Les 4 à 5 premières fois, il est recommendé de n'introduire que quelques buches et de faire brûler le poèle pendant au moins 6 heures. Assurez-vous que la ventilation de la piece soit ajustée. N'utilise pas une hotte aspirante quand le poèle brûle, car elle aspirerait l'air de combustion dont le poèle aurait besoin.
Pendant le "rodage" du poèle, un dépôt de suie peut se produire sur la vitre de la porte. La suie s'enlève facilement avec un chiffon humide ou éventuellement à l'aide d'un détergent pour plaques de cuisson céramique quand le poèle s'est refroidi. Ne touchez plus la vitre nettoyée de vos doigts. Les empreintes digitales se fixeront au verre par la température élevée et ne peuvent plus être enlevées par la suite.
Vous avez un logement neuf ou récemment rénové?
Il est déconseilé d'allumer un poêle dans un logement qui vient d'être construit ou qui a été rénové récemment. Mieux vaut attendre encore six semaines. C'est que les murs et plafonds contiennent encore des gaz, des amollissants et de l'humidité issus du plâtrage et de la peinture. Par les courants d'air chauds, les grains de poussière dans la pièce changent de couleur et se collent contre les murs et plafonds. De plus, les points humides aux murs et plafonds en revenant chauds forment ainsi des taches jaunâtres.
Combustible : le bois et briquettes
| Espèce de bois | Durée de séchage | |
| Pin, Peuplier | 1 | an |
| Tilleul, Saule, Sapin, Bouleau, Frîne, Aune | 1,5 | an |
| Arbre fruitier, Hêtre | 2 | ans |
| Chône | 2,5 | ans |
Le Economic se chauffe au bois et/ou au briquette. Ne chargez le poèle que de 3 à 4 kg de combustible à la fois. Utilisez toujours du bois propre, coupé et bien sec. Consultez le tableau qui précède pour les durées de séchage recommandées. Le bois humide ne brûle pas bien et entraîne un dégagement de fumée excessif. De ce fait, la vitre risque de se noircir par la suite. De plus, des particules de suie peuvent se déposer dans le conduit de cheminée et être à l'origine d'un feu de cheminée.
Feu de cheminée - que faire ?
Au cas où un feu de cheminée se produit, fermez immédiatement le clapet dans la cheminée et tous les tuyaux d'aération d'air. Alertez les pompiers. Après l'extinction d'un feu de cheminée, faites contrôler de nouveau la cheminée et le poêle par votre installateur.
Le bois vert et humide a un taux d'humidité d'environ 50%. Après une année de séchage, le bois de fente contient encore 20% d'humidité. Après deux années, le taux d'humidité n'est que de 12 à 15 pour cent. Le bois sec produit un beau spectacle des flammes sans fumée ou presque. Le crépitement du feu se fait alors entendre. Le bois humide émet un sifflement et produit beaucoup de fumées et une vue des flammes insignifiante. Cela réduit le confort et le rendement du chauffage considérablement.
Les bûches contenant de la paraffine ne sont pas admises au poêle. Après la fermeture de la porte, la paraffine se sépare des bûches en se fondant trop vite en raison de la température élevée. Les gaz de fumée encrassés qu'elles dégagent sont déposés directement sur la vitre de la porte ; ils sont marqués sur le verre et ne peuvent plus être nettoyés.
Il ne faut pas utiliser du bois peint, imprégné, collé au traité autrement. Les gaz de fumée sont très nuisibles pour l'environnement et peuvent attaquer votre poêle. Il est également interdit de brûler des matières plastiques et d'autres déchets à cause du dégagement de ces fumées toxiques.
Espèces de bois et entreposage
Toutes les espèces de bois propre, coupé et sec peuvent servir de combustible. Les espèces dures, telles que le chêne, le hêtre et le bouleau, se consument lentement et forment de façon simple des charbons de bois. Les espèces plus tendres, telles que le sapin, le pin et le peuplier, produisent plus de flammes et moins de charbons de bois.
L'entreposage du bois se fait de préférence à un endroit exposé au vent, mais bien à l'abri de la pluie. C'est la manière naturelle de sécher le bois. Empilez les bûches sur une palette usagée ou sur une grille pour que les bûches se sèchent aussi par le bas. De cette manière, les bûches les plus basses n'entreront pas en contact avec l'eau.
La façon optimale de chauffer le poêle
Les poêles de WANDERS ont été conçus pour produire un rendement maximal. Un poêle à bois bien chauffé peut avoir un rendement d'environ 75%. Ainsi, pour obtenir la même chaleur, vous avez besoin d'une quantité de buches inférieure. De plus, un poêle bien chauffé dégage moins de fumées polluantes. Quelques conseils pour un confort du chauffage optimal:
- Ne chauffez le poêle que si la porte est bien fermée : le rendement du chauffage en sera 8 à 10 fois plus grand. Si la porte est ouverte, la cheminée aspire plus d'air que nécessaire pour une bonne combustion et l'air relativement frais refroidit le feu. Une porte fermée empêche que des étincelles s'échappent du poêle et causent des dégâts, surtout quand il s'agit de bois de résineux.
- Si vous utilisez de la lignite, actionnez chaque matin la grille à secousses pour faire tomber les cendres dans le tiroir à cendres et laissez la grille à secousses ouverte. Ceci afin d'amener par le bas l'air de combustion pour les lignites. Vous obtiendrez ainsi la meilleure combustion de vos briquettes.
- N'ajoutez pas plus de 3 bûches ou 4 briquettes de lignites à la fois au feu. Le chargement d'un grand volume e de l'environnement.
- Ne rajoutez pas plus de 3 bûches à la fois au feu. Le chargement de beaucoup
- Prévoyez une ventilation ajustée de la pièce pendant l'utilisation du poêle. Un feu crépitant a une consommation de 25 mètres cubes d'air par heure au minimum. N'utilisez jamais le poêle et une hotte aspirante dans la pièce en même temps.
- Soyez prudent en cas de brouillard ou de calme plat. Par temps calme, il n'y a presque pas de tirage dans
la cheminée froide. Puisque la fumée est plus lourde que l'air, il se pourrait alors que la fumée soit refoulée dans la pièce. Quand il y a du brouillard, la fumée qui sort de la cheminée se refroidit rapidement et descend tout en causant des nuisances dans votre environnement.
- N'eteignez pas le feu d'un coup à l'aide de l'eau, mais laissez le feu s'éteindre. Sinon, les matériaux à l'intérieur du poêle peuvent subir des déformations ou des fissures par les grands écarts de température survenus brusquement.
Cheminée et conduit de cheminée
La cheminée est l'élément le plus important de votre poèle à bois.
Une cheminée bien construite empêche que certains problèmes se produisent, tels que la pénétration des fumées dans la pièce, le dépôt de malpropres sur la vitre ou une mauvaise combustion. Avant l'installation de votre appareil, votre installateur ou un ramoneur agréé devra vérifier si le conduit de la cheminée a un diamètre de 150 millimètres au moins sur toute sa longueur et s'il est propre, lisse et étanche.
Cheminée avec un bon tirage
L'air chaud tend toujours à monter et c'est là le principe du tirage dans la cheminée. Le tirage est encore favorisé lorsqu'au niveau de la bouche de cheminée l'air est aspirée par le vent. L'effet inverse a lieu parfois par un vent descendant qui souffle de nouveau l'air dans la cheminée. De même, le brouillard frais et relativement lourd peut contrarier le bon tirage de votre cheminée, tout comme un long conduit de cheminée dont la paroi est rugueuse et avec de nombreuses courbes. Si le tirage naturel est mauvais, demandez conseil à votre installateur sur l'utilisation éventuelle d'un ventilateur dans votre conduit de cheminée.
Petit entretien
- Deux à trois fois par an, il convient d'enlever les cendres froides du cendrier. Nous vous conseillons d'utiliser un seau à cendres. Il est important de vider le cendrier, car le poèle aspire l'air de combustion également par le cendrier.
- Il est recommandé de laisser en place une couche de cendres de deux à trois centimètres ; elle servira à protéger la sole. Utilisez une brosse douce pour le nettoyage de la grille à secousses dans le poêle.
- Nettoyez l'extérieur du poêle à l'aide d'un chiffon humide non pelucheux. N'utilisez pas des détergents.
et abrasifs agressifs.
- Le verre (redevenu froid) se nettoie avec un détergent spécial pour plaques de cuisson en céramique. Évitez de toucher encore la vitre nettoyée de vos doigts : les empreintes digitales resteront marquées au verre par la température élevée.
- N'oubliez pas d'huiler de temps en temps les charnières et le verrou de porte.
N'utilisez pas des détergents et abrasifs agressifs pour l'entretien de votre poêle.
Mise hors service
- En été, les portes et les tiroirs à air doivent tous être fermés.
- Il faudra mettre du sel absorbant dans le poèle s'il se trouve dans une pièce humide.
- Graissez la partie de chauffe en fonte nettoyée au moyen d’une vaseline neutre.
Entretien annuel
- Tous les ans, pour la sécurité incendie et en application de l'assurance contre l'incendie, faites bien ramoner la cheminée par un ramoneur agréé.
- Tous les ans, faites vérifier l'étanchéité du tuyau d'évacuation des gaz de fumée et du tuyau de l'air de combustion de la canalisation d'évacuation des gaz de fumée à double paroi.
- Tous les ans, faites vérifier si la grille à secousses ne présente pas de fissures.
- Tous les ans, faites contrôler le fonctionnement des tiroirs et/ou des clapets.
- Tous les ans, faites vérifier si les joints des portes et des châssis sont pas usés.
Sécurité
Un poêle à bois de WANDERS, c'est toujours une source de chaleur confortable et sûre.
Ce qui est primordial pour assurer la sécurité contre l'incendie, ce sont une installation correcte et un tuyau d'évacuation des gaz de fumée fonctionnant correctement. C'est pourquoi votre installateur devra respecter les consignes d'installation comme décrites aux pages 39 et suivantes. Pour un chauffage en toute sécurité, les points suivants sont également importants:
- Chauffez le poêle autant que possible la porte fermée. Cela augmente le rendement et respecte moins l'environnement.
- Tenez les jeunes enfants et les personnes infirmes éloignés d’un poèle qui brûle et ne laissez-les pas seuls dans la pièce. Eventuellement, vous pouvez mettre en place un pare-feu.
- Ne versez ou ne mettez pas des liquides ou des matériaux combustibles dans le poèle. Ils risquent d'endommager le poèle irrémédiablement.
- Si le plancher autour du poêle est fait en matière combustible, utilisez une plaque d'assise.
La plaque doit avoir les dimensions minimales de : - sur le devant de la porte : 50 cm depuis le poêle - à chaque côté de la porte : 30 cm depuis le poêle
- Evitez la présence de matières combustibles, par exemple des rideaux, des objets en bois (armoires, tableaux) tout près du poèle ou du conduit de cheminée. Respectez un écartement d'au moins 80 centimètres depuis l'extérieur du poèle et du conduit de cheminée.
- Ne faites jamais habiller le manteau de cheminée de matières combustibles (telles que des papiers points).
- Respectez les points énumérés au chapitre « La façon optimale de chauffer le poèle » à la page 36.
- Le poêle à bois ne doit être réparé que par un installateur agréé en utilisant des pièces d'origine.
Garantie
Votre poèle à bois de WANDERS Metaalproducten B. V. à Netterden bénéficie d'une garantie de 5 ans à partir de la date d'achat, à condition que le poèle ait été installé et utilisé conformément aux instructions données dans ce mode d'emploi. La garantie couvre tous les défauts qui résultaient des vices de matière et de construction. Dans ces cas, vous recevez des pièces nouvelles gratuitement. Les frais de salaire et les autres frais n'entrent pas dans le champ de la garantie. Les pièces défectueuses peuvent être expédiées franco à WANDERS Metaalproducten B. V., Amtweg 4, 7077 AL, Netterden, Pays-Bas.
Avant de procéder à la pose de l'appareil, vous devrez vérifier si le poèle ne présente pas des dommages visibles. Dans ce cas, il ne faut pas accepter l'appareil et prendre contact avec votre fournisseur.
La garantie ne couvre pas la vitre et ne s'applique pas aux dérangements provenant d'une mauvaise utilisation, d'un manque de respect de la réglementation nationale et des instructions d'installation et d'emploi fournis avec l'appareil, d'une installation effectuée par un installateur ou revendeur non-agréé par WANDERS, d'un défaut d'entretien et en cas où le poêle serait passé en d'autres mains. La garantie ne s'applique pas non plus si un combustible non approprié a été utilisé.
La garantie a une durée de 1 an pour les éléments suivants : toutes les pièces en fonte ou vermiculite, les éléments électriques, le couvercle de thermostat et la laque.
WANDERS n'est pas responsable des éventuelles fissures au plâtrage de parement et des décolorations des parois, plafonds et/ou grilles après le chauffage du
poêle. Les décolorations peuvent être causées par la combustion des grains de poussière dans le manteau de convection. Pour réduire au maximum les fissures au plâtrage et les décolorations éventuelles, veuillez vous reporter aux consignes généralement données dans le commerce sur les poêles d'ambiance. Votre installateur vous renseignera.
Les plaintes sont examinées après qu'elles ont été représentées par l'établissement de vente, par l'installateur, accompagnées d'une copie de la facture d'achat indiquant la date d'achat.
Les réparations ne donnent pas droit à une prorogation de la durée de garantie. Les dommages conséquents sont exclus.
Instructions d'installation du economic
| Consignes générales | 39 |
| Préparation | 39 |
| Installation | 40 |
| Réparations | 42 |
| Données techniques Economic | 44 |
Consignes générales
Le Economic satisfait à la norme internationale EN 13240 et à une norme plus spécifique relative au meilleur respect de l'environnement lors du chauffage en ce qui concerne les gaz de fumée.
(article 15a B-Vg. Des BmfWA). Le poêle peut être raccordé à un conduit de fumée auquel sont raccordés plusieurs poêles. Le tuyau d'évacuation des gaz de fumée a un diamètre de 150 millimètres.
Votre poêle à bois doit être monté et raccordé uniquement par un installateur/agréé et selon les instructions d'installation suivantes. De plus, les législations et réglementations nationales et locales relatives au montage et à l'utilisation de poêles à bois devront être respectées. WANDERS n'est soumise à aucune garantie si le Economic a été raccordé et/ou installé de manière incomplète ou inappropriée.
Il est interdit d'installer votre poêle:
- Dans les galeries ou couloirs accessibles au public.
- Dans les cages d'escalier, sauf dans les immeubles ne comportant pas plus de deux logements.
- Dans les locaux servant à la manutention de matières facilement inflammables ou explosives.
- Dans les locaux où se trouve une hotte aspirante en marche ou qui sont équipés d'un système de tirage mécanique, sauf dans le cas où l'arrivée de l'air provient directement de l'extérieur, ce qui assure une combustion sans danger.
Le conduit de cheminée
Avant de procéder à l'installation du poêle, il est recommandé de poser des grilles pour l'aération de la hotte de cheminée afin d'éviter l'apparition de décolorations et de fissures au plâtrage. Le poêle doit être installé selon les consignes suivantes:

Avant de procéder au montage du poêle, vérifie les points suivants:
- Si le poèle est raccordé à un conduit de cheminée existant, celui-ci doit d'abord être nettoyé et contrôlé par une entreprise de ramonage agréée. Les éventuels clapets de fermeture doivent être enlevés.
- Le tuyau d'évacuation des gaz de fumée du poêle doit être raccordé sans déviations au conduit de cheminée.
- La dépression dans le conduit de cheminée doit être de 12 Pa ou 0,12 mbar au minimum.
- La bouche du conduit de cheminée doit se couvrir dans la zone d'embouchure 1. Voir les figures et le tableau.
- Avant de faire l'installation, vérifie si le conduit de cheminée est propre, étanche et sans obstacle. Le diamètre prescrit est de 150 mm.
- Les courbes dans le conduit de cheminée ne peuvent être supérieures à 45 degrés.
- Vérifiez la capacité du conduit d'évacuer les gaz de fumée de manière suffisante, ajustée et en toute sécurité.
- Les valeurs à retenir pour le calcul du conduit de cheminée se trouvent sous les données techniques à la page 40.
versant x supérieur à 23'
versant x inférieur à 23'
| Hauteur cheminée hors toit à une distance horizontalé A du faîte | |||||||||
| Versant X | distance horizontalé A à partir de la faîte en mètres | ||||||||
| Dans la faîte | 0,5 m | 0,75 m | 1 m | 1,25 m | 1,5 m | 2 m | 3 m | 4 m | |
| \( 25^o \) | 0,5 | 0,75 | 0,85 | 1,0 | 1,1 | 1,2 | 1,6 | 2,5 | 3,3 |
| \( 30^o \) | 0,5 | 0,85 | 1,2 | 1,6 | 2,0 | 2,4 | 3,2 | 4,9 | 6,5 |
| \( 35^o \) | 0,5 | 1,0 | 1,8 | 2,4 | 3,0 | 3,6 | 4,8 | 7,3 | 10 |
| \( 40^o \) | 0,5 | 1,2 | 2,4 | 3,2 | 4,0 | 4,8 | 6,4 | 10 | 13 |
| \( 45^o \) | 0,5 | 1,5 | 3,0 | 4,0 | 5,0 | 6,0 | 8,0 | 12 | 16 |
Sécurité anti-incendie
En vue de la sécurité anti-incendie, il est important de respecter les consignes suivantes avant l'installation du poêle.
- Si le plancher autour du poêle est fait en matière combustible, l'utilisation d'une plaque de sol est recommandée.
La plaque doit avoir les dimensions minimales de:
- sur le devant de la porte: 50 cm depuis le poêlé
- Respectez un écartement de 80 centimètres au minimum entre le poèle et les objets combustibles, tels que les rideaux, les objets en bois (armoires et tableaux) et en verre. Maintenez une même distance par rapport au conduit de cheminée.
- Les éléments de construction en bois se trouvant dans le rayon de la chaleur (80 centimètres à partir de l'extérieur du poêle) doivent être habillés de matériaux résistants au feu.
- Entre le poêle et les éléments de la charpente en acier, il doit y avoir une distance de 50 centimètres au moins (toutes directions).
- Si le tuyau d'évacuation des gaz de fumée traverse un plafond et/ou le toit composés de matières combustibles, les entourages (environ 80 centimètres) d'un point de passage doivent être recouverts de
matériaux résistants au feu. Les solivages et les fils électriques éventuels doivent aussi être protégés.
- N'habillez jamais le manteau de cheminée ou le mur de matières combustibles (telles que les papiers peints).
- Le mur ainsi que les autres matières combustibles se trouvant à une distance de moins de 80 centimètres du poêle doivent être composés de matériaux résistants au feu ou être isolés par ces matériaux. Les matériaux résistants au feu devront pouvoir résister à une température de Celsius et avoir une densité de 80 kg/m3. (Veuillez consulter la page 45 pour les matériaux d'isolation).
- Faites en sorte que les positions du poèle et du tuyau d'évacuation des gaz de fumée empêchent la chaleur de pénétrer dans le mur. Une émission de chaleur traversant un mur peut entraîner un feu même de l'autre côté du mur. Évitez ce risque.
Installation
Le Economic satisfait à la norme internationale EN 13240 et à une norme plus spécifique relative au meilleur respect de l'environnement lors du chauffage en ce qui concerne les gaz de fumée
Le poêle peut être raccordé
à un conduit de fumée auquel sont raccordés plusieurs poêles.
Amenée d'air de combustion
Le poêle a besoin de l'air de combustion suffisant et frais. Aménagez si nécessaire une prise d'air supplémentaire dont l'endroit doit être choisi aussi près du poêle que possible pour éviter le courant d'air. Une prise d'air supplémentaire est absolument exigée si:
- La pièce est équipée d'un système de récupération de chaleur.
- La pièce est équipée d'un système d'aspiration central.
- Une hotte aspirante est installée dans la même pièce.
Une prise d'air qui traverse un mur résistant au feu doit pouvoir être fermée. S'il y a plusieurs appareils de combustion dans une pièce, il faut prévoir des prises d'air en nombre suffisant pour que la combustion se fasse en toute sécurité.
Electricité
Les ventilateurs fonctionnent à un courant de 230V. Le raccordement doit être effectué conformément à la réglementation en vigueur et par un installateur/agréé. Assurez-vous qu'aucun fil électrique ne passe dans, sur ou par la cheminée. Les éléments ÉLECTRIQUES pourront fondre par l'émission de la chaleur du poêle et entraîner ainsi des situations dangereuses. Le poêle doit toujours être raccordé à un socle avec prise de terre. Pendant les services d'entretien du poêle, il doit toujours être possible de déconnecter le courant.
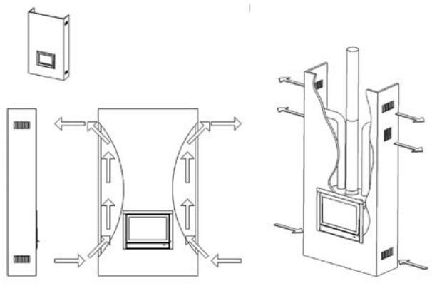
Raccordement du modèle façade et angle
- Suivez d'abord les consignes du chapitre précédent intitulé « Préparation »
- Enlevez le clapet se trouvant éventuellement dans la cheminée existante
- Isolez le poèle par l'application de matériaux non combustibles entre le mur et le manteau extérieur (pour les matériaux d'isolation veuillez consulter le tableau à la page 45).
- Faites en sorte que la prise de l'air extérieur soit étanche à l'air. Dans un canal existant, vous pouvez éventuellement tirer un tuyau représentant un diamètre de 150 millimètres. Montez ce tuyau au poêle.
- Enlevez la bouche de tuyau du poêlé. (figure 1)
- Posez le poèle dans l'ouverture. ATTENTION: il peut y avoir un câble électrique.
Figure 1 Enlèvement de la bouche de tuyau du poèle
Figure 2 Mise en place du clapet économique et de la tige de pouvoir
Figure 3 Pose du déflecteur des gaz de fumées dans le poêle
Figure 4 Place de la plaque signalétique
- Raccordez le tuyau à la bouche de tuyau. Remontez la bouche de tuyau au poêle.
- Montez le clapet économique. Ensuite, mettez la tige de pouvoir vers la porte dans l'évidement à la façade du poêle. Accrochez le clapet dans les colliers (figure 2)
- Posez le déflecteur des gaz de fumées sur les supports sous le clapet économique (figure 3)
- Montez les baguettes de couverture fournies aux côtés latéraux et supérieur.
- Branchez la prise de courant murale mise à la terre.
- Remplacez éventuellement la plaque signalétique par celle de la langue souhaitée. (figure 4)
Assurez-vous que le fil électrique ne subit pas de ruptures pendant l'installation.
Le poêle doit toujours être raccordé à une prise de courant mise à la terre.
Réparations
Figure 5: Remplacement de la vente de la porte
Remplacement de la valve de la porte
Ouvrez la porte du poèle. Enlevez les 4 vis (figure 5). - Enlevez les baguettes à l'intérieur du poèle. Attention : le verre est tranchant.
Figure 6: Remplacement de la vitre latérale
Remplacement de la valve latérale
- Enlevez les 4 vis en haut et en bas de la vente latérale.
- Enlevez les baguettes à la face intérieure de la porte. Attention: le verre est tranchant.
Remplacement des ventilateurs et/ou fusibles
Figure 7: Enlèvement des 2 vis en bas à gauche et à droite.
Assurez-vous que le courant est coupé. - Enlevez les 2 vis en bas à gauche et à droite. - Écartez le bloc ventilateurs en entier. Faites attention au câble. - Enlevez le devant du bloc ventilateurs. Écartez le ventilateur ou remplacez le fusible du régulateur de vitesse. Pour avoir accès au régulateur, il faudra le détacher du front.
Données techniques
| Verrou de la porte | Ba | I/II |
| Puisance nominale * | 7 | kW |
| Diamètre tuyau gaz de fumées | 150 | mm |
| Chargement en bois maximal | 3 | kg |
| Chargement en lignite maximal | 3 | kg |
| Volume,chambre de combustion | 0,08 | m3 |
| Surface sol de la chambre de combustion | 0,2 | m2 |
- La chaleur nominale de 7 kW est obtenue par un tirage de la cheminée de 0,12 mbar.
Combustible : buches, 30 × 10 cm, briquettes
| Chargement maximal | 3 bûches | 4 piées |
| Clapet d'air primaire | max. | max. |
| Trou d'air secondaire | max. | max. |
| Durée de consommation combustible | 1 heures environ | 1 heures environ |
Valeurs des gaz de fumée selon DIN 4705, DIN 18895 partie 2
| Porte fermée | bois | briquettes | ||
| Quantité gaz de fumée | 4,2 | g/s | 12,2 | g/s |
| Température gaz de fumée | 330 | °C | 298 | °C |
| Pression préliminaire | 0,12 | mbar | 0,12 | mbar |
| Rendement | 78,7 | % | 79,3 | % |
| CO à 13% O2 | 0,06 | % | 0,09 | % |
| Particules fines | - | mg/m3 | - | mg/m3 |
| Institut d'inspection 1625 . Norme d'inspection EN13229 . Certificat d'essai nr. RRF-400169 | ||||
Valeurs indicatives pour la capacité du local à chauffer:
Les locaux ne répondent pas tous aux valeurs R actuelles. Pour le volume des locaux à chauffer, les valeurs suivantes selon DIN 18893 peuvent être retenues:
Par circonstances de chauffage favorables : calcul selon DIN 4701
Par circumstances moins favors: 115 m3
Par circonstances défavorables: 75 m3
Pour un chauffage temporaire, à une interruption de plus de 8 heures, il est possible de calculer 25% en moins pour le volume à chauffer.
Tableau épaisseur de l'isolation par épaisseur de mur
| épaisseur de mur 10 cm | isolation | manteau convection | |
| Protection du mur | arrière8 cmcôte8 cmcessous6 cm | ||
| Parois composées d'éléments de construction combustibles | X | X | |
| Charpente en acier | X | X | |
| Meuble encastrable contre le poële | X | X | |
| Meuble encastrable dans le mur arrêtè | X | X | |
| Autres parois | |||
| Épaisseur de paroi < 10 cm | X | X | |
| Épaisseur de paroi > 10 cm( peut être un mur de maçonneorie) | - | - |
Tableau indiquant quelle épaisseur de l'isolation est à besoin par quelle épaisseur de mur pour la protection des parois encastrées.
Tableau matériel isolant, NB: seul le matériel indiqué dans la zone grise est admis
| Isolation | Emballage | Conduction Thermique | Temp e de serv la plus élevé | Densité | |||||
| no | article | no | forme | no | emballage | no | °C | no | Kg/m3 |
| 10 | Laine minérale | 01 | Bandes | 01 | Matelats piqués | 10 | 100 | 02 | 20 |
| 11 | Laine minérale | 02 | Laine en vrac | Matelats piqués | 12 | 120 | 03 | 30 | |
| 12 | Laine de roche | 03 | Laine | 02 | Matelats piqués | 14 | 140 | 04 | 40 |
| 13 | Scories | Granulat | G. courbe 2 | 16 | 160 | 05 | 50 | ||
| 04 | Feutre | 06 | 60 | ||||||
| 05 | Mat. a lamelles | 10 | Ecailles | 07 | 70 | ||||
| G. courbe 1 | 08 | 80 | |||||||
| 06 | Matelats piqués | 11 | Ecailles | 09 | 90 | ||||
| 07 | Panneaux | G. courbe 2 | 10 | 100 | |||||
| 08 | Plats | 72 | 720 | 11 | 110 | ||||
| 09 | Segments | 20 | Panneaux | 74 | 740 | 12 | 120 | ||
| 10 | Tressés | G. courbe 1 | 76 | 760 | 13 | 130 | |||
| 21 | Panneaux G. courbe 2 | 18 | 180 | ||||||
| 99 | Autres | 99 | Seul | 99 | 99 | ||||
Sélectionnez le matériel d'isolation proposé au tableau. ATTENTION: Le groupe 99 est INTERDIT.
Notice Facile