ECONOMIC 75 - Houtkachel WANDERS - Gratis gebruiksaanwijzing en handleiding
Vind de handleiding van het apparaat gratis ECONOMIC 75 WANDERS in PDF-formaat.
Download de handleiding voor uw Houtkachel in PDF-formaat gratis! Vind uw handleiding ECONOMIC 75 - WANDERS en neem uw elektronisch apparaat weer in handen. Op deze pagina staan alle documenten die nodig zijn voor het gebruik van uw apparaat. ECONOMIC 75 van het merk WANDERS.
GEBRUIKSAANWIJZING ECONOMIC 75 WANDERS
Van harte gefeliciteerd met de aanschaf van uw Economic houtkachel. Een comfortabele warmtebron, waar u jarenlang plezier van zult hebben.
De Economic heeft een ingebouwde spaarklep die de trek in de schoorsteen regelt, en twee traploos regelbare ventilatoren die het prestatieniveau verhogen.
Bij de ontwikkeling van deze houtkachel hebben we gelet op gebruiksgemak, veiligheid en vormgeving. De Economic is ontwikeld en geprodueerd in unsere eigen fabrik in Netterden en voor een belangrijk deel handgemaakt. Voor de constructie zich alleen de Beste materialen gebruikt die voldoen aan de Europees geldende normen. Zo garanderen wij u een lange levensduur en optimaal stockplezier.
In het eerste deel van deze handleiding vindt u tips en aanwijzingen voor een juist en veilig gebruik van uw houtkachel. In deel twee staan de installmentievoorschriften en de technische specificaties van de Economic. Deze zijn vooral van belang voor de installmenteur.
Het is raadzaam om voor de ingebruikname van uw houtkachel deze handleiding zorgvuldig te lezen en hemervoalgens goed te bewaren. Uw installateur kan deze handleiding nodig hebben voor het Jaarlijke onderhoud van uw Economic.
Wij wensen u veel warmte met uw aanschaf.
Het Team van WANDERS.
Inhoudsopgave
Uw Economic houtkachel in een oogopslag 4
Installatie 4
Aansteken van de kachel 4
Eerstekeer stoken 5
Brandstof: hout en briketten 5
De optimale stookwijze 6
Schoorsteen en rookkanaal 6
Onderhoud 7
Veiligheid 7
Garantie 7
Installievoorschriften Economic 9
Technische tekeningen 60
Uw Economic houtkachel in een oog- opslag

Eén van de uitvoeringen van de Economic
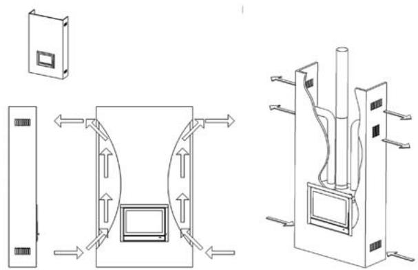
De Economic is een combinatie van comfort en efficiente warmteafgifte. De haard bestaat uit een buitenmantel en een binnenwerk. Hierdoor kan 70% van de warmte snug uw woonruimte verwarmen via convectie. De overige 30% van de warmte komt door straling via het glasoppervlak vrij.
De ingebouwde rookgaseerplaat zorgt ervoor dat de rookgassen in het binnenwerk worden rondgeleid, wat extra warmteafgifte tot gevolg heeft. De 1 of 2 ingebouwde ventilatoren, die enig geluid veroorzaken, verhogen het rendement van uw haard. Ze zuigen koude lucht onderin de kachel aan. De lucht worden via de achterkant maar boven geleid en verwolgens aan de voorzijde weeeruitgeblazen. De snugheid van de ventilatoren kutu handmatig instellen.
De haard is uitgerust met een automatische thermostaatklep. Die regelt de luchttoevoer maar uw houtkachel via de aslade. Begint u met stoken,zet de klep dan maximaal open. Naarmate de haard warmer wordt, sluit de klep automatisch. Oververhitting van de haard met maybe schade aan de kachel wordt zo tot een minimum beperkt, mits de overige luchtopeningen gesloten blijven. Vergeet Niet om de aslade regelmatig schoon te make, voor optimale luchttoevoer.
Installatie
Over het algemeen zorgt de dealer waar u de Economic heeft aangeschäft, ook voor deplaatsing. Is dat Niet het geval, verzeker u er dan van dat deplaatsing wordenuitgevoerd door een erkende installmenteur. Een erkende installmenteur kan u ook het juiste advies given over het rookkanaal waarop de haard要去 worden aangesloten. Aansluten van houtkachels door onbevoegden isverboden. Wij hunnen u in dat geval geen garantie given op de juiste werkung van de Economic. Houd bij deinstallatie rekening met de (brand)veiligheid. Zie pag.10
De houthaard is geschikt als bijverwarming en is geen verwanger voor bijvoorbeeld uw CV-installatie.
Aansteken in de vroege herfst of late winter
Wanneer de buiten- en binnentemperatuur Niet veel van elkaar verschillen is een goede schoorsteentrek een ware uitdaging. In de vroege herfst of late winterdagen kurz u de schoorsteentrek een handje幫助 door weinig hout te verbranden terwijl u alle luchtopeningen maximaal open houdt. Veel luchttoevoer bevordert snelle opwarming en dat stimuleert des schoorsteentrek weeR. Stoken met weinig hout voorkomt dat rook de kamer wee instroomt
Aansteken van de kachel
De haard worden bij het aansteken en stoken erg heet en heeft zeker twee uur nodig om af te koelen. Raak de kachel waarom Niet onbeschermd aanijdens het stoken en twee uu r daarna. Bedien de haard.altijd met een handschoen, anders kunt u zware brandwonden oplopen.

Open de deur

Bediening schudrooster (A) met schudstang. Knop automatische thermostaatklep (B).
Open de deur en leg een pau propjes papier of aanmaakblokjes in de kachel met waar bovenop een aantalkleine stukjes hout of bruinkoolbriketten. Zet de automatischethermostaatklep maximaal open (zie Foto). Zet het schudrooster met de schudstang open en houd de eerste vijf tot tien minuten deaslade geopend voor extra luchttoevoer. Steek de stukjes hout of bruinkoolbriketten aan en zet de deur op een kier voor extra luchttoevoer. Na een aantal minuten kurz u de deur sluiten. Wanner de stukjes goed branden, kurz u extra brandstof toevoegen, en deaslade weeer sluiten. Leg Niet meer dan drie houtblokken tegelijk in de kachel. Als de kachel eenmaal brandt, regelt hij zich de verdere luchttoevoer. Zorg algijd voor voldoende ventilatie wanner u de houtkachel brandt.
Let op vingerafdrukken
Pas op dat u het glas van de kachel Niet met de vingers aanraakt. Vingerafdrukken branden in het glas en+zijn daarna Nieteer te verwijderen.
Het is verboden om met vloeibare middelen zoals benzine en spiritus de kachel aan te steken. Voorkom dat indezelfde ruimte waar u de kachel stookt een afzuigkap aanstaat. Raak de gelakte delen nooit aan bij het opwarmen van de haard.
Eerste keer stoken
Verkleuren van wanden, plafonds en roosters
Na het stoken van de haard+kunnen wanden, plafonds en roosters verkleuren. Dit komt doordat stofdeeltjes verbranden in de convectiemantel. Dit is een naturuurlijk proces waar WANDERS Niet verantwoordelijk voor is. Om verkleuring te minimaliseren verwijzen wij hier het advies dat gegeven worden in de sfeerhaardenbranche. Uw installmentar kan u�aver informeren.
Wanneer u de Economic voor de eerste keer gebruikt, moet de haard 'instoken'. Het toestel is voorzien van een hittebestendige laklaag die bij temperaturen hoger dan 400 graden Celcius inbrandt in de kachel. Dat gebeurt de eerste paar keren dat u stookt, als de temperaturen oplopen tot 600 graden Celcius. Overigens kan dit 'instoken' een onaangename geur met zich meebrengen, maar die is onschadelijk. We raden u aan om de kachel, de eerste 4 tot 5 keer dat u stookt, minimaal 6 uur te latent branden met Niet te veel brandstof. Ventileer deruimte goed terwijl u stookt. Zorg ervoor dat indezelfdereaumte (als u een open keulen heeft) geen afzuigkap aanstaat terwijl de haard brandt. Een afzuigkap trekt de verbrandingslucht weg die de haard nodig heeft.
Tijdens het instoken kan er aanslag komen op het glas van de kacheldeur. Deze aanslag verwijdert u eenvoudig met eenlicht vochtige doek, als de kachel koud is. Gebruik eventueel special schoonmaakmiddel voor keramische kookplaten. Let er op dat u het schone glas Niet meer met de vingers aanraakt. Vingerafdrukken branden in het glas en+zijn daarna Niet更是 verwijderen.
Nieuwbouwwoning of recente renovatie?
Wachtzeswekenmetstokenineennieuwbouwwoning die recent is opgeleverd, of een ruimte die onlangs sterk is gerenoveerd. In muren en plafonds zitten dan nog gassen, weekmakers en vocht afkomstig van stuc- en schilderwerk. Door de warme luchtstromen, kunden de vele stofdeeltjes in de ruimte verkleuren en vastplakken aan wanden en plafonds. Ook het vocht in de muren en plafonds worden warm, wat gele vlekken kanveroorzaken.
Brandstof: hout en briketten
| Houtsoort | Droogtijd | |
| Den, Populier | 1aar | |
| Linde, Wilg, Spar, Berk, Es, Els | 1,5 | aar |
| Fruitboom, Beuk | 2 | aar |
| Eik | 2,5aar |
De Economic kan gestoekt worden met hout en bruinkoolbriketten. Leg Niet meer dan 3 tot 4kg brandstof tegelijk in de kachel. Gebruik alkijd schoon, gekapt hout dat voldoende droog is. Zie voor de droogtijden bovenstaande tabel. Nat hout verbrandt slecht en zorgt voor overmatige rookontwikkeling. Daardoor kan deruit van uw haard bijvoorbeeld zwart van het roet worden. Ook+knen roetdeeltjes zich vastzetten in het rookkanaal, wat de kans op schoorsteenbrand vergroot.
Wat te doein bij schoorsteenbrand.
Bij schoorsteenbrand sluit u direct de afsluitklep in de schoorsteen en alle luchttoevoerkanalen. Bel de brandweer. Na het blussen要去en schoorsteen en kachel opnieuw worden gekeurd door uw installateur.
Vers nat hout, bevat ongeveer 50% procent vocht. Na eenaar drogen, bevat gekloofd hout nog 20% vocht. Na tweeaar drogen is het vochtpercentage gedaald tot 12 tot 15 procent. Droog hout geeft een moot vlambeeld en weinig tot geen rook. Tijdens het branden hoort u het hout knapperen.
Nat hout geeft een sissend geluid, veel rook en een minimaal vlambeeld. Het vermindert het stockplezier en rendement aanzienlijk.
Gebruik geen paraffinehoudende houtblokken in uw Economic. Als de deur gesloten is, smelt door de hoge但它 de paraffine te snel uit de houtblokken. De verruilde rookgassen die hierdoor ontstaan slaan direct neer op het glas van de kacheldeur, branden in enijken dan nicht meer te verwijderen.
Gebruik geen hout dat is geverfd, geimpregneerd, verlijmd of anderszins bewerkt. De rookgassen zijn zeer schadelijk voor het milieu en konnen uw haard aantasten. Ook is het verboden om plastics en ander afval te verbranden vanwege de giftige rookontwikkeling.
Houtsoorten en opslag
Alle soorten schoon, gekapt en droog hout kunt u gebruiken als brandstof. Harde houtsoorten zoals eik, beuk en berg branden langzaam, geen veel warmte af en vormen gemakkelijk houtskool. Zachtere houtsoorten zoals spar, den en populier gezven meer vlammen, maar minder warmte en minder houtskool.
Hout kunt u het Beste opslaan op een winderige plek, beschut gegen de regen. Zo droogt het hout op een tatsächlijke wijze. Stapel de houtblokken op een oude pallet of rooster. Zo kan het hout ook vanaf de onderkant drogen en komen de onderste houtblokken Niet in contact met water.
De optimale stookwijze
Kachels van WANDERS zich zo ontworpen, dat ze maximaal rendement leveren. Een goed gestookte houtkachel kan een rendement halen van ongeveer 75% . Hierdoor heeft u minder hout nodig voor evenveel warmte. Bovendien geeft een goed gestookte kachel hinter rookvervuling.
Een aantal tips voor optimaal stookplezier:
- Sluit bij stoken met hout het schudrooster voor een regelmatige verbranding.
- Indien u bruinkool stookt, dient u elke ochtend het as in deaslade te schudden en uw schudrooster opente lien staan. Dit is om de verbrandingslucht voor de kolen via de onderzijde toe te voeren. Hierdoor ontstaat een optimale verbranding van uw kool.
- Stook uw kachel aktijd met gesloten deur; daardoor verbeter uw stookrendement 8 tot 10 koer. Bij een open deur trekt de schoorsteen meer lucht aan dan nodig voor een goede verbanding. De relatief koude lucht koelt het vuur af. Tevens voorkomt u brandschade door möglichuktisppattende vuurdeeltjes, met name van naaldhout.
- Leg Nieteer dan 3 houtblokken of 4 bruinkoolbriketten ineens op het vuur. Veel brandstof ineens werkte efficiente verbranding gegen en belast het milieu onnodig.
- Ventileer de ruimte goed als uw haard brandt. Een knetterend houtvuur heeft een minimaal verbruik van 25 kubieke meter lucht per uur. Zet nooit uw afzuigkap aan als uw kachel indezelfde ruimte brandt.
Voer alleen als u begint te stoken extra lucht toe via de aslade van uw houtkachel. Sluit de aslade na 5 tot 10 minutes. Sluit u de aslade Niet, dan worden de houtverbranding door de extra lucht te sterk opgejaagd en krijgt uw haard te weinig vrij om+zijn warmte af te gehen aan de kamer. Ook kan de haard oververhit raken en beschadigen. - Wees voorzichtig met stoken bij mist of windstil wee. Bij windstil wee is er nauwelijks trek in de koude schoorsteen. Omdat rook zwaarder is dan lucht bestaat de kans dat de rook dan de kamer instroomt. Bij mist za de rook uit de schoorsteen (buiten) snel afkoelen, omlaag zakken en overlast veroorzaken in uw omgeving.
- Zorg bij het stoken van hout voor een regelmatige verbranding door het schudroosterijdens het stoken te sluiten.
- Doof het vuur Niet plotseling met water maar LAST het opbranden. De materialen binnen in de haard kuren verrormen of scheuren door plotselinge, grote temperatuurverschillen.
Schoorsteen en rookkanaal
De schoorsteen is het belangrijkste onderdeel van uw houthaard.
De juiste schoorsteen voorkomt rook in de kamer,
aanslag op de ruit en slechte verbranding. Voordat hij tot installmente overgaat, dient uw installateur, of een erkend schoorsteenveger, te controleren of het schoorsteenkanaal over de gehele lenghte een diameter heeft van minimaal 150 millimeter en of het kanaal schoon, glad en lekdicht is.
Schoorsteen met een goede trek
Warme lucht wil opstijgen. Van dat principe maakt iedere schoorsteen gelebruik. Wat meehelpt, is als de wind bij de schoorsteenmond ook nog eens de luchtuit de schoorsteen 'wegzuiigt'.
Soms kan valwind darüber het omgekeerde effect给他们, en de lucht juist terug de schoorsteen inblazen. Ook relatief zware koude mistlucht kan een goede trek van uw schoorsteen gegenwerken, evenals een lang rookkanaal met een ruw oppervlak en veel bochten. Bij slechte naturuurlijke trek kan uw installerateur u voorlichten over het gebruik van een ventilator voor uw rookkanaal.
Onderhoud
Klein onderhoud
- Verwijder tweetá drie keer per week de afgekoelde as uit deaslade. Wij adviseren u om een asemmer te gebruiken. Een schoneaslade is belangrijk odomat de kachel ook via deaslade verbrandingslucht aanzuigt.
- Indien u hout stookt adviseren wij u om een laagje as van tweet tot drie centimeter op het rooster te lately liggen. Zo beschermen u het gietijzer.
- Maak het schudrooster in de kachel met een zachte borstel schoon.
- Reinig de kachel aan de buitenkant met een Licht vochtige doek die nicht pluist. Gebruik geen agressieve schoonmaak- en schuurmiddelen.
- Maak het koude glas schoon met schoonmaakmiddel voor keramische kookplaten. Raak het glas daarna Niet meer met de vingers aan: vingerafdrukken branden in het glas en+zijn dan Niet meer te verwijderen.
- Olie af en toe de scharnieren en de deursluiting.
Gebruik geen agressieve schoonmaak- en schuurmiddelen om uw haard te onderhonden.
Buiten gebruiktelling
- Sluit alle deuren en luchttoevoeren in het zomerseizoen.
- Plaats vochtabsorberend zout in de kachel als die in een vochtige ruimte staat.
- Smeer het schone, gietijzeren stookgedeelte in met een neutrale vaseline.
Jaarlijs onderhoud
- Laat, in verband met brandveiligheid en een eventuele
brandverzekering, ieder一年多 uw schoorsteen grondig vegen door een erkende schoorsteenveger.
- Laat Jaarlijks de dichtheid controlleren van de rookgasafvoer en de verbrandingsluchttoevoer van het dubbelwandige rookkanaalsystem
- Laat Jaarlijs het schudrooster controeren op breuk.
- Laat elk waar de schuiven en/of kleppen controleren op hun werking.
- Laat Jaarlijks alle afdichtingen van deuren en glasramen controlleren op slijtage.
Veiligheid
Met een houthaard van WANDERS heeft u een comfortabele en veilige warmtebron in lui. De brandveiligheid begint bij een correcte installmentie en een goed werkend rookgasafvoerkanaal. Uw installeur dient zich daartoe te houden aan de installmentevoorschriften, zoals omschreiben op pagina 9 en verder.
Voor veilig stoken zichverder de volgende punten van belong:
- Stook uw haard zo veel möglichk met een gesloten deur. Dat verhoegt het rendement en is ook better voor het milieu.
- Voorkom dat keine kinderen of hulpbehoevenden in de buurt van een brandende kachel komen en LASTZe Niet alleen als de haard brandt. Gebruik eventueel een haardschem.
- Giet of leg geen brandbare vloeistoffen en materiai alen in de kachel. Dit kan de kachel onherstelbaar beschadigen.
- Als de vloer rond de haard van brandhaar materiaal is, gebruik dan een vloerplaat.
De vloerplaat dient een minimale grotte te hebben van: - aan de voorkant van de deur; 50 cm uit de haard - aan elke zijkant van de deur: 30 cm uit de haard - Plaats geen brandbare materialen, bijvoorbeeld gordijnen, houten voorwerpen (kasten, scholderijen), vlakbij of boven de kachel of in/om het rookkanaal. Houd minimaal een afstand aan van 80 centimeter, vanaf de buitenzijde an de haard en het rookkanaal.
- Laat de schouw nooit bekleden met brandbaar materiaal (zoals papierbehang).
- Houd de punten in acheit die staan onder het kopje 'Optimale stookwijze', op pagina 6.
- De haard mag alleen gerepareerd worden met origi-nele onderdelen en door een erkend installmenteur.
Garantie
Op uw houtkachel biedtwANDERS Metaalproducten B.V. te Netterden een garantie van 5aar na aankoopdatum, mits de haard op een juiste wijze is geinstalleerd en worden gebruikt volgens de aanwijzingen in deze handleiding.
Onder de garantie vallen alle gebrenken die te herleiden zijn tot materiaal- en constructiefouten. In die gevaln ontvangt u gratis nieuwe onderdelen. Arbeidsloon en andere kosten vallen nicht onder de garantie. Defecte onderdelen kunt franco toezenden aan WANDERS Metaalproducten B.V., Amtweg 4, 7077 AL, Netterden.
Voordat de haard geplaatst worden, moet u eerst controeren of er zichtbare schade is aan het toestel. In dat geval要去 u het toestel Niet accepteren, maar contact opnemen met uw leverancier.
Buiten de garantie vallen: het glas, storingen ontstaandoordeelkundig gebruik; Niet juiste naleving van de landelijkke voorschriften en de bijgevoegde installmenten bedieningsvoorschriften; installment door een Niet door WANDERS erkend installeur of dealer; verwaarlozing van het toestel en bij wisseling van eigenaar. De garantie vervalt ook bij gebruik van een verkeerde brandstof.
Voor de volgende onderdelen geldt een garantietermijn van 1aar: alle gietijzeren en vermiculite onderdelen, de elektrische onderdelen, dethermostaatklep en de lak.
WANDERS is nicht verantwoordelijk voor eventuele scheuren in sierpleisterwerk en verkleuringen van wanden, plafonds en/of roosters na het stoken van de haard. Verkleuringen können ontstaan doordat stofdeeltjes verbranden in de convectiemantel. Om de kans op scheuren in sierpleisterwerk en eventuele verkleuringen te minimisieren verwijzen wij maar het advies dat gegeven worden in de sfeerhaardenbranche. Uw installmentar kan u hierover informeren.
Klachten worden in behandeling genomen nadat de verkoopfirma/installateur of het gasbedrijf een klacht heeft ingediend, vergezeld van de aankoopdatum en een kopie van de aankoopbon. Reparations geenrecht op verlenging van de garantietermijn. Alle gevolgschade worden uitgesloten.
Installatievoorschriften Economic
| Algemene aanwijzingen | 9 |
| Voorbereiding | 9 |
| Installatie | 10 |
| Reparaties | 12 |
| Technische gegevens Economic | 14 |
Algemene aanwijzingen
De Economic is gekeurd volgens de internationale normering EN13240. Deze haard kan aangesloten worden op een rookkanaal waarop meerdere kachels zich aangesloten. De pijp voor de rookgasafvoer heeft een diameter van 150 millimeter.
Het toestel mag alleen geplaatst en aangesloten worden door een erkend installerateur en volgens de onderstaande installmentevoorschriften. Daarnaast gelden de nationale en lokale wet- en regelgeving voor plaatsing en gebruik van houtkachels. WANDERS biedt geen garantie wanner de Economic onvolledig of onjuist is aangesloten of geinstalleerd.
Het is nicht toegestaan de kachel in te bouwen in:
- Trappenhuizen, behalte in gebouwen met nicht meer dan 2 woningen.
- Algemeen toegankelijke galerijen en gangen.
- Ruimtes waarlicht ontvlambare of explosie gevaarlijke stoffen worden verwerkt.
- Ruimtes waar een afzuigkapaanstaat ofeen mechanisch afzuigsysteme is geplaatst, behalve wanner u de luchtaanvoerrechtstreeks van buiten haalt, zodat een gevaarloze verbranding verzekerd is.
Voorbereiding
Het schoorsteenkanaal
Voordat u de haard installeert adviseren wij u om boezemontluchtingsroosters teplaatsen om scheuren en verkleuringen in sierpleisterwerk te voorkomen.

Bij hetplaatsen van de kachel dient u de volgende punten in acht te nemen:
- Als u de kachel aansluit op een bestaande schoorsteen, dan要去 die eerst vakkundig schoongemaaakt en gecontrolerd worden door een erkend schoorsteenveegbedrijf. Eventuele aflsuitkleppen dienen te worden verwijderd.
- De rookgasafvoer van de haard dient zonder omwegen te worden aangesloten op het schoorsteenkanaal.
- De onderdruk in het schoorsteenkanaal moet minimaal 10Pa of 0,1 mbar়n.
- Hetschoorsteenkanaaldientaltijdinuitmondingsgebied 1 uit te komen.
- Het schoorsteenkanaal dient ten tijde vanplaatsing schoon en lekdicht te zichen en zonder enige belemmering een diameter van minstens 150 millimeter te hebben.
Eventuele bochten in het rookkanaal mogen nicht groter zijn dan 45 graden.
U dient zich ervan te overtuigen dat het schoorsteenkanaal de rookgassen voldoende, goed en veilig kan afvoeren. - De waardes voor de berekening van het schoorsteenkanaal vindt u onder de Technische gegevens op bladzijde 9.
Brandveiligheid
In verband met brandveiligheid is het belangrijk om onderstaande voorschriften in acht te nemen voordat de kachel worden geinstalleerd.
- Als de vloer rond de haard van brandhaar materiaal is, gebruik dan een vloerplaat. De vloerplaat dien minimaal een groote te hebben van:
- aan de voorzijde van de deur; 50 cm uit de haard
- aan elke zijkant van de deur; 30 cm uit de haard.
- Houd minimaal 80 centimeter afstandussen de kachel en brandbare objecten, zoals: gordijnen, houten voorwerpen (kasten en scholderijen) en glazen objecten. Houd bezelfde afstand aan ten opzichte van het rookkanaal.
- Houten constructieonderdelen binnen het stralingsbereik van de kachel (80 centimeter vanaf buitenzi
jde kachel) dieren brandvrij bekleed te worden
- Tussen de kachel en dragende, stalen constructieonderdelen要去 minimaal een afstand van 50 centimeter zitten (in alle richtingen).
- Indien de rookgasafvoer door een plafond en/of dak gaat dat bestaat uit brandbare materialen, dienen plafond en dak ongeveer 80 centimeter rond bekleed te worden met brandvrije materialen. Let hierbij op balklagen en eventuele elektrische leidingen.
- Bekleed de schouw of muur nooit met brandbaar materiaal (zoals papierbehang)
- De muur en andere materialen die zich binnen 80~cm van de kachel bevinden要去en uit brandvrijne materialen bestaan of要去 ermee geisoleerd worden. Het te gebruiken isolatiematerialial dient een temperatuur van 700 graden Celcius te weerstaan en een dichtheid van 80~kg / m3 te hebben. (Zie voor eventuele isolatiematerialien pagina 15)
- Voorkom bij hetplaatsen van de haard en rookgas afvoerkanaal warmtedoorslag. De warmte afgithe van een brandende haard kan door de muur hebnekrekken. Dit kan zichs brand veroorzaken aan de andere kant van de muur. Voorkom dit.
Installatie
De Economic is gekeurd volgens de internationale normering EN13229. De haard kan aangesloten worden op een rookkanaal waar meertere kachels op+zijn aangesloten.
Alleen een erkend installerum mag de haard plaatsen, anders vervalt de garantie.
Verbrandingsluchttoevoer
De haard dient voldoende verse verbrandingslucht
toegevoerd te krijgen. Maak indien nodig een extra luchttoevoeropening, zo dicht möglichk bij de kachel; zo vermijdt u tocht. Een extra luchttoevoeropening is absolut vreeist indien:
- Het vertrek is voorzien van een warmte terugwin systemd.
- Het vertrek is voorzien van een centraal afzuigssystem.
- Een afzuigkap indezelfde ruimte staat.
De luchttoeoperopening要去afsluitbaar,zijn indiendezedooreenbrandwerende muur loopt.Zijn ermeerdereverbrandingstoestellen indezelfderuimteaanwezig,dan要去er voldoende luchtopeningenzijn om eenzorgeloze verbranding te garanderen.
Elektriciteit
Voor de ventilatoren dient u stroom (230V) te hebben. De aansluiting dient volgens de geldende normen en door een erkend installeur te worden aangesloten. Let op dat er geen elektra leiding in, op of door de schouw loopt. Door de warmte afgithe van de haard kuren elektrische onderdelen smelten, en daardoor kuren onveiligesituatives ontstaan. U dient de haard te allen tijde op een wandcontact doos, voorzien van randaarde, aan te sluiten. Het toestel要去 ook tijdens eventuele service beurten van de stroom afgesloten+kennen worden.
Aansluiten van het front en hoekmodel
- Volg eerst de aanwijzingen uit het vorige hoofdstuk 'Voorbereiding'.
- Haal een eventuele klep uit de bestaande openhaard.
- Isoleer de kachel:tussen muur en buitenmantel met niet brandbare materialen (zie voor de isolatiematerialen de tabel op pagina 15).
- Zorg voor een luchtdichte aansluiting maar buiten. In een bestaand kanaal kut u eventueel een pijp met een diameter van 150 millimeter trekken. Deze pijp monteert u aan de kachel.
- Verwijder de pijpmond van de kachel. (zie figuur 1)
- Plaats de haard in de opening; let op een eventuele stroomkabel.


Figuur 1 Verwijder de pijpmond van de kachel
Figuur 2 Plaats de spaarklep en de duwstang.

Figuur 3 Leg de rookgas keerplaat in de kachel

Figuur 4 Plaats typeplaatje
-
Sluit de pijp aan op de pijpmond. Monteer dan de pijpmond terug in de haard.
-
Monteer de spaarklep. En plaats de duwstang maar de deur in de uitsparing aan de voorzijde van de haard. Hang de klep in de scharnierhaken (zie figuur 2)
- Plaats de rookgas keerplaat op de steunen onder de spaarklep (zie figuur 3)
- Monteer de bijgeleverde afdeklijsten aan de zich- en bovenkant.
- Steek de stekker in een geaarde wandcontact doos.
- Vervang eventueel het typeplaatje in een met uw eigenaal. (figuur 4))
Let op dat de stroomkabel breukvrij blijft gedurende de installmentie.
De haard mag alleen worden aangesloten op een geaard stopcontact.
Reparities

Figuur 5: Vervangen van het glas in de deur
Vervangen van het glas in de deur
- Open de deur van de haard
- Verwijder de vier schroeven (zie figuur 5)
- Verwijder de glasstrips. Let op; het glas is scherp.

Figuur 6: Vervangen van de zijruit
Vervangen van de zijruit
- Verwijder de vier schroeven boven en onderin het zijraam.
- Verwijder de Glasstrips aan de binnenzijde van de haard.
- Let op het glas is scherp.

Vervangen van de ventilatoren en/of zekeringen
Figuur 7: Verwijder de 2 schroeven links en rechts onder.
Zorg dat de stroom uitgeschakeld is.
- Verwijder de twee schroeven links- en rechtsonder.
- Trek de gehele ventilator unit er uit. Let waar bij op de kabel.
- Verwijder de voorplaat van de ventilator unit.
Haal de ventilator en uit, of cervang de zekering die in de regelaar zit. U komt bij de regelaar door deze van het front los te halen.
| Deur sluiting | Ba | I/II |
| Nominaal vermogen* | 7 | kW |
| Pijpdiameter verbrandingsgassen | 150 | mm |
| Maximale vulling bij hout | 3 | kg |
| Maximale vulling bruinkool | 3 | kg |
| Inhoud verbrandingskamer | 0,08 | m3 |
| Oppervlak bodem verbrandingskamer | 0,2 | m2 |
- nominale warmte worden verkreten bij een schoorsteentrek van 0,12 mbar
| Brandstof | houtblokken, 30 x 10 cm | Bruinkoolbriketten |
| Max. opleg hoeveelheid | 3 stuks | 4 stuks |
| Primaire luchtklep | max. | max. |
| Secundaire luchtopening | max. | max. |
| Brandtijd brandstof | ongeveer 1 uw | ongeveer 1 uw |
Rookgaswaarden volgens DIN 4705, DIN 18895 deel 2
| Bij gesloten deur | hout | bruinkool | ||
| Rookgashoeveelheid | 4,2 | g/s | 12,2 | g/s |
| Rookgastemperatuur | 330 | °C | 298 | °C |
| Voordruk | 0,12 | mbar | 0,12 | mbar |
| Rendement | 78,7 | % | 79,3 | % |
| CO op 13% O2 | 0,06 | % | 0,09 | % |
| Fijnstof | - | mg/m3 | - | mg/m3 |
| Keuringsinstituut 1625 . Keuringsnorm EN13229 . Keuringsrapport nr. RRF-400169 | ||||
Richtwaarden voor de inhoud van de te verwarmen ruimte:
Niet alle vertrekken voldoen aan de huidige isolatiewaarden. Voor de inhoud van de te ver-warmen ruimte konnen volgens DIN 18893 de volgende waarden aangehouden worden:
Bij gunstige verwarmende omstandigheden:
bereken volgens DIN 4701
Bij minder gunstige omstandigheden:
115 m3
Bij ongunstige omstandigheden:
75 m3
Voor tijdelijke verwarming, bij een onderbreking van meer dan 8uur, kan voor de te verwarmen inhoud 25% );
minder gerekend worden.
Tabel isolatiedikte bij muurdikte
| muurdijke 10 cm | isolatie | convectie mantel | |
| Bescherming van de muur | achterkant 8 cm | ||
| Wanden uit brandbare bouwdelen | X | X | |
| Dragende wanden uit staalbouw | X | X | |
| Inbouw meubel gegen kachel | X | X | |
| Inbouw meubel inchyterliggende muur | X | zijkant 8 cm | X |
| Overige wanden | |||
| Wand dikte < 10 cm | X | onderkant 6 cm | X |
| Wand dikte > 10 cm (kan gemetselde muurশ) | - | - |
Tabel geeft aan welke isolatiedikte gekozen moet worden bij welke muurdikte, ter bescherming van inbouwwanden.
Tabel isolatiematerialial, NB: alleen wat in grijs gebied staat is toegestaan
| Isolatie | Verpakt | Warmtegeleiding | Bovenste gebruikstemp. | Dichtheid | |||||
| nr | artikel | nr | vorm | nr | verpakt | nr | °C | nr | Kg/m3 |
| 10 | Mineraal Wol | 01 | Banen | 01 | Matten verstikt | 10 | 100 | 02 | 20 |
| 11 | Glaswol | 02 | Losse wol | Matten verstikt | 12 | 120 | 03 | 30 | |
| 12 | Steenwol | 03 | Wol | 02 | Matten verstikt | 14 | 140 | 04 | 40 |
| 13 | Slakken | Granulaat | G. kromme 2 | 16 | 160 | 05 | 50 | ||
| 04 | Vilt | 06 | 60 | ||||||
| 05 | Lamelle mat | 10 | Schilfers | 07 | 70 | ||||
| G. kromme 1 | 08 | 80 | |||||||
| 06 | Matten verstikt | 11 | Schilfers | 09 | 90 | ||||
| 07 | Platen | G. kromme 2 | 10 | 100 | |||||
| 08 | Schalen | 72 | 720 | 11 | 110 | ||||
| 09 | Segmenten | 20 | Platen | 74 | 740 | 12 | 120 | ||
| 10 | Gevlochten | G. kromme 1 | 76 | 760 | 13 | 130 | |||
| 21 | Platen | ||||||||
| G. kromme 2 | 18 | 180 | |||||||
| 99 | Overige | 99 | Enkel | 99 | 99 | ||||
Zoek in deze tabel het isolatiematerialiaal UIT.
NOTA BENE: Groep 99 is NIET toegestaan.
SimpelGids