VE-LFIX - Support mural pour écran VISA - Notice d'utilisation et mode d'emploi gratuit

Retrouvez gratuitement la notice de l'appareil VE-LFIX VISA au format PDF.

📄 7 pages Français FR 💬 Question IA 7 questions ⚙️ Specs
Notice VISA VE-LFIX - page 1
Type d'appareilTéléviseur
Type de fixationMurale
Matériau de la fixationAcier
Vis fourniesVis pour cloison sèche, vis M4 x 12
Compatibilité VESAStandard VESA (non précisé)
Nombre de points de fixation4
Espacement des trousNon précisé
Épaisseur maximale du murNon précisé
Présence d'entretoisesOui
Orientation de la fixationHorizontal
Installation requiseOui, montage mural
Outils nécessairesTournevis
Poids supportéNon précisé
CouleurNon précisé
Dimensions de la plaque muraleNon précisé

FOIRE AUX QUESTIONS - VE-LFIX VISA

Comment installer le VISA VE-LFIX ?
Pour installer le VISA VE-LFIX, commencez par déballer le produit et vérifier que toutes les pièces sont présentes. Ensuite, suivez les instructions d'installation fournies dans le manuel, en veillant à bien fixer les éléments au mur à l'aide des vis et chevilles fournies.
Quels outils sont nécessaires pour l'installation ?
Vous aurez besoin d'un tournevis, d'une perceuse, d'un niveau à bulle et éventuellement d'une clé à molette pour l'installation du VISA VE-LFIX.
Le VISA VE-LFIX est-il compatible avec toutes les surfaces ?
Le VISA VE-LFIX est conçu pour être installé sur des surfaces solides comme le béton ou le bois. Évitez de l'installer sur des surfaces fragiles comme le plâtre ou le carton.
Comment régler la hauteur du VISA VE-LFIX ?
Pour régler la hauteur, dévissez les écrous de réglage situés sur la base du produit, ajustez à la hauteur souhaitée, puis resserrez les écrous pour sécuriser la position.
Que faire si le VISA VE-LFIX ne fonctionne pas correctement ?
Si le VISA VE-LFIX ne fonctionne pas correctement, vérifiez d'abord les connexions électriques et assurez-vous que le produit est correctement installé. Si le problème persiste, consultez le guide de dépannage dans le manuel ou contactez le service client.
Y a-t-il une garantie pour le VISA VE-LFIX ?
Oui, le VISA VE-LFIX est couvert par une garantie de 2 ans contre les défauts de fabrication. Conservez votre preuve d'achat pour bénéficier de cette garantie.
Où puis-je trouver des pièces de rechange pour le VISA VE-LFIX ?
Les pièces de rechange pour le VISA VE-LFIX peuvent être commandées directement auprès du fabricant ou de revendeurs agréés. Consultez le site web du fabricant pour plus d'informations.

Questions des utilisateurs sur VE-LFIX VISA

0 question sur cet appareil. Repondez a celles que vous connaissez ou posez la votre.

Poser une nouvelle question sur cet appareil

L'email reste privé : il sert seulement à vous prévenir si quelqu'un répond à votre question.

Aucune question pour l'instant. Soyez le premier à en poser une.

Téléchargez la notice de votre Support mural pour écran au format PDF gratuitement ! Retrouvez votre notice VE-LFIX - VISA et reprennez votre appareil électronique en main. Sur cette page sont publiés tous les documents nécessaires à l'utilisation de votre appareil VE-LFIX de la marque VISA.

MODE D'EMPLOI VE-LFIX VISA

Livret d'instructions et de montage du support pour Moniteur / TV LCD/PLASMA

Contenu de la boîte:

1) 4 vis taraudeuses 60mm

2) 4 chevilles à expansion 8mm

3) 6 boulons M4x12mm

4)4boulons M4x30mm

5) 4 Entretoises

4boulons M4x30mm

4 boulons M6x35mm

4 Entreioises

ATTENTION:

Etudier attentivement les instructions et les schémas de montage avant d'installer et d'utiliser le support.

Nous declinons toute responsabilité en cas de non respect des instructions, des restrictions d'utilisation ou de modifications apportées au produit.

PRECAUTIONS:

La capacitéemaxale du support figure sur sa boîte. Ne jamais surcharger le support.

L'installateur devra s'assurer de la validite et de la composition du mur ou sera instalé le support en evitant les structures n'etant pas suffisamment robustes pour ce type d'utilisation.

Le produit est concu pour etre installé sur des murs/parois en briques pleines en terre cuite, en béton armé, en bois plein ou sur des poutres en bois.

Pour les installations sur du bois, il faut utiliser exclusivement les vis taraudeuses fournies, sans les chevilles. Pour les installations sur des murs réalisés avec un autre matériel, nous vous conseillons de vous adresser à un installateur qualifié.

Le produit n'est pas fait pour etre utilisé en extérieur

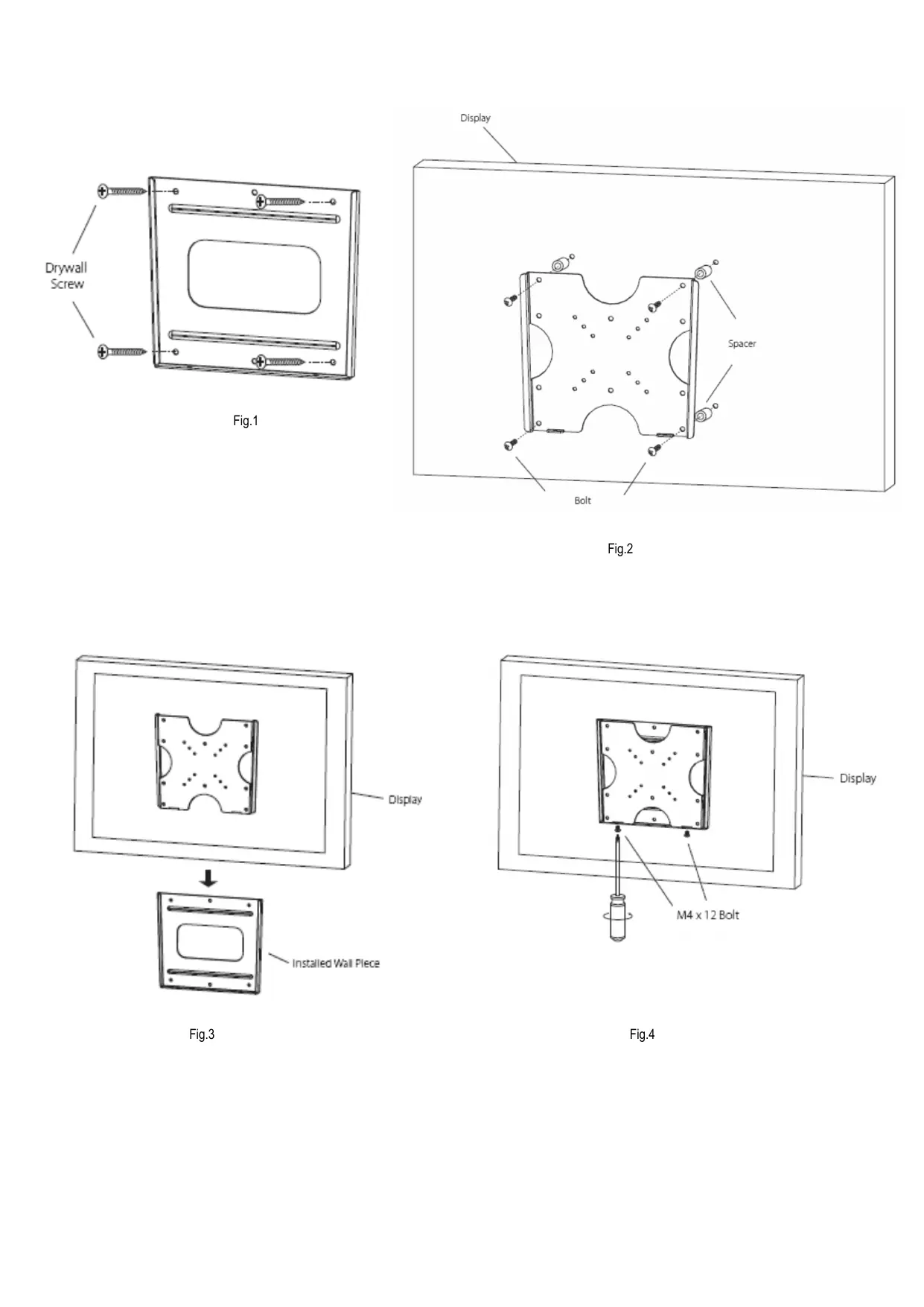
1ere ETAPE - Montage de la base de fixation

Outils: Perceuse, mèches widia 8mm, tourneis.

a) Choiser l'emplacement ou installer le produit en évitant les points de passage des canalisations et des cables électriques.
b) Placez la base du support sur le mur dans la position désirée avec l'ouverture tourée vers l'haut (Fig.1).
c) Marquer sur le mur les quatre trous à percer. Pour les murs en maconnerie: réaliser le perçage à l'aide de la perceuse. Insérer les chevilles (2) et fixer la base de fixation en serrant les vis (1).(Fig.1) Pour les cloisons en bois: fixer la base de fixation en serrant les vis (1).
d) S'assurer que la base soit solidement fixée au mur au niveau de tous les points de fixation.

ETAPE 2 - Montage de la platine sur le panneau arrêté du LCD

Important: Ne JAMAIS effectuer le montage lorsque le moniteur LCD est branché au réseau électrique et/ou que l'écran est orienté vers le sol afin d'éviter tout risque d'endommagement de sa surface.

Examiner la partie arrêté du moniteur LCD:

  • si sa surface est plate, fixer la platine en utilisant les boulons de 12mm (3);
  • sinon, utiliser les boulons de 30~mm (4) et les entreprises (5). (Fig.2)

Attention à ne pas trop serrer les boulons.

ETAPE 3 - Assemblage final

Pour terminer l'installation:

  • insérer la platine avec le TV/Moniteur LCD monté dans l'emplacement prévu sur la base de fixation ;
  • une fois inséré jusqu'au bout (vers le bas Fig.3), insérer les deux vis de sécurité (Fig.4) et visser dans le sens horaire.

Note: Pour enlever la platine, il suffit dévisser les deux vis de sécurité dans le sens inverse et faire glisser le TV/Moniteur LCD vers le haut..

Entretien:

Pour le nettoyage, utiliser un chiffon humide avec une solution d'eau tiède et de savon neutre.

Ne pas utiliser de solvants.

GARANTIE

Par la presente garantie, le Producteur s'engage a replacer le produit uniquely en cas de defauts de fabrication limitant l'utilisation prévue de celui-ci.

La presente garantie ne couve pas les accidents directs ou indirects ou encore les dommages provoqués par l'utilisation du produit, des accidents, des manipulations ou utilisations impropres, le non respect des instructions, des négligences ou toute autre type d'utilisation.

Le producteur ne pourrait enaucun cas etre considere comme responsable en cas d'accident.

La presente garantie couvre toutes les autres garanties, implicite et/ou explicites.

Le Producteur est la seule autorite responsable de cette garantie. Aucune autre partie n'a le droit d'interpréter d'eventuelles responsabilités apparaues avant ou après la vente du produit.

La presente garantie limite vaut uniquement pour le premier acquireur original et a une durée de 5 ans.

Assistant notice
Powered by Anthropic
En attente de votre message
Informations produit

Marque : VISA

Modèle : VE-LFIX

Catégorie : Support mural pour écran