LF2302F - Système d'alarme LOGISTY - Notice d'utilisation et mode d'emploi gratuit
Retrouvez gratuitement la notice de l'appareil LF2302F LOGISTY au format PDF.
| Type d'appareil | Système d'alarme sans fil |
| Installation | Installation guidée |
| Connexion | Sans fil |
| Alimentation | Non précisé |
| Portée de détection | Non précisé |
| Nombre de capteurs | Non précisé |
| Type de capteurs | Non précisé |
| Compatibilité | Non précisé |
| Fonctionnalités supplémentaires | Non précisé |
| Installation par l'utilisateur | Oui |
| Langue du guide | Français |
| Marque | Non précisé |
| Modèle | Non précisé |
| Garantie | Non précisé |
| Type d'alarme | Alarme sans fil |
FOIRE AUX QUESTIONS - LF2302F LOGISTY
Questions des utilisateurs sur LF2302F LOGISTY
0 question sur cet appareil. Repondez a celles que vous connaissez ou posez la votre.
Poser une nouvelle question sur cet appareil
Téléchargez la notice de votre Système d'alarme au format PDF gratuitement ! Retrouvez votre notice LF2302F - LOGISTY et reprennez votre appareil électronique en main. Sur cette page sont publiés tous les documents nécessaires à l'utilisation de votre appareil LF2302F de la marque LOGISTY.
MODE D'EMPLOI LF2302F LOGISTY
Vous avez besoini Logisty, nous vous remercions de votre confiance. Premier fabricant européen de systèmes d'alarme sans fil, Logisty apporte :
- plus de sécurité grâce aux transmissions radio ultra-fiables TwinPass,
- plus de flexibilité avec le fonctionnement multi-zones.
Ce système, bien installé, donna longtemps satisfaction à l'utilisateur en protégéant efficacement sa famille, son habitation et ses biens.
Ce guide décrit les opérations d'installation du système d'alarme : détector de mouvement, détector d'ouverture et de bris de vitre, centrale, télécommande, clavier.
Les autres produits de la gamme Logisty font l'objet de guides spécifique :
- Guide d'installation des détecteurs audiosoniques de bris de vitre
- Guide d'installation des sirènes d'alarme
- Guide d'installation et guide d'utilisation du transmetteur téléphonique
- Guide d'installation et guide d'utilisation de la commande d'alarme par téléphone
- Guide d'installation et d'utilisation des détecteurs de dommages domestiques
- Guide d'installation et d'utilisation des récepteurs de commande 230V
Le système Logisty est évolutif, vous pouvez compléter aisément l'installation sans aucune limitation du nombre de détecteurs, de télécommandes, de sirènes ...
Nous vous recommendons de suivre très scrupuleusement les étapes décrites dans ce guide, elle sont garantes de la réussite de l'installation du système d'alarme. Notez au fur et à mesure de l'installation les options choisises sur l'aide-mémoire du guide d'utilisation Logisty. Une fois installés les produits décrits dans ce guide, vous pourrez partager à l'installation des produits complémentaires : sirènes d'alarme, transmetteur téléphonique...
Nous insistons sur le fait que,quelle que soit votre qualification ou compétence dans les domaines de l'électronique, de l'électricité et de la radio, il est recommendé de dire attentivement puis de se conformer aux conseils de notre guide, rédigé par des spécialistes de la sécurité.
Réalisez bien chaque opération dans l'ordre indiqué. Si le résultat obtenu n'est pas conforme à celui décrit, n'allez pas plus loin. Recommencez l'opération à son début.
Logisty met à votre service une assistance technique téléphonique (numéro de téléphone au dos de ce guide d'installation). N'hésitez pas à contacter nos techniciens pour toute question concernant le fonctionnement de nos produits.
Si vous avez des remarques pour l'amélioration de nos guides et de nos produits n'hésitez pas à les envoyer par écrit en précisant la date d'achat du matériel. Nous vous en remercions par avance.
LOGISTY - F-38926 CROLLES CEDEX
1 Présentation du système d'alarme Logisty 6
1.1 Un système d'alarme totalement sans fil
1.2 Un système d'alarme multi-zones
1.3 Un système d'alarme ultra-fiable TwinPass®
1.4 Un système d'alarme autoprotégé
1.5 Un système d'alarme paramétrable
2 Ou installer le système d'alarme Logisty 16
2.1 Précautions relatives aux transmissions radio
2.2 Ou installer la centrale?
2.3 Ou installer les détecteurs d'ouverture ?
2.4 Ou installer les détecteurs d'ouverture et de bris de vitre ?
2.5 Ou installer les détecteurs de mouvement ?
2.6 Ou installer le clavier?
3 Préparez et testez le système d'alarme Logisty 19
3.1 Préparez et testez les télécommandes
3.2 Préparez et testez le clavier
3.3 Préparez et testez la centrale
3.4 Préparez et testez les détecteurs de mouvement
3.5 Préparez et testez les détecteurs d'ouverture, les détecteurs d'ouverture et de bris de vitre
4 Codez le système d'alarme Logisty 32
4.1 Principe
4.2 Codez la centrale
4.3 Codez les télécommandes
4.4 Codez le clavier
4.5 Codez les détecteurs de mouvement
4.6 Codez les détecteurs d'ouverture, les détecteurs d'ouverture et de bris de vitre
Fixez le système d'alarme Logisty 42
5.1 Fixez la centrale en mode test
5.2 Fixez le clavier
5.3 Fixez les détecteurs de mouvement
5.4 Fixez les détecteurs d'ouverture
5.5 Fixez les détecteurs d'ouverture et de bris de vitre
5.6 Fixez définitivement la centrale
6 Faites un essai réel du système d'alarme Logisty 47
7 Changez les piles du système d'alarme Logisty 48
8 Que faire si? 50
Garantie 51
1 Présentation du système d'alarme Logisty
1.1 UN SYSTÉME D'ALARME TOTALEMENT SANS FIL
La transmission radio entre les différents éléments du système vous assure le maximum de simplicité à l'installation.
La technologie radio TwinPass® assures des transmissions radio ultra-fiables.
L'alimentation par piles de tous les appareils (y compris la sirène et la centrale) elimine tout raccordement au secteur et donc la majorité des causes de fausses alarmes.
Le système Logisty est évolutif. Si l'utilisateur ne dispose pas dans l'immédiat de tous les apparèils nécessaires à sa protection, il pourrait les faire installer plus tard sans avoir à modifier le système existant.
Le système d'alarme Logisty assure :
- La protection intrusion :
- surveillance permanente des accès et de l'intérieur de l'habitation (détection d'intrusion), déclenchement des moyens d'alerte (sirènes d'alarme, transmetteur téléphonique, sirène intégrée à la centrale) en cas de détction.
La protection des personnes :
- déclenchement des moyens d'alerte et de la sirène intégrée à la centrale en cas de malaise ou d'aggression à l'aide du medaillon d'applé d'urgence ou de la touche "Urgence" de la télécommande.
- déclenchement seul du transmetteur téléphonique à l'aide de la touche P de la télécommande LT605 (selon programmation).
- La protection domestique (sur L2302F uniquement) :
- détction incendie : déclenchement des moyens d'alerte et de la sirène intégrée à la centrale.
- détention dégât des eaux, gel, coupure EDF : déclenchement du transmetteur téléphonique avec averissement local, bips sonores sur la centrale.
DETECTOR
DETECTEURS

Déteur de mouvement

Déteeur d'ouverture

Detecteur d'ouverture et de bris de vous

Detecteur
audiosonique
de bris
de yourselves
DETECTEURS DE DOMMAGES

Detecteur de fumée

Déteur d'inondation
Detecteur de panne congélateur
Detecteur de coupure secteur
Detecteur de mise hors gel
TRAITER
CENTRALES SIRENES


TELECOMMANDES


MEDAILLON D'APPEL D'URGENCE

CLAVIER

COMMANDE D'ALARME PAR TÉLÉPHONE

DISSUADER
SIRENES D'ALARME


RéCEPTEUR DE COMMANDE

FLASH CLIGNOTANT

ALERTER ET AGIR
TRANSMETTEUR TELEPHONIQUE

PARTICULIERS


SERVICE VEILLE
DETECTER:
Detecteurs d'intrusion :
Les détecteurs d'intrusion surveillent les accès et l'intérieur de l'habitation. En cas de détction, ils informent instantanément la centrale par transmission radio.
- Les détecteurs périmétriques surveillent les accès de l'habitation :
- les détecteurs d'ouverture L2201F, L2202F détectent toute tentative d'intrusion par une porte ou une fenêtre protégées,
- les détecteurs d'ouverture et de bris de vitre L2203F, L2204F détectent toute tentative d'intrusion par bris de vitre (fenêtre, baie, vasistas) ou ouvertures protégées.
- les détecteurs audiosoniques de bris de vitre L2260F détectent toute tentative d'intrusion par bris de vitre (fenêtre, baie, vasistas).
- Les détecteurs volumétriques L2101F (déTECTeurs de mouvement) déetectent le rayonnement infrarouge émis naturellement par le corps d'un individu se déplaçant dans leur champ de vision. L'espace protégé par un détecteur de mouvement se limite aux murs de la pierce où il est fixé.
Detecteurs domestiques :
Les détecteurs domestiques détectent et signalent à tout moment les dommages qui peuvent se produit dans l'habitation (incendie, coupure de secteur, panne de congélateur, inondation, gel).
NB : il existe un risque de perte de l'information "changement de piles" émise par les détecteurs domestiques (sauf détecteur de fumée). Nous conseillons de vérifier régulièrement l'état des piles des détecteurs domestiques par un simple appui sur leurs touches test. Si levoyant de l'appareil ne s'éCLAIRE pas, changez la pile.
TRAITER :
Centrale-sirène :
La centrale-sirène Logisty recoit les messages radio émis par l'ensemble des détecteurs, télécommandes et claviers. Elle contient une sirène intégrée.
C'est la centrale qui déclenché sa sirène intégrée et les autres moyens d'alerte (sirènes d'alarme, transmetteur téléphonique et récepteur de commande) en cas de détention d'intrusion, de détention incendie ou d'appeal d'urgence.
Elle confirme par voyants lumineux et messages sonores la réception correcte des ordres de marche ou d'arrêt envoyés par la télécommande ou le clavier.
Des messages sonores et des voyants lumineux en face avant indiquent les événements survenus en l'absence de l'utilisateur et, le moment venu, de la nécessité de changer les piles des détecteurs ou de la centrale.
- La centrale-sirène L2301F assure la protection intrusion et la protection des personnes.
- La centrale-sirène multi-protections L2302F assure en plus la protection domestique et l'identification précise de l'origine de l'alarme.
Telecommandes :
- Les télécommandes LT601P et LT604 permettent la mise en marche partielle ou totale et l'arrêt de la centrale, de l'intérieur comme de l'extérieur de l'habitation.
Elles assurent également la protection des personnes : un appui sur la touche "Urgence" fait déclencher (centrale en marche ou à l'arrêt) tous les moyens d'alerte (sirènes, transmetteur téléphonique et récepteur de commande) et la sirène intégrée de la centrale.
La télécommande comport LT605 permet d'adapter la touche P aux besoin de l'utilisateur:alerte silencieuse (déclenchement du transmetteur téléphonique sans les sirènes pour les maladies ou personnes âgées), appel d'urgence, appel sonore, Lumière (commande d'un récepteur de commande).
- Les télécommandes porte-clés LT602 et LT606 autorisent la marche totale et l'arrêt du système d'alarme.
Dans tous les cas, un simple appui sur la touche arrêt de la télécommande permet d'arrêter les sirènes et le transmetteur en alarme (délai de réaction de 1 à 4 secondes).
- Le medaillon d'appoint d'urgence LT611 permet de déclencher tous les moyens d'alerte.
Clavier :
Le clavier L2621F assures toutes les fonctionnalités precedentes. Une fois le code d'accès composé, il permet la mise en marche (partielle ou totale) et l'arrêt du système d'alarme.
Le clavier permet de commander directement via un récepteur de commande un éclairage (ou une sonnette avec le LP501) ou de déclencher l'appeal d'urgence.
Commandedalarme par telephone:
La commande d'alarme par téléphone LT430 permet, à l'aide d'un code d'accès secret, la mise en marche (partielle ou totale) et l'arrêt à distance par téléphone (telepilotage) du système d'alarme. Le microphone intégré de la LT430 permet l'écoute à distance. La commande d'alarme par téléphone permet également de commander un récepteur de commande Logisty pour simuler une présence dans l'habitation (allumer et éteindre aléatoirement un éclairage) ou de mettre en marche et d'arrêter un apparéil électrique.
DISSUADER :
Sirènes :
- La sirène intégrée de la centrale agresse et déstabilise l'intrus, par une sonnerie stridente d'1 minute 30 secondes.
- Les sirènes d'alarme L2401F et LS401 alertent le voisinage par leur sonnerie (104 dB) en cas de détéction d'intrusion, d'incendie ou d'appeal d'urgence.
- La sirène d'alarme L2402F, avec son flash clignotant, permet en plus au voisinage de localiser rapidement le lieu de l'alarme pour intervenir plus efficacement.
L'intrus, repéré, s'enfuit et s'expose à une intervention du voisinage ou de la police. La sonnerie de la sirène dure 1 minute 30 secondes. Elle est activée immédiatement en cas d'urgence, d'incendie ou de
déclenchement d'une autoprotection. Elle est retardée de 10 secondes en cas d'intrusion. Ainsi, le voisinage n'est pas dérangé si l'utilisateur oublie d'arrêteur son système en reentrant chez lui. Elle est réactivée au bout d'1 minute 30 secondes si un détecteur d'intrusion est à nouveau sollicité. Les sirenes L2401F et L2402F peuvent se déclencher uniquement sur une intrusion confirmée (2 détecteurs sollicités en moins d'une minute), si l'option est sélectionnée.
Flash clignotant :
Le flash clignotant AF500 ou tout apparcellage électrique 230 V peut être déclenché via le récepteur de commande Logisty en cas de détction d'intrusion, d'appeil d'urgence ou d'incendie.
ALERTER ET AGIR :
Transmetteur téléphonique :
Le transmetteur téléphonique L2411F (ou LK401F) alerte par téléphone des proches (messages vocaux) ou un centre de veille (messages digitaux) qu'un événement est survenu dans l'habitation (intrusion, dommages domestiques, appel d'urgence...).
Particuliers (messages vocaux) :
En cas d'alarme, les correspondantsCHOisis par l'utilisateur (parents ou amis, au nombre de 3 maximum) seront contactedes par le transmetteur tellephonique qui leur indiquera, par synthese vocale, la nature de I'evénement ayant provoqué l'appel (intrusion, incendie, alerte...).
Service veille (messages digitaux) :
Prévenu automatiquement par le transmetteur téléphonique en cas d'alarme, le centre de veille exécute 24 h/24 et 7 jours/7 les consignes préalablement définies. L'abonnement aux services VEILLE ou VEILLE INTERVENTION apporte l'assurance d'une réaction immédiate et appropriée en cas d'alarme dans l'habitation.



1.2 UN SYSTEMÉM MULTI-ZONES
Le système multi-zones Logisty permet d'occuper une partie de l'habitation (exemple : premier étage) tout en maintainant la protection intrusion dans l'autre partie (exemple :rez-de-chaussée, garage).
NB : la protection des personnes et la protection domestique (L2302F) est maintainue 24h/24 que la protection intrusion soit en marche ou non.
MARCHETOTALE/MARCHEPARTIELLE/ARRET:
-
La touche MARCHE TOTALE de la télécommande ou du clavier permet demettre sous protection intrusion la totalité de l'habitation.
-
La touche MARCHE PARTIELLE de la télécommande ou du clavier permet demettre sous protection intrusion une partie seulement de l'habitation. L'autre partie peut etre occupé sans risque de déclencher le système d'alarme. L'espace maintainu sous la protection active du système Logisty peut concerner une ou plusieurs pieces qui ne sont pas nécessairement voisines.
-
La touche ARRET de la télécommande ou du clavier arrêté la protection intrusion de l'habitation.
Exemple :
MARCHETOTALE
protection intrusion de toute la maison
MARCHE PARTIELLE

protection intrusion du rez-de-chaussée et du garage, et de toutes les issues, il est possible de se déplacer librement au premier étage sans risque de déclencher le système d'alarme.
ARRET
arrêt de la protection intrusion de la maison.
- La prise en compte d'un détecteur de mouvement en marche partielle ou en marche totale se fait lors de l'affection du détecteur à une zone.
- Un détector d'ouverture est toujours pris en compte en marche partielle.
Affectation d'un détecteur à une zone :
Vous allez affecter chacun des détecteurs d'intrusion à une zone (zone 1, zone 2, zone 3 ou zone 4).
- Vous pouvez ainsi donc certains des détecteurs d'intrusion inactifs lorsque le système sera mis en marche partielle. Il est alors possible de se déplacer librement dans les pieces ou sont placés les détecteurs affectés aux zones 3 et 4 sans risque de faire déclencher le système d'alarme.
Remarque : les détecteurs d'ouverture et les détecteurs d'ouverture et de bris de vitre sont actifs des que le système d'alarme est en marche partielle ou totale. Ils protégent les accès les plus sensibles de l'habitation et sont affectés à la zone 1 ou à la zone 2.
- Vous pouvez decide qu'un détector déclenché immédiatement ou avec retard les moyens d'alerte et la sirène intégrée. Ce retard de 20 ou de 40 secondes est paramétré sur la centrale.
Ainsi, pour arrêter la protection intrusion depuis le clavier placé à l'intérieur de l'habitation sans déclencher les moyens d'alerte, placez un détecteur à déclenchement retardé dans l'entrée.
Le tableau ci-dessous récapitule les possibilités d'affection d'un détecteur à une zone :
| Décéctor Zone | Décéctor de mouvement | Décéctor d'ouverture et décéctor d'ouverture et de bris de vitre |
| Zone 1 | Actif en marche partielle et en marche totale. Alerte immédiate. | Actif en marche partielle et en marche totale. Alerte immédiate. |
| Zone 2 | Actif en marche partielle et en marche totale. Alerte retardée. | Actif en marche partielle et en marche totale. Alerte retardée. |
| Zone 3 | Inactif en marche partielle, actif en marche totale. Alerte immédiate. | |
| Zone 4 | Inactif en marche partielle, actif en marche totale. Alerte retardée. |
Exemple :




MARCHETOTALE

protection totale de la maison :
tous les déteceurs d'intrusion sont actifs.
MARCHE PARTIELLE

protection du rez-de-chaussée et du garage uniquement :
-
sont actifs :
-
les détecteurs de mouvement zone 2 (garage et RdC),
- les détecteurs d'ouverture et de bris de vitre zone 1 (fenêtre RdC),
-
les détecteurs d'ouverture zone 2.
-
sont inactifs :
- les détecteurs de mouvement zone 3, zone 4 (1er étage).
ARRET

arrêt de la protection de la maison :
tous les détecteurs d'intrusion sont inactifs.
1.3 UN SYSTÉME D'ALARME ULTRA-FIABLE TWINPASS®
Le système d'alarme intègre les dernières avances technologiques de Logisty en matière de sécurité et de fiabilité.
Avec la nouvelle technologie radio TwinPass®, le système d'alarme Logisty possède deux avantages déterminants :
- la transmission radio est ultra-fiable :
A chaque transmission TwinPass® les informations sont codées puis émises simultanément sur deux fréquences radio différentes. Ces deux fréquences sont très éloignées (VHF et UHF) et ont des modes de propagation complémentaires. Elles ne sont pas sensibles aux mêmes causes de perturbations et, si l'une d'elles est perturbée, l'autre continue à assurer la transmission radio.
Ainsi avec TwinPass® la transmission devient très fiable quels que soient le site, son environnementélectrique ou radio-électrique et son évolution dans le temps.
- la transmission radio est autoprotégée :
TwinPass® a été consque pour s'accommoder des perturbations prsentes et futures et pour résister à d'eventuels actes de malveillance.
En cas de tentative de fraude par brouillage simultané des deux fréquences, sa réaction est très rapide. Dès qu'un des deux brouillages)cesse, la transmission redevient immédiatement possible. C'est cette double sécurité qui permet la très haute fiabilité du système d'alarme.
Les deux antennes de la centrale ou des sirènes sont le symbole le plus évident de la technologie TwinPass®. Mais, même si les antennes ne sont pas visibles, les détecteurs de mouvement L2101F, les détecteurs d'ouverture L2201F ou L2202F, les détecteurs d'ouverture et de bris de vitre L2203F ou L2204F, les détecteurs audiosoniques de bris de vitre L2260F, le clavier L2621F, la commande d'alarme par téléphone LT430... intégrant eux aussi la technologie TwinPass®.
1.4 UN SYSTÉME D'ALARME AUTOPROTEGÉ
Les apparèils du système sont en permanence (24 h/24 que la centrale soit en marche ou à l'arrêt) protégés contre les actes de malveillance ou de fraude. Ces autoprotections déclenchent les moyens d'alerte et la sirène intégrée de la centrale en cas de tentative d'arrachement du produit de son support, d'ouverture malveillante d'un produit et de tout autre acte de fraude.
Respectez les conseils d'installation afin d'éviter les déclenchements intempestifs des autoprotections.
Detecteurs :
Tous les détecteurs (à l'exception du détecteur de fumée LD151) sont autoprotégés contre les tentatives d'ouverture. Si l'on tente d'ouvrir leur boîtier la sirène intégrée de la centrale et les moyens d'alerte se déclenchent.
Clavier :
Le clavier est autoprotégé. Une fois fixé au mur, toute tentative d'arrachement ou d'ouverture du clavier entraîne le déclenchement des moyens d'alerte.
Centrales :
Toutes les centrales sont autoprotégées contre les tentatives d'ouverture, d'arrachement, de coupure d'antenne. En cas de malveillance ou de fraude, la centrale déclenché sa sirène intégrée et les moyens d'alerte.
Autoprotection radio :
La transmission radio ultra-fiable TwinPass® garantit une fiabilité maximale des liaisons radio.
L'autoprotection radio déclenché une alarme en cas de brouillage simultané des deux voies radio. Dès qu'une voie n'est plus brouillée, la transmission est rétable.
1.5 UN SYSTEMÉ D'ALARME PARAMÉTRABLE
Vous adaptez la protection de l'habitation aux besoin de l'utilisateur grâce aux paramètres de fonctionnement de la centrale. Le paramétrage s'effectue à l'installation de la centrale en positionnant 4 micro-interrupteurs. Il est modifiable à tout moment :
Paramètre 1 : après une détction d'intrusion par un détector à déclenchement retardé (zone 2 ou zone 4), l'utilisateur dispose de 20 ou de 40 secondes avant le déclenchement des moyens d'alerte et de la sirène intégrée de la centrale. Il peut arrêter son système d'alarme depuis l'intérieur de son habitation.
Paramètre 2 : en cas d'intrusion, déclenchement ou non de la sirène intégrée de la centrale.
Paramètre 3 : en cas d'intrusion, retard ou non de 1 minute du déclenchement de la sirène intégrée de la centrale si le déclenchement de la sirène est sélectionné (paramètre 2).
Paramètre 4 :CHOIX DU Niveau (normal ou fort) des messages sonores délivrés par la centrale lors de la mise en marche totale, partielle ou de l'arrêt (sans influence sur la puissance de la sirène intégrée).
Examples :
Pour répondre aux besoin de l'utilisateur, vous avez choisi d'incluter le clavier à l'intérieur de l'habitation et de placer un détecteur à déclenchement retardé (zone 2) dans l'entrée. Le paramètre 1 permet deCHOISIR le retard avant le déclenchement du système d'alarme : 20 ou 40 secondes. L'utilisateur peut ainsi arrêter le système de l'intérieur de son habitation en composant son code d'accès sur le clavier puis ARRET.
- En cas d'intrusion, l'utilisateur ne peut pas attirer l'attention de l'intrus sur sa centrale quand les moyens d'alerte (sirène d'alarme et transmetteur) ont déjà déclenché : vous decidez de ne pas déclencher la sirène intégrée de la centrale (paramètre 2) ou vous retardez ce déclenchement d'1 minute (paramètre 3).
2
Où installer le système d'alarme Logisty ?
Le but de ce chapitre est de vous conseiller pour déterminer l'emplacement idéal pour les éléments du système d'alarme dans l'habitation.
2.1 PRECAUTIONS RELATIVES AUX TRANSMISSIONS RADIO
Influence d'un obstacle sur la transmission radio

90-100% Bois - plâtre - placoplâtre

65-95 %
Brique - Aggloméré

10-70% Béton armé selon l'armature métallique et la disposition de l'émetteur.

0-10%
Métal
Bardage métallique
Pare-vapeur
aluminium
Grillage
La propagation des ondes radio peut être modifiée par la présence d'éléments conducteurs d'électricité (canalisation, mobilier ou chassis métallique, grands miroirs ou pare-vapeurs aluminium, réseau électrique...). Elle est plus ou moins attenuée selon la nature et l'épaissur des matériaux traversés. On observe une atténuation croissant en traversant le bois, la brique et le plâtre, les moellons, la pierre et le béton armé, le mâchefer et la terre en grande épaissur. La portée moyenne en champ libre est de 100 à 200 m selon les produits et l'environnement. La portée radio des apparêls Logisty a été étudiée en fonction de la réglementation technique nationale pour assurer des liaisons radio sans problème au sein d'une habitation classique.
2.2 Où INSTALLER LA CENTRALE ?
Installez-la :
- à l'intérieur de l'habitation, dans un emplacement protégé par un détecteur,
- à plus de 5 m du transmetteur téléphonique, des sirènes d'alarme ou d'un récepteur de commande,
- loin d'eventuelles sources de perturbation (compteur électrique, coffret téléphonique, ordinateur...),
en hauteur, face avant dégagée, - de préférence au centre du système d'alarme.
Ne l'installez jamais directement sur une paroi métallique.
A la fixation du système d'alarme, vous pourrez déterminer avec précision le meilleur emplacement respectant les conditions precedentes, grâce à la fonction "écoute radio" (cf chapitre 5.1).


2.3 OU INSTALLER LES DETECTEURS D'OUVERTURE?
Installez-les :
à l'intérieur de l'habitation,
sur les issues principales (entree, terrasse,...),
sur les accès dérobés (fenêtres de toit, portes de garage ...),
en hauteur (2 m environ),
l'aimant de préférence sur le battant de la porte ou de la fenêtre,
- le boitier émetteur de préférence sur le dormant (partie fixe),
- le plus éloigné possible des gonds de l'issue protégée. De cette façon, toute ouverture, même minime, sera détectée.
Ne les installez pas :
- avec un espacement supérieur à 5 mm entre l'aimant et le boîtier émetteur,
directement sur une paroi métallique.
NB : si vous installez un détecteur d'ouverture sur une portemétallique, vous doivent positionner sous le boîtier émetteur une cale de bois ou de plastique de 2 cm d'épaisseur. Vous mettrez l'aimant à niveau grâce aux cales fournies.
2.4 OU INSTALLER LES DETECTEURS D'OUVERTURE ET DE BRIS DE VITRE?
Installes-les :
à l'intérieur de l'habitation,
- sur les vitres des issues principales (fenêtres, baies vitrées, vasistas...),
- capteur de bris de vitre collé sur la vitre dans un des 4 coins à 2,5 cm de l'angle (détection du bris de vitre jusqu'à 1,50 m du point d'impact),
en hauteur si possible,
- le boîtier émetteur sur la partie mobile de la fenêtre,
l'aimant sur la partie fixe de la fenetre,
- le plus éloigné possible des gonds de l'issue protégée. De cette façon, toute ouverture, même minime, sera détectée.
Ne les installez pas :
- avec un espacement supérieur à 5 mm entre l'aimant et le boîtier émetteur,
directement sur une paroi métallique.
NB: si vous installez un détecteur d'ouverture et de bris de vitre sur une fenêtre métallique vous devez positionner sous le boîtier émetteur une cale de bois ou de plastique de 2 cm d'épaisseur. Vous mettrez l'aimant à niveau grâce aux cales fournies.
Il est indispensable de fixer l'aimant, même en cas d'utilisation du capteur de bris de vousse.
Espace protégé par un détector de mouvement



Où placer les détecteurs de mouvement ?


BON


BON

MAUVAIS
2.5 OU INSTALLER LES DETECTEURS DE MOUVEMENT?
Installes :
à l'intérieur de l'habitation,
- dans les pieces à risque (salon, chambre des parents...),
aux points de passage obligé,
perpendicularairement aux issues à protéger,
en hauteur (2,20 m environ),
- orienté vers l'intérieur de l'habitation,
- de manière à ce que son espace protégé ne croise pas celui d'un autre détecteur de mouvement.
Il est préférible de protégger l'accès à la centrale par un détecteur de mouvement.
Ne les installez pas :
- en face ou au dessus d'une surface pouvant s'échauffer rapidement (convecteur électrique, cheminée, ventilation),
en face d'une baie vitrée,
directement sur une paroi métallique, - dans une piece trop étroite (couloir par exemple) pour le bon fonctionnement de la double détention (déclenchement à la coupure de 2 faisceaux).
2.6 OÜ INSTALLER LE CLAVIER?
Installez-le :
à l'intérieur ou à l'extérieur de l'habitation,
- fixé sous abri, dans un endroit sec, protégé des intempérières et des regards indiscrets,
- facilement accessible pour permettre son utilisation pratique par tous les utilisateurs (le clavier ne peut etre utiliser que par les personnes qui connaissent le code d'accès secret : famille ou proches),
- sur une surface dégagée et lisse (evitez moquettes murales, crépis à gros grains...). En cas de fixation du clavier sur une paroi en matériel creux (placopâtre, brique creuse...), nous vous conseillons d'utiliser des chevilles spécialement adaptées à ce type de matériel,
- afin de pouvoir atteindre directement le dessous du clavier avec un tournevis ce qui facilitera son ouverture en cas de démontage (lors d'un changement de pile par exemple).
Ne l'installez pas :
directement sur une paroi métallique.
3 Préparez et testez le système d'alarme Logisty
Le but de ce chapitre est de préparer le système avant l'étape du codage.
Munissez-vous :
- d'un tournevis plat (4 mm),
- d'un tournevis cruciforme (3 ou 4 mm),
d'une pièce de monnaie,
d'un cutter.
Nous vous conseillons de tester d'abord les télécommandes et le clavier, puis la centrale et enfin les détecteurs.
Pour les autres apparèils, référez-vous aux notices spécifique.
Les piles sont livrées avec chaque appareil. Suivez les instructions de montage des piles pour chacun d'eux.
Les apparèils sont conçus pour éviter les erreurs de manipulation et les inversions de sens des piles.

Télécommandes porte-clés
LT602

LT606

Telecommandes
LT601P

LT604

LT605

3.1 PREPARATION ET TEST DES TÉLECOMMANDES
1. Ouverture :
-
Télécommandes LT602, LT606 : ouvre le boîtier après avoir enlevé la vis.
-
Télécommandes LT601P, LT604, LT605 : ouvre le boîtier en appuyant et en poussant l'ergot avec unepiece de monnaie. N'utilise pas de tournevis, vous risquez en glissant d'endommager la carte électronique ou d'érafler le capot.

Télécommandes : mise en place des piles


2. Files
- Les piles des télécommandes LT602, LT606 sont déjà en place.
- Mise en place des piles LT601P, LT604, LT605 :
Essuyez les piles avec un chiffon sec. Prenez une pile par la tranche (évitez de toucher les faces planes), le + vers le haut. Glissez-la entre les deux contacts. Glissez la deuxième pile de la même façon (les piles restent légèrement inclinées dans leur logement).
3. Garantie :
Collez la partie supérieure de la vignette de garantie située à l'intérieur du capot sur la demande d'extension gratuite de garantie fournie avec le guide d'utilisation du système (la partie inférieure de la vignette de garantie doit rester sur le produit). Vous pouvez refermer le boîtier pour les modèles LT604, LT605 et LT606.
- Appuyez maintainant sur chaque touche, le voyant rouge clignote à chaque appui (LT601P : le voyant rouge resté éclairé pendant l'appui).
La télécommande est prete a etre codee.
Renouvelez la procédure avec chacune des télécommandes.
3.2 PREPARATION ET TEST DU CLAVIER
- Sortez le clavier de son emballage et conservez :
les accessoires de fixation : 4 vis, 4 rondelles, 4 chevilles,
le pion d'autoprotection,
la pile,
le joint adhesif noir,
l'etiquette de personnalisation.

CLAVIER L2621F

Ouverture du clavier

Garantie et mise en place de la pile

2. Ouverture du clavier :
Repérez le point de verrouillage sur la tranche du socle.
Prenez un tournevis plat. Maintenez fermement le clavier à plat sur une table et introduisez le tournevis.
Poussez l'ergot de verrouillage en appuyant avec le tournevis à l'endroit indiqué ①.
Maintenez l'appui avec le tournevis et ouvre le clavier en exerçant une traction vers le haut ②.
3. Garantie
Collez la partie supérieure de la vignette de garantie située sur le fond du boîtier sur la demande d'extension gratuite de garantie fournie avec le guide d'utilisation du système (la partie inférieure de la vignette de garantie doit rester sur le produit).
- Connectez la pile et insérez-la correctement orientée dans son logement.
Veillez à ce que les fils du connecteur cheminent à plat le long de la pile dans l'emplacement prévu.
- Inscrivez le nom de l'utilisateur sur l'étiquette de personnalisation si nécessaire.
6. Choix des options de fonctionnement :
Le clavier a deux options de fonctionnement sélectionnées par micro-interrupteurs :
- possibilité ou non de la fonction d'appoint d'urgence : micro-interrupteur 1,
- possibilité ou non d'utilisation du clavier en télécommande (suppression de l'autoprotection): micro-interrupteur 2.
Placez les micro-interrupteurs conformément aux besoin de l'utilisateur (cf tableau ci-dessous). Notez les options choisises sur l'aide-mémoire du guide d'utilisation du système.
| Position des micro-interrupteurs | Options de fonctionnement |
| Suppression de l' appel d'urgence | |
| Maintien de l' appel d'urgence | |
| Maintien de l'autoprotection (fixation murale) | |
| Suppression de l'autoprotection (utilisation en télécommande) |
7. Refermez le boitier.
- Appuyez maintainant sur la touche 2, le voyant rouge s'éclaire.
Leclavierestprétaetrecode.
Renouvelez la procédure avec chacun des claviers.
3.3 PREPARATION ET TEST DE LA CENTRALE
1. Sortez la centrale de son emballage et conservez :
les 4 piles,
les 2 tubes d'antennes,
les accessoires de fixation :
- 3 vis longues et 3 chevilles pour la fixation au mur,
- 2 petites vis pour la fermeture de la trappe d'accès aux piles et le blocage du gabarit de fixation murale sur la centrale,
- les accessoires de codage : 1 gabarit de codage, 1 foret de codage. Posez la face avant contre la table pour pouvoir acceder au dos de la centrale.

2. Garantie
Collez la partie supérieure de la vignette de garantie située sur la face arrêté de la centrale sur la demande d'extension gratuite de garantie fournie avec le guide d'utilisation du système (la partie inférieure de la vignette de garantie doit rester sur le produit).

- Enlevez le gabarit de fixation murale en poussant l'ergot de verrouillage avec le tournevis.
L'ergot de verrouillage est accessible au dessous de la centrale.
4. Mise en place des antennes :
Enlevez le fixe antennes triangulaire en faisant levier avec le tournevis, glissez chaque fil d'antenne dans le tube d'antenne correspondant. Vérifiez que les fils sont bien tendus dans les tubes d'antennes et qu'une partie de la filerie ne reste pas bloquée.
Enoncez les tubes dans les gorges verticales ou horizontales à l'aide du tournevis plat.
Les antennes sont en place, bloquez-les dans cette position en enforcant le fixe antennes triangulaire dans sa position initiale.


Ouverture de la trappe d'accès


Mise en place de la cartouche de connexion de piles
5. Mise en place des piles :
Ouvrez la trappe d'accès aux piles avec le tournevis.
Sortez le connecteur de piles et connectez la première pile en respectant le sens de branchement. La centrale répond par un message sonore "Liii" très court. Si la sonnerie de la centrale se déclenché, enlevez la pile et reconnectctez-la après 1 minute.
Connectez les 3 autres piles et replacez le connecteur de piles dans son logement suivant le sens indiqué.
La centrale est maintainant en mode "test". Ne vous étonné pas si vous entendez des grésillements. Ils cesserontès que la centrale fonctionnera en mode normal.

6. Paramètres de fonctionnement du système d'alarme :
Les 4 micro-interrupteurs placés après des piles permettent de paramétre la centrale.
Avec le tournevis plat, placez les micro-interrupteurs conformément aux besoin de l'utilisateur.
Notez les paramètres sélectionnés sur l'aide-mémoire du guide d'utilisation du système.
| Position des micro-interrupteurs | Options de fonctionnement |
| Temporisation d'entrée de 20 secondes* | |
| Temporisation d'entrée de 40 secondes* | |
| Déclenchement de la sirène intégrée à la centrale sur intrusion. Durée d'une sonnerie : 1 mn 30 s. | |
| Pas de déclenchement de la sirène intégrée à la centrale sur intrusion : la sirène intégrée à la centrale est toujours active lors d'un appel d'urgence, d'un déclenchement d'autoprotection ou d'un incendie (L2302F). | |
| Sonnerie (durée 1 mn 30 s) immédiate de la sirène intégrée à la centrale sur intrusion (selon position du micro-interrupteur 2) | |
| Sonnerie (durée 1 mn 30 s) retardée de 1 mn de la sirène intégrée à la centrale sur intrusion (selon position du micro-interrupteur 2). Ce retard d'1 mn ne s'applique jamais lors d'un appel d'urgence, d'un déclenchement d'autoprotection ou d'un incendie (L2302F). | |
| Niveau sonore des messages émis par la centrale : normal** | |
| Niveau sonore des messages émis par la centrale : fort** |
- pour détecteurs configurés à déclenchement retardé (zone 2 ou zone 4).
** pas d'influence sur la puissance de la sirène intégrée à la centrale.
connexions de codage (cf chap. 4)

7. Choix de l'autoprotection radio :
Pourmettre en marche l'autoprotection radio,placez l'interrupteur en position ON.
NB : cette fonctionnalité, active uniquement centrale en Marche
Totale, engendre une surconsommation variable selon
l'environnement radio-électrique.
Si l'autoprotection radio est sollicitee, la centrale déclenché sa sirène
intégrée et les autres moyens d'alerte : sirènes d'alarmes,
transmetteur téléphonique et récepteur de commande.
- Refermez la trappe en placant correctement le connecteur de piles.
9. Ne replacez pas le gabarit de fixation murale sur la centrale.
Retournez la centrale de façon à voir la face avant.
La centrale est toujours en mode "test".
Vous allez pouvoir essayer le système sans risque de faire déclancher sa sirène intégrée (110 dB). En effet, le gabarit de fixation murale n'était pas en place, vous ne déclencherez pas l'autoprotection à l'arrachement.
La centrale va répondre aux informations radio qu'elle recevra des télécommandes, du clavier et des détecteurs en émettant des messages sonores et en éclairant des voyants lumineux.
En mode "test" tous les signaux radio, même très brefs, sont reproduits par le haut-parleur de la centrale. Aussi ne vous étonnez pas si vous entendez des grésillements. Ne vous préoccupez pas pour l'instant de cette fonction "écoute". Elle vous sera utile pour déterminer le meilleur emplacement pour la centrale.
Remarque : une fois passée en mode de fonctionnement normal (fixée au mur sur son gabarit de fixation), la centrale ne fera plus entendre de grésillements.
- Avec une télécommande, appuyez sur n'importe qu'elle touche, la centrale répond par une série de messages sonores à 2 tons du type : "Li.tut, Li.tut, Li.tut...".
La centrale signale aussi la prise en compte de l'ordre envoyé depuis la télécommande en faisant clignoter son ou ses voyants correspondants :
| Touché télécommande | Voyant centrale | |
| ARRÊT | ARRÊT | |
| MARCHE PARTIELLE | SURVEILLANCE ZONE 1 + 2 | |
| MARCHE TOTALE | SURVEILLANCE ZONE 1 + 2 et SURVEILLANCE ZONE 3 + 4 | |
| URGENCE | URGENCE | |
NB : la sirène intégrée de la centrale ne se déclenché pas en mode test.
La commande est bien reçue par la centrale.
11. Avec un clavier, respectez la procédure suivante :

La centrale répond par une série de messages sonores à 2 tons du type : “Li.tut, Li.tut, Li.tut...”.
Attention :
() le code d'accès d'origine est 9999, vous programmerez ensuite un code d'accès secret (chapitre 4 de ce guide).
(*) appuyez bien sur la touche de commande tant que levoyant jaune est éclairé.
Si vous vous trompez dans la manipulation, attendez que tous les voyants du clavier soient eteints durablement avant d'entrepreneurre un nouvel essai,
NB : la sirené intégrée de la centrale ne se déclenché pas en mode test.
La centrale signale la prise en compte de l'ordre envoyé depuis le clavier en faisant clignoter le ou les voyants correspondants de la centrale.
| Touche clavier | Voyant centrale |
| ARRÊT | ARRÊT |
| MARCHE PARTIELLE | SURVEILLANCE ZONE 1 + 2 |
| MARCHE TOTALE | SURVEILLANCE ZONE 1 + 2 et SURVEILLANCE ZONE 3 + 4 |
| URGENCE | URGENCE (si option sélectionnée sur le clavier) |
La commande est bien reçue par la centrale.




3.4 PREPARATION ET TEST DES DETECTEURS DE MOUVEMENT L2101F
- Sortez le détecteur de son emballage et conservez :
la pile,
- les accessoires de fixation : 1 rotule, 1 contre -rotule, 1 vis longue, 1 cheville, 1 rondelle.
- Ouvrez le boitier du détecteur en poussant l'ergot de verrouillage du haut avec une piece de monnaie.
3. Garantie
Collez la partie supérieure de la vignette de garantie située sur la carte électronique, capot arrêté enlevé, sur la demande d'extension gratuite de garantie fournie avec le guide d'utilisation du système (la partie inférieure de la vignette de garantie doit rester sur le produit).
4. Clipsez la pile sur son connecteur en respectant le sens de branchement.

5. Affection à une zone :
Les 2 micro-interrupteurs placés pres de la pile permettent d'afector le détecteur à une zone.
Avec le tournevis plat, placez les micro-interrupteurs conformément aux besoin de l'utilisateur.
Notez les options choisies sur l'aide-mémoire du guide d'utilisation du système.
Lechoix de la zone pourra eventuelflement etre modifie par la suite.
| Position des micro-interrupteurs | Fonctionnement du détecteur | Zone |
| Actif en Marche Partielle et en Marche Totale. Alerte immédiate. | Zone 1 | |
| Actif en Marche Partielle et en Marche Totale. Alerte retardée. | Zone 2 | |
| Inactif en Marche Partielle, actif en Marche Totale. Alerte immédiate en Marche Totale | Zone 3 | |
| Inactif en Marche Partielle, actif en Marche Totale. Alerte retardée en Marche Totale | Zone 4 |
-
Refermez le boîtier du détecteur en engageant l'ergot bas puis en faisant pivoter le capot arrêté jusqu'àu "clic" de verrouillage.
-
Appuyez sur la touche test du détecteur. Son voyant rouge s'éclaire, le détecteur passe en mode test pendant 1 minute 30 secondes.
La centrale répond par une série de messages sonores à 2 tons du type : “Li.tut, Li.tut, Li.tut...”
- centrale L2302F : levoyant spécifique correspondant à la zone que vous avez affectée s'éclaire.
- centrale L2301F : levoyant "intrusion" s'éclaire.
Le détecteur de mouvement communique bien avec la centrale.
- Testez la détction. ÀpRES avoir appuyé sur la touche test, vous pouvez tester la détction de mouvement pendant 1 minute 30 secondes en passant votre main devant la lentille de détction : le voyant rouge s'éclaire. ÀpRES ce laps de temps le détector se remet en fonctionnement normal, le voyant ne s'éclairera plus lors d'une détction.
- Retournez le détector pour cacher la lentille de détction afin qu'il ne vous détecte plus.
Renouvelez la procédure avec chacun des détecteurs de mouvement.
3.5 PREPARATION ET TEST DES DETECTEURS D'OUVERTURE L2201F, L2202F, DES DETECTEURS D'OUVERTURE ET DE BRIS DE VITRE L2203F, L2204F



- Sortez le détecteur de son emballage et conservez :
la pile,
un jeu (L2201F, L2202F) ou deux jours (L2203F, L2204F) de 5 cales,
l'aimant,
le porte-aimant,
- les accessoires de fixation : 4 chevilles, 2 vis longues, 4 vis moyennes.
3. Garantie
- Ouvrez le boitier du détecteur en poussant l'ergot de verrouillage avec une piece de monnaie.
Collez la partie supérieure de la vignette de garantie située sur la carte électronique capot arrêté enlevé, sur la demande d'extension gratuite de garantie fournie avec le guide d'utilisation du système (la partie inférieure de la vignette de garantie doit rester sur le produit). - Clipsez la pile sur son connecteur en respectant le sens de branchement.

5. Affection à une zone :
Le micro-interrupteur placé pres de la pile permet d'affector le détecteur à une zone.
Avec le tournevis plat, placez le micro-interrupteur conformément aux besoin de l'utilisateur.
Notez l'options可以选择 sur l'aide-mémoire du guide d'utilisation du système.
Lechoix de la zone pourra eventuelflement etre modifie par la suite.
| Position des micro-interrupteurs | Fonctionnement du détecteur | Zone |
| Actif en Marche Partiellet et en Marche Totale. Alerte immédiate. | Zone 1 | |
| Actif en Marche Partiellet et en Marche Totale. Alerte retardée. | Zone 2 |
6. Refermez le boitier du détecteur.
-
Appuyez sur la touche test du détecteur. Son voyant rouge s'éclaire. La centrale répond par une série de messages sonores à 2 tons du type : "Li.tut, Li.tut, Li.tut..."
-
centrale L2302F : levoyant spécifique correspondant à la zone que vous avez affectée s'éclaire .
- centrale L2301F : levoyant "intrusion" s'éclaire.
Le détector communique bien avec la centrale.
8. Testez la détction :
Après avoir appuyé sur la touche test, vous pouvez tester la détction d'ouverture pendant 1 minute 30 secondes : rapprochez l'aimant du boîtier émetteur puis éloignez-le, le voyant rouge s'éclaire. ÀpRES ce laps de temps le détecteur se remet en fonctionnement normal, le voyant ne s'éclairera plus lors d'une détction.
Vous pouvez relancer une période de test si nécessaire par appui sur la touche test.
Renouvelez la procédure avec chacun des détecteurs d'ouverture ou d'ouverture et de bris de vitre.
4
Codez le système d'alarme Logisty
Voulezmaintenantattribuernucode radio personnalise à l'ensemble des produits du système d'alarme.
Ce code radio personnelisé sera la signature du système, il différenciera ce système de tous les autres.
A l'issue de ce chapitre, télécommandes, claviers, centrale et détecteurs étant codés, vous pourrez fixer le système d'alarme.
4.1 PRINCIPLE
CHOIX DU CODE :
Recopiez sur un papier que vous détruirez à la fin du codage du système la grille suivante et mettez aléatoirelement 2 à 6 croix dans les cases vides de votrechioix. Vous avez déterminé le code radio personnelisé. Il est unique et sera affecté à tous les apparciels du système.
| 1 | 2 | 3 | 4 | 5 | 6 | 7 | 8 | 9 | 10 |
Exemple (à ne pas reproductive)
| 1 | 2 | 3 | 4 | 5 | 6 | 7 | 8 | 9 | 10 |
| X | X | X |
Vous allez reporter maintainant ce code sur les appeareils grâce au gabarit de codage et au foret de codage livrés avec la centrale.
Vous pourrez modifier ce code ultérieurement.
Foret de codage

Gabarit de codage

Percez de ce côté

Ne pas percer de ce côté

PREPARATION DU GABARIT DE CODAGE :
Le gabarit de codage sert à reporter sans erreur le même code sur tous les apparèils. Le foret de codage sert à couper les connexions choisis.
L'utilisateur devra conserver ces outils, en les cachant, pour les futures extensions du système d'alarme.
- Prenez le gabarit de codage, returnez-le, vous pouvez dire les nombres 1 à 10.
Le gabarit possède 2 ergots de positionnement de diamètres différents qui permettent d'éviter les inversions de sens lors du codage. - Maintenez le gabarit et mettez la pointe du foret de codage dans l'avant trou correspondant au chiffre de la première croix sur la grille.
- Tournez le foret en vissant dans le sens des aiguilles d'une montre pour percer le gabarit. Arrêtez lorsque la pointe du foret débouché complètement de l'autre côté. Le trou concerné est alors bien percé.

Résultat du perçage


Example :


Example :
- Recommence les opérations 2 et 3 précédentes pour chaque chiffre correspondant à une croix sur la grille.
Vou obtenez ainsi la reproduction du code sur le gabarit de codage.
4.2 CODEZ LA CENTRALE
- Retournez la centrale et ouvrez la trappe d'accès aux piles.
- Placez les ergots de positionnement du gabarit de codage dans les trous correspondants.
- Maintenez le gabarit et mettez la pointe du foret de codage dans le premier trou ouvert du gabarit. Appuyez sur le foret en le tournant dans le sens des aiguilles d'une montre pour supprimer la connexion de codage correspondante. Arrêtez-vous lorsque le manche du foret bute sur le gabarit de codage.
- Recommence l'opération précédente pour chaque trou pratique dans le gabarit.
- Enlevez le gabarit de codage et faites tomber les copeaux hors de la centrale.
- Fermez la trappe et returnnez la centrale.
You'veaffectélecode radio personnaliseàla centrale.
La centrale continue à émettre des grésillements car elle est toujours en mode "test" pour vous permettre de tester les autres apparêils.
4.3 CODEZ LES TÉLÉCOMMANDES CODEZ LES TÉLÉCOMMANDES LT602, LT601P
- Placez les deux ergots de positionnement du gabarit de codage dans les trous correspondants.
- Maintenez le gabarit et mettez la pointe du foret de codage dans le premier trou ouvert du gabarit. Appuyez sur le foret en le tournant dans le sens des aiguilles d'une montre pour supprimer la connexion de codage correspondante. Arrêtez-vous lorsque le manche du foret bute sur le gabarit de codage.
- Recommence l'opération précédente pour chaque trou pratique dans le gabarit.
-
Enlevez le gabarit de codage et faites tomber les copeaux hors de la télécommande.
-
Appuyez sur n'importe qu'elle touche de la télécommande.
-
Refermez la télécommande.
La centrale répond par une série de messages sonores à 2 tons du type : “Li.tut, Li.tut, Li.tut...”.
La centrale signale aussi la prise en compte de l'ordre envoyé depuis la télécommande en faisant clignoter son ou ses voyants correspondants :
| Touché télécommande | Voyant centrale | |
| ARRÊT | ou | ARRÊT |
| MARCHE PARTIELLE | SURVEILLANCE ZONE 1 + 2 | |
| MARCHE TOTALE | SURVEILLANCE ZONE 1 + 2 et SURVEILLANCE ZONE 3 + 4 | |
| URGENCE | URGENCE | |
- Si la centrale ne répond pas comme prévu ou n'éclaire pas le(s) voant(s) correspondant(s), repreneze le codage de la télécommande. Si le problème persististe, repreneze le codage de la centrale et essayez à nouveau.
You've ase affectede le code radio personalise à la telecommande.
Répétez cette procédure pour chacune des télécommandes LT602 ou LT601P.
CODEZ LES TÉLECOMMANDES LT606, LT604, LT605 :
Le codage de la télécommande se fait par programmation. Vous n'utiliserez pas le gabarit de codage.
Vous allez programmer le code radio personnelisé par appuis successifs sur les touches de la télécommande puis vous allez programmer la touche P (LT605 uniquement).
Le code radio personnelisé programme lorsque vous sortez la télécommande de son emballage est identique à un code vierge (aucune connexion de codage coupée).
- Réutilisez le tableau qui vous a été utile pour lechioix du code (chapitre 4.1):
| 1 | 2 | 3 | 4 | 5 | 6 | 7 | 8 | 9 | 10 | |
| Code radio personnelisé | ||||||||||
| Code télécommande |
- Cochez sur la 1^re ligne les cases correspondant au code radio personnelisé.
-
Sur la 2^e ligne de votre tableau, au dessous de chaque croix, dessinez le pictogramme
-
Complétez les cases vides de la 2^e ligne en dessinant le pictogramme .
Exemple : vous avez percé sur chacun des apparéils Logisty les connexions 2, 7 et 8.
| 1 | 2 | 3 | 4 | 5 | 6 | 7 | 8 | 9 | 10 | |
| Code radio personnelisé | X | X | X | |||||||
| Code télécommande |
- Vous obtenez une succession de et qui est le code à programmer sur la télécommande.
- Codez la télécommande en effectuant la procEDURE suivante :

Attention: si au cours de la manipulation vous appuyez sur une touche non autorisée, si vous attendez plus de 5 secondes entre 2 appuis ou si l'appui sur et n'est pas simultané, alors vous sortez du mode programmation: levoyant rouge s'éteint, la programmation est incorrecte. Le code précédemment programme est conservé. Recommencez l'opération depuis le début.
- Appuyez sur n'importequelle touche,
La centrale répond par une série de messages sonores à 2 tons du type : “Li.tut, Li.tut, Li.tut...”.
La centrale signale aussi la prise en compte de l'ordre envoyé depuis la télécommande en faisant clignoter son ou ses voyants correspondants :
| Touché télécommande | Voyant centrale | |
| ARRÊT | (LT604, LT605) | ARRÊT |
| MARCHEPARTIELLE | SURVEILLANCE ZONE 1 + 2 | |
| MARCHTOTALE | SURVEILLANCE ZONE 1 + 2etSURVEILLANCE ZONE 3 + 4 | |
| URGENCE | URGENCE | |
- Si la centrale ne répond pas comme prévu, reprenez d'abord le codage de la télécommande. Si le problème persististe, repreneze le codage de la centrale et essayez à nouveau.
Vous avez affecté le code radio personnelisé à la télécommande. Répétez cette procédure pour chacune des télécommandes LT606, LT604, LT605.
LT605 : TOUCHE PROGRAMMABLE P
Sur la télécommande LT605 vous pouvez programmer
la touche P conformément aux besoin de l'utilisateur.
(Le codeprogrammé lorsquésyoussortezlaLT605de son emballage est celui de la fonction APPEL D'URGENCE).
- APPEL D'URGENCE : déclenchement de tous les moyens d'alerte et la sirène intégrée de la centrale,
- ALERTSE SILENCIEUSE : avec une centrale L2302F,
déclenchement du transmetteur téléphonique sans les sirènes. Cet usage est particulièrement adapté à la protection des personnes maladies ou agées. Éprouvant un malaise ou une gène, elles alertent leurs proches sans déclencher les sirènes qui les paniqueraient.
-
APPEL SONORE : déclenchement d'un bip sonore sur la centrale (par exemple, personne malade désirant appeler à son chevet un proche liéven dans la maison).
LUMIÈRE : déclenchement d'un éclairage via le récepteur de commande RP550. -
Appuyez simultanément sur les touches et P. Le voyant rouge s'éCLAIRE fixement : vous étes en mode programmation.
- Tant que levoyant rouge est encore éclairé fixement, tapez successivement la série de touches P composant le code que vous désirez affecter à la touche P.
| Fonction | Code touche P | ||||||
| URGENCE | P | P | P | P | P | ||
| ALERTE SILENCIEUSE | P | P | P | P | P | ||
| APPEL SONORE | P | P | P | P | |||
| LUMIÈRE | P | P | P | P | |||
- Appuyez ensuite sur la touche P
Levoyant rouge clignote:youaveszvalidatedela fonctionde la touche P et yousortez du modeprogrammation.
Attention: si au cours de la manipulation vous appuyez sur une touche non autorisée, si vous attendez plus de 5 secondes entre 2 appuis, si le nombre d'appuis est supérieur à 8 ou si l'appui sur et n'est pas simultané alors vous sortez du mode programmation, le voyant rouge s'éteint, la fonction précédemment programmée est conservée. Recommenz l'opération depuis le début.
- Faites un essai avec la centrale en appuyant sur la touche P. La centrale signale la prise en compte de l'ordre envoyé depuis la télécommande en faisant cligneter sonvoyant correspondant (sauf pour Lumière).
| Touché télécommande P | Voyant centrale |
| URGENCE | URGENCE |
| ALERTE SILENCIEUSE | INONDATION/AUXILIAIRE (L2302F) |
| APPEL SONORE | CHANGEMENT PILES |
Si la centrale ne répond pas comme prévu, recommencez l'opération depuis le début.
Pour le code Lumière, vérifie si le récepteur de commande RP550 réagit.
Vous avez affecté un code spécifique à la touche P de la télécommande LT605.
Cette fonctionnalité n'est disponible que sur les LT605.
Répétez cette procédure pour chacune des télécommandes LT605.
4.4 CODEZ LE CLAVIER L2621F
Vous allez programme le code radio personnelisé sur le clavier puis un code d'accès secret.
PROGRAMMATION DU CODE RADIO PERSONNALISÉ
Le codage du clavier se fait par programmation. Vous n'utiliserez pas le gabarit de codage.
Vous allez programmer le code radio personnelisé par appuis successifs sur les touches du clavier.
- Réutilisez le tableau précédent (chapitre 4.1):
| 1 | 2 | 3 | 4 | 5 | 6 | 7 | 8 | 9 | 10 | |
| Code radio personnelisé | ||||||||||
| Code clavier |
- Cochez sur la 1^re ligne les cases correspondant au code radio personnelisé.
- Sur la 2^e ligne du tableau, écrivez un "0" (zéro) au dessous de chaque croix.
- Complétez les cases vides de la 2^e ligne par des "1" (un). Exemple : vous avez percé sur chacun des apparèils les connexions 2, 7 et 8.
| 1 | 2 | 3 | 4 | 5 | 6 | 7 | 8 | 9 | 10 | |
| Code radio personnelisé | X | X | X | |||||||
| Code clavier | 1 | 0 | 1 | 1 | 1 | 1 | 0 | 0 | 1 | 1 |
- Vous obtenez une succession de "0" et de "1" qui est le code à programmer sur le clavier.
Attention: le code 000000000 est interdit.
- Vous allez maintainant le programme sur le clavier par l'intermédiaire des touches.
Prenez le temps d'appuyer suffisamment sur chaque touche comme lorsque vous retirez de l'argent à un distributeur de billets.
- Prenez le clavier et composez :

Attention: (*) Appuyez bien sur la première touche obligatoire 8 tant que levoyant jaune est encore éclairé.
Si vous vous trompez dans la manipulation attendez que tous les voyants soient eteints 5 secondes avant d'entrepreneire un nouvel essai.
You'veaffectélecode radio personnaliseauclavier.
Exemple : vous avez percé sur chacun des apparéils les connexions 2, 7 et 8.
Tapez sur le clavier
| 1 | 2 | 3 | 4 | 5 | 6 | 7 | 8 | 9 | 10 | |
| Code radio personnelisé | X | X | X | |||||||
| Code clavier | 1 | 0 | 1 | 1 | 1 | 1 | 0 | 0 | 1 | 1 |
2 9 9 9 9 8 8 1 0 1 1 1 1 0 0 1 1 8
NB: le temps maximum entre 2 appuis est de 4 secondes.
- Vérifie le code radio personnelisé en respectant la procédure suivante :

La centrale signale la prise en compte de l'ordre envoyé en faisant clignoter le(s)voyant(s) correspondant(s). Si la centrale ne répond pas comme prévu, recommencez l'opération depuis le début.
PROGRAMMATION DU CODE D'ACCES SECRET
Vous doivent remplanter le code d'accès d'origine 9999 par un code d'accès secret. Il en va de la sécurité de l'habitation.
Les touches de commande ARRET, MARCHE PARTIELLE, MARCHE TOTALE du système d'alarme ne seront alors accessibles qu'aupres avoir tapé le code d'accès secret.
- Demandez à l'utilisateur deCHOISIR un code d'accès à 4 chiffres sauf "0000". Par souci de confidentialité, l'utilisateur doit éviter de le noter.
- Prenez le clavier et appuyez successivement sur les touches comme décrit ci-dessous:

Attention: (*) Appuyez bien sur la première touche obligatoire 5 tant que levoyant jaune est encore éclairé.
Si vous vous trompez dans la manipulation attendez que tous les voyants soient eteints 5 secondes avant d'entrepreneire un nouvel essai.
Vous avez affecté un code d'accès secret au clavier.
Ultérieurement, pour changer de code d'accès secret, suivez la même procédure que précédemment. Remplacez le code d'accès d'origine 9999 par le code d'accès à modifier.

Pour commander le système à partir du clavier :
Attention : (*) appuyez bien sur la touche de commande (pictogramme) tant que levoyant jaune est encore allumé. Si vous vous trompez dans la manipulation attendez que tous les voyants soient eteints 5 secondes avant d'entrepreneire un nouvel essai.
NB: Les touches APPEL D'URGENCE (appui simultané sur les touches * et # ), LUMIERE et SONNETTE restent à accès direct (pas besoin de code d'accès secret).
MODIFICATION DES ACCÉS AUX COMMANDES
Attention : les fonctions décrites dans ce chapitre ne sont pas indispensablees à l'installation du système Logisty. Elles ne sont que des options.
En fonctions des besoin de l'utilisateur, vous pouvez decide de rendre une, plusieurs ou toutes les touches de commande accessibles directement (sans code d'accès). Dans ce cas, les précautions d'utilisation serontidentiques à cellesd'une télécommande.
L'appeil d'urgence (si la fonction a ete selectionnee) se fait always par acces direct sur le clavier par appui simultané sur les touches * et du clavier.
Accès direct pour toutes les touches de commande :
Sur le clavier tapez :

Les 5 commandes du clavier sont désormais à accès direct, un simple appui sur la touche correspondante suffit à les.Valider :
ARRET, MARCHE PARTIELLE, MARCHETOTALE SONNETTE, LUMIERE
Accès codé pour toutes les touches de commande (y compris SONNETTE , LUMIERE ):
Sur le clavier tapez :

Les 5 commandes du clavier sont désormais à accès code, l'utilisation du code d'accès secret est nécessaire pour les.Valider :
ARRET, MARCHE PARTIELLE, MARCHETOTALE, SONNETTE, LUMIERE
Accès direct pour les touches de commande SONNETTE LUMIERE (si ces commandes ont été préalablement mises en accès code):
Pour rendre les deux touches SONNETTE 7 , LUMIERE à accès direct, tapez sur le clavier :

Pour rendre seulement la touche SONNETTE à accès direct (toutes les autres commandes étant en accès code), tapez sur le clavier :

Pour rendre seulement la touche LUMIERÉ à accès direct (toutes les autres commandes étant en accès codé), tapez sur le clavier :



Example :


Example :
4.5 CODEZ LES DETECTEURS DE MOUVEMENT L2101F
- Ouvrez le boftier du détecteur, enlevez la pile.
- Placez les ergots de positionnement du gabarit de codage dans les trous correspondants.
- Maintenez le gabarit et mettez la pointe du foret de codage dans le premier trou ouvert du gabarit. Appuyez sur le foret en le tournant dans le sens des aiguilles d'une montre pour supprimer la connexion de codage correspondante. Arrêtez-vous lorsque le manche du foret bute sur le gabarit de codage.
- Recommencez l'opération pour chaque trou pratique dans le gabarit.
- Otez le gabarit de codage et faites tomber les copeaux hors du détecteur. Remettez la pile.
- Vérifiez que la position des 2 micro-interrupteurs correspond bien à la zone à affecter (cf tableau chapitre 3.4).
-
Appuyez sur la touche de test du détecteur. Son voyant rouge s'éclaire.
-
Centrale L2302F : levoyant spécifique correspondant à la zone que vous avez affectée au détecteur s'écaille.
- Centrale L2301F : levoyant "intrusion" s'éclaire.
Le code radio personnelisé est affecté au détecteur. Le détecteur est pré à être installé.
Répétez cette procédure pour chacun des détecteurs de mouvement.
4.6 CODEZ LES DETECTEURS D'OUVERTURE L2201F, L2202F, LES DETECTEURS D'OUVERTURE ET DE BRIS DE VITRE L2203F, L2204F
- Ouvrez le boitier du détecteur et faites basculer la trappe sur le côté.
- Placez les ergots de positionnement du gabarit de codage dans les trous correspondants.
- Maintenez le gabarit et mettez la pointe du foret de codage dans le premier trou ouvert du gabarit. Appuyez sur le foret en le tournant dans le sens des aiguilles d'une montre pour supprimer la connexion de codage correspondante. Arrêtez-vous lorsque le manche du foret bute sur le gabarit de codage.
- Recommencez l'opération précédente pour tous les trous correspondant au code radio personnelisé.
- Enlevez le gabarit de codage et faites tomber les copeaux hors du détecteur.
- Vérifiez que la position du micro-interrupteur correspond bien à la zone affectée (cf tableau chapitre 3.5)
- Appuyez sur la touche de test du détecteur. Son voyant rouge s'éclaire. La centrale répond par une série de messages sonores à 2 tons du type : "Li.tut, Li.tut, Li.tut..."
- centrale L2302F : levoyant spécifique correspondant à la zone que vous avez affectée au détecteur s'éclaire .
- centrale L2301F : levoyant “intrusion” s'éclaire.
Le code radio personnelisé est affecté au détecteur. Le détecteur est pré à être installé.
Répétez cette procédure pour chaque des détecteurs d'ouverture ou d'ouverture et de bris de vitre.
Fixez le système d'alarme Logisty
Le but de ce chapitre est de vous guider pour fixer le système d'alarme dans l'habitation.
Munissez-vous :
- d'un tournevis plat (4 mm),
- d'un tournevis cruciforme (3 ou 4 mm),
- d'une perceuse avec un foret béton (6 mm).
Attention :CHOISSEZ bien l'emplacement des appeareils en respectant les consignes du chapitre 2 "Ou installer le systeme d'alarme Logisty ?".
Vous allez d'abord fixer la centrale en mode test, puis le clavier et les détecteurs.
5.1 FIXEZ LA CENTRALE EN MODE TEST
La fonction d'écoute radio permet de déterminer le meilleur emplacement pour la centrale :
Prenez la centrale (toujours en mode test c'est à dire sans son gabarit de fixation murale afin qu'elle ne déclenché pas sa sirène intégrée de 110 dB) et présentez-la à l'endroit choisi.
- Si les grésillements sortant du haut-parleur de la centrale sont peu différents, l'endetroit可以选择 convient.
- Si les grésillements sortant du haut-parleur sont trop différents, déplacez la centrale pour trouver un endroit où il y enaura moins.
Important: fixez la centrale sur une surface dure et lisse (évitez moquettes murales, crépis à gross grains) afin que le pion d'autoprotection soit bien plaqué au mur.
Prévoyez un espace suffisant pour le passage des antennes.
- Fixez le gabarit de fixation murale en trois points avec les chevilles et les vis fournies du sachet d'accessoires ou d'autres mistroux adaptées si nécessaire.
Ne rajoutez pas de rondelles sur les points de fixations hautes.
Otez une des 2 rondelles plastiques du gabarit de fixation pour la fixationasse du gabarit.
Le pion d'autoprotection doit être plaqué au mur sans jeu. Une fois fixé au mur en trois points, le gabarit de fixation assurera une fixation sère et efficace de la centrale. - Verrouillez la trappe d'accès aux piles à l'aide de la vis fournie dans le sachet d'accessoires.



Accrochez la centrale sans la clipser

Socle vu de dos


- Présentez la centrale au-dessus du gabarit de fixation murale en l'inclinant un peu par rapport à la verticale (les antennes se courbent contre le mur).
Accrochez-la sur les deux points de fixation haute sans la clipser sur l'ergot de verrouillage, cela aurait pour effet de la sortir du mode test et vous déclancheriez sa sirène intégrée à la fixation des détecteurs.
La centrale est toujours en mode test.
5.2 FIXEZ LE CLAVIER
- Présentez le clavier à l'endetroit choisi pour sa fixation (se reporter au chapitre 2.6).
- Envoyez l'ordre ARRET 2 x x x x a la centrale depuis le clavier.
La centrale répond par un message sonore à deux tons du type "Li.tut Li.tut" et sonvoyant ARRET s'éclaire.
Le clavier et la centrale communiquent bien.
Nota : si lorsque vous envoyez un ordre depuis le clavier, la centrale ne répond pas ou répond par un message sonore à un seul ton du type “Tut.Tut.Tut” sans éclairage devoyant, cela signifie que la transmission radio n'est pas bonne. Dans ce cas, modifier l'emplacement du clavier.
- Préparez et fixez le socle :
Ouvrez le clavier, prenez le socle et placez le pion d'autoprotection dans son logement.
Enlevez le film de protection du joint adhésif noir puis collez-le sur l'arrière du socle.
Utilisez le socle comme gabarit de pointage pour repérer les 4 points de fixation sur le mur.
Le personnelage gravé à l'intérieur du socle indique le sens de montage.
- Fixez le socle en utilisant les chevilles, les rondelles et les vis fournies ou d'autres比较好es si nécessaire.
Préserrez les 4 vis puis vissez progressivement le tout sans tropic forcer.
- Accrochez la face avant du clavier sur les 2 ergots situés en haut du socle.
B Refermez le clavier en appuyant fermement sur la base du clavier.
Vous doivent entendre un "click" attestant que le clavier est bien verrouillé et ne peut plus être ouvert manuellement.
Verifiez de nouveau la bonne communication avec la centrale par l'envoi d'un ordre d'arrêt : 2 x x x x
Le clavier est prêt à fonctionner.
5.3 FIXEZ LES DETECTEURS DE MOUVEMENT


- Détérincez l'endetroit exact de fixation du détecteur (se reporter au chapitre 2.5).
- Percez le mur à l'endetroit choisi et placez la chevelle fournie ou une(AP)
mieux adaptee si nécessaire.
Enfilez la vis fournie dans la rotule, le fond du boîtier et la contre-rotule.
Présentez l'ensemble dans la chevelle et vissez sans trop serrer.
- Le fond de boitier est fixé, orientez-le approximativement. Clipsez le détecteur sur son fond.
- Appuyez sur la touche test du détecteur pour lemettre en mode test. Levoyant rouge s'éclaire durant l'appui et le détecteur envoie un signal radio à la centrale qui répond par une série de messages sonores à deux tons du type : “Li.tut, Li.tut, Li.tut...” et en éclairant levoyant associé.
Vérifiez que vous avez bien affecté le détecteur à la bonne zone (cf chapitre 3.4).
Nota : si la centrale ne répond pas par le message sonore habituel mais par un message sonore à une seul ton du type “Tut..Tut..Tut...” sans éclairage de voirant cela signifie que la transmission radio entre le détecteur et la centrale n'est pas bonne. Dans ce cas modifie l'emplacement du détecteur de façon à avoir une bonne transmission.
5. ÀpRES avoir appuyé sur la touche test, vous pouvez tester la détction de mouvement pendant 1 minute 30 secondes. ÀpRES ce laps de temps le détecteur se remet en fonctionnement normal, le voyant ne s'éclairera plus lors d'une détction. ÀpRES avoir détecté un mouvement et émis le message vers la centrale, le détecteur n'enverra de nouveau message radio qu'après 1 minute 30 secondes.
6. Passez une ou plusieurs fois devant le détecteur : levoyant rouge s'éclaire pour vous signaler la détction, le détecteur envoie un signal radio à la centrale qui répond par un message sonore
"Li.tut, Li.tut, Li.tut" et éclaire levoyant correspondant.Modifiez si nécessaire l'orientation du détecteur.
- Une fois le réglage d'orientation terminé, ouvre le boîtier du détecteur et bloquez la rotule sans trop forcer.
La centrale étant en mode test ne va pas déclencher sa sirène intégrée en détectant l'autoprotection à l'ouverture du détecteur. Refermez le détecteur.
Le détector de mouvement est fixé et fonctionne, recommENCEZ les opérations precedentes pour tous les autres.
La fixation définitive de la centrale se fera après avoir vérifié les liaisons radio avec les différents détecteurs du système.

INTÉRIEUR DES BOITIERS (VUE DE FACE)

VUES DE DESSUS

PORTE-AIMANT
5.4 FIXEZ LES DETECTEURS D'OUVERTURE
- Détérince l'endetroit exact de fixation du détecteur (se reporter au chapitre 2.3).
- Fixez le fond du détecteur en utilisant les vis et les chevilles fournies ou une(AP)approximée si nécessaire.
- Ajustez la hauteur du porte-aimant avec les cales d'épaissur de façon à ce qu'il soit fixé à la même hauteur que le détecteur et à moins de 5 mm de celui-ci. Alignez les flèches situées au fond des boîtiers.
Après avoir fixé le porte-aimant, placez l'aimant à l'intérieur de celui-ci (entre les deux vis, dans la gorge prévue à cet effet). Clipsez ensuite le capot du porte-aimant.
- Clipsez le détecteur sur son fond.
- Appuyez sur la touche test du détecteur pour lemettre en mode test. Levoyant rouge s'éclaire durant l'appui et le détecteur envoie un signal radio à la centrale qui répond par une série de messages sonores à deux tons du type : “Li.tut, Li.tut, Li.tut...” et en éclairant le voyant associé.
Vérifiez que vous avez affecté le détecteur à la bonne zone.
Nota : si la centrale ne répond pas par le message sonore habituel mais par un message sonore à un seul ton du type “Tut..Tut..Tut...” sans éclairage de voirant cela signifie que la transmission radio entre le détecteur et la centrale n'est pas bonne. Dans ce cas modifiez l'emplacement du détecteur de façon à avoir une bonne transmission.
6. ÀpRES avoir appuyé sur la touche test, vous pouvez tester la détction d'ouverture pendant 1 minute 30 secondes. ÀpRES ce laps de temps le détector se remet en fonctionnement normal, le voyant ne s'éclairera plus lors d'une détction. ÀpRES avoir détecté une ouverture et émis le message vers la centrale,le détector n'enverra de nouveau message radio qu'après 1 minute 30 s.
7. Ouvrez l'entrée protégée par le détecteur : le voyant rouge s'éclaire pour vous signaler l'ouverture, le détecteur envoie un signal radio à la centrale qui répond par un message sonore : "Li.tut, Li.tut".
Refermez l'entrée : levoyant rouge s'eteint.
Le détector d'ouverture est fixé et fonctionne, recommENCEZ les opérations precedentes pour tous les autres détecteurs d'ouverture.
5.5 FIXEZ LES DETECTEURS D'OUVERTURE ET DE BRIS DE VITRE
- Détérince l'endetroit exact de fixation du détecteur (se reporter au chapitre 2.4).
- Fixez le fond du détecteur sur la partie mobile de la fenêtre en utilisant les vis et les chevilles fournies ou d'autres moins adaptées si nécessaire.
- Ajustez la hauteur du porte-aimant sur la partie fixe avec les cales d'épaissur de façon à ce qu'il soit place à la même hauteur que le détecteur et à moins de 5 mm de celui-ci. Alignez les flèches situées au fond du boîtier.
Après avoir fixé le porte-aimant, placez l'aimant à l'intérieur de celui-ci (entre les deux vis, dans la gorge prévue à cet effet). Clipsez ensuite le capot du porte-aimant.

Fixez le capteur de bris de vitre dans l'un des coins de la vitre à environ 2,5 cm de l'angle, à l'aide du double-face fourni.
La fixation ideale se fait sur une vitre propre et s'est à une température comprise entre 21 et 38^ .
Plaquez fermement quelques secondes le capteur de bris de vitre sur la vitre.
-
Clipsez le détecteur sur son fond.
-
Appuyez sur la touche test du détecteur pour lemettre en mode test. Levoyant rouge s'éclaire durant l'appui et le détecteur envoie un signal radio à la centrale qui répond par une série de messages sonores à deux tons du type : “Li.tut, Li.tut, Li.tut...” et en éclairant le voyant associé.
Vérifiez que vous avez affecté le détecteur à la bonne zone (cf. chapitre 3.5).
Nota : si la centrale ne répond pas par le message sonore habituel mais par un message sonore du type “Tut..Tut..Tut...” sans éclairage de voyant cela signifie que la transmission radio entre le détecteur et la centrale n'est pas bonne. Dans ce cas modifiez l'emplacement du détecteur de façon à avoir une bonne transmission.
- Testez le détector :
Tapez sur la vitre à proximé du capteur de bris de vitre avec le manche d'un tournevis :
- levoyant rouge s'éclaire pour vous signaler la détction,
- le détecteur envoie un signal radio à la centrale qui répond par un message sonore "Li.tut, Li.tut",
levoyant rouge s'eteint.
Ouvrez la fenêtre protégée par le détecteur : levoyant rouge s'éclaire pour vous signaler l'ouverture, le détecteur envoie un signal radio à la centrale qui répond par un message sonore "Li.tut, Li.tut".
Refermez la fenêtre : le voyant rouge s'éteint.
- Vous pouvez ainsi tester la détction d'ouverture ou de bris de vitrependant 1 minute 30 secondes après avoir appuyé sur la touche test.
Après ce laps de temps le détecteur se mettra en fonctionnement normal, le voyant ne s'éclairera plus lors de chaque détction et le détecteur n'enverra des signaux radio à la centrale qu'au maximum toutes les 1 minute 30 secondes.
Le détecteur d'ouverture et de bris de vitre est fixé et fonctionne, recommencce les opérations précédentes pour tous les autres détecteurs d'ouverture et de bris de vitre.
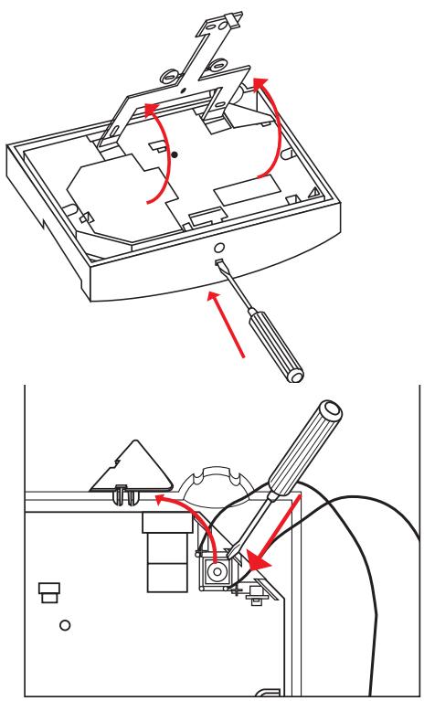
5.6 FIXEZ DÉFINITIVÉMENT LA CENTRALE
- Clipsez la centrale sur son gabarit de fixation avec précaution, pour ne pas endommager le pion d'autoprotection.
- Bloquez la centrale sur le gabarit de fixation à l'aide de la 2^e petite vis fournie dans le sachet d'accessoires.
La centrale passe automatiquement en fonctionnement normal.
NB: Si vous essayez de l'enlever de son gabarit de fixation la sirène intégrée sera déclenchée (autoprotection à l'arrachement).
La centrale est prete à fonctionner, elle n'émet plus de grésillements.
Vous allez maintainant simuler une intrusion dans l'habitation. Cet essai réel va déclencher les moyens d'alerte, aussi nous vous conseillons de prévenir avant les voisins et les correspondants de l'utilisateur et de ne pas laisser sonner les sirènes trop longtemps.
- Prenez la télécommande et sortie des locaux protégés. Si l'utilisateur n'a qu'un clavier : placez vous à proximé du clavier hors de portée d'un détecteur de mouvement.
- Mettez la centrale en marche totale : appui sur la touche de la télécommande
ou appuis successifs 2 X X X X sur le clavier code d'accès secret
La centrale émet immédiatement une première série de messages sonores : “Lou, Lou, Lou...”.
- Au bout de 1 minute 30 secondes, la centrale émet une deuxieme série de messages sonores de type "Lou, Lou, Lou..."
Cette durée (temporisation de sortie) permet à l'utilisateur de sortir de chez lui après avoir mis en marche sa centrale sans faire déclencher les moyens d'alerte.
L'habitation est alors sous surveillance.
Ouvrez une issue protégée ou passez devant un détecteur de mouvement.
- L'alarme se déclenché immédiatement si le détecteur sollicité est à déclenchement immédiat (zone 1 ou 3).
L'alarme se déclenché après 20 ou 40 secondes selon le paramétrage de la centrale si le détecteur sollicité est à déclenchement retardé (zone 2 ou zone 4).
- Arrêtez les moyens d'alerte et la sirène intégrée de la centrale en appuyant sur la touche de la télécommande ou en appuyant successivement sur les touches du clavier.
La centrale vous signale alors qu'il y a eu une intrusion (cf Guide d'utilisation de votre système d'alarme).
- Recommencé la même opération avec la commande MARCHE PARTIELLE pour vérifier le bon fonctionnement du système en marche partielle (les détecteurs affectés aux zones 3 et 4 ne seront plus pris en compte).
Nous vous conseillons de faire un essai réel pour chacun des détecteurs.
Le système est installé et en parfait état de fonctionnement.
Vous le compléterez en vous reportant aux guides spécifique d'installation des sirènes d'alarme L2401F, L2402F, LS401, du transmetteur téléphonique LK401F, des récepteurs de commande LP501, de la commande d'alarme par téléphone LT430...
7
Changez les piles du système d'alarme Logisty
Tous les apparèls Logisty ont une durée moyenne d'autonomie de deux ans avec les piles fournies et dans des conditions d'utilisation normale. Ils disposent tous d'un contrôle de bon état de leurs piles (sauf LP501), chacun ayant une réserve de marche d'environ un mois après la première signalisation de piles usagées.
La centrale contrôle l'etat de ses piles et de celles des détecteurs d'intrusion. ÀpRES avoir tapé la commande de MARCHE PARTIELLE ou de MARCHE TOTALE sur la télécommande ou le clavier, la centrale signale les piles usagées :

- un message sonore hachué "bip, bip,... bip, bip ..." suit le message sonore de mise en marche,
- Centrale L2302F :
- si levoyant "CHANGEMENT PILES" sur la face avant s'éclaire pendant 10 secondes, les piles de la centrale sont usagées,
- si levoyant "CHANGEMENT PILES" et levoyant d'une zone (1, 2, 3 ou 4) clignotent : la pile d'un ou plusieurs détecteurs d'intrusion de la zone indiquée est usagée.
- si levoyant "CHANGEMENT PILES" et levoyant "INCENDIE, EDF, INONDATION..." clignotent : la pile d'un ou plusieurs détecteurs domestiques est usagée.
- Centrale L2301F :
- si levoyant "CHANGEMENT PILES" sur la face avant s'éclaire pendant 10 secondes, les piles de la centrale sont usagées,
- si levoyant "CHANGEMENT PILES" et "INTRUSION" clignotent : la pile d'un ou plusieurs détecteurs d'intrusion est en défaut.
Chaque détecteur dispose aussi d'une touche de test et d'un voyant de bon état de pile.
Pour identifier le(s) détecteur(s) concerné(s), appuyez successivement sur la touche test de chaque détecteur. Voyant test éclairé : pile correcte. Voyant test étèint : pile usagée.
Avant de nous returner un apparéil présumé défectueux, vérifiez bien que ses piles ne sont pas simplement hors d'usage.
Les apparêils sont alimentés obligatoirement par des piles alcalines ou lithium-manganèse (selon indications Logisty). Les apparêils Logisty ne sont pas garantis en cas d'utilisation de piles zinc-charbon ou d'alimentation externe.
CENTRALE :
La centrale contrôle automatiquement l'etat de ses quatre piles. Elle signale qu'il faut les changer environ un mois avant leur usure complète. Changez alors les quatre piles en même temps en suivant les opérations suivantes :
- Mise en mode test de la centrale :
Pour ne pas déclencher les moyens d'alerte, lisez d'abord tout le texte suivant avant de réaliser les opérations décrites.
Devissez la vis de blocage de la centrale. Munissez-vous d'une télécommande, si l'utilisteur n'en possède pas, demandez lui de se poster près de son clavier. Placez vous à hauteur de la centrale avec un tournevis plat de façon à pouvoir la décrocher de son gabarit de fixation.
- Appuyez sur la touche ARRET de la télécommande ou demandez à l'utilisateur qu'il compose la commande
ARRET 2 x x x x sur le clavier. La centrale répond par un message sonore "Liiii...".
Décrochez la centrale de son gabarit de fixation pendant le message sonore “Liiii...”. Pour cela, poussez l'ergot de verrouillage avec un tournevis puis tirez doucement la centrale vers vous en la remontant un peu.
Si l'alarme se déclenché, appuyez sans forcer pendant quatre secondes sur la touche ARRET de la télécommande ou faites taper la commande ARRET sur le clavier. Une sonnerie d'alarme ne peut être interrompue que trois secondes après son déclenchement. La centrale décrochée passera en mode test après avoir reçu un ordre d'arrêt.
- La centrale ainsi décrochee est en mode test.
- Enlevez l'ensemble des piles de la centrale et attendez 2 mn avant de connecter les nouvelles piles. Effectuez ensuite les opérations décrites au cours du chapitre 3.3.
- Remettez la centrale en place sur son gabarit et vérifiez que l'ergot de verrouillage est bien en place. La centrale passe alors du mode test au fonctionnement normal. Revissez la vis de blocage de la centrale.
Le système est de nouveau en etat de fonctionner.
DÉTECTEURS :
Contrôle automatique de l'objet des piles :
La centrale mémorise l' état des piles des détecteurs et signale un évientuel défaut lors d'une mise en marche.
Test manuel :
Vous pouvez faire un test de bon etat de la pile d'un détecteur en appuyant sur la touche test de celui-ci. Si levoyant ne s'éclaire pas vous devez changer sa pile.
Changez la pile en suivant les opérations suivantes :
- Pour éviter de déclencher une alarme en ouvrant le détecteur (qui est autoprotégé à l'ouverture) appuyez sur la touche "ARRET" d'une télécommande ou demandez à l'utilisateur qu'il compose la commande "ARRET" sur son clavier. La centrale répond par un message sonore continu "Liii...". Ouvrez le détecteur pendant le message sonore "Liiii...". Si l'alarme se déclenché, appuyez sans forceur sur la touche ARRET de la télécommande ou faites composer la commande ARRET sur le clavier. Une sonnerie d'alarme ne peut être interrompue que 3 secondes après son déclenchement.
- Enlevez la pile et attendez 2 mn avant de connecter la nouvelle pile (cf chapitre 3.4 et 3.5).
- Refermez ensuite le détecteur. Vérifiez son bon fonctionnement en appuyant sur sa touche test : son voyant rouge s'éclaire.
Le système est de nouveau en etat de fonctionner.
TELECOMMANDES
Lorsque l'éclairage duvoyant rouge de la télécommande devient très faible, vous doivent changer toutes les piles de la télécommande. La programmation des télécommandes LT606, LT604, LT605 est sauvegardée pendant le changement des piles.
CLAVIER
Lorsque l'éclairage duvoyant rouge du clavier devient très faible, vous nevez changer sa pile. Vous nevez connecter la nouvelle pile en moins d'1 mn pour ne pas perdre la programmation du clavier.
8.1 VOUS VOULEZ MODIFIER LE CODE RADIO PERSONNALISÉ?
- Prenez le gabarit de codage qui vous a servi à reproduce le code sur chacun des appareils.
- Percez un trou supplémentaire selon votrechoix dans le gabarit en suivant les opérations décrites dans ce guide au chapitre 4. Vous obtenez ainsi un nouveau code radio personnelisé.
- Demontez tous les apparêils.
- Reportez le nouveau code sur tous les apparciels en suivant les opérations décrites dans ce guide au chapitre 4.
- Replacez les appareils en suivant les opérations décrites dans ce guide au chapitre 5.
- Faites une vérification du fonctionnement de chaque apparéil.
8.2 VOUS VOULEZ DEPLACER LA CENTRALE ?
- Mise en mode test de la centrale :
Pour ne pas déclencher les moyens d'alerte, lisez d'abord tout le texte suivant avant de réaliser les opérations décrites.
Dévissez la vis de blocage de la centrale. Munissez-vous d'une télécommande, si vous n'en avez pas demandez à l'utilisateur qu'il se poste pres de son clavier. Placez vous à hauteur de la centrale avec un tounevis plat de façon à pouvoir la décrocher de son gabarit de fixation.
- Appuyez sur la touche ARRET de la télécommande ou demandez à l'utilisateur qu'il compose la commande
ARRET 2 x x x x sur le clavier. La centrale répond par un message sonore "Liiii...".
Décrochez la centrale de son gabarit de fixation pendant le message sonore "Liiii...". Pour cela, poussez l'ergot de verrouillage avec un tournevis puis tirez doucement la centrale vers vous en la remontant un peu.
Si l'alarme se déclenché, appuyez sans forcer pendant quatre secondes sur la touche ARRET de la télécommande ou tapez la commande ARRET sur le clavier. Une sonnerie d'alarme ne peut être interrompue que trois secondes après son déclenchement. La centrale décroche passera automatiquement en mode test après l'arrêt.
- La centrale ainsi décrochée est en mode test.
- Replacez la centrale en suivant les indications du chapitre 5.
8.3 L'UTILISATEUR A PERDU SA TÉLECOMMANDE ?
L'utilisateur peut rentrer chez lui pour prendre la télécommande de secours qu'il a cachée dans un endroit protégé ou il se sert de son clavier. Si l'utilisateur ne retrouve pas sa télécommande, changez le code radio personnelisé sur tout le système.
8.4 UN DÉTECTEUR DE MOUVEMENT DÉCLENCHÉ L'ALARME SANS Raison APPARENTE ?
Vérifiez que vous l'avez installé selon les indications de ce guide. Si nécessaire, déplacez le détecteur de mouvement.
8.5 UN APPAREIL SEMBLE DÉFECTUEUX?
Comparez le comportement de l'appareil aux spécifications qui vous sont données et vérifie l'état de sa(ses) pile(s). Si malgré tout le défaut persististe et avant tout return, téléphone à notre assistance technique qui sera à même de vous assister et vous proposera la procédure à suivre la vente adaptée à votre cas.
Logisty met à votre disposition une assistance technique téléphonique. Pour toute question technique, ou avant tout retard de matériel, contactez l'assistance technique Logisty qui vous proposera la procédure à suivre la最好的 adaptation à votre cas.
Logisty garantit ses produits UN AN à partir de la date d'achat par le premier utilisateur.
IMPORTANT : Cette garantie est etendue gratuite à DEUX
ANS si la demande d'extension gratuite de garantie inclue dans le guide d'utilisation du système a ete correctement complete, compeote le cachet de l'installateur et a ete returnnee, accompagnee des vignettes de garantie des differents produits de I'installation, a Logisty dans les 10 jours qui suive nI'achat.
La garantie Logistyporte uniquement sur les matériels à l'exclusion des piles. Par ailleurs, l'installation et les évientuelles opérations de maintenance sont de la responsabilité de l'installateur et ne sont pas couvertes par cette garantie.
La garantie Logisty donne droit à l'échange standard ou à la réparation au besoin du fabricant des produits reconnus défectueux par lui, mais ne s'étend pas aux conséquences résultat de leur non fonctionnement.
Toute indisponibilité pouvant apparaitre sur les reseaux (la disponibilité des reseaux de télécommunication ne peut être garantie à 100% ) peut se traduire conséquémment par une indisponibilité de nos propres systèmes, sans pour autant engager la responsabilité du fabricant.
D'autre part, cette garantie ne saurait s'appliquer en cas de :
mauvaise utilisation
- installation non conforme aux specifications du fabricant
intervention sur l'électronique
bris par chute ou chic
- transformation mécanique ou électronique du produit
- utilisation d'autre alimentation que celle préconisée par le fabricant
catastrophe naturelle ou vandalisme
- incidents survenant pendant le transport.
L'appareil doit être renvoyé au fabricant par l'instandateur, emballé de façon à assurer une sécurité suffisante.
Tout apparéil ayant fait l'objet d'un échange devient la propriété de Logisty.
Il est recommendé de conserver précieusement toute facture concernant le matériel, elle peut être réclamée pour l'application de la garantie.
Cette garantie ne fait pas obstacle aux dispositions légales qui découlent des articles 1641 et suivants du code civil.
Dans le souci d'améliorer ses produits, Logisty se réserve le droit de les modifier sans préavis.
Les matériels que nous fabriquons ont été concus pour la protection des sites à risques courants. La protection des sites à risques lourds à très lourds selon la classification APSAD (banques, bijouteries...) fait l'objet, de la part de certaines comptiques d'assurances, d'exigences spécifiques qui concernent aussi bien les matériels utilisés que les professionnelnels habitités à les installer.
Les informations de ce guide d'installation ne sont données qu'à titre indicatif et peuvent faire l'objet de modifications éventuelles.
LOGISTY F-38926 CROLLES CEDEX
TwinPass
La sécurité nécessite les moyens les plus performants et les plus fiables. Aussi, pour assurer l'efficacité et la pérennité de ses systèmes, Logisty emploie les transmissions radio ultra-fiables TwinPass®.
Cette nouvelle technologie est fondée sur le codage puis la double transmission simultanée des informations par radio.
Les deux fréquences choisies sont très éloignées (VHF et UHF) et ont des modes de propagation complémentaires.
TwinPass® offre ainsi 2 avantages déterminants pour un système d'alarme :
- ULTRA-FIABLE, TwinPass® se joue des obstacles et d'éventuelles perturbations radio. En cas de perturbation d'une fréquence, l'autre passé toujours.
AUTOPROTEGE, TwinPass® détecte de façon sure et rapide toute tentative de fraude.
AvecTwinPass®, les systèmes d'alarme Logisty sont ultra-fiables.

L'alarme sans fil
et sans souci.
Notice Facile