RBD275PVS - Four électrique BAUKNECHT - Notice d'utilisation et mode d'emploi gratuit
Retrouvez gratuitement la notice de l'appareil RBD275PVS BAUKNECHT au format PDF.
| Type d'appareil | Four électrique encastré |
| Capacité | Non précisé |
| Nombre de fonctions de cuisson | Non précisé |
| Type de commandes | Non précisé |
| Type d'affichage | Non précisé |
| Puissance maximale | Non précisé |
| Type de nettoyage | Non précisé |
| Dimensions (HxLxP) | Non précisé |
| Poids | Non précisé |
| Type d'installation | Encastré |
| Matériau intérieur | Non précisé |
| Type de porte | Non précisé |
| Sécurité enfant | Non précisé |
| Accessoires inclus | Non précisé |
| Garantie | Non précisé |
| Consommation énergétique | Non précisé |
FOIRE AUX QUESTIONS - RBD275PVS BAUKNECHT
Téléchargez la notice de votre Four électrique au format PDF gratuitement ! Retrouvez votre notice RBD275PVS - BAUKNECHT et reprennez votre appareil électronique en main. Sur cette page sont publiés tous les documents nécessaires à l'utilisation de votre appareil RBD275PVS de la marque BAUKNECHT.
MODE D'EMPLOI RBD275PVS BAUKNECHT
Guide d'utilisation et d'entretien
Au Canada, pour assistance, installation ou service, composer le 1-800-807-6777
ou visitez notre site web à www.whirlpool.ca
Table of Contents/Table des matieres 2
Models/Modèles RBD275 RBS275
RBD305 RBS305
TABLE OF CONTENTS
OVEN SAFETY 2
ELECTRONIC OVEN CONTROL 4
Display 4
Start 4
Upper Off/Cancel (Four supérieur - Arrêt/annulation),
Lower Off/Cancel (Four inférieur - Arrêt/annulation)
ou Off/Cancel (Arrêt/annulation) 16
Horloge 16
Signaux sonores. 17
Fahrenheit et Celsius. 17
Minuterie 17
Verrouillage des commandes 17
Commande de la températe du four 17
UTILISATION DU FOUR 18
Papier d'aluminium. 18
Positionnement des grilles et des ustensiles de cuisson 18
Cuisson au four et rôtissage 19
Cuisson au grill et cuisson au grill personalisée. 20
Cuisson minutée 21
ENTRETIEN DU FOUR 22
Programme d'autonettoyage (sur certains modèles) 22
Nettoyage général 23
Lampes du four 24
Portedou four. 24
DEPANNAGE 25
Votre sécurité et celle des autres est très importante.
Nous donnons de nombreux messages de sécurité importants dans ce manuel et sur votre apparil menager. Assurez-vous de plusieurs jours dire tous les messages de sécurité et de vous y conformer.

Voici le symbole d'alerte de sécurité.
Ce symbole d'alerte de sécurité vous signale les dangers potentiels de décès et de blessures graves à vous et à d'autres.
Tous les messages de sécurité suivront le symbole d'alerte de sécurité et le mot "DANGER" ou
"AVERTISSEMENT". Ces mots signifient :
DANGER
AVERAGEMENT
Risque possible de décès ou de blessure grave si vous ne suivez pas immédiatement les instructions.
Risque possible de décès ou de blessure grave si vous ne suivez pas les instructions.
Tous les messages de sécurité vous diront quel est le danger potentiel et vous disent comment réduire le risque de blessure et ce qui peut se produit en cas de non-respect des instructions.
IMPORTANT INSTRUCTIONS DE SECURITÉ
AVERTISSEMENT : Pour réduire le risque d'incendie, de chic électric, de blessures corporelles ou de dommages lors de l'utilisation du four, il convient d'observer certaines précautions élémentaires dont les suivantes :
■ Installation appropriée - S'assurer que le four est convenablement installé et relié à la terre par un technicien qualifié.
- Ne jamais utiliser le four pour chauffer ou réchauffer une piece.
- Ne pas laisser les enfants seuls - Les enfants ne doivent pas'être laissés seuls ou sans surveillance dans la pierce où le four est en service. Ne jamais laisser les enfants s'asseoir ou se tenir sur une partie quelconque du four.
- Porter des vêtements appropriés - Les vêtements amples ou détachés ne doivent jamais être portés pendant l'utilisation du four.
- Entretien par l'utilisateur - Ne pas réparer ni remplaçer toute piece du four si ce n'est pas spécifiquement recommendé dans le manuel. Toute autre opération d'entretien ou de réparation doit être confiée à un technicien qualifié.
- Ne pas utiliser d'eau pour être un feu de graisse - Étouffer le feu ou les flammes ou utiliser des extincteurs polyvalents à produits chimiques secs ou un extincteur à mousse.
Utiliser seulement des mitaines sèches de four - Des mitaines de four mouillées ou humides sur des surfaces chaudes peuvent provoquer des brûlures provenant de la vapeur. Ne pas laisser les mitaines de four toucher les éléments chauffants. Ne pas utiliser une serviette ou un tissu écais.
Exercer une grande prudence lors de l'ouverture de la porte. Laisser l'air chaud ou la vapeur s'échapper avant d'enlever ou de remplacer un plat.
- Ne pas faire chauffer des contenants fermés - L'accumulation de pression peut cause une explosion du contenant et des blessures.
Ne jamais obstruer les ouvertures des évets.
■ Placement des grilles du four - Toujours placer les grilles du four à l'endetroit désiré, lorsque le four est froid. Si la grille doit être déplacée lorsque le four est chaud, ne pas laisser des mitaines de four toucher l'élement chauffant dans le four.
Remisage dans le four - Des matériaux inflammables ne doivent pas etre remises dans un four.
NE PAS TOUCHER LES ÉLÉMENTS CHAUFFANTS OU LES SURFACES INTÉRIÉURES DU FOUR - les éléments chauffants peuvent être chauds même s'ils ont une teinte fonçée. Les surfaces interieures de four deviennent assecz chaudes pour causer des brûlures. Pendant et après l'utilisation, ne pas toucher ou laisser des vêtements ou autres matériaux inflammablesvenir en contact avec les éléments chauds ou les surfaces interieures chaudes du four avant qu'ils aient eu assez de temps pour refroidir. D'autres surfaces du four peuventvenir assez asczues pour causer des brûlures. Cesurfaces compronnen les ouvertures de l'évent du four et la surface pres de ces ouvertures, les portes du four, et les hublots des portes du four.
Fours autonettoyants :
Ne pas nettoyer le joint de la porte - Le joint de la porte est essentiel pour l'étanchéité. Veiller à ne pas frottier, endommager ou déplacer le joint.
- Ne pas utiliser les produits commerciaux de nettoyage de four - On ne doit pas utiliser un produit commercial de nettoyage de four ou un enduit de protection des surfaces internes du four quel qu'en soit le type, sur les surfaces du four ou les surfaces voisines.
Nettoyer uniquely les pieces indiquées dans le manuel.
Avant d'exécuter le programme d'autonettoyage du four, enlever la lèchefrite et sa grille et les autres ustensiles.
CONSERVEZ CES INSTRUCTIONS
COMMANDE ÉLECTRONIQUE DU FOUR

A. Autonettoyage
B. Affichage de la température du four supérieur
C. Affichage électronique
D. Affichage de la température du four inférieur
E. Minuterie
F. Horloge
G. Lampe du four
H. Sélecteur du four
I. Reglages du four
J. Reglage de température
K. Cuisson minutée
L.Heure
M. Minute
N. Mise en marche (verrouillage des commandes)
O. Four supérieur - arrêt/annulation
Four inférieur - arrêt/annulation
Affichage
Lors de la mise sous tension initiale de l'appareil, tout s'allumera sur les deux affichages pendant 5 secondes. Puis, l'heure et "PF" apparaitront sur l'affichage électronique du four.
Si "PF" apparait à tout autre moment, une panne de courant s'est produit. Pour régler de nouveau l'horloge, appuyer sur UPPER OFF/CANCEL ou LOWER OFF/CANCEL sur les modèles de four double. Sur les modèles de four simple, appuyer sur OFF/CANCEL.
Affichage électronique
Lorsque le ou les jours sont en cours d'utilisation, cet affichage indique la température du four. Sur les modèles de four double, cet affichage indiquera aussi lequel des deux jours est en cours de réglage.
Appuyer sur UPPER OFF/CANCEL ou LOWER OFF/CANCEL et essayer de nouveau. Sur les modèles de four simple, appuyer sur OFF/CANCEL.
Lorsque le ou les jours ne sont pas en cours d'utilisation, I'affichage indique I'heure.
Mise en marche
La touche Start démarre toutes les fonctions du four à
l'exception de la minuterie. Si l'on n'appuie pas sur la touche Start dans les 5 secondes après avoir appuyé sur une touche, "START?" apparait sur l'afficheur du four à titre de rappel. Si on n'appuie pas sur la touche Start dans les 4 minutes après avoir appuyé sur une touche de fonction, l'affichage du four returne au mode de l'heure et la fonction programmée est annulée.
Arrêt/annulation) ou Off/Cancel (Arrêt/annulation)
Les touches UPPER OFF/CANCEL, LOWER OFF/CANCEL et OFF/CANCEL arrêtent les fonctions des jours respectifs à l'exception de l'horloge, de la minutes et du verrouillage des commandes.
Le ventilateur de refroidissement peut continuer à fonctionner même après qu'une fonction de four a été annulée, en fonction de la température du four.
Horloge
Cette horloge de 12 heures n'indique pas a.m. ou p.m.
Réglage :
Avant de verrouiller, s'assurer que les jours, la minuterie et la cuisson minutée sont désactivés.
- Appuyer sur CLOCK (horloge).
- Appuyer sur les touches HOUR ou MIN “+” ou “-” pour régler l'heure.
- Appuyer sur CLOCK (horloge) ou START (mise en marche).
Pour enlever l'heure de l'affichage : Appuyer sur la touche CLOCK (horloge) pendant 5 secondes. Répéter pour réactiver l'affichage de l'heure. L'heure ne devrait pas nécessiter d'être régée de nouveau.
Signaux sonores
Les signaux sonores indiquent ce qui suit :
Un signal sonore
Appui sur une touche valide
Four préchauffé
Fonction entrée
Trois signaux sonores
Appui sur une touche non valide
Quatre signaux sonores
Fin du programme
- Signaux de rappel émis à intervalles de une minute après les signaux de fin de programme
Tous les signaux sonores
Tous les signaux sonores ci-dessus sont preréglés à marche, mais ils peuvent être désactivés.
Désactivation/activation : Appuyer sur STOP TIME pendant 5 secondes, un signal sonore est émis. Sur les fours doubles uniquement, “Snd OFF” et “Snd On” resteront affichés. Pour effacer l'affichage, appuyer sur UPPER OFF/CANCEL, LOWER OFF/CANCEL, ou OFF/CANCEL
Signaux sonores de rappel
Les signaux sonores de rappel de la minuteurie et de la cuisson minutée sont prérégles à marche mais peuvent être désactivés. Les signaux sonores de rappel ne comprendnent pas les signaux de fin de programme. Si tous les signaux sonores ont été désactivés, les signaux sonores de rappel ne peuvent être activés indépendamment.
Minuterie
Désactivation/activation des signaux sonores : Appuyer sur TIMER SET (réglage de la minuterie) jusqu'au signal sonore. L'affichage indique “TIMER” et “NA9 On” ou “TIMER” et “NA9 OFF”. Pour effacer l'affichage, appuyer sur UPPER OFF/CANCEL, LOWER OFF/CANCEL ou OFF/CANCEL. Répéter pour réactiver la fonction.
Cuisson minutée
Désactivation/activation des signaux sonores : Appuyer sur COOK TIME (durée de cisson) jusqu'au signal sonore. L'affichage présente “COOK TIME” et “NA9 OFF” ou “COOK TIME” et “NA9 On” pour indiquer le statut des signaux sonores de la durée de cisson. Pour effacer l'affichage, appuyer sur UPPER OFF/CANCEL, LOWER OFF/CANCEL ou OFF/CANCEL. Répéter pour réactiver la fonction.
Fahrenheit et Celsius
La température est préréglée à Fahrenheit, mais elle peut être changée à Celsius.
Modification : Appuyer sur CUSTOM BROIL (cuisson au gril personnalisée) pendant 5 secondes. Un signal sonore se fera entendre et “C” apparaftra sur l'affichage. Recommencer pour revenir à Fahrenheitit. Pour effacer l'affichage, appuyer sur UPPER OFF/CANCEL, LOWER OFF/CANCEL ou OFF/CANCEL.
Minuterie
La minuterie peut être régée en heures et minutes et procède à un compte à rebours de la durée régée. La minuterie ne met pas en marche le four et ne l'éteint pas.
Réglage :
- Appuyer sur TIMER SET (réglage de la minuterie). Si aucune fonction n'est entree après 4 minutes, l'affichage electronique du four returne au mode d'affichage de I'heure.
- Appuyer sur les touches HOUR ou MIN “+” ou “-” pour régler la durée.
- Appuyer sur TIMER SET (réglage de la minuteurie) ou sur START (mise en marche).
Si I'on n'appuie pas sur la touche en moins de 4 minutes, l'afficheur returne au mode d'affichage de l'heure et la fonction programmée est annulée.
À la fin de la durée réglée, si activés, des signaux sonores de fin de programme se font entendre, puis des signaux sonores de rappel suivront à intervalles de 1 minute.
- Appuyer sur TIMER OFF (arrêt minuterie) à tout moment pour annuler la minuterie et/ou arrêté les signaux de rappel.
Noter qu'il ne faut pas appuyer sur les touches Off/Cancel (arrêt/annulation) car le four correspondant s'eteindra.
La durée peut être régée de nouveau durant le compte à rebours en répétant les étapes ci-dessus.
Verrouillage des commandes
Le verrouillage des commandes désactive les touches du tableau de commande pour empêcher l'utilisation non intentionnelle des jours.
Lorsque le tableau de commande est verrouillé, seules les touches CLOCK, TIMER SET, TIMER OFF et OVEN LIGHT fonctionnent.
Le verrouillage des commandes est préréglé désactivé, mais peut être activé.
Pour verrouiller/déverrouiller les commandes : Avant de verrouiller, s'assurer que les fours, la minuterie et la cuisson minutée sont désactivés. Appuyer sur START pendant environ 5 secondes jusqu'à l'émission d'un signal sonore unique; “Loc”, une image de cadenas et “START?” apparaisent sur l'affichage du four. Répéter pour déverrouiller et effacer “Loc” de l'affichage.
Commande de la température du four
IMPORTANT: Ne pas utiliser un thermomètre pour mesurer la température du four car l'ouverture de la porte du four et le fonctionnement par intermittence de l'élement ou du brûleur peuvent donner des mesures incorrectes.
Le four fournit des températures précises; toutefois, il peut cuire plus rapidement ou plus lentement que vous ancien four, de sorte que le calibrage de la température peut être ajusté. Il peut être changé en degrés Fahrenheit ou en Celsius.
Un signe moins signifie que le four sera plus froid du nombre de degrés affchéé. L'absence de signe moins signifie que le four sera plus chaud du nombre de degrés affchéé. Utiliser le tableau suivant comme guide.
| ADJUSTMENT °F (ADJUSTMENT °C) | CUIT LES ALIMENTS |
| 10°F (5°C) | ...un peu plus |
| 20°F (10°C) | ...modérément plus |
| 30°F (15°C) | ...beaucoup plus |
| -10°F (-5°C) | ...un peu moins |
| -20°F (-10°C) | ...modérément moins |
| -30°F (-15°C) | ...beaucoup moins |
Ajustement du calibrage de la température du four :
- Appuyer sur BAKE (cuisson au four) jusqu'à ce que l'affichage du four indique le calibrage courant, par exemple "0° CAL".
- Sur les modèles de four double uniquement, appuyer sur UPPER OVEN ou LOWER OVEN.
- Appuyer sur les touches TEMP "+" or "-" pour augmenter ou diminuer la températe par tranches de 10^ (5^) . L'ajustement peut être régle entre 30^ (15^) et -30^ (-15^) .
- Appuyer sur START (mise en marche).
UTILISATION DU FOUR
Les odeurs et la fumée sont normales lorsque le four est utilisé pour les premières fois, ou lorsqu'il est très sale.
Lors de l'utilisation du four, les éléments chauffants ne resteront pas allumés, mais fonctionneront par intermittence lorsque le four est en marche.
IMPORTANT: La santé de certains oiseaux est extrémement sensible aux émanations de fumée. L'exposition à ces émanations peut causeer la mort de certains oiseaux. Tout jours déplacer les oiseaux dans une autre piece fermée et bien aérée.
Papier d'aluminium
IMPORTANT : Pour éviter des dommages permanents au fin du fond du four, ne pas recouvrir le fond avec du papier d'aluminium, un revêtement quelconque ou un ustensile de cuisson.
Pour assurer une bonne circulation de l'air et des résultats de cuisson optimaux, ne pas recouvrir la grille entière de papier d'aluminium.
Pour récapérer les renversements, placer une feuille de papier d'aluminium sur la grille sur laquelle le plat est placé. Veiller à ce qu'elle dépasse d'au moins 1/2 (1,3 cm) tout autour du plat et à ce que les bords soient reliés.
Positionnement des grilles et des ustensiles de cuisson
IMPORTANT : Pour éviter des dommages permanents au fini en porcelainne, ne pas placer d'aliments ou d'ustensiles de cuisson directement sur la porte ou le fond du four.
GRILLES
Placer les grilles avant d'allumer le four.
Ne pas déplacer les grilles lorsque des ustensiles de cuisson se trouvent dessus.
S-assurer que les grilles sont de niveau.
Pour déplacer une grille, la tirer jusqu'à la butée d'arrêt, soulever le rebord avant et la tirer pour la sortir du four. Se servir de l'illustration et du tableau suivants comme guide.

| ALIMENTS | POSITION(S) DE LA GRILLE |
| Gros rôtis, dindes, gâteaux des anges et gâteaux Bundt, pains éclairs, tartes | 1 ou 2 |
| Pains à la levure, mets en sauce, viande et volaille | 2 |
| Biscuits, muffins et gâteaux | 2 ou 3 |
USTENSILES DE CUISSON
L'air chaud doit pouvoir circuler autour de l'aliment pour le cuire uniformément. Laisser 2" (5 cm) entre les ustensiles de cuisson et les parois du four. Se servir du tableau suivant comme guide.
| NNombre DE PLAT(S) | POSITION SUR LA GRILLE |
| 1 | Centre de la grille. |
| 2 | Côte à côte ou légèrement décalés. |
| 3 ou 4 | Dans les coins opposés sur chaque grille. S'assurer qu'aucun ustensile de cuisson ne se trouve directement au-dessus d'un autre. |
Le matériel des ustensiles de cuisson affecte les résultats de cuisson. Suivre les recommandations du fabricant et utiliser le format d'ustensiles recommendé dans la recette. Se servir du tableau suivant comme guide.
| USTENSILES DE CUISSON/RÉSULTATS | RECOMMANDATIONS |
| Aluminium légèrement coloréCroûtes légèrement doréesBrunissage uniforme | Utiliser la température et la durée recommendées dans la recette. |
| Aluminium foncé et autres ustensiles de cuisson avec fini foncé, terne et/ou antiadhésifCroûtes brunes, croustillantes | Peut nécessiter de réduire légèrement les températures de cuisson.Uutiliser la durée de cuisson suggérée.Pour les tartes, pains et mets en sauce, utiliser la température recommendée dans la recette.Placer la grille au centre du four. |
| Tôles à biscuits ou moules à cuisson à isolation thermiqueBunissage faisible ou non existant à la base | Placer à la troisième position au bas du four.Peut nécessiter d'augmenter le temps de cuisson. |
| Acier inoxydableCroûtes dorées, légèresBrunissage inégal | Peut nécessiter d'augmenter le temps de cuisson. |
| Plats en grès/Pierre de cuissonCroûtes croustillantes | Suivre les instructions du fabricant. |
| Plats en verre, vitrocéramique ou céramique allant au fourCroûtes brunes, croustillantes | Peut nécessiter de réduire légèrement la température de cuisson. |
Thermomètre à vande
Sur les modèles sans sonde thermométrique, se servir d'un thermomètre à viande pour vérifier si la cuisson de la viande, de la volaille et du poisson est au degré de cuisson déséré. C'est la température interne qui indique le degré de cuisson et non l'apparce. Il n'y a pas de thermomètre à viande fourni avec cet apparéil. Suivre les instructions du fabricant pour l'emploi d'un thermomètre à viande.

Évent du four

Four simple
A. Tableau de commande
B. Évent du four
C. Four
Four double
D. Four supérieur
E. Évent du four
F. Four inférieur
Ne pas obstruer ni couvrir l'évent du four car il permet à l'air chaud et à l'humiédé de s'échapper du four. Son obstruction nuirait à la circulation adequate de l'air et affecterait les résultats de cuisson et de nettoyage. Ne pas placer de plastique, papier ou autre objet qui pourrait fondre ou brûler pres de l'évent du four.
Cuisson au four et rôtissage

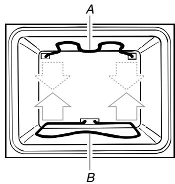
A. Élement de cuisson au grill
B. Élement de cuisson au four
Système de gestion de la température ACCUBAKE®
Le système ACCUBAKE® règle électroniquement les niveaux de chaleur du four pendant le préchauffage et la cuisson au four pourmaintenir une gamme de températures précises pour des résultatsde cuisson optimaux. Les éléments de cuisson au four et du grill s'allument et s'éteignent par intermittence. L'objet de cuisson au four devient rouge lorsque le programme est activé, maispas l'objet du grill.Cette caractéristique est automatiquement activée lorsque le four est utilisé.
Avant la cuisson au four et le rôtissage, placer les grilles tel qu'indiqué à la section "Positionnement des grilles et des ustensiles de cuisson". Lors du rôtissage, il n'est pas nécessaire d'attendre que la durée de préchauff du four soit écoulée avant de placer l'aliment au four, excepté si la recette le recomande.
Si la porte du four est ouverte durant la cuisson au four et le rotissage, les éléments de cuisson au four et de cuisson au grill s'eteindront immidiatement. Ces éléments reviendron en fonction lorsque la porte sera fermée.
Cuisson au four ou rôtissage :
- Sur les modèles à double four seulement, appuyer sur UPPER OVEN (four supérieur) ou LOWER OVEN (four inférieur).
Fermer la porte du four. L'affichage indiquera "door" et les éléments de chauffage ne chaufferont pas si la porte est ouverte durant la cuisson au four et le rotissage.
- Appuyer sur BAKE (cuisson au four).
Appuyer sur la touche fléchée TEMP "plus" (+) ou "moins" (-) pour entrer une température autre que 350^ (177^) . La température de cuisson au four peut être régée entre 170^ et 500^ (77^ et 260^) .
- Appuyer sur START (mise en marche).
Une durée de préchauffage fera l'objet d'un compte à rebours et "PrE" apparaitra sur l'affichage du four si la température réelle du four est inférieure à 170^ ( 77^ ).
Lorsque la température réelle atteint 170^ ( 77^ ), la minuterie poursuivra le compte à rebours. Le réglage de la température peut être modifié en tout temps après avoir appuyé sur START.
Lorsque la température régée est atteinte, un signal sonore (si activé) se fait entendre.
- Appuyer sur UPPER OFF/CANCEL (arrêt du four supérieur), LOWER OFF/CANCEL (arrêt du four inférieur) ou OFF/CANCEL (arrêt/annulation) lorsque la cuisson est terminée.
Prechauffage
Après que l'on a appuyé sur START, le four commence un préchauffage de conditionnement minuté. “PrE” et la durée du compte à rebours apparaisent sur l'afficheur. À la fin du préchauffage de conditionnement, un signal sonore se fait entendre et la température sélectionnée apparait sur l'afficheur.
Les températures de préchauffage sont affectées par divers facteurs tels que la température ambiente et les heures de pointe de consommation d'énergie. Il est normal que la température indiquée sur l'affichage diffère de la température réelle du four.
On recommande d'attendre encore 10 minutes après la fin de la durée de préchauffage de conditionnement avant demettre les aliments au four lorsqu'on fait cuire des alimentents comportant des levains tels que levure de biere, poudre à lever, bicarbonate de soude et oeufs.
Cuisson au gril et cuisson au gril personnalisée

A. Élement de cuisson au grill
La cuisson au grill utilise une chaleur radiante directe pour cuire les alimentes. Durant la cuisson au grill, l'élément de cuisson au grill s'allume et s'éteint par intermittence pour maintainir la température du four.
En cas d'ouverture de la porte durant la cuisson au grill, l'élement du grill s'est intimédiatement et se rallume dés la fermeture de la porte.
Pour deromeurs résultats,utiliser une lèchefrite et une grille. Elles sont conques pour laisser s'écouler les jus et empêcher les éclaboussures et la fumée.
Il est possible de commander une lèchefrite si votre modèle n'en comporte pas. Voir la section "Assistance ou service" pour placer une commande. Demandez la piece numéro 4396923.
Pour un écoulement approprié, ne pas couvrir la grille avec du papier d'aluminium. Le fond de la l'échérite peut être garni de papier d'aluminium pour faciliter le nettoyage.
Enlever l'excès de gras pour réduire les éclaboussures. Entailler le gras qui reste pour l'empêcher de se cintrer.
Retirer la grille jusqu'à la butée d'arrêt avant de tourner ou d'enlever les aliments. Utiliser des pince pour tourner les aliments afin d'éviter la perte de jus. Des coupes très minces de poisson, volaille ou viande peuvent ne pas nécessiter d'être tournées.
- Àprous la cuisson au grill, retarder la lèchefrite lors de l'enlèvement de l'aliment. Des résidus de graisse cuiront sur la lèchefrite si on laisse celle-ci dans un four encore chaud, ce qui rend le nettoyage plus difficile.
Cuisson au grill :
Avant la cuisson au grill ou avant la cuisson au grill personnalisé, placer la grille conformément au tableau de cuisson au grill.
Placer l'aliment sur la grille de la l'échefrite, puis placer la l'échefrite au centre de la grille du four, le côté le plus long parallelle à la porte du four. Il n'est pas nécessaire de préchauffer le four avant d'ymettre l'aliment, excepté si la recette le recommande.
Fermer la porte.
- Sur les modèles à double four seulement, appuyer sur UPPER OVEN (four supérieur) ou LOWER OVEN (four inférieur).
- Appuyer sur CUSTOM BROIL (cuisson au gril personalisée).
- Appuyer sur START (mise en marche).
La température du four régée apparaitra sur l'affichage du four jusqu'à ce que le four soit éteint.
- Appuyer sur UPPER OFF/CANCEL (arrêt/annulation du four supérieur), LOWER OFF/CANCEL (arrêt/annulation du four inférieur) ou OFF/CANCEL (arrêt/annulation) lorsque la cuisson est terminée.
Cuisson au gril personalisée :
Le changement de température lors de la cuisson au grill personnalisé permet un contrôle plus précis de la cuisson. Plus la température est BASSE, plus la cuisson est Lente. Les coupes plus épaisces et les alimentents et les pieces de viande, de poisson et de volaille de forme inégale peuvent mieux cuire à des températures de cuisson plus basses.
- Sur les modèles à double four seulement, appuyer sur UPPER OVEN (four supérieur) ou LOWER OVEN (four inférieur).
- Appuyer sur CUSTOM BROIL (cuisson au gril personalisée).
- Appuyer sur la touche fléchée TEMP "plus" (+) ou "moins" (-) pour entrer une température autre que 500^ (260^) . La température de cuisson au grill peut être régée entre 170^ et 500^ (77^ et 260^) .
- Appuyer sur START (mise en marche).
La température du four régée apparaitra sur l'affichage du four jusqu'à ce que le four soit éteint.
- Appuyer sur UPPER OFF/CANCEL (arrêt/annulation du four supérieur), LOWER OFF/CANCEL (arrêt/annulation du four inférieur) ou OFF/CANCEL (arrêt/annulation) lorsque la cuisson est terminée.
TABLEAU DE CUISSON AU GRIL
Pour obtenir les mêleurs résultats, placer l'aliment à au moins 3'' (7 cm) de l'élement de cuisson au grill. Les durées de cuisson indiquées sont seulement des recommendations et peuvent être ajustées selon les goûts individuels. Les positions recommendées de la grille sont indiquées de la base (1) jusqu'en haut (5). Pour un dessin, voir la section "Positionnement des grilles et ustensiles de cuisson".
| ALIMENTS | POSITION DE LA GRILLE | DURÉE DE CUISSON minutes | |
| CÔTE 1 | CÔTE 2 | ||
| Bifteck | |||
| 1" (2,5 cm) d'épaisseur saignant-à point | 4 | 14-15 | 7-8 |
| à point | 4 | 15-16 | 8-9 |
| bien cuit | 4 | 18-19 | 9-10 |
| Galettes de viande hachée* | |||
| 3¼" (2 cm) d'épaisseur bien cuites | 4 | 13-14 | 7-8 |
| Côtelettes de porc | |||
| 1" (2,5 cm) d'épaisseur | 4 | 20-22 | 10-11 |
| Tranche de jambon précuit | 4 | 8-10 | 4-5 |
| 1½" (1,25 cm) d'épaisseur | |||
| Saucisses de Francfort | 4 | 5-7 | 3-4 |
| Côtelettes d'agneau | |||
| 1" (2,5 cm) d'épaisseur | 4 | 14-17 | 8-9 |
| Poulet | |||
| morceaux avec os | 3 | 17-20 | 17-20 |
| poitrines désossées | 4 | 11-16 | 11-16 |
| Filets de poisson | |||
| 1/4-1½" (0,6-1,25 cm) d'épaisseur | 4 | 8-10 | 4-5 |
| Darnes de poisson | |||
| 3¼-1" (2-2,5 cm) d'épaisseur | 4 | 16-18 | 8-9 |
*Placer jusqu'à 12 galettes, également espacées sur la grille de la lèchefrite.
Cuisson minutée
AVERAGEMENT
Risque d'emploiement alimentaire
Ne pas laisser des alimentés dans un four plus d'une heures avant ou après la cuisson.
Le non-respect de cette instruction peut causeur un empoisonnement alimentaire ou une maladie.
La cuisson minutée permet d'allumer le four à une certaine heures de la journée, de faire cuire pendant une durée régée et/ou d'etreindre le four automatiquement.
Réglage d'une durée de cuisson :
- Sur les modèles à double four seulement, appuyer sur UPPER OVEN (four supérieur) ou LOWER OVEN (four inférieur).
- Appuyer sur BAKE (cuisson au four) ou CUSTOM BROIL (cuisson personnalisée au gril).
Appuyer sur les touches numériques pour entrer une température autre que cette qui est affichée.
- Appuyer sur COOK TIME (durée de cuisson).
- Appuyer sur les touches à flèche HOUR et MIN “plus” (+) ou “moins” (-), pour entraîre la durée de cuisson.
- Appuyer sur START (mise en marche).
Le compte à rebours de l'heure de mise en marche et d'arrêt apparait sur l'afficheur.
Sur les modèles à double four seulement, lorsque les fours inférieur et supérieur fonctionnent en même temps, appuyer sur UPPER OVEN ou LOWER OVEN pour afficher la durée de cuisson respective.
Lorsque l'heure d'arrêt est atteinte, le four s'arrête automatiquement et "End" (fin) apparait sur l'afficheur du four.
Si actifs, les signaux sonores de fin de programme se font entendre, suivis des signaux de rappel à intervalles de 1 minute.
- Appuyer sur UPPER OFF/CANCEL (arrêt/annulation du four supérieur), LOWER OFF/CANCEL (arrêt/annulation du four inférieur) ou OFF/CANCEL (arrêt/annulation) ou ouvrir la portedu four pour effacer l'affichage et/ou arrêtier les signaux derappel.
Réglage de la durée de cuisson et de l'heure d'arrêt :
Avant le réglage, s'assurer que l'horloge est régée à l'heure exacte. Voir la section "Horloge".
- Sur les modèles à double four seulement, appuyer sur UPPER OVEN (four supérieur) ou LOWER OVEN (four inférieur).
- Appuyer sur BAKE (cuisson au four) ou CUSTOM BROIL (cuisson personnalisée au gril).
Appuyer sur la touche à flèche TEMP "plus" (+) ou "moins" (-) pour entrer une température autre que cette qui est affichée.
- Appuyer sur COOK TIME (durée de cuisson).
- Appuyer sur les touches à flèche HOUR et MIN “plus” (+) ou “moins” (-), pour entraîre la durée de cuisson.
- Appuyer sur STOP TIME (heure de mise en marche différée) Lorsque l'heure d'arrêt est atteinte, le four s'arrête automatiquement et "End" (fin) apparait sur l'afficheur du four.
Si actifs, les signaux sonores de fin de programme se font entendre, suivis des signaux de rappel à intervalles de 1 minute.
- Appuyer sur START (mise en marche).
L'heure de mise en marche est calculée et affichée automatiquement. "TIMED", "DELAY" et l'heure d'arrêt apparaissent aussi sur l'afficheur.
Lorsque l'heure de mise en marche est atteinte, le four s'allume automatiquement. Le compte à rebours s'affiche. - Appuyer sur UPPER OFF/CANCEL (arrêt/annulation du four supérieur), LOWER OFF/CANCEL (arrêt/annulation du four inférieur) ou OFF/CANCEL (arrêt/annulation) ou ouvrir la portedu four pour effacer l'affichage et/ou arrêtier les signaux derappel.
ENTRETIEN DU FOUR
Programme d'autonettoyage (sur certains modèles)
AVERAGEMENT

Risque de brûlures
Ne pas toucher le four au cours du programme d'autonettoyage.
Garder les enfants loin du four au cours du programme d'autonettoyage.
Le non-respect de ces instructions peut cause des brûlures.
IMPORTANT : La santé de certains oiseaux est très sensible aux émanations qui survient durant le programme
d'autonettoyage. L'exposition aux émanations peut entraîner la mort de certains oiseaux. Tout jours déplacer les oiseaux dans une autre piece fermée et bien aérée.
Proceder à l'autonettoyage du four avant qu'il ne devienne très sale. Les saletés intenses nécessitent un nettoyage plus long et dégagent plus de fumée.
Veiller à ce que la cuisine soit bien aérée pendant le programme d'autonettoyage afin d'aider à éliminer la chaleur, les odeurs et la fumée.
Ne pas obstruer le ou les évets du four durant le programme d'autonettoyage. L'air doit pouvoir circuler librement. Selon cette méthode, voir la section "Évent du four" ou "Évents du four".
Ne pas nettoyer, frottier, endommager ou déplacer le joint d'étanchéité de la porte du four. Le joint de la porte est essentiel pour une bonne étanchéité.
Préparation du four :
Sortir du four la lèchefrite, la grille et les ustensiles de cuisson au four et, sur certains modèles, la sonde thermométrique.
Sortir les grilles du four pour les garder brillantes et pour qu'elles glissant facilement. Voir la section "Nettoyage général" pour plus de renseignements.
Enlever tout papier d'aluminium du four ; celui-ci risquerait de brûler ou de fondre et d'endommager le four.
Nettoyer manuelles l'intérieur de la porte et une zone de 1 12 (3,8 cm) sur le pourtour du cadre de la cavité du four, en prénant soin de ne pas déplacer ni plier le joint d'étanchéité.
Cette section ne devient pas assez chaude au cours du programme d'autonetoyage pour pouvoir éliminer la saleté. Ne pas laisser de l'eau, un nettoyant, etc. pénétrer dans les fentes du cadre de la porte. Nettoyer cette zone avec un chiffon humide.
■ Essuyer toute saleté décollée afin de réduire la fumée et d'éviter les dommages. À des températures élevées, les alimentés réagissant avec la porcelainne. Cette réaction peut causeer des taches, des attaques, des piquères ou de légères taches blanches. Ceci n'affectera pas la performance de cuisson.
Comment fonctionne le programme :
IMPORTANT: Le chauffage et le refroidissement de la porcelain sur l'acier dans le four peuvent cause une décoloration, une perte de fini luiant, des fissures minuscules et dessons saccadés.
Le programme d'autonetoyage utilise des températures très élevées, en brûlant les saletés pour les réduire en centre.
Le four est préréglé pour un programme de nettoyage de 3 h 30 minutes, mais la durée peut être changée. Les durées de nettoyage suggérées sont de 2 h 30 minutes pour des saletés légères et entre 3 h 30 minutes et 4 h 30 minutes pour des saletés moyennes à abondantes.
Lorsque le four a complètement refroidi,steroler la cendre avec un chiffon humide. Pour éviter de casser le verre, ne pas appliquer de chiffon froid humide sur le hublot de la porte interne avant qu'il n'ait complètement refroidi.
La lampe du four ne fonctionnera pas durant le programme d'autonettoyage.
Sur les modèles combinés, le four supérieur ne fonctionnera pas durant le programme d'autonettoyage.
Pour les fours doubles seulement, s'assurer de régler les commandes appropriées pour le four (supérieur ou inférieur) qu'on souhaite utiliser.
Autonettoyage :
Avant l'autonettoyage, s'assurer que la porte est complètement fermée sinon elle ne se verrouillera pas et le programme ne commenceras pas.
- Appuyer sur AUTO CLEAN (autonettoyage).
-
Appuyer sur la touche à flèche HOUR “plus” (+) ou “moins” (-) pour étabir une durée de nettoyage autre que 3 h 30 minutes. La durée de nettoyage peut être régée entre 2 h 30 minutes et 4 h 30 minutes.
-
Appuyer sur START (mise en marche).
La porte du four inférieur se verrouillera automatiquement. "LOCKED" (porte verrouillée) apparaitra sur l'afficheur du four. La porte ne se déverrouillera pas avant que le four n'ait refroidi.
Lorsque le programme est terminé et le four a refroidi, "End" (fin) apparaitra sur l'afficheur du four et "LOCKED" (porte verrouillée) s'effacera. - Appuyer sur UPPER OFF/CANCEL (arrêt du four supérieur), LOWER OFF/CANCEL (arrêt du four inférieur) ou OFF/CANCEL (arrêt/annulation) ou ouvrir la porte du four pour effacer l'affichage.
Pour différer l'autonettoyage :
Avant de retarder la mise en marche de l'autonettoyage, s'assurer que l'horloge est reglee à la bonne heures du jour. Voir la section "Horloge". S'assurer également que la porte est complètement fermée sinon elle ne se verrouillera pas et le programme ne commenceras pas.
- Appuyer sur AUTO CLEAN (autonettoyage).
Appuyer sur la touche à flèche HOUR “plus” (+) ou “moins” (-) pour étabir une durée de nettoyage autre que 3 h 30 minutes. La durée de nettoyage peut être régée entre 2 h 30 minutes et 4 h 30 minutes.
- Appuyer sur STOP TIME (heure d'arrêt).
- Appuyer sur les touches à flèches HOUR et MIN “plus” (+) ou “moins” (-) pour entering l'heure d'arrêt.
- Appuyer sur START (mise en marche).
L'heure de mise en marche est automatiquement calculée et affichée.
La porte se verrouillera automatiquement et "LOCKED" (porte verrouillée), "DELAY" (délai), apparaitront sur l'afficheur. La porte ne se déverrouillera pas avant que le four ait refroidi.
Lorsque l'heure de mise en marche sera atteinte, le four s'allumera automatiquement.
Lorsque le programme est terminé et le four a refroidi, "End" (fin) apparaitra sur l'afficheur du four inférieur et "LOCKED" (porte verrouillée) s'effacera.
5. Appuyer sur n'importe qu'elle touche ou ouvrir la porte du four pour effacer l'affichage.
Pour arrêté le programme d'autonettoyage à tout moment :
Appuyer sur UPPER OFF/CANCEL (arrêt du four supérieur), LOWER OFF/CANCEL (arrêt du four inférieur) ou OFF/CANCEL (arrêt/annulation). Si la température du four est trop élevé, la porte demeurera verrouillée. Elle ne se déverrouillera pas jusqu'à ce que le four ait refroidi.
Nettoyage général
IMPORTANT : Avant le nettoyage, s'assurer que toutes les commandes sont éteintes et que le four est froid. Tout jours suivre les instructions sur les étiquettes des produits de nettoyage.
Du savon, de l'eau et un chiffon doux ou une éponge sont recommendés à moins d'indication contraire.
ACIER INOXYDABLE (sur certains modèles)
Méthode de nettoyage :
Frotter dans le sens du grain pour éviter d'endommager le fini.
Nettoyant et poli pour acier inoxydable - Pièce n° 31462 (non inclus):
Voir la section "Assistance ou service" pour placer une commande.
Detergent liquide ou nettoyant tout-usage : Rincer à l'eau propre et sécher avec un chiffon doux sans charpie.
Ne pas utiliser de tampons de récurage savonnoux, nettoyants abrasifs, crème à polir pour table de cuisson, tampons en laine d'acier, chiffons de lavage rudes ou certains essuie-tout sur les surfaces en acier inoxydable. Des dommages peuvent survenir.
EXTÉRIEUR DE LA PORTE DU FOUR
Méthode de nettoyage :
Nettoyant à vitre et chiffon doux ou éponge : Appliquer le nettoyant à vitre sur un chiffon doux ou une éponge, et non pas directement sur le tableau.
Nettoyant tout-usage pour apparéil menager - Pièce n° 31682B (non inclus):
Voir la section "Assistance ou service" pour placer une commande.
TABLEAU DE COMMANDE
Méthode de nettoyage :
Nettoyant à vitre et chiffon doux ou éponge : Appliquer le nettoyant à vitre sur un chiffon doux ou une éponge, et non pas directement sur le tableau.
Nettoyant tout-usage pour apparéil menager - Pièce n° 31682B (non inclus):
Voir la section "Assistance ou service" pour placer une commande.
Ne pas utiliser des nettoyants abrasifs, tampons en laine d'acier, chiffons de lavage rudes ou certains essuie-tout en papier. Des dommages peuvent survenir.
CAVITE DU FOUR
Ne pas utiliser les nettoyants à four.
Les renversements d'aliments devraient etre nettoyés lorsque le four est refroidi. Aux températures elevées, les aliments affectent la porcelainne et des taches, éclats, piqures ou marques blanchâtres peuvent survenir.
Méthode de nettoyage :
Programme d'autonettoyage : Voir d'abord "Programme d'autonettoyage".
GRILLES DU FOUR ET DE RÔTISSAGE
Méthode de nettoyage :
■ Programme d'autonettoyage : Voir d'abord "Programme d'autonettoyage". Il faut oter les grilles sinon elles se decoloreront et deviendront plus difficiles à faire glisser. Le cas échéant, un léger revêtement d'huile végétale appliqué sur les glissières des grilles les aidera à moins glisser.
Tampon en laine d'acier
Lampes du four
Les lampes du four ont des ampoules d'appareil menager standard de 15 watts. Elles s'allument lorsque la porte du four est ouverte. Sur les modèles à four supérieur et inférieur autonettoyants, toutes les lampes s'allument lorsque l'une des portes est ouverte. Sur les modèles à double four où le four inférieur est à nettoyage ordinaire, les lampes du four ne s'allument pas lorsque la porte du four inférieur est ouverte. Les lampes du four ne fonctionneront pas durant le programme d'autonettoyage. Lorsque la porte du four est fermée, appuyer sur OVEN LIGHT (lampe du four) pour les allumer ou les éteindre.
Replacement :
Avant le remplacement, s'assurer que le four est eteint et froid.
- Déconnecter la source de courant électric.
- Tourner le couvercle en verre de l'ampoule au fond du four dans le sens antihoraire pour l'enlever.

- Tourner l'ampoule dans le sens antihoraire pour l'enlever de la douille.
- Replacement l'ampoule et le couvercle de l'ampoule en les tournant dans le sens horsaire.
- Reconnecter la source de courant électrique.
Portedoufour
Il n'est pas recommandé d'enlever la porte du four pour une utilisation normale. Toutefois, si la dépose est nécessaire, s'assurer que le four est étéint et froid. Puis, suivre ces instructions. La porte du four est lourde.
Dépose :
- Ouvrir la porte du four complètement.
- Relever le verrou de charnière de chaque côté.

- Fermer la porte du four aussi loin qu'elle peut aller.
- Soulever la porte du four en la retenant de chaque côté.
Continuer deMAINTER la portedu four fermée et la dégager du chassiné du portedou four.

Réinstallation :
- Insérer les deux bras de suspension dans la porte.

- Ouvrir la portedou four.
Vous devriez entendre un déclic lors de la mise en place de la porte. - Remetre les leviers des channières à la position verrouillée. Effectuer quelques manœuvres d'ouverture/fermeture de la porte du four pour vérifier le bon fonctionnement. En cas d'impossibilité d'ouverture ou de fermeture parfaite de la porte, repeter le processus de dépose et d'installation de la porte.
DEPANNAGE
Essayer les solutions suggerées ici d'abord afin d'éviter le coût d'une visite de service non nécessaire.
Rien ne fonctionne
Un fusible est-il grillé ou le disjoncteurs s'est-il déclenché?
Remplacer le fusible ou réenclencher le disjoncteur. Si le problème persiste, appeler un électricien.
L'appareil est-il correctement raccordé?
Voir les instructions d'installation.
Le four ne fonctionne pas
La commande électronique du four est-elle correctement régée?
Voir la section "Commande électronique du four".
Une mise en marche différée a-t-elle est réglée?
Voir la section "Cuisson minutée".
Sur certains modèles, le verrouillage des commandes est-il régé?
Voir la section "Verrouillage des commandes".
Sur certains modèles, le mode Sabbat est-il régèle?
Voir la section "Mode Sabbat".
Sur les modèles à double four, un des jours est-il en train d'effectuer un programme d'autonettoyage?
Lorsqu'un four effectue un programme d'autonettoyage, l'autre four ne peut pas etre regle ou allumé.
Pour les modèles à double four, a-t-on sélectionné le bon four?
Choisir d'abord UPPER OVEN (four supérieur) ou LOWER OVEN (four inférieur).
La température du four est trop élevé ou trop BASSE
Le calibrage de la température du four a-t-il besoin d'être ajusté?
Voir la section "Commande de la température du four".
L'affichage indique des messages
L'affichage indique-t-il "PF", "PF id=27" ou "PF id=30"?
Une panne de courant est survenue. Effacer l'affichage. Voir la section "Affichage(s)". Sur certains modèles, régler de nouveau l'horloge au besoin. Voir la section "Horloge".
L'affichage indique-t-il une dette suivie d'un chiffre?
Effacer l'affichage. Voir la section "Affichage(s)". S'il réapparait, faire un appel de service. Voir la section "Assistance ou service".
Le programme d'autonettoyage ne fonctionne pas
La portedu four est-elle ouverte?
Fermer la porte du four complètement.
La fonction a-t-elle ete entree?
Voir la section "Programme d'autonettoyage".
Sur certains modèles, un programme d'autonettoyage à mise en marche différée a-t-il été régle?
Voir la section "Programme d'autonettoyage".
Une mise en marche différée a-t-elle est réglée?
Voir la section "Cuisson minutée".
Sur les modèles à double four, un des jours est-il en train d'effectuer un programme d'autonettoyage?
Lorsqu'un four effectue un programme d'autonettoyage, l'autre four ne peut pas etre regle pour un programme d'autonettoyage.
Les résultats de cuisson au four ne sont pas les résultats prévus
L'appareil est-il d'aplomb?
Mettre l'appareil d'aplomb. Voir les instructions d'installation.
La température correcte est-elle régée?
Contre-verifier la recette dans un livre de recettes fiable.
La température correcte du four est-elle régée?
Voir la section "Commande de la température du four".
Le four a-t-il ete prechauffe?
Voir la section "Cuisson au four et rôtissage".
Utilise-t-on un ustensile de cuisson au four approprié?
Voir la section "Ustensiles de cuisson".
Les grilles sont-elles en bonne position?
Voir la section "Positionnement des grilles et ustensiles de cuisson".
- Existe-t-il une circulation d'air appropriée autour des ustensiles de cuisson?
Voir la section "Positionnement des grilles et ustensiles de cuisson".
La pâte est-elle distribuée uniformément dans le plat?
Vérifier que la pâte est répartie uniformément dans le plat.
Utilise-t-on une durée de cuisson appropriée?
Ajuster la durée de cuisson.
La portea-t-elle ete ouverte pendant la cuisson?
L'ouverture de la portepourverifier la cuisson laisse la chaleur du four s'échapper et peut nécessiter des durées de cuisson plus longues.
Les articles cuits au four sont-ils trop bruns à la base?
Déplacer la grille à une position plus élevé dans le four.
Les bords des croûtes de tarte ont-ils bruni trop tout?
Utiliser du papier d'aluminium pour couvrir le bord de la crôte et/ou réduire la température de cuisson du four.
Avant de faire un appel pour assistance ou service, consulter la section "Dépannage". Ce guide peut vous faire économiser le coût d'une visite de service. Si vous avez encore besoin d'aide, suivre les instructions ci-dessous.
Lors d'un appel, veuillez connaitre la date d'achat, le numéro de modulo et le número de série au complet de l'appareil. Ces renseignements nous aidont à moins répondre à votre demande.
Si vous avez besoin de pieces de rechange
Si vous avez besoin de commander des pieces de rechange, nous vous recommendons d'employer uniquement des pieces de rechange FSP. Les pieces de rechange FSP conviendront et fonctionneront bien parce qu'elles sont fabriquées avec la même précision utilisée dans la fabrication de chaque nouvel apparéil WHIRLPOOL.
Pour obtenir des pieces de rechange FSP dans votre région, nous contacter ou appeler le Centre de service désigné de Whirlpool le plus proche.
Au Canada
Veuillez appeler sans frais le Centre pour l'eXépérience de la clientèle de Whirlpool Canada LP au : 1-800-807-6777.
Nos consultants vous renseigneront sur les sujets suivants :
- Caracteristiques et specifications sur toute notre gamme d'appareils electroménagers.
Consignes d'utilisation et d'entretien.
- Ventes d'accessoires et de pieces de rechange.
Références aux marchands locaux, aux distributeurs de pieces de rechange et aux compagnies de service. Les techniciens de service désignés par Whirlpool Canada LP sont formés pourmplir la garantie des produits et fournir un service après la garantie, partout au Canada.
Pour plus d'assistance
Si vous avez besoin de plus d'assistance, vous pouvez soumettre par écrit toute question ou préoccupation à Whirlpool Canada LP à l'adresse suivante :
Centre pour l'eXperience de la clientèle
Whirlpool Canada LP
Veuillez inclure dans votre correspondance un numéro de téléphone où on peut vous joindre dans la journée.
Nettoyant et poli pour acier inoxydable
(modèles en acier inoxydable)
Commander la piece n° 31462B
Nettoyant tout-usage pour apparéils menagers
Commander la piece n° 31682B
Pendant un an à compter de la date d'achat, lorsque ce gros apparéil ménager est utilisé et entretenu conformément aux instructions jointes à ou fournies avec le produit, Whirlpool Corporation ou Whirlpool Canada LP (ci-après désignées “Whirlpool”) paiera pour les pieces spécifiées par l'usine et la main-d'oeuvre pour corriger les vices de matérielux ou de fabrication. Le service doit être fourni par uneompagnie de service designée par Whirlpool. Cette garantie limite est valide uniquement aux Etats-Unis ou au Canada et s'applique exclusivement lorsque l' apparéil est utilisé dans le pays où il a été acheté. À l'extérieur du Canada et des 50 États des États-Unis, cette garantie limite ne s'applique pas. Une preuve de la date d'achat original est exigée pour obtenir un service dans le cadre de la presente garantie limitée.
ARTICLES EXCLUS DE LA GARANTIE
La presente garantie limite ne couvre pas :
- Les visites de service pour rectifier l'installation du gros apparéil menager, montré à l'utilisateur comment utiliser l' apparéil, remplaçer ou réparer des fusibles ou rectifier le câblage ou la plomberie du domicile.
- Les visites de service pour réparer ou remplaner les ampoules électriques de l'appareil, les filtres à air ou les filtres à eau. Les pièces consomptibles ne sont pas couvertes par la garantie.
- Les réparations lorsque le gros appeareil menager est utilise à des fins autres que l'usage unifamilial normal ou lorsque les instructions d'installation et/ou les instructions de l'opérateur ou de l'utilisateur fournies ne sont pas respectées.
- Les dommages imputables à : accident, modification, usage improupe ou abusif, incendie, inondation, actes de Dieu, installation fautive ou installation non conforme aux codes d'électricité ou de plomberie, ou l'utilisation de pieces consomptibles ou de produits nettoyants nonapprovés par Whirlpool.
- Les defaults apparents, notamment les éraflures, les bosses, fissures ou tout autre dommage au fini du gros apparil ménager, à moins que ces dommages soient dus à des vices de matérielux ou de fabrication et soient signalés à Whirlpool dans les 30 jours suivant la date d'achat.
- Toute perte d'aliments due à une défaillance du réfrigérateur ou du congélateur.
- Les coûts associés au transport du gros apparemil menager du domicile pour réparation. Ce gros apparemil menager est conçu pour être réparé à domicile et seul le service à domicile est couvert par la présente garantie.
- Les réparations aux pieces ou systèmes résultat d'une modification non autorisée faite à l'appareil.
- Les frais de transport pour le service d'un produit si vous gross appeareil est situé dans une région éloignée ou un service d'entretien Whirlpool autorisé n'est pas disponible.
- La dépose et la réinstallation de votre gros appareil si celui-ci est installé dans un endroit inaccessible ou n'est pas installé conformément aux instructions d'installation fournies.
- Les gros apparéils menagers dont les numérios de série et de modèle originaux ont été enlevés, modifiés ou qui ne peuvent pas être facilement identifiés. La présente garantie est nulle si le numéro de série d'usine a été modifié ou enlevé du gros apparéil menager. Le coût d'une réparation ou des pieces de rechange dans le cadre de ces circonstances exclues est à la charge du client.
CLAUSE D'EXONÉRATION DE RESPONSABILITÉ AU TITRE DES GARANTIES IMPLICITES; LIMITATION DES RE COURS
LE SEUL ET EXCLUSIF RECOURS DU CLIENT DANS LE CADRE DE LA PRESENTE GARANTIE LIMITÉE CONSISTE EN LA RÉPARATION PRÉVUE CI-DESSUS. LES GARANTS IMPLICITES, Y COMPRIS LES GARANTS APPLICABLES DE QUALITÉ MARCHANDE ET D'APTITUDE À UN USAGE PARTICULIER, SONT LIMITÉES À UN AN OU À LA PLUS COURTE PÉRIODE Autorisé PAR LA LOI. WHIRLPOOL N'ASSUME AUCUNE RESPONSABILITÉ POUR LES DOMMAGES FORTUIS OU INDIRECTS. CERTAINES JURIDictions NE PERMETTENT PAS L'EXCLUSION OU LA LIMITATION DES DOMMAGES FORTUIS OU INDIRECTS, OU LES LIMITATIONS DE LA DUREE DES GARANTS IMPLICITES DE QUALITÉ MARCHANDE OU D'APTITUDE À UN USAGE PARTICULIER, DE SORTE QUE CES EXCLUSIONS OU LIMITATIONS PEUVENT NE PAS S'APPLIQUEUR DANS VOTRE CAS. CETTE GARANTIE VOUS CONFÈRE DES DROITS JURIDIQUES SPECIFIQUES ET VOUS POUVEZ ÉGÀLEMENT JOUIR D'AUTRES DROITS QUI PEUVENT VARIER D'UNE JURIDIRECTION À UNE AUTRE.
Si vous résidez à l'extérieur du Canada et des 50 États des États-Unis, contactez votre marchand Whirlpool autorisé pour déterminer si une autre garantie s'applique.
Si you avez besoin de service, voir d'abord la section "Dépannage" du Guide d'utilisation et d'entretien. Apre s avoir verifie la section "Dépannage", de I'aide supplémentaire peut etre trouve en verifiant la section Assistance ou service" ou en appelant Whirlpool. Aux E.-U., composer le 1-800-253-1301. Au Canada, composer le 1-800-807-6777. 1/08
Conserve ce manuel et votre reçu de vente ensemble pour réference ultérieure. Pour le service sous garantie, vous devezprésenter un document provuant la date d'achat ou d'installation.
Inscrivez les renseignements suivants au sujet de votre gros apparéil menager pour mieux vous aider à Obtir assistance ou service en cas de besoin. Vous devrez connaître le numéro de modulo et le numéro de série au complet. Vous trouvez ces renseignements sur la plaque signalétique située sur le produit.
Nom du marchand
Adresse
Numero de téléphone
Numero de modulo
Numéro de série
Date d'achat
Notice Facile