RBD275PVS - Electric oven BAUKNECHT - Free user manual and instructions
Find the device manual for free RBD275PVS BAUKNECHT in PDF.
Download the instructions for your Electric oven in PDF format for free! Find your manual RBD275PVS - BAUKNECHT and take your electronic device back in hand. On this page are published all the documents necessary for the use of your device. RBD275PVS by BAUKNECHT.
USER MANUAL RBD275PVS BAUKNECHT
BUILT-IN ELECTRIC OVEN
Use & Care Guide
For questions about features, operation/performance, parts, accessories or service, call: 1-800-253-1301 or visit our website at...www.whirlpool.com
In Canada, call for assistance, installation or service, call: 1-800-807-6777 or visit our website at... www.whirlpool.ca
FOUR ÉLECTRIQUE ENCASTRÉ
Upper Off/Cancel, Lower Off/Cancel or Off/Cancel. 4
Clock 4
Tones. 4
Fahrenheit and Celsius. 5
Timer. 5
Control Lock. 5
Oven Temperature Control 5
OVEN USE 6
Aluminum Foil 6
Positioning Racks and Bakeware 6
Bakeware. 6
Meat Thermometer 7
Oven Vent. 7
Baking and Roasting 7
Broiling and Custom Broiling 8
Timed Cooking. 8
OVEN CARE 9
Self-Cleaning Cycle. 9
General Cleaning. 10
Oven Lights 11
Oven Door 11
TROUBLESHOOTING 12
ASSISTANCE OR SERVICE 13
WARRANTY 14
TABLE DES MATIÈRES
SECURITE DU FOUR 15
COMMANDE ÉLECTRONIQUE DU FOUR 16
Affichage. 16
Mise en marche 16
ASSISTANCE OU SERVICE 26
WHIRLPOOL CORPORATION 27
OVEN SAFETY
Your safety and the safety of others are very important.
We have provided many important safety messages in this manual and on your appliance. Always read and obey all safety messages.

This is the safety alert symbol.
This symbol alerts you to potential hazards that can kill or hurt you and others.
All safety messages will follow the safety alert symbol and either the word "DANGER" or "WARNING."
These words mean:
DANGER
WARNING
You can be killed or seriously injured if you don't immediately follow instructions.
You can be killed or seriously injured if you don't follow instructions.
All safety messages will tell you what the potential hazard is, tell you how to reduce the chance of injury, and tell you what can happen if the instructions are not followed.
IMPORTANT SAFETY INSTRUCTIONS
WARNING: To reduce the risk of fire, electrical shock, injury to persons, or damage when using the oven, follow basic precautions, including the following:
- Proper Installation - Be sure the oven is properly installed and grounded by a qualified technician.
■ Never Use the Oven for Warming or Heating the Room. - Do Not Leave Children Alone – Children should not be left alone or unattended in area where oven is in use. They should never be allowed to sit or stand on any part of the oven.
- Wear Proper Apparel – Loose-fitting or hanging garments should never be worn while using the oven.
- User Servicing - Do not repair or replace any part of the oven unless specifically recommended in the manual. All other servicing should be referred to a qualified technician.
Storage in Oven - Flammable materials should not be stored in an oven. - Do Not Use Water on Grease Fires - Smother fire or flame or use dry chemical or foam-type extinguisher.
- Use Only Dry Potholders - Moist or damp potholders on hot surfaces may result in burns from steam. Do not let potholder touch hot heating elements. Do not use a towel or other bulky cloth.
Use Care When Opening Door - Let hot air or steam escape before removing or replacing food. -
Do Not Heat Unopened Food Containers - Build-up of pressure may cause container to burst and result in injury.
-
Keep Oven Vent Ducts Unobstructed.
- Placement of Oven Racks - Always place oven racks in desired location while oven is cool. If rack must be moved while oven is hot, do not let potholder contact hot heating element in oven.
- DO NOT TOUCH HEATING ELEMENTS OR INTERIOR SURFACES OF OVEN – Heating elements may be hot even though they are dark in color. Interior surfaces of an oven become hot enough to cause burns. During and after use, do not touch, or let clothing or other flammable materials contact heating elements or interior surfaces of oven until they have had sufficient time to cool. Other surfaces of the oven may become hot enough to cause burns – among these surfaces are oven vent openings and surfaces near these openings, oven doors, and windows of oven doors.
For self-cleaning ovens:
- Do Not Clean Door Gasket - The door gasket is essential for a good seal. Care should be taken not to rub, damage, or move the gasket.
- Do Not Use Oven Cleaners - No commercial oven cleaner or oven liner protective coating of any kind should be used in or around any part of the oven.
Clean Only Parts Listed in Manual.
Before Self-Cleaning the Oven - Remove broiler pan and other utensils.
SAVE THESE INSTRUCTIONS
The California Safe Drinking Water and Toxic Enforcement Act requires the Governor of California to publish a list of substances known to the State of California to cause cancer, birth defects, or other reproductive harm, and requires businesses to warn of potential exposure to such substances.
WARNING: This product contains a chemical known to the State of California to cause cancer, birth defects, or other reproductive harm.
This appliance can cause low-level exposure to some of the substances listed, including benzene, formaldehyde, carbon monoxide, and toluene.

ELECTRONIC OVEN CONTROL
Display
When power is first supplied to the appliance, everything on both displays will light up for 5 seconds. Then, the time of day and "PF" will appear on the electronic oven display.
If “PF” appears at any other time, a power failure has occurred. To reset the clock, press UPPER OFF/CANCEL or LOWER OFF/CANCEL on double oven models. On single oven models, press OFF/CANCEL.
Electronic Display
When the oven(s) are in use, this display shows the oven temperature. On double oven models, this display will also show which oven is being set.
Press UPPER OFF/CANCEL or LOWER OFF/CANCEL and retry entry. On single oven models, press OFF/CANCEL.
When the oven(s) are not in use, the display will show the time of day.
Start
The Start pad begins any oven function except the Timer. If the Start pad is not pressed within 5 seconds after pressing a pad, "START?" will appear on the oven display as a reminder. If the Start pad is not pressed within 4 minutes after pressing a pad, the oven display will return to the time of day mode and the programmed function will be canceled.
Upper Off/Cancel, Lower Off/Cancel or Off/Cancel
The UPPER OFF/CANCEL, LOWER OFF/CANCEL and OFF/CANCEL pads stop their respective oven functions except for the Clock, Timer and Control Lock.
The cooling fan may continue to operate even after an oven function has been canceled, depending on the oven temperature.
Clock
This is a 12-hour clock and does not show a.m. or p.m.
To Set:
Before setting, make sure the ovens, Timer and Timed Cooking are off.
- Press CLOCK.
- Press the HOUR or MIN “+” or “-” keypads to set the time of day.
- Press CLOCK or START.
To remove the time of day from the display: Press and hold CLOCK for 5 seconds. Repeat to return the time of day to the display. The time should not have to be reset.
Tones
Tones are audible signals, indicating the following:
One tone
Valid pad press
Oven is preheated
Function has been entered
Three tones
Invalid pad press
Four tones
End of cycle
■ Reminder, repeating each minute after the end-of-cycle tones
All Tones
All of the above tones are preset on, but can be turned off.
To Turn Off/On: Press and hold STOP TIME for 5 seconds, and a tone will sound. On double ovens only, "Snd OFF" and "Snd On" will remain in the display. To remove, press UPPER OFF/CANCEL, LOWER OFF/CANCEL, or OFF/CANCEL.
Reminder Tones
The Timer and Timed Cooking reminder tones are preset on, but can be turned off. Reminder tones do not include end-of-cycle tones. If "All Tones" have been turned off, the reminder tones cannot be turned on independently.
Timer
To Turn Tones Off/On: Press and hold TIMER SET until a tone sounds. The display will show "TIMER" and "NA9 On" or "TIMER" and "NA9 OFF." To remove from the display, press UPPER OFF/CANCEL, LOWER OFF/CANCEL or OFF/CANCEL. Repeat to turn back on.
Timed Cooking
To Turn Tones Off/On: Press and hold COOK TIME until a tone sounds. The display will show "COOK TIME" and "NA9 OFF" or "COOK TIME" and "NA9 On" to indicate the status of the cook time tones. To remove from the display, press UPPER OFF/CANCEL, LOWER OFF/CANCEL or OFF/CANCEL. Repeat to turn back on.
The temperature is preset at Fahrenheit, but can be changed to Celsius.
To Change: Touch and hold CUSTOM BROIL for 5 seconds. A tone will sound, and "C" will appear on the display. Repeat to change back to Fahrenheit. To remove, touch UPPER OFF/CANCEL, LOWER OFF/CANCEL or OFF/CANCEL.
Timer
The Timer can be set in hours and minutes and counts down the set time. The Timer does not start or stop the oven.
To Set:
- Press TIMER SET.
If no action is taken after 4 minutes, the electronic oven display will return to the time of day mode.
- Press the HOUR or MIN "+" or "-" keypads to set length of time.
- Press TIMER SET or START.
If not pressed within 4 minutes, the display will return to the time of day mode and the programmed function will be canceled.
When the set time ends, if enabled, end-of-cycle tones will sound, then reminder tones will sound every minute.
- Press TIMER OFF anytime to cancel the Timer and/or stop reminder tones.
Remember, do not press the Off/Cancel pads because the respective oven will turn off.
The time can be reset during the countdown by repeating the above steps.
Control Lock
The Control Lock shuts down the control panel pads to avoid unintended use of the ovens.
When the control is locked, only the CLOCK, TIMER SET, TIMER OFF and OVEN LIGHT pads will function.
The Control Lock is preset unlocked, but can be locked.
To Lock/Unlock Control: Before locking, make sure the ovens, Timer and Timed Cooking are off. Press and hold START until a single tone sounds, and "Loc," a picture of a lock and "START?" will appear on the oven display, about 5 seconds. Repeat to unlock and remove "Loc" from display.
Oven Temperature Control
IMPORTANT: Do not use a thermometer to measure oven temperature because opening the oven door and element or burner cycling may give incorrect readings.
The oven provides accurate temperatures; however, it may cook faster or slower than your previous oven, so the temperature calibration can be adjusted. It can be changed in Fahrenheit or Celsius.
A minus sign means the oven will be cooler by the displayed amount. The absence of a minus sign means the oven will be warmer by the displayed amount. Use the following chart as a guide.
| ADJUSTMENT °F (ADJUSTMENT °C) | COOKS FOOD |
| 10°F (5°C) | ...a little more |
| 20°F (10°C) | ...moderately more |
| 30°F (15°C) | ...much more |
| -10°F (-5°C) | ...a little less |
| -20°F (-10°C) | ...moderately less |
| -30°F (-15°C) | ...much less |
To Adjust Oven Temperature Calibration:
- Press and hold BAKE until the oven display shows the current calibration, for example, "0° CAL."
- On double oven models only, press UPPER OVEN or LOWER OVEN.
- Press the TEMP "+" or "-" keypads to increase or to decrease the temperature in 10^ ( 5^ ) amounts. The adjustment can be set between 30^ ( 15^ ) and -30^ (-15°C).
- Press START.
OVENUSE
Odors and smoke are normal when the oven is used the first few times, or when it is heavily soiled.
During oven use, the heating elements will not remain on, but will cycle on and off throughout oven operation.
IMPORTANT: The health of some birds is extremely sensitive to the fumes given off. Exposure to the fumes may result in death to certain birds. Always move birds to another closed and well-ventilated room.
Aluminum Foil
IMPORTANT: To avoid permanent damage to the oven bottom finish, do not line the oven bottom with any type of foil, liners or cookware.
For best cooking results, do not cover entire rack with foil because air must be able to move freely.
To catch spills, place foil on rack below dish. Make sure foil is at least 12 (1.3 cm) larger than the dish and that it is turned up at the edges.
Positioning Racks and Bakeware
IMPORTANT: To avoid permanent damage to the porcelain finish, do not place food or bakeware directly on the oven door or bottom.
RACKS
Position racks before turning on the oven.
Do not move racks with bakeware on them.
Make sure racks are level.
To move a rack, pull it out to the stop position, raise the front edge, then lift out. Use the following illustration and chart as a guide.

| FOOD | RACK POSITION(S) |
| Large roasts, turkeys, angel food, bundt cakes, quick breads, pies | 1 or 2 |
| Yeast breads, casseroles, meat and poultry | 2 |
| Cookies, biscuits, muffins, cakes | 2 or 3 |
BAKeware
Hot air must be able to circulate around food to cook evenly, so allow 2'' (5 cm) of space around bakeware and oven walls. Use the following chart as a guide.
| NUMBER OF PAN(S) | POSITION ON RACK |
| 1 | Center of rack. |
| 2 | Side by side or slightly staggered. |
| 3 or 4 | Opposite corners on each rack. Make sure that no bakeware piece is directly over another. |
Bakeware
The bakeware material affects cooking results. Follow manufacturer's recommendations and use the bakeware size recommended in the recipe. Use the following chart as a guide.
| BAKeware/RESULTS | RECOMMENDATIONS |
| Light colored aluminum | Use temperature and time recommended in recipe. |
| Light golden crusts | |
| Even browning | |
| Dark aluminum and other bakeware with dark, dull and/or nonstick finish | May need to reduce baking temperatures slightly. |
| Use suggested baking time. | |
| Brown, crisp crusts | For pies, breads and casseroles, use temperature recommended in recipe. |
| Place rack in center of oven. | |
| Insulated cookie sheets or baking pans | Place in the bottom third of oven. |
| May need to increase baking time. | |
| Little or no bottom browning | |
| Stainless steel | May need to increase baking time. |
| Light, golden crusts | |
| Uneven browning | |
| Stoneware/Baking stone | Follow manufacturer's instructions. |
| Crisp crusts | |
| Ovenproof glassware, ceramic glass or ceramic | May need to reduce baking temperatures slightly. |
| Brown, crisp crusts |
Meat Thermometer
On models without a temperature probe, use a meat thermometer to determine whether meat, poultry and fish, are cooked to the desired degree of doneness. The internal temperature, not appearance, should be used to determine doneness. A meat thermometer is not supplied with this appliance. Follow manufacturer's directions for using a meat thermometer.

Oven Vent

Single Oven
A. Control panel
B. Oven vent
C.Oven
Double Oven
D. Upper oven
E.Oven vent
F. Lower oven
The oven vent should not be blocked or covered since it allows the release of hot air and moisture from the oven. Blocking or covering vents will cause poor air circulation, affecting cooking and cleaning results. Do not set plastics, paper or other items that could melt or burn near the oven vent.

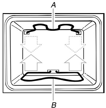
Baking and Roasting
A. Broil element
B. Bake element
ACCUBAKE® Temperature Management System
The ACCUBAKE® system electronically regulates the oven heat levels during preheat and bake to maintain a precise temperature range for optimal cooking results. The bake and broil elements cycle on and off in intervals. The bake element will glow red when cycling on, the broil element will not. This feature is automatically activated when the oven is in use.
Before baking and roasting, position racks according to the "Positioning Racks and Bakeware" section. When roasting, it is not necessary to wait for the oven preheat conditioning time to end before putting food in unless recommended in the recipe. If the oven door is opened during baking and roasting, the bake and broil elements will turn off immediately. They will come back on once the door is closed.
To Bake or Roast:
- On double oven models only, press UPPER OVEN or LOWER OVEN.
Close oven door. The display will show "door" and the heating elements will not heat if the door is open when baking and roasting.
- Press BAKE.
Press the TEMP “+” or “-” keypads to enter a temperature other than 350^ (177°C). The bake range can be set between 170^ and 500^ (77°C and 260°C).
- Press START.
A preheat time will count down and "PrE" will appear on the oven display if the actual oven temperature is under 170^ (77^) .
When the actual oven temperature reaches 170^ (77^) , the timer will continue counting down. The temperature setting can be changed anytime after pressing START.
When the set temperature is reached, if enabled, one tone will sound.
- Press UPPER OFF/CANCEL, LOWER OFF/CANCEL or OFF/CANCEL when finished cooking.
Preheating
After START is pressed, the oven will enter a timed preheat conditioning. "PrE" and the time countdown will appear on the display. When the preheat conditioning time ends, a tone will sound and the selected temperature will appear on the display.
Preheat temperatures are affected by varying factors such as room temperature and peak energy usage times. It is normal for the temperature showing on the display and the actual oven temperature to differ.
Waiting an additional 10 minutes after the preheat conditioning time ends to put food in the oven is suggested when baking foods with leavening ingredients, such as yeast, baking powder, baking soda and eggs.
Broiling and Custom Broiling

A. Broil element
Broiling uses direct radiant heat from the broil element to cook food. During broiling, the broil element cycles on and off in intervals to maintain the oven temperature.
If the oven door is opened during broiling, the broil element will turn off immediately and come back on once the door is closed.
For best results, use a broiler pan and grid. They are designed to drain juices and help avoid spatter and smoke.
If you would like to purchase a broiler pan, one may be ordered. See "Assistance or Service" section to order. Ask for Part Number 4396923.
- For proper draining, do not cover the grid with foil. The bottom of the pan may be lined with aluminum foil for easier cleaning.
- Trim excess fat to reduce spattering. Slit the remaining fat on the edges to avoid curling.
Pull out oven rack to stop position before turning or removing food. Use tongs to turn food to avoid the loss of juices. Very thin cuts of fish, poultry or meat may not need to be turned.
After broiling, remove the pan from the oven when removing the food. Drippings will bake on the pan if left in the heated oven, making cleaning more difficult.
To Broil:
Before broiling or custom broiling, position the rack according to the Broiling Chart.
Position food on the grid in the broiler pan, then place it in the center of the oven rack with the longest side parallel to the door. It is not necessary to preheat the oven before putting in food, unless recommended in the recipe.
Close the door.
- On double oven models only, press UPPER OVEN or LOWER OVEN.
- Press CUSTOM BROIL.
- Press START.
The set oven temperature will appear on the oven display until the oven is turned off.
- Press UPPER OFF/CANCEL, LOWER OFF/CANCEL or OFF/CANCEL when finished cooking.
To Custom Broil:
When custom broiling, changing the temperature allows more precise control. The lower the temperature, the slower the cooking. Thicker cuts and unevenly shaped pieces of meat, fish and poultry may cook better at lower broiling temperatures.
-
On double oven models only, press UPPER OVEN or LOWER OVEN.
-
Press CUSTOM BROIL.
- Press the TEMP "+" or "-" keypads to enter a temperature other than 500^ (260°C). The broil range can be set between 170^ and 500^ (77°C and 260°C).
- Press START.
The set oven temperature will appear on the oven display until the oven is turned off.
- Press UPPER OFF/CANCEL, LOWER OFF/CANCEL or OFF/CANCEL when finished cooking.
BROILING CHART
For best results, place food 3'' (7 cm) or more from the broil element. Times are guidelines only and may need to be adjusted for individual foods and tastes. Recommended rack positions are numbered from the bottom (1) to the top (5). For diagram, see the "Positioning Racks and Bakeware" section.
| FOOD | RACK POSITION | COOK TIME (in minutes) | |
| SIDE 1 | SIDE 2 | ||
| Steak | |||
| 1" (2.5 cm) thick | |||
| medium rare | 4 | 14-15 | 7-8 |
| medium | 4 | 15-16 | 8-9 |
| well-done | 4 | 18-19 | 9-10 |
| Ground meat patties* | |||
| 3¼" (2 cm) thick | |||
| well-done | 4 | 13-14 | 7-8 |
| Pork chops | |||
| 1" (2.5 cm) thick | 4 | 20-22 | 10-11 |
| Ham slice, precooked | |||
| 1½" (1.25 cm) thick | 4 | 8-10 | 4-5 |
| Frankfurters | 4 | 5-7 | 3-4 |
| Lamb chops | |||
| 1" (2.5 cm) thick | 4 | 14-17 | 8-9 |
| Chicken | |||
| bone-in pieces | 3 | 17-20 | 17-20 |
| boneless breasts | 4 | 11-16 | 11-16 |
| Fish Fillets | |||
| 1¼-1½" (0.6-1.25 cm) thick | 4 | 8-10 | 4-5 |
| Fish Steaks | |||
| 3¼-1" (2-2.5 cm) thick | 4 | 16-18 | 8-9 |
*Place up to 12 patties, equally spaced, on broiler grid.
Timed Cooking
WARNING
Food Poisoning Hazard
Do not let food sit in oven more than one hour before or after cooking.
Doing so can result in food poisoning or sickness.
Timed Cooking allows the oven to be set to turn on at a certain time of day, cook for a set length of time, and/or shut off automatically.
To Set a Cook Time:
- On double oven models only, press UPPER OVEN or LOWER OVEN.
- Press BAKE or CUSTOM BROIL.
Press the number pads to enter a temperature other than the one displayed.
- Press COOK TIME.
- Press the HOUR and MIN “+” or “-” keypads to enter the length of time to cook.
- Press START.
The start time, the stop time countdown and "TIMED" will appear on the oven display.
On double oven models only, when both upper and lower ovens are being used at the same time, touch UPPER OVEN or LOWER OVEN to display the respective cook time.
When the stop time is reached, the oven will shut off automatically and "End" will appear on the oven display.
If enabled, end-of-cycle tones will sound, then reminder tones will sound every minute.
- Press UPPER OFF/CANCEL, LOWER OFF/CANCEL or OFF/CANCEL or open the oven door to clear the display and/or stop reminder tones.
To Set a Cook Time and Stop Time:
Before setting, make sure the clock is set to the correct time of day. See "Clock" section.
- On double oven models only, press UPPER OVEN or LOWER OVEN.
- Press BAKE or CUSTOM BROIL.
Press the TEMP “+” or “-” arrow pad to enter a temperature other than the one displayed.
- Press COOK TIME.
- Press the HOUR and MIN "+" or "-" keypads to enter the length of time to cook.
- Press STOP TIME.
When the stop time is reached, the oven will shut off automatically and "End" will appear on the oven display.
If enabled, end-of-cycle tones will sound, then reminder tones will sound every minute.
- Press START
The start time is automatically calculated and displayed.
"TIMED," "DELAY" and stop time will also appear on the oven display.
When the start time is reached, the oven will automatically turn on. The countdown time will appear on the oven display.
7. Press UPPER OFF/CANCEL, LOWER OFF/CANCEL or OFF/CANCEL or open the oven door to clear the display and/or stop reminder tones.
OVEN CARE
Self-Cleaning Cycle
(on some models)
WARNING

Burn Hazard
Do not touch the oven during the Self-Cleaning cycle.
Keep children away from oven during
Self-Cleaning cycle.
Failure to follow these instructions can result in burns.
IMPORTANT: The health of some birds is extremely sensitive to the fumes given off during the Self-Cleaning cycle. Exposure to the fumes may result in death to certain birds. Always move birds to another closed and well-ventilated room.
Self-clean the oven before it becomes heavily soiled. Heavy soil results in longer cleaning and more smoke.
Keep the kitchen well-ventilated during the Self-Cleaning cycle to help get rid of heat, odors, and smoke.
Do not block the oven vent(s) during the Self-Cleaning cycle. Air must be able to move freely. Depending on your model, see "Oven Vent" or "Oven Vents" section.
Do not clean, rub, damage or move the oven door gasket. The door gasket is essential for a good seal.
Prepare Oven:
- Remove the broiler pan, grid, cookware and bakeware and, on some models, the temperature probe from the oven.
Remove oven racks to keep them shiny and easy to slide. See "General Cleaning" section for more information.
Remove any foil from the oven because it may burn or melt, damaging the oven. - Hand clean inside door edge and the 1 12 (3.8 cm) area around the inside oven cavity frame, being certain not to move or bend the gasket. This area does not get hot enough during self-cleaning to remove soil. Do not let water, cleaner, etc. enter slots on door frame. Use a damp cloth to clean this area.
Wipe out any loose soil to reduce smoke and avoid damage. At high temperatures, foods react with porcelain. Staining, etching, pitting or faint white spots can result. This will not affect cooking performance.
How the Cycle Works
IMPORTANT: The heating and cooling of porcelain on steel in the oven may result in discoloring, loss of gloss, hairline cracks and popping sounds.
The Self-Cleaning cycle uses very high temperatures, burning soil to a powdery ash.
The oven is preset for a 3 hour 30 minute clean cycle, but the time can be changed. Suggested clean times are 2 hours 30 minutes for light soil and between 3 hours 30 minutes to 4 hours 30 minutes for average to heavy soil.
Once the oven has completely cooled, remove ash with a damp cloth. Do not wipe down any of the inside surfaces until the oven has completely cooled down. Applying a cool damp cloth to the inner door glass before it has completely cooled could result in the glass breaking.
The oven light will not work during the Self-Cleaning cycle.
On combination oven models, the upper oven will not work during the Self-Cleaning cycle.
On double oven models only, be sure to set the correct controls for the oven (upper or lower) you want to use.
To Self-Clean:
Before self-cleaning, make sure the door is closed completely or it will not lock and the cycle will not begin.
- Press AUTO CLEAN.
- Press the HOUR "+" or "-" keypads to set a clean time other than 3 hours 30 minutes. The clean time can be set between 2 hours 30 minutes and 4 hours 30 minutes in 30-minute increments.
- Press START.
The oven door will automatically lock, and "LOCKED" will appear on the oven display. The door will not unlock until the oven cools.
When the cycle is complete and the oven cools, "End" will appear on the oven display, and "LOCKED" will disappear.
- Press UPPER OFF/CANCEL, LOWER OFF/CANCEL or OFF/CANCEL or open the oven door to clear the oven display.
To Delay Start Self-Clean:
Before delay starting Self-Clean, make sure the clock is set to the correct time of day. See "Clock" section. Also, make sure the door is closed completely or it will not lock and the cycle will not begin.
- Press AUTO CLEAN.
Press the HOUR "+" or "-" keypad to set a clean time other than 3 hours 30 minutes. The clean time can be set between 2 hours 30 minutes and 4 hours 30 minutes in 30-minute increments.
2. Press STOP TIME.
3. Press the HOUR and MIN “+” or “-” keypads to enter the time of day to stop.
4. Press START.
The start time is automatically calculated and displayed.
The door will lock automatically, and "LOCKED" and "DELAY" will appear on the display. The door will not unlock until the oven cools.
When the start time is reached, the oven will turn on automatically.
When the cycle is complete and the oven cools, "End" will appear on the lower oven display and "LOCKED" will disappear.
- Press any pad or open the oven door to clear the oven display.
To Stop Self-Clean anytime:
Press UPPER OFF/CANCEL, LOWER OFF/CANCEL or OFF/CANCEL. If the oven temperature is too high, the door will remain locked. It will not unlock until the oven cools.
General Cleaning
IMPORTANT: Before cleaning, make sure all controls are off and the oven is cool. Always follow label instructions on cleaning products.
Soap, water and a soft cloth or sponge are suggested first unless otherwise noted.
STAINLESS STEEL (on some models)
Cleaning Method:
Rub in direction of grain to avoid damaging.
Stainless Steel Cleaner and Polish Part Number 31462 (not included): See "Assistance or Service" section to order.
Liquid detergent or all-purpose cleaner: Rinse with clean water and dry with soft, lint-free cloth.
To avoid damage to stainless steel surfaces, do not use soap-filled scouring pads, abrasive cleaners, Cooktop Polishing Creme, steel-wool pads, gritty washcloths or abrasive paper towels.
OVEND DOOR EXTERIOR
Cleaning Method:
Glass cleaner and a soft cloth or sponge: Apply glass cleaner to soft cloth or sponge, not directly on panel.
All-Purpose Appliance Cleaner Part Number 31682 (not included): See "Assistance or Service" section to order.
CONTROL PANEL
Cleaning Method:
Glass cleaner and soft cloth or sponge: Apply glass cleaner to soft cloth or sponge, not directly on panel.
All-Purpose Appliance Cleaner Part Number 31682 (not included): See "Assistance or Service" section to order.
To avoid damage to the control panel, do not use abrasive cleaners, steel-wool pads, gritty washcloths or abrasive paper towels.
OVEN CAVITY
Do not use oven cleaners.
Food spills should be cleaned when oven cools. At high temperatures, foods react with porcelain and staining, etching, pitting or faint white spots can result.
Cleaning Method:
Self-Cleaning cycle: See "Self-Cleaning Cycle" first.
OVEN RACKS
Cleaning Method:
Self-Cleaning cycle:
See "Self-Cleaning Cycle" first. Remove racks or they will discolor and become harder to slide. If this happens, a light coating of vegetable oil applied to the rack guides will help them slide.
Steel-wool pad
BROILER PAN AND GRID (accessory)
Do not clean in the Self-Cleaning cycle (on some models).
Cleaning Method:
Mildly abrasive cleanser:
Scrub with wet scouring pad.
Solution of 1 / 2 cup (125~mL) ammonia to 1 gal. (3.75 L) water:
Soak for 20 minutes, then scrub with scouring or steel-wool pad.
Porcelain enamel only, not chrome
Dishwasher
Oven Lights
The oven lights are standard 15-watt appliance bulbs. They will come on when the oven door is opened. On double oven models with self-clean upper and lower ovens, all oven lights will come on when either door is opened. On double oven models with standard-clean lower ovens, the oven lights will not come on when the lower oven door is opened. The oven lights will not work during the Self-Cleaning cycle. When the oven door is closed, touch OVEN LIGHT to turn them on or off.
To Replace:
Before replacing, make sure the oven is off and cool.
- Disconnect power.
- Turn the glass bulb cover in the back of the oven counterclockwise to remove.

- Turn bulb counterclockwise to remove from socket.
- Replace bulb and bulb cover by turning clockwise.
- Reconnect power.
Oyen Door
For normal oven use, it is not suggested to remove the oven door. However, if removal is necessary, make sure the oven is off and cool. Then, follow these instructions. The oven door is heavy.
To Remove:
- Open oven door all the way.
- Flip up the hinge latch on each side.

- Close the oven door as far as it will shut.
- Lift the oven door while holding both sides.
Continue to push the oven door closed and pull it away from the oven door frame.

To Replace:
- Insert both hanger arms into the door.

- Open the oven door.
You should hear a "click" as the door is set into place.
- Move the hinge levers back to the locked position. Check that the door is free to open and close. If it is not, repeat the removal and installation procedures.
TROUBLESHOOTING
Try the solutions suggested here first in order to avoid the cost of an unnecessary service call.
Nothing will operate
Has a household fuse blown, or has a circuit breaker tripped?
Replace the fuse or reset the circuit breaker. If the problem continues, call an electrician.
Is the appliance wired properly?
See Installation Instructions.
Oven will not operate
Is the electronic oven control set correctly?
See "Electronic Oven Control" section.
Has a delay start been set?
See "Timed Cooking" section.
On some models, is the Control Lock set?
See "Control Lock" section.
On some models, is the Sabbath Mode set?
See "Sabbath Mode" section.
On double oven models, is one oven self-cleaning?
When one oven is self-cleaning the other oven cannot be set or turned on.
- On double oven models, has the correct oven been selected?
Choose UPPER OVEN or LOWER OVEN first.
Oven temperature too high or too low
Does the oven temperature calibration need adjustment?
See "Oven Temperature Control" section.
Display shows messages
■ Is the display showing “PF”, “PF id=27” or “PF id=30”?
There has been a power failure. Clear the display. See "Display(s)" section. On some models, reset the clock, if needed. See "Clock" section.
■ Is the display showing a letter followed by a number?
Clear the display. See "Display(s)" section. If it reappears, call for service. See "Assistance or Service" section.
Self-Cleaning cycle will not operate
Is the oven door open?
Close the oven door all the way.
Has the function been entered?
See "Self-Cleaning Cycle" section.
On some models, has a delay start Self-Clean cycle been set?
See "Self-Cleaning Cycle" section.
Has a delay start been set?
See "Timed Cooking" section.
On double oven models, is one oven self-cleaning?
When one oven is self-cleaning, the other oven cannot be set to self-clean.
Oven cooking results not what expected
Is the appliance level?
Level the appliance. See the Installation Instructions.
Is the proper temperature set?
Double-check the recipe in a reliable cookbook.
Is the proper oven temperature calibration set?
See "Oven Temperature Control" section.
Was the oven preheated?
See "Baking and Roasting" section.
Is the proper bakeware being used?
See "Bakeware" section.
Are the racks positioned properly?
See "Positioning Racks and Bakeware" section.
Is there proper air circulation around bakeware?
See "Positioning Racks and Bakeware" section.
Is the batter evenly distributed in the pan?
Make sure batter is level in the pan.
Is the proper length of time being used?
Adjust cooking time.
Has the oven door been opened while cooking?
Oven peeking releases oven heat and can result in longer cooking times.
Are baked items too brown on the bottom?
Move rack to higher position in the oven.
Are pie crust edges browning early?
Use aluminum foil to cover the edge of the crust and/or reduce baking temperature.
ASSISTANCE OR SERVICE
Before calling for assistance or service, please check
"Troubleshooting." It may save you the cost of a service call. If you still need help, follow the instructions below.
When calling, please know the purchase date and the complete model and serial number of your appliance. This information will help us to better respond to your request.
If you need replacement parts
If you need to order replacement parts, we recommend that you use only FSP® replacement parts. FSP® replacement parts will fit right and work right because they are made with the same precision used to build every new WHIRLPOOL® appliance.
To locate FSP® replacement parts in your area, call us or your nearest Whirlpool designated service center.
In the U.S.A.
Call the Whirlpool Customer eXperience Center toll free: 1-800-253-1301.
Our consultants provide assistance with:
Features and specifications on our full line of appliances.
Installation information.
Use and maintenance procedures.
■ Accessory and repair parts sales.
Specialized customer assistance (Spanish speaking, hearing impaired, limited vision, etc.).
- Referrals to local dealers, repair parts distributors and service companies. Whirlpool designated service technicians are trained to fulfill the product warranty and provide after-warranty service, anywhere in the United States.
To locate the Whirlpool designated service company in your area, you can also look in your telephone directory Yellow Pages.
For further assistance
If you need further assistance, you can write to Whirlpool Corporation with any questions or concerns at:
Whirlpool Brand Home Appliances
Customer eXperience Center
553 Benson Road
Benton Harbor, MI 49022-2692
Please include a daytime phone number in your correspondence.
Accessories
Accessories U.S.A.
To order accessories, call the Whirlpool Customer eXperience Center toll free at 1-800-442-9991 and follow the menu prompts. Or visit our website at www.whirlpool.com and click on “Parts & Accessories.”
Broiler Pan and Grid
Order Part Number 4396923
Stainless Steel Cleaner and Polish
(stainless steel models)
Order Part Number 31462
All-Purpose Appliance Cleaner
Order Part Number 31682
Heavy Duty Degreaser
Part Number 31552
In Canada
Call the Whirlpool Canada LP Customer eXperience Centre toll free: 1-800-807-6777.
Our consultants provide assistance with:
Features and specifications on our full line of appliances.
Use and maintenance procedures.
■ Accessory and repair parts sales.
- Referrals to local dealers, repair parts distributors, and service companies. Whirlpool Canada LP designated service technicians are trained to fulfill the product warranty and provide after-warranty service, anywhere in Canada.
For further assistance
If you need further assistance, you can write to Whirlpool Canada LP with any questions or concerns at:
Customer eXperience Centre
Whirlpool Canada LP
1901 Minnesota Court
Mississauga, Ontario L5N 3A7
Please include a daytime phone number in your correspondence.
WHIRLPOOL CORPORATION MAJOR APPLIANCE WARRANTY
LIMITED WARRANTY
For one year from the date of purchase, when this major appliance is operated and maintained according to instructions attached to or furnished with the product, Whirlpool Corporation or Whirlpool Canada LP (hereafter "Whirlpool") will pay for Factory Specified Parts and repair labor to correct defects in materials or workmanship. Service must be provided by a Whirlpool designated service company. This limited warranty is valid only in the United States or Canada and applies only when the major appliance is used in the country in which it was purchased. Outside the 50 United States and Canada, this limited warranty does not apply. Proof of original purchase date is required to obtain service under this limited warranty.
ITEMS EXCUSED FROM WARRANTY
This limited warranty does not cover:
- Service calls to correct the installation of your major appliance, to instruct you on how to use your major appliance, to replace or repair house fuses, or to correct house wiring or plumbing.
- Service calls to repair or replace appliance light bulbs, air filters or water filters. Consumable parts are excluded from warranty coverage.
- Repairs when your major appliance is used for other than normal, single-family household use or when it is used in a manner that is contrary to published user or operator instructions and/or installation instructions.
- Damage resulting from accident, alteration, misuse, abuse, fire, flood, acts of God, improper installation, installation not in accordance with electrical or plumbing codes, or use of consumables or cleaning products not approved by Whirlpool.
- Cosmetic damage, including scratches, dents, chips or other damage to the finish of your major appliance, unless such damage results from defects in materials or workmanship and is reported to Whirlpool within 30 days from the date of purchase.
- Any food loss due to refrigerator or freezer product failures.
- Costs associated with the removal from your home of your major appliance for repairs. This major appliance is designed to be repaired in the home and only in-home service is covered by this warranty.
- Repairs to parts or systems resulting from unauthorized modifications made to the appliance.
- Expenses for travel and transportation for product service if your major appliance is located in a remote area where service by an authorized Whirlpool servicer is not available.
- The removal and reinstallation of your major appliance if it is installed in an inaccessible location or is not installed in accordance with published installation instructions.
- Major appliances with original model/serial numbers that have been removed, altered or cannot be easily determined. This warranty is void if the factory applied serial number has been altered or removed from your major appliance.
The cost of repair or replacement under these excluded circumstances shall be borne by the customer.
DISCLAIMER OF IMPLIED WARRANTY; LIMITATION OF REMEDIES
CUSTOMER'S SOLE AND EXCLUSIVE REMEDY UNDER THIS LIMITED WARRANTY SHALL BE PRODUCT REPAIR AS PROVIDED HEREIN. IMPLIED WARRANTYES, INCLUDING WARRANTYES OF MERCHANTIBILITY OR FITNESS FOR A PARTICULAR PURPOSE, ARE LIMITED TO ONE YEAR OR THE SHORTEST PERIOD ALLOWED BY LAW. WHIRLPOOL SHALL NOT BE LIABLE FOR INCIDENTAL OR CONSEQUENTIAL DAMAGES. SOME STATES AND PROVINCES DO NOT ALLOW THE EXCLUSION OR LIMITATION OF INCIDENTAL OR CONSEQUENTIAL DAMAGES, OR LIMITATIONS ON THE DURATION OF IMPLIED WARRANTYES OF MERCHANTABILITY OR FITNESS, SO THESE EXCLUSIONS OR LIMITATIONS MAY NOT APPLY TO YOU. THIS WARRANTY GIVES YOU SPECIFIC LEGAL RIGHTS, AND YOU MAY ALSO HAVE OTHER RIGHTS WHICH VARY FROM STATE TO STATE OR PROVINCE TO PROVINCE.
If outside the 50 United States and Canada, contact your authorized Whirlpool dealer to determine if another warranty applies.
If you need service, first see the "Troubleshooting" section of the Use & Care Guide. After checking "Troubleshooting," you may find additional help by checking the "Assistance or Service" section or by calling Whirlpool. In the U.S.A., call 1-800-253-1301. In Canada, call 1-800-807-6777.
Keep this book and your sales slip together for future reference. You must provide proof of purchase or installation date for in-warranty service.
Write down the following information about your major appliance to better help you obtain assistance or service if you ever need it. You will need to know your complete model number and serial number. You can find this information on the model and serial number label located on the product.
Dealer name.
Address
Phone number
Model number
Serial number
Purchase date
SECURITE DU FOUR
Upper Off/Cancel (Four supérieur - Arret/nulation), Lower Off/Cancel (Four inférieur -
ASSISTANCE OU SERVICE
1901 Minnesota Court
Mississauga, Ontario L5N 3A7
EasyManual