HEXA 8 - Cheminée SEGUIN - Notice d'utilisation et mode d'emploi gratuit
Retrouvez gratuitement la notice de l'appareil HEXA 8 SEGUIN au format PDF.
| Type d'appareil | Insert de cheminée |
| Matériau du foyer | Fonte |
| Type de foyer | Foyer fermé |
| Installation | Encastrée |
| Combustible | Bois |
| Puissance thermique | Non précisé |
| Rendement | Non précisé |
| Dimensions (L x H x P) | Non précisé |
| Poids | Non précisé |
| Type de vitre | Vitre résistante à haute température |
| Ouverture de porte | Latérale ou frontale (non précisé) |
| Évacuation des fumées | Conduit de cheminée standard |
| Système de ventilation | Non précisé |
| Normes de sécurité | Conforme aux normes en vigueur |
| Couleur | Non précisé |
| Accessoires inclus | Non précisé |
FOIRE AUX QUESTIONS - HEXA 8 SEGUIN
Questions des utilisateurs sur HEXA 8 SEGUIN
0 question sur cet appareil. Repondez a celles que vous connaissez ou posez la votre.
Poser une nouvelle question sur cet appareil
Téléchargez la notice de votre Cheminée au format PDF gratuitement ! Retrouvez votre notice HEXA 8 - SEGUIN et reprennez votre appareil électronique en main. Sur cette page sont publiés tous les documents nécessaires à l'utilisation de votre appareil HEXA 8 de la marque SEGUIN.
MODE D'EMPLOI HEXA 8 SEGUIN
Pourquoi besoin Seguin?
GARANTIE


- Pour la qualité de la fonte, pour obtenir une qualité aussi parfaite, nous avons un cahier des charges très précis que respectent nos fondeurs. Tous nos foyers fonte sont réalisés qu'avac de la fonte neuve.
- Pour les atouts techniques, le clapet dans le conduit d'évacuation des fumées permet d'obtenir des rendements de 72 à 75% il est régla ble en écartement ce qui permet un fonctionnement optimisé quelque soit le type de conduit.
Le système de commande du clapet interdit l'ouverture de la porte lorsque celui-ci est fermé, ce qui évite les retours de fumées.
- Pour la fiabilité, les système de commandes sont assemblés avec des écrous de sécurité, ce qui évite tous risques de blocage ou de déssérage. Les portes escamtables sont équipés de chaînes et de pignons lubriés qui assurent un bon parallélisme et une manipulation silencieuse.
- Pour le comport, les foyers Seguin sont équipés d'un système de nettoyage de vitre par ridesau d'air sur les quatre côtés ce qui évite les contraintes de nettoyage.
- Pour l'esthétique, les lisérés décoratifs de portes et de finitions sont en laiton massif ou en inox brossé.
- Pour la garantie, Tous les foyers fonte Seguin sont garantis 7 ans. (sauf Insert 3000, 5 ans)
- Pour la double combustion, encore plus de rendement, économique de combustible, réduction des rejets pour le plus grand comport de l'utilisateur et le respect de l'environnement.

Rubis
Code : F0100 Options : Liséré laiton ou inox brossé sur porte

Façade 59 cm
Büches:45cm
Puissance nominale : 10 kW*
Rendement : 73.40%*
Poids : 105 kg
(suivantnormeEN13229)
CLAPET DE BUSE :
à obturation réglabre
- PORTE BATTANTE :
la porté est bloquée sur fermeture lorsque le clapet est fermé





Celsius
Code:F0200
Options :
Convecteur
Liseré laiton ou inox brossé sur porte

Façade 71 cm
Büches: 55 cm
Puisance nominale : 12 kW*
Rendement : 73.20%*
Poids:140 kg (version de base)
(suivantnormeEN13229)
CLAPET DE BUSE:
à obturation réglabre
PORTE BATTANTE
la porte est bloquée sur fermeture lorsque le clapet est fermé




Sunflam
Code:F0300
Options :
- Portescamo-battante
Convecteur
Liseré laiton ou inox brossé sur porte
- Elargisseurs pour façade 80 cm
- Double combustion

CLAPET DE BUSE:
à obturation régable
- PORTE BATTANTE :
la porté est bloquée sur fermeture lorsque le clapet est fermé
PORTE ESCAMO-BATTANTE
le clapet s'ouvre automatiquement au releavage et à l'ouverture de la porte
CE FOYER POT RECEVOIR L'OPTION
DOUBLE COMBUSTION - (DAFS) - voir page 15
Façade 71 ou 80 cm
Büches : jusqu'à 55 cm
Puissance nominale : 12 kW*
Rendement : 73.20%*
Double combustion (DAFS): 14kW^*
Rendement (DAFS) : 77,00%*
Poids:155kg (version de base)
*suivantnormeEN13229)


Façade 80 cm

Portescamo-battante et convecteur



Europa 7
Code:F0400
Options :
- Portescamo-battante
Convectiveur
Liseré laiton ou inox brossé sur porte
Porte fonte laitonnée ou nickelée
- Porte Seguin Deco
- Elargisseurs pour façade 80 cm
- Double combustion

CLAPET DE BUSE:
à obturation régable
- PORTE BATTANTE :
la porté est bloquée sur fermeture lorsque le clapet est fermé
PORTE ESCAMO-BATTANTE
le clapet s'ouvre automatiquement au releavage et à l'ouverture de la porte

Modulable de 1 à 3 faces vitrées
Angle droit ou gauche


Portescamo-battante
3 cotes vitres

Porte Seguin Deco



CE FOYER PEUT RECEVOIR L'OPTION
DOUBLE COMBUSTION - (DAFS) - voir page 15
Façade 71 ou 80 cm
Buches : jusqu'à 55 cm
Puisance nominale : 13 kW*
Rendement : 73,20%*
Double combustion (DAFS) : 15 kW*
Rendement (DAFS) : 76,70%*
Poids : 150 kg (version de base)
(suivant terme EN 13229)

Visio 8
Code:F0000
Options :
-
Double combustion
-
Regulateur d'arrivée d'air
(uniquement avec
double combustion)

line

Commande du régulateur d'arrivée d'air
CLAPET DE BUSE :
à obturation réglabre
PORTE BATTANTE ET ESCAMO-BATTANTE
le clapet s'ouvre automatiquement au releavage et à l'ouverture de la porte
Portescamo-battante
et convecteur


Régulateur d'arrivee d'air pour bilan energetique optimum
Fonctionnement avec connexion extérieure pour l'alimentation en air de combustion.
3 positions :
1 - Allumage ou reliance combustion
2 - Grande allure
3-Allure réduite
(voir page 18)



GARANTIE 7 ANS*
Les foyers «Nouvelle Génération»



Europa 7
Europa 7 Escamo - battant
La finition "BLACK LINE"
est disponible sur les versions :
- Europa 7 (face - angle)
- Multivision 7000 (face - double face)
- Visio 8


Visio 8

Europa 7 angle et 3 faces vitrées

Visio 8 escamo battant

Super 8
Code:F0600
Options :
- Portefonte laitonnée
ou nickelée
Liseré laiton ou inox brossé sur porte
- Porte Seguin Deco
- Double combustion
SORTIE
0 200

CE FOYER PEUT RECEVOIR L'OPTION
DOUBLE COMBUSTION - (DAFS) - voir page 15
Façade 80 cm
Büches : jusqu'à 65 cm
Puissance nominale : 16 kW*
Rendement : 72,90%*
Double combustion (DAFS) : 18 kW*
Rendement (DAFS) : 75,90%*
Poids:185kg (version de base)
*suivantnormeEN13229)
CLAPET DE BUSE :
à obturation réglabre
- PORTE BATTANTE :
la porté est bloquée sur fermeture lorsque le clapet est fermé
PORTE ESCAMO-BATTANTE
le clapet s'ouvre automatiquement au relevage et à l'ouverture de la porte
Porte escamo-battante et convecteur


Porte Seguin Deco Inox brossé




Super 9
Code:F1300
Options :
- Portescamo-battante
Convectiveur
- Portefonte laitonnée
ou nickelée
Liseré laiton ou inox brossé sur porte
- Double combustion

CE FOYER POT RECEVOIR L'OPTION
DOUBLE COMBUSTION - (DAFS) - voir page 15
Façade 91 cm
Büches : 80 cm
Puissance nominale : 18 kW*
Rendement : 70.80%*
Double combustion (DAFS): 20 kW*
Rendement (DAFS) : 76,60%*
Poids:230kg (version de base)
*suivantnormeEN13229)
CLAPET DE BUSE :
à obturation réglabre
PORTE BATTANTE ET ESCAMO-BATTANTE
le clapet s'ouvre automatiquement au releavage et à l'ouverture de la porte


Modèle avec convecteur

Portescamo-battante


Multivision 7000
Code:F0700
Options :
- Portescamo-battante
Convecteur
Liseré laiton ou
inox brossé sur porte
- Portefonte laitonnee
ou nickelée
- Double combustion

CE FOYER POT RECEVOIR L'OPTION
DOUBLE COMBUSTION - (DAFS) - voir page 15
Façade 71 cm
Büches:60cm
Puissance nominale: 15kW^
Rendement : 74.70%*
Double combustion (DAFS): 17 kW*
Rendement (DAFS) : 76,20%*
Poids:180kg (version de base)
(suivantnormeEN13229)
Ces valeurs s'appliquent au modele de face.
CLAPET DE BUSE:
à obturation réglabre
PORTE BATTANTE ET ESCAMO-BATTANTE
le clapet s'ouvre automatiquement au releavage et à l'ouverture de la porte
Modulable de 1 à 4 faces vitrées

Angle droit ou gauche

3 cotes vitres

Portescamo-battante et convecteur

Double face

4 faces




Multivision 8000
Code:F0800
Options :
- Porte escamo-battante
Convectiveur - Portefonte laitonnée ou nickelée
Liseré laiton ou inox brossé sur porte

CLAPET DE BUSE :
à obturation réglabre
- PORTE BATTANTE :
la porté est bloquée sur fermeture lorsque le clapet est fermé
PORTE ESCAMO-BATTANTE
le clapet s'ouvre automatiquement au releavage et à l'ouverture de la porte
Façade 80 cm
Büches:70cm
Puisance nominale : 16 kW*
Rendement : 72.90%*
Poids:230kg (version de base)
(suivantnormeEN13229)
Ces valeurs s'appliquent au modele de face

Face

3 faces

4 faces

Convecteur

Double face - Escamo-battant





Pano 7
Code:F1500
Options :
- Portescamo-battante
Convecteur
- Portefonte laitonnée
ou nickelée
- Elargisseurs pour
façade 80 cm
Double combustion

CE FOYER POT RECEVOIR L'OPTION
DOUBLE COMBUSTION - (DAFS) - voir page 15
Façade 71 ou 80 cm
Büches : jusqu'à 55 cm
Puissance nominale : 14 kW*
Rendement : 73,10%*
Double combustion (DAFS) : 16 kW*
Rendement (DAFS) : 76,50%*
Poids : 150 kg (version de base)
*suivantnormeEN13229)
- CLAPET DE BUSE :
à obturation réglabre
PORTE BATTANTE ET ESCAMO-BATTANTE
le clapet s'ouvre automatiquement au releavage et à l'ouverture de la porte

Avec convecteur

Portescamo-battante



Panoramic
Code:F0900
Options :
inox brossé sur porte
-
Porto fonte laitonnée ou nickelée
-
Elargisseurs pour façade 80 cm
-
Double combustion

CE FOYER PEUT RECEVOIR L'OPTION
DOUBLE COMBUSTION - (DAFS) - voir page 15
Façade 71 ou 80 cm
Büches : 60 cm
Puissance nominale : 15 kW*
Rendement : 74,70%*
Double combustion (DASF) : 17 kW*
Rendement (DASF) : 75,90%*
Poids:200kg (version de base)
(suivantnormeEN13229)
Ces valeurs s'appliquent au modele de face
CLAPET DE BUSE :
à obturation réglabre
PORTE BATTANTE ET ESCAMO-BATTANTE
le clapet s'ouvre automatiquement au releavage et à l'ouverture de la porte
Modulable de 1 à 4 faces vitrées

Angle droit ou gauche

Double face

Portescamo-battante

3 cotes vitres

4 faces



Hexa 7
Code:F1000
Options :
- Liséré laiton ou inox brossé sur porte
- Double combustion

CE FOYER POT RECEVOIR L'OPTION
DOUBLE COMBUSTION - (DAFS) - voir page 15
Façade 71 cm
Buches : jusqu'à 55 cm
Puissance nominale : 14 kW*
Rendement : 73,10%*
Double combustion (DASF): 16 kW*
Rendement (DAFS) : 76,50%*
Poids:170kg (version de base)
*suivantnormeEN13229)
CLAPET DE BUSE :
à obturation réglabre
PORTE BATTANTE ET ESCAMO-BATTANTE
le clapet s'ouvre automatiquement au releavage et à l'ouverture de la porte

Portescamo-battante et convecteur




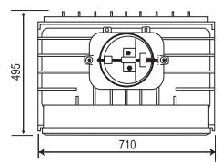
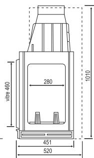
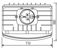
Hexa 8
Code:F1100
Options :
- Porte escamo-battante
Convecteur - Porte fonte laitonnée ou nickelée
Liseré laiton ou inox brossé sur porte - Double combustion

CE FOYER PEUT RECEVOIR L'OPTION
DOUBLE COMBUSTION - (DAFS) - voir page 15
Façade 80 cm
Buches : jusqu'à 65 cm
Puisance nominale : 16 kW*
Rendement : 72.90%*
Double combustion (DAFS): 18 kW*
Rendement (DAFS) : 75,90%*
Poids:215kg (version de base)
(suivantnormeEN13229)
- CLAPET DE BUSE :
à obturation réglabre
PORTE BATTANTE ET ESCAMO-BATTANTE
le clapet s'ouvre automatiquement au relevage et à l'ouverture de la porte
Portescamobattante et convecteur





Insert 3000
SORTIE 200
Code:F0510
Options :
Convecteur acier
Kit ventilation
Liseré laiton ou inox brossé sur porte

Foyer fonte nu

Foyer fonte avec convecteur acier et kit de ventilation
Façade 65 cm
Büches : jusqu'à 50 cm
Puissance nominale : 10 kW*
Rendement : 73.40%*
(suivantnormeEN13229)
Code F0510:
CLAPET DE BUSE:
à obturation réglabre
- PORTE BATTANTE :
la porté est bloquée sur fermeture lorsque le clapet est fermé
Foyer fonte nu - sans convecteur - sans turbines
- Codes F 0510 + CV 51:
Foyer fonte avec convecteur acier (sans turbines)
- Codes F 0510 + CV 51 + KV 51:
Foyer fonte avec convecteur acier et kit de ventilation
FOYER AVEC CONVECTEUR + KIT DE VENTILATION

Commutateur 3 positions
- Arrêt
1ere vitesse:60 m^3 /h - 2 éme vitesse : 126 m³/h
Grille amovable pour intervention sur le ventilateur (220V - 50Hz)

2 sorties 0 125
obstruées par 2 tampons
(manchettes de
raccordement à
commander à part)
Convectiveur
Pour des raisons de sécurité, il est obligatoire
d'isoler le dessous de la poutre si celle-ci est
en matériel combustible.
Ne pas arrêter la ventilation pendant
le fonctionnement du foyer



Poids:
- version de base : 105 kg
- ave convecteur : 111 kg
- version complete : 130 kg
LA DOUBLE COMBUSTION.
(système exclusif et brevêté)
BONUS PUISSANCE: + 2 kW RENDEMENT : 75/77%* (suivant modèle de foyer)
- Meilleures performances
- Plus de rendement
- Respect de l'environnement
Vitre plus claire
FOYERSCOMPATIBLES:
SUNFLAM 70 - EUROPA 7 - SUPER 8 - MULTIVISION 70 -
PANO 7 - PANORAMIC - HEXA 7 - HEXA 8

LA COMBUSTION CLASSIQUE Schématiquement, la combustion s'effectue en plusieurs étapes :
- Phase primaire : qui correspond à l'inflammation du combustible, résultat un premier dégagement de chaleur + des fumées + divers gaz.
- Phase secondaire : un apport d'oxygène dans la chamble de combustion provoque l'inflammation de ces gaz qui dégagent un supplément d'énergie.
Ce principe est effectif sur l'ensemble des foyer's fonte SEGUIN.

LA COMBUSTION SECONDDAIRE
NOUVELLE GENERATION D'APPAREILS ENCORE PLUS PERFORMANTS
Le système breveté DAFS apporte une réponse encore plus efficace car l'apport en oxygène s'effectue à partir de jets d'air préchauffés idéalement positionnés à l'arrête de la chambre de combustion.
Le niveau de performances évolue encore pour approcher l'excellence : encore plus de rendement, économie de combustible et réduction des rejets pour le respect de l'environnement.
VITRE ENCORE PLUS CLAIRE Le comport visuel est encore supérieur :
- La combustion est de toute valeur qualite (moins de residus et de fumées).
- Grace au flux d'air la flamme est attirée vers l'arrière du foyer.

Utilisation recommende

Utilisation non recommende

TRES IMPORTANT
Dans le cas d'une installation avec
un extracteur d'air chaud
(Multichauf)
UN RACCORDEMENT EXTERIEUR
EST ABSOLUMENT OBLIGATOIRE
arrivée d'air de combustion)
Ne pas fonctionner sans respecter ces
conditions d'installation ;
risque d'aspiration
des gaz de combustion
(Gaine inox 080 + collier)

REGULATEUR D'ARRIVEE D'AIR POUR BILAN ENERGETIQUE OPTIMUM
OPTION adaptable uniqueness sur double combustion

Fonctionnement avec connection extérieure pour l'alimentation en air de combustion.
3 positions :
1 - Allumage ou reliance combustion - 2 - Grande allure - 3 - Allure réduite



LA DISTRIBUTION D'AIR CHAUD.

"MULTICHAUF"
aspire et distribue la chaleur par le canal de gains calorifugées jusqu'àux bouches de sortie des différentes pieces à chauffer.
2 puissances : 400 m³/h - 600 m³/h

Gaine souple calorifugee

Bouche réglable de sortie d'air chaud
Les foyers dégagent une température élevée. L'installation doit être effectuee dans les regles de l'art particulierement en ce qui concerne l'isoation et les distances a respecter lors du montage par rapport aux materiaux inflammables. La responsabilité du fabricant est limitée à la garantie spécifique sur les différentes fournitures composant les foyers. Il y a lieu de se conformer pour l'installation à la notice delivrée avec chaque appareil. Ces foyers sont conformes à la norme Européenne EN 13229.
DOIT OBLIGATOIREMENT ETRE INSTALLLE CONFORMMEMENT AU DTU 24-2.

Z.I. de Lhérat - 63310 RANDAN (France)
www.seguin.fr - commercial@seguin.fr
Votre vendeur conseil :
Notice Facile