VI411610 - Plaque de cuisson induction GAGGENAU - Notice d'utilisation et mode d'emploi gratuit
Retrouvez gratuitement la notice de l'appareil VI411610 GAGGENAU au format PDF.
| Type d'appareil | Plaque de cuisson induction |
| Nombre de foyers | 1 |
| Type de foyer | Wok induction |
| Commande | Non précisé |
| Puissance maximale | Non précisé |
| Dimensions (L x P) | Non précisé |
| Installation | Encastrable |
| Type de surface | Verre céramique |
| Fonction booster | Non précisé |
| Sécurité enfants | Non précisé |
| Détection automatique de casserole | Oui |
| Arrêt automatique | Oui |
| Affichage | Non précisé |
| Alimentation électrique | Non précisé |
| Couleur | Noir |
| Poids | Non précisé |
FOIRE AUX QUESTIONS - VI411610 GAGGENAU
Questions des utilisateurs sur VI411610 GAGGENAU
0 question sur cet appareil. Repondez a celles que vous connaissez ou posez la votre.
Poser une nouvelle question sur cet appareil
Téléchargez la notice de votre Plaque de cuisson induction au format PDF gratuitement ! Retrouvez votre notice VI411610 - GAGGENAU et reprennez votre appareil électronique en main. Sur cette page sont publiés tous les documents nécessaires à l'utilisation de votre appareil VI411610 de la marque GAGGENAU.
MODE D'EMPLOI VI411610 GAGGENAU
Notice d'utilisation et de montage
VI 411-610
Wok Induction

| Précautions importantes | page 3-4 |
| 1. Instructions importantes | page 5-6 |
| Sécurité | page 5 |
| Avant la première mise en service | page 6 |
| Remarques concernant l'utilisation de l'ordinateil | page 6 |
| Les avantages de la cuisson par induction | page 6 |
| 2. Equipement | page 7 |
| Équipement | page 7 |
| Accessoires | page 7 |
| 3. Utilisation | page 8-9 |
| Mise en marche et arrêt | page 8 |
| Voyants de marche / détention de présence /indicateur de chaleur résiduelle | page 8 |
| Possibilités de visualisation | page 9 |
| Sécurité en cas d'absence | page 9 |
| 4. Tableau de réglage | page 10 |
| 5. Remarques concernant les ustensilesde cuisson | page 11 |
| 6. Conseils pour la cuisson au wok | page 12 |
| 7. Nettoyage et entretien | page 13 |
| 8. Maintenance | page 14 |
| 9. Instructions de montage | page 15-19 |
| Caracteristiques techniques | page 15 |
| Instructions importantes concernant la pose | page 15 |
| Préparation du meuble | page 16-17 |
| Pose du pupitre de commande | page 18 |
| Pose de l'ordinateil | page 19 |
Vous venez d'acquérir un appeareil encastrable Vario, félicitations.
Avant demettre l'appareil en marche, nous vous conseillons de vous familiariser avec lui en lisant la notice d'utilisation dans laquelle vous trouvez des instructions importantes a propos de la sécurité et d'utilisation de l'appareil. Le but de la notice est d'assurer votre sécurité ainsi que la longevite de l'appareil.Conservez la notice d'utilisation aproximete de�rite apparéil.
Vous trouvrez en page 4 les consignes dont vous nevez tener compte avant la première mise en service.
Les chapitres Équipement et Utilisation décrivent toutes les possibités offertes par votre nouvel apparéil et la façon de vous en servir correctement.
Les conseils et instructions du chapitre Nettoyage et entretien vous permettront de garder longtemps votre apparéil en bon état et d'en préserver l'aspect.
Bonne cuisine!

1. Lisez toutes les instructions.
- Pour éliminer tout risque de brûlures et d'incendie, il est déconseillé d'inverter des éléments de rangement au-dessus de la plaque. Si des éléments doivent être posés, vous pouvez réduire le risque en installing un capot dépassant horizontallyment d'au moins 5" (127 mm) de la base des éléments.
Cet apparéil est conforme aux normes de sécurité et de compatibilité electromagnétique. Toutefois, nous déconseillons l'utilisation de l' apparéil aux personnes porteuses de stimulateurs cardiaques, prothèses auditives ou autres implants, dont le bon fonctionnement pourrait être perturbé par des interférences.
3. Instructions importantes
a) Assurez-vous que l'appareil est correctement installé et mis à la terre par un électricien qualifié.
b) N'utilisez jamais cet apparéil pour chauffer une piece.
c) Ne laisses pas les enfants seuls - Il ne faut pas laisser des enfants seuls ou sans surveillance dans une zone où des apparciels sont en service. Il ne faut jamais les laisser s'asseoir ou se tenerABOUT sur une partie quelconque de I'appareil.
d) Portez des vêtements appropriés - Il ne faut jamais porter de vêtements amples ou qui pendent quand on utilise l'appareil.
e) Dépannage - Ne répAREZ pas vous-même l'appareil ou ne remplacez pas une piece quelconque sauf si le manuel le conseille spécifique. Il convient de faire toutes les autres interventions par un technicien qualifié.
f) Rangement dans ou sur l'appareil - Il est deconseilé de ranger des matières inflam-mables dans un four ou pres des plaques.
g) Pas d'eau sur les graisses enflammées - Etouffez le feu ou les flammes ou utilisez un extincteur de type à mousse ou produit chimique sec.
h) Utilisez uniquement des maniques sèches - Les maniques humides ou mouillées sur une surface chaude dégagent de la vapeur qui peut provoquer des brûlures. Ne mettez pas les maniques en contact avec la surface chaude de la plaque. N'utilise ni torchon ni autre linge volumineux.
4. a) Utilisez la bonne taille de casseroles - Cét appareil est équipé d'une ou de plusieurs plaques de tailles différentes. Choisissez des ustensiles à fond plat assez grands pour recouvrir l'élement chauffant de la plaque. Utiliser des ustensiles trop petits expose une portion de la résistance au contact direct et peut constituer un risque de brûture des vêtements. Un bon contact entre l'ustensile et le brûleur améliorera aussi l'efficacité.
b) Ne laisseriez jamais les plaques sans surveillance à feu vif – Une casserole qui déborde provoque de la fumée et des retombées gratuitesuses qui peuvent prendre feu.
c) Il convient de tourner les poignées des ustensiles vers l'intérieur et de façon qu'elles ne se trouvent pas au-dessus des plaques adjacentes - Pour réduire le risque de brûlures, d'ignition de matériaux inflammables et de recipients qui se renversent à la suite d'un contact involontaire, la poignée doit être dirigée vers l'intérieur et ne pas se couver au-dessus des plaques adjacentes.
- a) Ne cuisine pas sur une table de cuisson cassée - Si la table de cuisson est cassée, les produits de nettoyage et les alimentés renversés peuvent pénétrer à l'intérieur et cause un risque de chic électrique. Prenez contact immédiatement avec un technicien qualifié.
b) Nettoyer la table de cuisson avec précaution - Si vous passez une éponge ou un linge humide sur une table de cuisson chaude, faites attention afin d'eviter les brûlures par la vapeur. Certains produits de nettoyage peuvent dégager des fumées nocives lorsqu'ils sont appliqués sur une surface chaude.
6. ATTENTION :
Ne rangez pas des objets qui interèssent les enfants dans les éléments au-dessus d'une table de cuisson ou sur le bandeau arrêté d'une cusinière. Un enfant grimpant sur la cusinière pour les attraper pourrait se blesser grièvement.
- NE TOUCHEZ NI LES PLAQUES NI LES ZONES VOISINES - Les plaques peuvent être chaudes même si elles sont redevues noires. Les zones proches des plaques peuvent avoir chauffé suffisamment pour provoquer des brûlures. Pendant et après utilisation, ne touchez ni les plaques ni les zones voisines, ne mettez pas de tissu ni de matérielux inflammables en contact avec ces zones avant qu'elles n'aient eu le temps de refroidir.
- La température à la surface de la plaque en verre est limitée par des thermostats intégrés dans chaque brûleur. La température maximale de la plaque vitrocéramique est fixée à 1080^ . Les protections thermiques sont étalandées à 939^ afin d'arrêter les brûleurs suffisamment à temps pour protéger la plaque en verre.
Mème au réglage maximum, il est normal que le brûleur s'allume et s'éteigne momentarily lorsque le thermostat detecte une température elevée. Cela peut être dû à la dimension de l'ustensile de cuisson, à la composition et à la taillie du matériel composant l'ustensile, et, point très important, à la dimension de la surface de contact entre la vitrocéramique et l'ustensile. Lorsque les ustensiles de cuissonprésentent une surface non-plane, cela peut entraîner la mise en action prématurée du système de protection thermique.
- Attention - Ne nettoyez jamais cet apparéil avec un nettoyeur à vapeur ou avec de l'eau sous pression - risque de court-circuit!
- Conserve ces instructions.
1. Instructions importantes
Sécurité
Ne faites pas fonctionner l'appareil s'il est endommagé.
L'appareil doit être raccordé uniquement par un technicien agréé, en conformité avec toutes les règles des entreprises de distribution d'électricité et les réglementations sur la construction. Respectez les instructions de montage!
Les erreurs de branchement peuvent entrainer la destruction de l'appareil!
Si vous branchez des apparéils électriques à proximé de la table de cuisson, faites en sorte que les cordons électriques ne soient pas en contact avec des surfaces très chaudes.
Ne laissez pas fonctionner l'appareil sans surveillance. Faites attention avec les graisses et l'huile. Les huiles et graisses surchauffées s'enflammment facilement! Pourétouffer un feu de graisse ou d'huile, couvrez-le, mais ne versez jamais d'eau dessus.
Attention! L'appareil et le support du wok chauffent beaucouppendant le fonctionnement! Tenez les enfants à distance! Enlevez le support seulement lorsquel'indicateur de chaleur résiduelle est eteint.
Ne mettez jamais le point de cuisson en marches sans ustensile de cuisson!
Ne faites jamais chauffer des boîtes de conserve fermées. Elles risquent d'explorer.
Ne nettoyez pas l'appareil avec un nettoyeur à vapeur ou à l'eau sous pression - risque de court-circuit !
Ne rangez pas des matieres sensibles à la chaleur et inflammables (produits de nettoyage, bombes aérosol) dans des tiroirs ou rayons situés sous l'appareil.
Des ventilateurs se trouvent sous le plan de cuisson. Attention, les ventilateurs peuvent aspirer des pièces légères ou films se trouvant sous le plan de cuisson ce qui peut les endommager ou affecter le refroidissement. Les objets se trouvant dans le
meuble bas doivent donc se trouver au moins à 2'' de l'entrée d'air. Ne pas y conserver des films plastiques.
Si la table de cuisson présente des fissures, cassures ou éclats en raison d'une utilisation non conforme, de sorte que des pièces sous tension peuvent être touchées directement ou indirectement par des infiltrations de liquide ou bien s'il existe un risque de blessure, il faut immédiatement arrêter l'appareil. Débranchez la fiche d'alimentation secteur ou désactivé le fusible dont dépend l'appareil. Prévenez le service après!
A chaque opération de maintenance, il faut isoler l'appareil du secteur électrique. A cet effet, débranchez la fiche d'alimentation secteur ou désactivez le fusible dont dépend l'appareil.
Afin de garantir la sureté électricque, les réparations doivent être faites par des techniciens agréés.
L'utilisateur est responsable de l'utilisation conforme et du bon état de l'ordinateil. Le fabricant n'assume aucune responsabilité pour les dommages resultant du non-respect des consignes de cette notice.
Remarque :
Si vous avez monté le couvercle VD 400-000 (accessoire) sur l'appareil, il ne faut pas le fermer avant refroidissement complet de l'appareil. Ne mettez jamais l'appareil en marche lorsque le couvercle est fermé !
Le dégagement de chaleur pourrait endommager l'appareil et le couvercle.
N'utilisez pas le couvercle comme desserte ou chauffe-plat.
Sous réserve de modifications techniques!
Avant la première mise en service
Enlevez l'emballage de l'appareil et jetez-le en respectant la reglementation locale. Vérifiez si les accessoires se trouvent dans l'emballage. Ne laissez pas des enfants jouer avec les éléments d'emballage et sacs ou films en plastique.
Avant le montage, vérifiez que l'appareil n'a pas eté endommagé pendant le transport.
Avant la première mise en service, l'appareil doit être posé et raccordé par un technicien. Avant la mise en service, vérifie que le branchement secteur est conforme et en bon état.
Vous trouvrez le numéro de série de l'appareil sur la fiche de contrôle jointe à cette notice. Conservez la fiche de contrôle pour la garantie, avec votre notice d'utilisation et de pose.
Avant demettre l'appareil en service, lisez attentivement la notice d'utilisation et de pose.
Nettoyez soigneusement l'appareil et ses accessoires avant la première utilisation afin d'éliminer les évventuelles odeurs de neuf et salissures (voir chapitre « Nettoyage et entretien »).
Remarques concernant l'utilisation de l'appareil
L'appareil est conçu exclusivement pour une utilisation domestique et ne doit pas être utilisé à d'autres fins.
Utilisez l'appareil seulement pour préparer des aliments. L'appareil n'est pas conscience pour servir de chauffage dans la pierce où il se trouve.
Ne pas masquer les entrées d'aération situées dans le meuble bas.
Ne pas utiliser la zone de cuisson comme desserte!
Ne déposez pas sur la table de cuisson à induction des alimentents emballés en film d'aluminium, des couverts, des couvercles de casseroles ou autres objets métalliques. En cas d'allumage involontaire de l'appareil, ces pieces pourraient très vite
chauffer et provoquer des brûlures et dégâts matériels.
Après la cuisson, éteignez la table de cuisson.
La table de cuisson doit toujours être propre et seche.
Une protection thermique intégrée empêche la surchauffe de l'appareil et des meubles.
En cas d'anomalies de fonctionnement, vérifie d'abord les fusibles du logement. Si l'alimentation électricque n'est pas en cause, prévenez votre distributeur ou le service après-vente Gaggenau compétent.
Les avantages de la cuisson par induction
Sous la zone de cuisson, il n'y a pas de résistance chauffante mais une bobine à induction qui provoque un échauffement direct et rapide du fond de l'ustensile de cuisson sans que la zone de cuisson soit déjà chaude.
Aucune transmission de chaleur de la zone de cuisson à l'ustensile n'est nécessaire, si bien que la cuisson à induction présente les avantages suivants :
-
Le temps de saisie des alimentes est très court : vous gagnez du temps et consommez moins d'énergie.
-
L'apport d'énergie s'adapte automatiquement au diamètre de l'ustensile de cuisson (diamètre mini 05), de sorte que les petits ustensiles de cuisson ont besoin de moins d'énergie.
-
La zone de cuisson réagitrapidement à toutemodification de réglage et interrupt l'apportd'énergie lorsquelustensile de cuisson estenlevé de la zone, sans qu'il soit nécessaire decouper l'appareil au préalable.
-
Les alimentés qui ont débordé et les projections ne fument pas et ne brûlent pas puisque la table de cuisson chauffe très peu.
2. Équipement

Équipement
1 zone de cuisson 10^ (3500 W) pour ustensiles de cuisson compris entre 0.5^ - 10^
zone d'information avec voyant de marche, détction de présence d'ustensile et indicateur de chaleur résiduelle
3 manette

Accessoires
Vous pouvez commander les accessoires suivants :
WZ 400-000 support de wok
WP 400-000 wok
VV 400-000 profilé de jonction
VZ 400-700 profilé de jonction avec timer
VD 400-000 couvercle
3. Utilisation

Mise en marche

Arrêt

Voyant de marche / détction de présence / indicateur de chaleur résiduelle
Mise en marche
Appuyez sur la manette et tournez-la vers la droite ou la gauche, jusqu'au niveau de cuisson souhaité (1 à 12). L'anneau lumineux situé derrière la manette et levoyant situé dans la zone d'information s'allument tant que la zone de cuisson est allumée. Suivant le matériel de l'ustensile, sa contenance et le niveau de cuisson régèle, un bruit peut être perceptible pendant le fonctionnement. Cela est normal. La soufflante de refroidissement de la bobine d'induction peut démarrer et s'arrêter pendant le fonctionnement.
Arrêt
Tournez la manette sur le 0.
L'anneau lumineux s'éteint.
A noter que la zone de cuisson à induction ne dégage plus de chaleur une fois qu'elle est éteinte.
Voyants de marche
Levoyant de marches s'allume dans la zone d'information des que la zone de cuisson est allumée.
Détction de présence deustensiles de cuisson
Levoyant de la zone d'information clignote et la zone de cuisson n'émet pas de chaleur si un réci-pient de cuisson inadéquat (trop petit, non magnétique) ou si aucun récipient de cuisson ne se trouve sur la zone de cuisson allumée.
Indicateur de chaleur résiduelle
Les zones d'induction ne sont jamais aussi brûlantes que sur les tables de cuisson traditionnelles. Mais après un fonctionnement prolongé, elles peuvent chauffer en raison du contact avec les fonds très chauds des ustensiles de cuisson. C'est pour cette raison que la table de cuisson comporte un indicateur de chaleur résiduelle. Àpres l'arrêt, le voyant clignote dans la zone d'information tant que la zone de cuisson n'est pas assez refroidie pour pouvoir être touchée sans risque.
Remarque : le temps pendant lequel la chaleur résiduelle est signalée dépend de la durée de fonctionnement et de la puissance de chauffe可以选择. Suivant l'aliment à cuire et le écipient utilisé, il peut arriver que l'indicateur de chaleur résiduelle clignote encore quelque temps bien que la zone de cuisson ait refroidi.
Possibilities de visualisation
| Anneau lumineux derrière la manette | Indication sur la zone de cuisson | Etat | |
| ○ | ○ | Appareil ARRÊTÉ | |
| ● | ● | Appareil EN MARCHE, récipient détecté, fonctionnement normal | |
| ● | ★ | Appareil EN MARCHE, aucun récipient détecté | |
| ○ | ★ | Appareil ARRÊTÉ, indicateur de chaleur résiduelle | |
| ★ | ★ | Sécurité de surchauffe | |
| ★ | ○ | Sécurité en cas d'absence, défaut de montage (câble de liaison avec le pupitre de commande non connecté) | |
| Légende des symboles : | ○étéint | ★clignote | ●allumé |
Sécurité en cas d'absence (arrêt automatique)
Pour votre sécurité, le plan de cuisson se coupe automatiquement lorsqu'aucune opération n'a été faite pendant quatre heures. L'anneau lumineux clignote derrière la manette. Tourmez la manette sur le niveau 0. Vous pouze maintainant remettre normalement la zone de cuisson en marche.
4. Tableau de réglage
| Tableau de réglage | ||
| Gamme de réglage | Procedé de cuisson | Exemples |
| 12 | Faire bouillir | Eau |
| Faire revenir | Vienne | |
| Chauffer | Graisse, liquides | |
| Porter à ébullition | Soupes, saucas | |
| Blanchir | Légumes | |
| 11 - 8 | Rôtir | Vienne, poisson, pommes de terre |
| 7 - 6 | Rissoler | Farine, oignons |
| Faire grillier | Amandes, chapelure | |
| Faire cuire | Pâtisseries, plats à base d'œufs | |
| Faire moyen dans récipient ouvert | Liquides | |
| 6 - 5 | Faire fondre | Lard |
| Réduire | Fonds, sauces | |
| 5 - 4 | Batre | Crèmes, sauces |
| Cuire à point dans récipient ouvert | Quenelles, saucisses à cuire, garnitures de potages, vienne à bouillir,œufsPOCHés | |
| 4 - 3 | Faire moyen avec couvercle | Pâtes, soupes, sauces |
| Cuire à la vapeur | Légumes, pommes de terre, poissons | |
| Cuire à l'étuvée | Légumes, fruits, poissons | |
| Braiser | Goulasch, paupiettes, rôtis, légumes | |
| Décongeler | Surgelés | |
| 3 - 1 | Faire tremper | Riz, légume secs |
| Réchauffer / maintainir au chaud | Soupes, potées, légumes en sauces | |
| Faire fondre | Beurre, chocolat | |
| Faire prendre | Plats à base d'œufs | |
Les valeurs figurant dans ce tableau sont indicatives, et peuvent varier plus ou moins suivant la nature des mets, leur état ainsi que la taille et le degré de replissage du réseau de cuisson.
La puissance de chauffe s'adapte à la taille de l'ustensile. Le tableau de réglage s'applique à des ustensiles de cuisson courants (pour 4 personnes). Avec des ustensiles plus grands et contenant de plus grandes quantités d'aliments, il peut être nécessaire deCHOISIR une puissance de chauffe supérieure.
5. Remarques concernant les ustensiles de cuisson




Conseils d'économie d'énergie
Utilisez seulement des ustensiles de cuisson à fond épais et plat. Les casseroles à fond irrégulier rallongent inutillement le temps de cuisson.
Choisissez toujours des casseroles et écipients dont la taille correspond à la quantité du mets à préparer. Une grande casserole très peu remplie entraine une forte consommation d'énergie superflue.
Fermez toujours les casseroles et poêles avec le couvercle approprié : la durée de cuisson en sera nettement raccourcie et la consommation de courant sera donc réduite.
Pensez à réduire en temps voulu la puissance de cuisson. Si vous faites bouillir de l'eau, ne la faites pas bouillonner.
Pour la cuisson, il faut utiliser des ustensiles à fond métallique magnétique. Pour vérifier, utilisez un aimant : s'il est attiré par le fond du écipient, vous pouvez utiliser ce dernier. Les écipients convenant à la cuisson par induction peuvent être en acier émaille ; il peut s'agir aussi d'ustensiles en acier inoxydable concus spécialement pour l'induction. Les ustensiles de cuisson normaux en inox ainsi que les ustensiles en verre, céramique, cuivre ou aluminium ne sont pas utilisables.
Si vous placez sur la zone de cuisson allumée, un récipient constitue d'un matériel non approprié ou trop petit, la zone de cuisson ne chauffe pas et levoyant de marche clignote dans la zone d'information.
La chaleur généraee dans le fond de l'ustensile dépend du diamètre de ce dernier. Plus le réseau est petit, moins la chaleur est forte (taille du fond 5" minimum à 10" maximum). Aucune énergie n'est donc gaspillée si la zone de cuisson n'est pas entièrement couverte par l'ustensile de cuisson. Toutefois, faites en sorte de poser le réseau de cuisson au milieu de la zone de cuisson.
Evitez de faire chauffer des recipients vides : vous risquez d'endommager le fond du recipient en question ainsi que la vitrocéramique.
Si vous utilisez des ustensiles de cuisson particuliers, respectez les instructions du fabricant.
6. Conseils pour la cuisson au wok
Le wok et ses accessoires
(nonfournis)
Vous peuvent vous procurer le wok et son support chez votre distributeur Gaggenau. Le wok a un fond arrondi et n'est utilisable qu'avac le support. Vériéz que le wok et son fond arrondi sont bien en place sur le support.
Utilisez le support de wok seulement avec le Wok Induction VI 411. Ne vous servez jamais du support sur une table de cuisson en vitrocéramique normale.
Utilisez un « chan » (spatule arrondie) ou une spatule classique en bois à long manche. Pour sortir les mets du wok, utilisez une louche.
Pour sorting les mets frits de laGRAISSÉ ou les gros morceaux de la sauce,utilisez une écumoire.
Pour la cuisson à la vapeur, vous pouvez utiliser des paniers en bambou.
La cuisson au wok
Vous pouvez rôtir, cuire à la vapeur, frire, mijoter et cuire «normalement».
La particularité du wok est qu'il faut remuer les aliments : coupés en petits morceaux et remués en permanence, ils cuisent rapidement sous l'effet d'une forte chaleur. Dans la grande poèle ronde, il est plus facile et plus rapide d'agiter et de toumer les aliments que dans une poèle traditionnelle. Le mouvement permanent des aliments évitent qu'ils n'accrochant. L'huile en excès coule vers le milieu. Très vite, vous obtenez des mets rôtis délieux, les pores de la viande se fermen et la viande reste bien juteuse.
Les légumes restent craquants, les arômes sont réservés, de même que les vitamines bonnes pour la santé.
Important! La cuisson est si rapide que tous les ingrédients doivent absolument être prêts avant le début. Il est également important de respecter un ordre précis : d'abord les ingrédients dont le temps de cuisson est le plus long, par exemple les légumes à fibres dures comme les carottes. Les légumes plus tendres, comme les championons ou les pousses, ne viennent que plus tard.
Procedez de la maniere suivante:
- Rincez le wok à l'huile.
Nous conseillons d'utiliser de l'huile de noix ou de l'huile de soja. - Chauffer l'huile en s'arrêtant juste avant le point de fumée, puis commencer à rôtir en agitant.
- Coupez les alimentés en morceaux de taille régulière, pas trop petits, pour qu'ils ne soient pas saisis trop rapidement.
- Si vous préparez des quantités importantes, travailliez plutôt par portions, car sinon, une partie des alimentés ne sera pas assez rapidement en contact avec le fond brûlant du wok.
7. Nettoyage et entretien
Attention: ne jamais nettoyer l'appareil avec un nettoyeur à vapeur ou à l'eau sous pression - risque de court-circuit!
Attention, risque de brûlure! Avant de nettoyer, attendez que le plan de cuisson soit tiède.
Avant la première mise en service et après chaque utilisation, effectuez un nettoyage minutieux.
Pour le nettoyage, utilisez un chiffon doux et humide ou du papier essuie-tout et le nettoyant à table de cuisson Gaggenau ou bien un autre produit de nettoyage et d'entretien concu pour la vitrocéràmique. Essuyez avec un chiffon doux et sec.
Le nettoyant à table de cuisson Gaggenau dépose sur la vitrocéramique un film brillant antisalissures : votre table de cuisson reste plus belle longtemps et les nettoyages ultérieurs sont facultés.
N'applique pas le nettoyant sur la table de cuisson brûlante : cela pourrait laisser des taches.
N'utilisez pas de produits à récurer ni de produits agressifs (bombe aérosol pour four par exemple), ni de produits à polir nitrés ! N'utilisez pas non plus d'éponges à gratter.
Les résidus alimentaires à force teneur en sucre (lait bouilli, configure) peuvent endommager la surface de votre table de cuisson. Eliminez ces résidus sans attendre avec le gratoir.
Le frottement des fonds d'ustensiles de cuisson peut faire apparaitre des taches nacroées sur votre table de cuisson.
Ces taches n'affectent en rien le fonctionnement.
Vous trouvrez dans la brochure jointe d'autres instructions de nettoyage.
Vous pouvez vous procurer chez votre distributeur notre gratoir à lame (réf. 087670) et le nettoyant à table de cuisson Gaggenau (réf. 098690).
Vous pouvez nettoyer le cadre de la table de cuisson avec un chiffon doux et humide et de l'eau de vaisselle peu concentrée ou un nettoyant à inox du commerce.
Ne pas nettoyer le support de wok WZ 400 au lave-vaisselle.
Avant toute réparation, séparez impératifement l'appareil du secteur.
En cas d'anomalie de fonctionnement, vérifier d'abord les fusibles.
Si l'alimentation électrique est correcte, mais que l'appareil ne fonctionne pas, aviser le distributeur
Gaggenau qui indiquera l'adresse et le numéro de téléphone de l'agent de service agréé le plus proche ou bien prendre contact avec
Gaggenau USA, tel. (800) 828-9165.
Les réparations doivent être faites uniquement par des spécialistes agréés afin que la suture de l'appareil soit garantie.
Les interventions non conformes entraînant la perte de la garantie!
N'utilisez que des pieces de rechange d'origine.
\section*{Caracteristiques techniques}
puissance raccordée totale : 3500 W
AC 208/220-240 V / 60 Hz
Instructions importantes concernant la pose
Cet apparéil peut être associé à tous les apparéils de la série Vario 400 de Gaggenau.
Il peut être installé sans aménagements particuliers dans des éléments de cuisine en bois ou autre matériel inflammable.
L'élement ainsi que le plan de travail dans lesquels est encastré l'appareil doit résister au moins à une température de 200^ / 90^ .
L'appareil doit être installé uniquement par un technicien agréé, en conformité avec toutes les normes édictées par l'entreprise fournissant l'électricité et les normes sur la construction.
Lors des branchements électriques, veiller à ce que les câbles ne soient pas en contact avec des parties très chaudes du plan de cuisson.
L'installateur est responsable du parfait fonctionnement de l'appareil sur le lieu d'installation. Il doit indiquer à l'utilisateur comment isoler l'appareil du secteur électrique si nécessaire.
Après le déballage, vérifie si l'appareil n'a pas été endommagé pendant le transport et si nécessaire, signelez immédiatement les anomalies à l'entre-prise de transport.
La distance latérale entre le bord de l'appareil et les parois ou parties de meubles doit être d'au moins 20mm (13/16").
Pour assurer une circulation d'air suffisante sous l'appareil, il faut réaliser des entrées d'air dans le meuble bas. Basez-vous pour ce faire sur le schéma de pose.
S'il n'est pas possible de séparer l'appareil du secteur sur tous les pôles au moyen d'une fiche d'alimentation accessible, il faut prévoir en avant dans l'installation électrique un sectionneur dont les contacts sont écartsés d'au moins 3 mm (fusible domestique par exemple).
Cet apparéil doit faire l'objet d'un branchement fixe.
Le cordon d'alimentation secteur doit etre au minimum du type SJTO 3x16 AWG 105^ Le cordon d'alimentation secteur doit etre achete aprous d'un specialiste agree quit doit etgalement se charger du branchement. Lappareil doit etre correctement mis a la terre.Faire attention aux informations figurant sur la plaque signaletique.
Les dommages dus au non-respect de cette notice ne pourront etre reconnus. Respectez egalement les « Instructions importantes » figurant en pages 3 et 4.
Sous réserve de modifications techniques.

Préparation du meuble
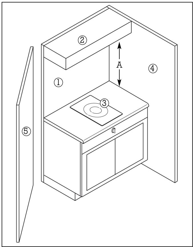
Les distances minimales à respecter entre la surface de cuisson et la surface horizontale située au-dessus du plan de cuisson doivent être :
A = 30 pouces (762mm) minimum entre le dessus de la surface de cuisson et le fond d'un meuble non protégé en bois ou en métal, ou bien A = 24 pouces (600mm) minimum si le fond du meuble en bois ou en métal est protégé par un panneau de carton retardateur de flamme d'une épaisseur d'au moins 1 / 4 de pouce, revetu d'une feuille de tôle d'acier non inférieure à la ref. 28 MSG, d'acier inoxydable de 0,015 pouce d'épaisseur, d'aluminium de 0,024 pouce d'épaisseur ou de cuivre de 0,020 pouce d'épaisseur.
l mur de fond
2meuble supérieur
3 plan de cuisson
4 mur latorial
5 mur létéral
Préparation du meuble


- Réalisez la découverte pour un ou plusieurs apparreils Vario dans le plan de travail selon le schéma de montage. Ce dernier indique l'encombrement du profilé de jonction à monter entre les apparreils. Vous pouvez aussi poser les apparareils dans des découvertes individuelles en respectant une distance de 50mm ( 2^ ) au minimum entre les apparareils.
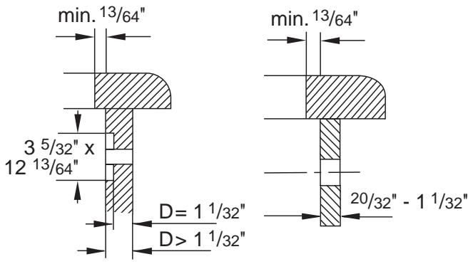
- Comme indiqué sur la figure, réaliser un trou de 35mm ( 1^3/8 ) pour fixer la manette à l'avant du meuble.
- Si le bandeau avant a une épaisseur supérieure à 26 mm (1^1 / 32^ ) , il faut l'agrandir par l'arrête aux dimensions de 80 x 310 mm (3^5 / 32^ - 12^13 / 64^ ) de façon à atteindre une épaisseur non supérieure à 26 mm (1^1 / 32^ ) à cet endroit.

- Comme indiqué sur la figure, réaliser une entrée d'air (min. 3/16 ) à l'avant du meuble bas.
- Pour ventiler le meuble bas, il faut réaliser une entrée d'air de 30 sq. in. dans la paroi arrêté du meuble.
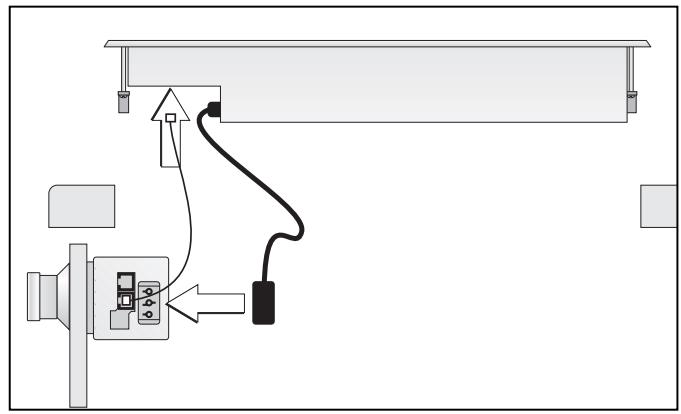
Pose du p提供优质 de commande


Remarque :
Cet apparéil doit être installé exclusivement avec le pupitre du même type.
Avant de raccorder l'appareil, couper l'alimentation électrique au niveau du fusible du logement!
- Avant le montage, enlever les éléments d'emballage en polystyrene de la manette etrirer le film protecteur situé derrière l'anneau lumineux.
- Tenir la plaque métallique de maintien par l'arrière contre le bandeau avant, enforcer la manette par l'avant dans le trou, visser l'écrou à l'arrière. Empêcher la plaque de maintien de tourner en la vissant aussi avec la vis à bois jointe.
- Visser le pupitre de commande à la plaque de maintainen au moyen des écrous joints.
Pose de l'appareil


- Raccorder le cable de jonction qui relié l'appareil au pupitre de commande (les connecteurs doivent se verrouiller).
- Tourner les tendeurs sur le côté. Insérer et ajuster la table de cuisson horizontally dans la découpe, la marque Gaggenau étant à l'avant.
Remarque: ne pas coller la table de cuisson avec du silicone sur le plan de travail.
- Faire pivoter les tendeurs sous le plan de travail et serrer. Ne pas serrer les tendeurs trop fort, et faire en sorte que le joint d'étanchéité périphérique ait partout la même largeur.
- Brancher l'appareil au secteur et en vérifier le fonctionnement. Si le cable reliant le pupitre de commande et la table ne sont pas connectés, l'anneau lumineux situé derrière la manette clignote. Vérifier que le cable de jonction est correctement branché.
GAGGENAU
GAGGENAU HAUSGERATE GMBH
CARL-WERY-STR. 34·81739 MUNCHEN
GERMANY
(089) 45 90-03
FAX (089) 45 90-23 47
GAGGENAU
5551 McFADDEN AVENUE
HUNTINGTON BEACH, CA 92649
USA
(800) 828-9165·FAX (714) 901-0979
www.gaggenau-usa.com
Notice Facile