BF 11 - Brûleur fioul EQUATION - Notice d'utilisation et mode d'emploi gratuit
Retrouvez gratuitement la notice de l'appareil BF 11 EQUATION au format PDF.
| Type de brûleur | À pulvérisation mécanique |
| Combustible | Fioul |
| Puissance | 20 à 29 kW |
| Référence | Non précisé |
| Installation | Murale ou sur chaudière |
| Alimentation électrique | Non précisé |
| Pression de pompe | Non précisé |
| Type de commande | Électrique |
| Réglage | Électrodes et tête de combustion |
| Maintenance | Entretien régulier recommandé |
| Dimensions | Non précisé |
| Poids | Non précisé |
| Garantie | Non précisé |
| Normes | Conforme aux normes en vigueur |
| Utilisation | Chauffage domestique ou industriel |
FOIRE AUX QUESTIONS - BF 11 EQUATION
Téléchargez la notice de votre Brûleur fioul au format PDF gratuitement ! Retrouvez votre notice BF 11 - EQUATION et reprennez votre appareil électronique en main. Sur cette page sont publiés tous les documents nécessaires à l'utilisation de votre appareil BF 11 de la marque EQUATION.
MODE D'EMPLOI BF 11 EQUATION
Brûleur à pulverisation mécanique au fioul
Référence: BF 11
Puisance:20a 29 kW

Table des Matieres
1 - Présentation du matériel 2
1.1- Cactrictique generales 2
12-Caracteristicques dimensionnel 2
1.3-Prinicipaux composanles du brueur 5
2-Montage du bruleur sur le cheudiere 1
3 - Raccordement du circuit d'allimentation F.O.D
3.1-Raccordementblube
3.2.Raccordement monotube en charge 4
4-Raccordement diecbique 5
8 - Mise on service
5.1 Choi du gideur e1 de la pression de la pompe 8
5.2-Rogalgo des electrodes 6
5.3-Rogage du volat dair et da la nie de combustion 6
5.3.1 - Réglage du volet d'air
5.3.2-Rglae de la 10ie de combustion
6.4 Amorcage de la pompe 7
5.5 - Projeurme de commande LOA 22
- Maintenance 8
6.1- Entender annuel
8.2-Diagnostic de pannes evannuolo at remdo 10
1 - Présentation du matériel
1.1 - Caracteristiques generales
| Référence | BF 11 | |
| Puisance | kW | 20 à 29 |
| Puisance (réglage d'usine) | kW | 25 |
| Tension d'alimentation (50 Hz) | V | 220 |
| Débit | kg/h | 1,70 à 2,45 |
| Viscosité maxi à 20°C | 'E | 1,5 |
| Pompe : | ||
| Vitesse de rotation | r/min | 2800 |
| Pression réglée d'usine | bar | 14 |
| Puisance absorbée : | ||
| au démarrage | wart | 380 |
| en fonctionnement normal | wart | 160 |
1.2 - Caracteristiques dimensionnelles
图1

Pression maximum admissible dans la chambre de combustion en fonctionnement normal

fig.2-Vue de face


fig 3 - Vua de cie
Fig.4-Bride definition chaudhre
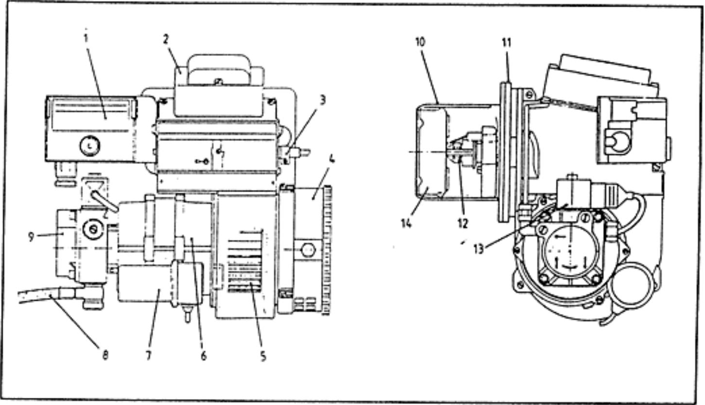
1.3 - Principaux composants du bruleur
1:cofrod de sccurite LOA 22
2:transformateur d'allumage
3:cellule photorésistant
4:volet d'air
5:ventilatour
6:mateur
7: condensatour
8: tuyauries flexibles (aspiration et retour) ave raccords 12x17
9:pompe
10:queulard
11: bride avoc joints
12: gicleut Delavan, 0,50 gph, CT 60W
13:electrovane
14:1e do combustion
Matériel complémentaire
bouchon avec joint pour raccordement monolube
- de an tube pour demontage du giclaur
- cis pla pour depose du bruleur et 16glage d'air
-fitrre a mazouf

fig.6-Principaux composants
2 - Montage du brûleur sur la chaudière

fig.5-Mouge du bruleur
3 - Raccordement du circuit d'allimentation F.O.D
La garantie de bon fonctionnement du brôleur Implique que le filtre fourel soit Installé sur la tuyauterie d'allimentation mezout
Le bruleur est equipd d'origine du pouchon de derivation pour raccordement bitube
Legende
0i diametre intérieur de la tuyauterie
L longueur totale de la tuyauterie d'aspiration (cette longueur comprend 4 coudes, 1 clapel anti-retour et 1 vanne H hauteur d'aspiration ou de charge
Note: La dépression doit être inférieure à 0,4 bar. Une dépression supérieure entraînerait un dégazage du fuel. La tuyautérie d'aspiration du fuel doit être parfaitement étanche. Il est conséilé de faire arriver l'aspiration et le retard à la même hauteur dans la citerne; dans ce cas le clapet de pied n'est pas nécessaire. Lorsque le retard arrive au-dessus du niveau du fuel, le clapel de pied est indispensable; cette solution est déconsellée à cause d'un éventuel défaut d'étanchére de la vanne.
Pour ce type de raccordement, il est nécessaire de démonter le bouchon de dérivation B1 (cle malde 4) et de montier le bouchon (cle malde 5) et son joint B2 fournis en accesseire.
| H (m) | L (m) | |
| ∅ i(8mm) | ∅ i(10mm) | |
| 0.5 | 10 | 20 |
| 1 | 20 | 40 |
| 1.5 | 40 | 80 |
| 2 | 60 | 100 |

fig.7-Delais de la pompe


fig.9.Raccordement bitube
fig.8-Raccordement monotube en charge
4 - Raccordement electrique
Legend:
Z:transformateur d'allumage
FS:cellupehotorstante
BV1:electrovanne
M : moleur
AL:voyant de d'engagement (eventuel)
R et W:thermostats de chaudibre
F:fusble 4A
Ph:phase
N:neutre

fig.10-Schmo decblogae
5 - Mise en service
5.1- Cholx du gicleur et de la pression de la pompe (lout type de gicleur)
| 10 bars | 12 bars | 14 bars | |||||||
| Giclour (gph) | Kg/h | Kcal/h | kW | Kg/h | Kcal/h | kW | kg/h | Kcal/h | kW |
| 0.40 | 1.52 | 15 400 | 18 | 1.67 | 17 000 | 19.7 | 1,80 | 18300 | 21.2 |
| 0.50 | 1,90 | 19 300 | 22.4 | 2.08 | 21 100 | 24.5 | 2.25 | 22 800 | 26.5 |
| 0.60 | 2.28 | 23 100 | 26.9 | 2.50 | 25 400 | 29.5 | |||
- Pour changer le picleur, utilise la clé en tube fournie.
- Avres avoir monte le nouveau gicleur, verifie la position des electrodes...
5.2 - Reglage des électrodes
Vetior le contrage du giclaur: Iviter de poser les doigs sur forice du giclaur.


fig.11-Reglage des dieciodes
5.3 - Reglage du volet d'air et de la tete de combustion
A effectuer lorsque le débit F O D (gicleur et pression de pompo) a hé déterminé pour la chaudibre.
Note:
ces reglages sont donnes a titre indicatil. Iis so rapportont au bruleur monte sur la chaudibre et a depression zioo mm CE.
BF11rglagd'usino(→)
| Giclaur | Angle | Pression pompe | débit brûleur | réglage lité de combustion | réglage volet d'air |
| GPH | Angle | bar | kg/m | repère | repère |
| 0.40 | 80° | 12 | 1,7 | 1 | 1,7 |
| 0,50 | 60° | 14 | 2,15 | 2 | 2,5 |
| 0,60 | 60° | 12 | 2,4 | 3 | 3,5 |
| 0,60 | 60° | 14 | 2,6 | 3 | 4 |
5.3.1 - Reglage du volet d'air (Fig.12)
- desserer la vis et tourner le volet jusqu'à co que l'index soit en face de la valeur déterminée par les tableaux précédents
- desserer la vis
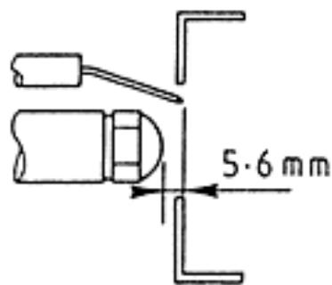
5.3.2 - Réglage de la tête de combustion (Fig.13)
Le réglage consiste à positionner la tete de combustion par rapport à l'emboute du guéulard. Une échelle compensant 4 repres visuaise ce réglage.
Le repère 1 correspond à la tete de combustion au bout du guéulard avec début d'air secondaire minimum.
Tournier vers la gauche (+) pour augmenter la quantité d'air secondaire Introduite dans la chambre de combustion et réduire la pression à la tete, le taux de CO₂ diminué.

fig.12 - Volei d'envrld d'air
Tourner vers la droite (-) pour réduire la quantité d'air saconnaire introduite dans la chambre de combustion et augmenter la pression à la tete, le taux de CO₂ s'améliore.
5.4 Amorcage de la pompe (type SUNTEC AL 35A)
Bitube:
- s'assurer, avant de faire fonctionner le brûleur, que le tube de retard à la chêne n'est pas obstrué ce qui provoquerait la ruplure du système d'étanchisé sur l'axe de la pompe.
- s'assurer qu'il a du fuel dans le tube d'aspiration; la pompe ne doit jamais fonctionner à sec.
Monolube:
- desserrer le bouchon de la prise vacuometre V et attendre la sortie du fuel.
- demarrer le bruleur, illuminer la cellule photoresistante et purger fair par le raccord du manometre.
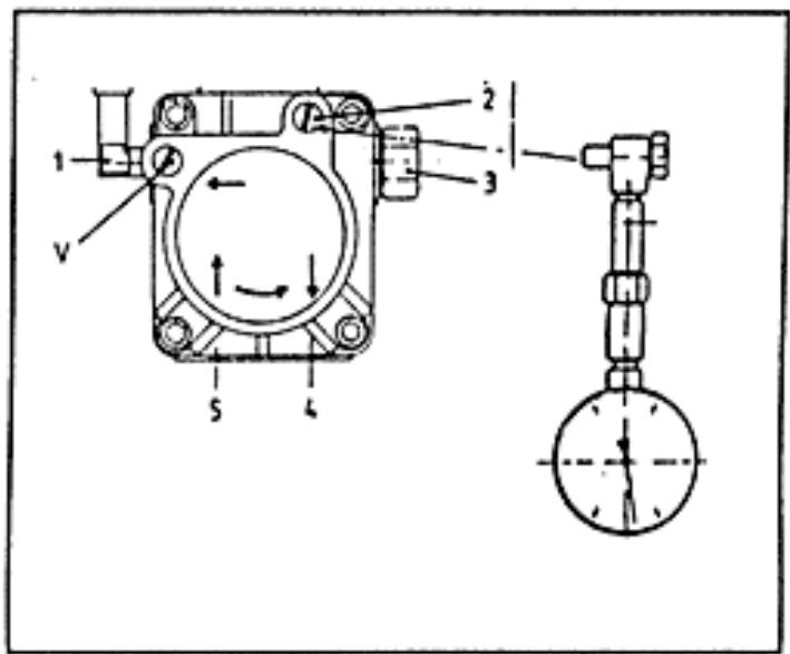
Pompotype SUNTECAI 35A (IIg.14)
Legende:
1:sortie figne de gicleur
2:prise depressiion manometre
3: rglge pressiion
4:retour
5: aspiration
y:prisevacuomdtre
5.5 - Programme de commande LOA 22 (Volr légendes page 5)
A': demarrage dos bruleurs avec rechaufleur
A:dmarrage des bruleurs sans rechaufleur
B:apparition de la lamme
C:position de fonctionnement
D:arrtdela régulation parthermostat
tw : temps de rechauffage du fuel jusqu'au signat "pré! à l'onctionner" du thermostat rechauffeur
11: temps de prévention
13: temps de pré-allumage
12: tompds do sccurit6
13n: temps de post-allumage
Temps de sccurh la disparition de la flamme: 1 seconde.


fig.13-Relage de la tete de combusion
fig.14-Amoroge de la pompe

fig.15-Programme de commande LOA 22
6 - Maintenance
6.1 - Entretlen annuel
Outilage: de malde 3, tournevis cruciforme moyen, cls plates de 7, 10, 13 et 21, de pipe de 16 ou cie de giclaur.
- débrancher la chaudière et déposer le brûleur (Fig.17) (2 écrous)
sonir la cellule et I'essuyer avec un chiffon sec
-demonlerle gueulfard et la tete de combustion ; nettoyer la tete de combustion avec un pinceau
-demonsterlegicleuravoclaclfournieetleremplacor - nettoyer avec precaution les electrodes et verifieur leur 6car
lement (Fig. 11)
-demonler volet d'air (3 + 2 vis) et le netloyer ainsi que le clapel d'air automatique et la turbine à l'aide d'un pinceau, Véritier que le clapel d'air s'ouvre librement
-basculer le couvercle et nettoyer l'internenier de la volute
- nettoyage du filtre de la pompe : fermer les vannes et placer un peit ricipient sous la pompe ; démonler le couvercle (4 vis), Retirer le filtre et le nettoyer avec précaution ; remonter le filtre et le couvercle en veillant à l'etanchéité.

fig.17-Dpore du bruleur

fig.16-Accs d'interieur de la voule
6.2 - Diagnostico de pannes eventuelles et remedes
| Le moteur ne tourne pas | vérifier l'interrupteur, les fusibles, les thermoslats, le cofret de sécurité, le moteur |
| le moteur tourne, maié pas d'allumage | vérifier le montage, l'at et l'écartement des électrodes |
| pas d'éttincelle | vérifier les cables d'allumage |
| vérifier le transformateur d'allumage | |
| vérifier le cofret de sécurité | |
| présonce d'éttincelle | s'assurer qu'il y a du fuel dans la citerne et que la vanne est ouverte |
| vérifier l'étancheté de la vanne et de la tuyauterie d'aspiration | |
| vérifier le filtre de pompé, l'at de l'engrenage, la bobine de l'électrovanne | |
| vérifier l'état du giclaur | |
| Le brûleur s'allume, puls s'arrête | vérifier la propriété de la cellule et l'état de son cable |
| vérifier le cofret de sécurité | |
| vérifier le réglage de la tête de combustion | |
| vérifier l'alimentation fuel et le giclaur | |
| La pulverisation du fuel est mauvaisse | vérifier le giclaur et son filtre |
| vérifier la pression de la pompe | |
| La combustion est mauvaisse | vérifier les réglages |
| (flamme fumeuse, formation de coke) | vérifier la turbine, les voles d'air, l'entrez d'air dans le local |
| A l'arrêt le fuel s'écoule par le giclaur | vérifier l'étancheté de l'électrovanne, la nettoyer soligneusement |
Máteriel sujet à modifications sans préavis. Document non contractuel LEROY MERLIN 62290 NOEUX LES MINES - FRANCE
Notice Facile