G4 - Brûleur fioul EQUATION - Notice d'utilisation et mode d'emploi gratuit
Retrouvez gratuitement la notice de l'appareil G4 EQUATION au format PDF.
| Type d'appareil | Brûleur fioul |
| Modèles | G4, G6, G10, G18 |
| Version | Version A 1 allure |
| Installation | Manuel d'installation inclus |
| Utilisation | Manuel d'utilisation inclus |
| Entretien | Manuel d'entretien inclus |
| Conformité | CE conforme EMC 79/336/CEE LV 73/23/CEE |
| Alimentation | Fioul |
| Puissance | Non précisé |
| Type de flamme | 1 allure |
| Utilisation recommandée | Chauffage domestique et industriel |
| Dimensions | Non précisé |
| Poids | Non précisé |
| Matériaux | Non précisé |
| Garantie | Non précisé |
| Fabricant | Non précisé |
FOIRE AUX QUESTIONS - G4 EQUATION
Questions des utilisateurs sur G4 EQUATION
0 question sur cet appareil. Repondez a celles que vous connaissez ou posez la votre.
Poser une nouvelle question sur cet appareil
Téléchargez la notice de votre Brûleur fioul au format PDF gratuitement ! Retrouvez votre notice G4 - EQUATION et reprennez votre appareil électronique en main. Sur cette page sont publiés tous les documents nécessaires à l'utilisation de votre appareil G4 de la marque EQUATION.
MODE D'EMPLOI G4 EQUATION
- L'installation doit être effectuee par un professionnel qualification, d'après les instructions du constructeur et conformement aux normes en vigueur.
- Par professionnel qualifié, on entend un professionnel ayant acquis la compétence technique dans le domaine d'application de l'appareil (civil ou industriel), notamment les techniciens des services après-venture agrés par le constructeur.
- Le constructeur décline toute responsabilité pour les dommages causés aux personnes, aux animaux ou aux choses dérivant d'une installation non correcte.
- Retirer l'emballage et vérifier le bon état du contenu.
Au moindre doute, s'adresser au fournisseur avant d'utiliser l'appareil.
Pour des motifs de sécurité, les éléments de l'emballage (caisse en bois, clous, agrafes, sacs en plastique, polystyrene expansé, etc.) ne doivent pas être laissés à la portée des enfants.
- Avant de procéder à toute opération de nettoyage ou d'entretien, débrancher l'appareil du réseau de distribution d'électricité au moyen de l'interrupteur de l'installation et/ou des organes de coupure.
- Veillez à ce que les grilles d'aspiration ou de ventilation ne soient pas bouchées.
- En cas de panne ou de mauvais fonctionnement de l'appareil, n'essayez pas de corriger vous-même le problème mais adressez-vous à un professionnel qualifié.
La réparation des apparèils ne devra être effectuee que par un service après-vente agrée par le constructeur et exclusivement avec les pièces d'origine.
Le non respect de ces prescriptions peut compromètre la sécurité de l'appareil.
Pour obtenir un fonctionnement correct et un bon rendement de l'appareil, il est indispensable:
de faire effectuer un entretien périodique par un personnel qualifié d'après les instructions du constructeur.
- Au cas où l'appareil ne serait plus utilisé, désactiver les parties susceptibles de开发商 des sources de danger.
- Le brûleur doit toujours être'accompagné du livre d'instructions. Au cas où l'appareil serait vendu ou passerait à un autre propriété, ou s'il devait rester en place pour cause de déménagement, ne pas oublier de remettre le manuel au nouveau matériel et/ou à l'installateur.
- Pour tous les appareils dotés d'options ou de kits (électriques inclus) utiliser exclusivement des accessoires d'origine.
- Cet apparéil devra être destiné à l'usage pour lequel il a été prévu. Tout autre usage doit être considéré comme impropre et par conséquent dangereux.
Le constructeur décline toute responsabilité contractuelle et extra contractuelle pour les dommages dérivant d'une installation et d'une'utilisation non correctes et du non respect des instructions.
2) PRECAUTIONS PARTICULIERES POUR BRULEURS
- Le brûleur doit être installé dans une piece convenable avec des ouvertures minimales de ventilation dictées par les normes en vigueur et de toute façon suffisantes pour obtenir une combustion parfaite.
- Utiliser exclusivement des brûleurs construits conformément aux normes en vigueur.
- Ce brûleur devra être destiné à l'utilisation pour laquelle il a été prévu.
- Avant d'effectuer les connexions, vérifier que les données indiquées sur la plaque correspondent à celles du réseau d'alimentation (électrique, gaz, fuel ou autre combustible).
- Ne pas toucher les parties chaudes du brûleur situées habituèlement en proximé de la flamme ou du système de préchauffage du combustible; elles chauffent durant le fonctionnement du brûleur et ne se refroidissent qu'après un arrêt prolongé.
En cas de non'utilisation définitive du brûleur, faire effectuer par un professionneliel qualifié les opérations suivantes:
a) Débrancher l'alimentation électrique en enlevant le cable d'alimentation de l'interrupteur général.
b Fermer l'alimentation du combustible au moyen de la vanne manuelle de fermeture en retardant les poignées de commande de leur logement.
Précautions particulières
- Vérifier que l'installateur ait solidement fixé le brûleur au générateur de chaleur de manière que la flamme se produit à l'intérieur de la chambre de combustion du générateur.
- Avant de mettre en route le brûleur, et au moins une fois par an, faire effectuer par un professionnel qualifié les opérations suivantes:
a) Régler le début du combustible du brûleur selon la puissance requise par le générateur de chaleur.
b) Régler le débit d'air comburant afin d'obtenir une valeur de rendement de combustion au moins égale au minimum prescrit par les normes en vigueur.
c) Exécuter le contrôle de combustion afin d'éviter la formation d' éléments nuisibles ou polluants au-delà des limites consenties par les normes en vigueur.
d) Vérifier le bon fonctionnement des dispositifs de réglage et de sécurité.
e) Vérifier le bon fonctionnement du conduit d'évacuation des produits de la combustion.
f) Àprous avoir effectué tous les réglages, contrôle que tous les systèmes de blocage mécaniques des dispositifs de réglage soient bien serrés.
g) Vérifier que les instructions relatives à l'utilisation et à l'entretien du brûleur se trouvent dans la chaufferie. - En cas de mises en sécurité repétées du brûleur, éviter de multiplier les tentatives de réarmement manuel. Pour.Remédier à l’anomalie, faire appel à un technicien qualifié.
- L'utilisation et l'entretien de l'appareil doivent être confiés à un professionneliel qualifié, aux termes des dispositions en vigueur.
3) INSTRUCTIONS GENERALES EN FONCTION DU TYPE D'ALIMENTATION
3a) ALIMENTATION ELECTRIQUE
- Seule une mise à la terre correcte, conforme aux prescriptions des normes en vigueur, est en mesure de garantir la sécurité de l'appareil.
- Il est nécessaire de vérifier que cette prescription fondamentale ait eté respectée. Dans le doute, s'adresser à un personnel qualifié et faire procéder à un contrôle rigoureux de l'installation électrique car le constructeur décline toute responsabilité relative aux dommages causés à défaut de mise à la terre de l'installation.
- Demander à un professionneliel qualifié de vérifier que l'installation électrique -et notamment la section des cables -soit adaptée à la puissance maximum (indiquée sur la plaque) absorbée par l'appareil.
- Pour l'alimentation générale de l'appareil en électricité, il est interd it d'utiliser des adapteurs, des prises multiples et/ou des rallonges.
- Pour la connexion au réseau électrique, utiliser un interrupteur omnipolaire comme le prescrivent les normes de sécurité en vigueur.
- L'utilisation de tout apparéil placé sous tension implique que quelques règles fondamentales soient observées:
ne jamais toucher l'appareil si certaines parties du corps sont mouillées ou humides et/ou si l'on est a pieds nus
ne pas tirer les cables electriques
ne pas exposer l'appareil aux intempéries atmosphériques (pluie, soleil, etc.), sauf disposition contraire.
interdire l'utilisation de l'appareil aux enfants ou aux personnes inexpertes.
- Le cable d'alimentation de l'appareil ne doit pas etre remplace par I'utilisateur. Au cas ou il serait endommagé, eteindre l'appareil et faire appel à un professionnel qualifié.
Lorsque l'appareil n'est pas utilisé pendant une certaine période, il convient demettre hors circuit les composants utilisant l'énergie électrique (pompes, brûleur, etc.).
3b) ALIMENTATION AU GAZ, FIOUL OU AUTRES COMBUSTIBLES
Instructions generales
- L'installation doit être effectuee conformement aux normes et aux dispositions en vigueur par un professionnel qualifie; le constructeur decline toute responsabilité des dommages causés aux personnes, aux animaux et aux choses dérivant d'une installation non correcte.
- Avant l'installation, il est recommandé de nettoyer avec le plus grand soin la partie interne des conduits d'alimentation en combustible afin d'éliminer tout dépôt qui risquerait de compromètre le bon fonctionnement du brûleur.
- Avant la première mise en service du brûleur, faire effectuer par un professionnel qualifié les contrôleurs suivants:
a) l'étanchéité interne et externe de l'installation d'alimentation en combustible,
b) la régulation du début du combustible selon la puissance requise par le brûleur
c) le type de combustible, qui doit etre celui pour lequel le bruleur est prevu;
d) la pression d'alimentation du combustible, qui doit être comprise dans les valeurs indiquées sur la plaque;
e) que l'installation d'alimentation du combustible soit dimensionné pour le débit nécessaire au brûleur et qu'elle soit munie de tous les/dispositifs de sécurité et de contrôle pres-crits par les normes en vigueur. - Lorsque le brûleur n'est pas utilisé pendant une certaine période, fermer le (les) robinet(s) d'alimentation du combustible.
Précautions particulières pour l'emploi du gaz
Faire effectuer par un professionnel qualifié les contrôleurs suivants:
a) que la ligne d'alimentation et la rampe gaz soient conformes aux normes et aux prescriptions en vigueur
b) que tous les raccords gaz soient étanches
c) que les ouvertures d'aération du local chaudière soient conformes aux prescriptions des normes en vigueur et qu'elles garantissent une parfaite combustion.
- Ne jamais utiliser les tuyaux du gaz pour la mise à la terre d'appareils électriques.
- Ne pas laisser le brûleur inutillement sous tension lorsqu'il n'est pas utilisé et ne jamais oublier de fermer le robinet du gaz.
- En cas d'absence prolongée de l'utilisateur, fermer le robinet principal d'alimentation en gaz du brûleur.
S'il se dégage une odeur de gaz:
a) ne pas actionner d'interrupteurs électriques, le téléphone ou tout autre apparéil qui pourrait provoquer des étincelles;
b) ouvrir immédiatement portes et fenêtres afin de créé un courant d'air pour ventiler le local;
c)fermerlesrobinedugaz,
d) faire appel à un professionnel qualifié.
- Ne jamais obstruer les ouvertures de ventilation du local où est installé un apparéil à gaz afin d'éviter tout danger dérivant de la formation de mélanges toxiques et explosifs.
DONNES TECHNIQUES
| BRULEURS SERIE POLYMATIC | G4 | G4....P | |
| Puisance | mini. kcal/h | 18.000 | 12.000 |
| maxi. kcal/h | 35.000 | 35.000 | |
| mini. kW | 21 | 14 | |
| maxi. kW | 41 | 41 | |
| Débit | Kg/h mini. | 1.8 | 1.2 |
| Kg/h maxi. | 3.5 | 3.5 | |
| Combustible | fioul | fioul | |
| Alimentation électrique | 230 V - 50 Hz | 230 V - 50 Hz | |
| Moteur 2800 t/m' | W | 75 | 75 |
| A absorbés | 0.65 | 0.65 | |
| Puisance électrique | W | 375 | 475 |
| Poids Kg ca. | 12.5 | 12.5 | |
| Regolazione | à 1 allure | à 1 allure | |
| Réchauffeur | non | oui | |
| BRULEURS SERIE MINIFLAM | G6 | G10 | G18 | |
| Puisance | mini. kcal/h | 25.000 | 50.000 | 90.000 |
| maxi. kcal/h | 60.000 | 100.000 | 180.000 | |
| mini. kW | 29 | 58 | 105 | |
| maxi. kW | 70 | 116 | 209 | |
| Débit | Kg/h mini. | 2.5 | 5 | 9 |
| Kg/h maxi. | 6 | 10 | 18 | |
| Combustible | fioul | fioul | fioul | |
| Alimentation électrique | 230 V - 50 Hz | 230 V - 50 Hz | 230 V - 50 Hz | |
| Moteur 2800 t/m' | W | 100 | 150 | 200 |
| A absorbés | 0.75 | 1.1 | 1.4 | |
| Puisance électrique | W | 400 | 450 | 500 |
| Poids Kg ca. | 14.5 | 16 | 17 | |
| Regolazione | à 1 allure | à 1 allure | à 1 allure | |
| Réchauffeur | non | non | non | |
IDENTIFICATION DES BRULEURS
La denomination du bruleur est identifiée par le type et le modele. La description du modele est expliquée ci-dessous:
Type: G4
Modèle:
G-.
TN.
s.
.
A.
P
(7)
(1) BRULEUR TYPE
(2) COMBUSTIBLE
(3) REGLAGE versions disponible
(4) LONGUEUR BUSE (Voir côtes d'encombrement) versions disponibles S
(5) PAYS DE DESTINATION
(6) VERSION
G-Fioul
TN - 1 allure
S - Standard
L - Rallongée
FR - France
A - Standard
B-Four de boulangerie
C - Four de boulangerie avec prise d'air extérieur
D - Chef
F - Chef special
N - Réglage air interieur (G4)
S - Réglage air interieur et sans connecteur (G4)
Y - Special
Z - Sans capot
M - Verin hydraulique
P - Rechaffeur
L - Rechaffeur plus verin hydraulique
(7) EQUIPMENT
COTES D'ENCOMBREMENT EN mm



Fig. 1
| A | B | BL | C | CL | D | E | G | K | H | P | M | |
| G4 - G4P | 230 | 35 ÷ 55 | 35 ÷ 130 | 285 | 360 | 295 | 230 | 80 | 175 | 90 | 85 ÷ 134 | M8 |
| A | B | BL | C | CL | D | E | G | K | H | P | M | |
| G6 | 290 | 35 ÷ 60 | 170 | 350 | - | 310 | 230 | 80 | 190 | 90 | 85 ÷ 134 | M8 |
| G10 | 275 | 80 | 200 | 355 | 475 | 340 | 255 | 90 | 230 | 125 | 121 ÷ 134 | M8 |
| G18 | 275 | 80 | 200 | 355 | 475 | 340 | 255 | 115 | 230 | 125 | 121 ÷ 134 | M8 |
PLAGES DE TRAVAIL

CONTRE-PRESSION EN CHAMBRE DE COMBUSTION EN mbar

CONTRE-PRESSION EN CHAMBRE DE COMBUSTION EN mbar
MONTAGE ET RACCORDEMENTS
Emballage
Les brûleurs sont livrés dans des emballages en carton aux dimensions:
G4..S 330-320-300mm(LxA×P)
G4..L 390-320-300mm(LxA×P)
G6 360-300-450mm(LxA×P)
G10..S - G18..S 420 - 350 - 420 mm (L x A x P)
G10..L - G18..L 420 - 350 - 620 mm (L x A x P)
Les emballages en carton craignent l'humidité et ne sont pas adaptés pour être emplés.
Contenu de chaque emballage:
1 brûleur
2 tuyaux flexibles
1 filtré
1 joint à interposer entre le brûleur et la chaudière
1 enveloppe contenant le manuel.
Pour l'élimination des ancients brûleurs, se conformer aux procédures prescrites par les lois en vigueur en matière d'élimination des déchets.
Montage brûleur à la chaudière
Fixer la bride d'attache du brûleur à la chaudière en suivant les indications de la Fig. 4 afin d'obtenir une inclinaison correcte de la buse vers la chambre de combustion.

Fig. 4
Scheme connexions electriques.
retirer le capot du bruleur;
- étabir les connexions électriques sur le bornier d'alimentation selon les indications des schémas de la Fig. 5a et Fig. 5b;
- remetre en place le capot du brûleur.

Seulement G4 G-TN.x.xx.S.x
Fig. 5a

Tous les models sauf G4 G-.TN.x.xx.S.x
Fig. 5b
RESPECTER LES REGLES FONDAMENTALES DE SECURITE, CONTROLLER LA MISE A LA TERRE, NE PAS INVERSER LES CONNEXIONS DE PHASE ET DE NEUTRE, PREVOIR UN INTERRUPEUR DIFFERENTIEL MAGNETO THERMIQUE DE PUISSANCE ADAPTEE POUR LE RACCORDEMENT AU RESEAU ELECTRIQUE.
De la cuve
A la cuve

Fig. 6
Legende
1 Brûleur
2 Tuyaux flexibles (fourni)
3 Filtre fioul (fourni)
4 Vanne d'arrêt ()
5 Clapet anti-retour ()
6 Vanne
7 Vanne à fermeture rapide (à l'extérieur des locaux réservoir et chaudière)
(*) Obligatoire uniquement pour les installations à alimentation par gravité, à siphon ou à circulationforcée
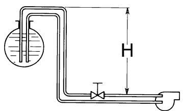
Déterminiation du diamètre des conduits d'alimentation en fioul



Fig. 7
Tab. 1
| H (m) | L (m) | ||
| Ø 6 | Ø 8 | Ø 10 | |
| 0 | 41 | 100 | 100 |
| 0.5 | 70 | 100 | 100 |
| 1 | 100 | 100 | 100 |
| 1.5 | 100 | 100 | 100 |
| 2 | 100 | 100 | 100 |
| 2.5 | 100 | 100 | 100 |
| 3 | 100 | 100 | 100 |
| 3.5 | 100 | 100 | 100 |
| 4 | 100 | 100 | 100 |
| 4.5 | 100 | 100 | 100 |
| 5 | 100 | 100 | 100 |
Tab. 2
| H (m) | L (m) | |||
| Ø 6 | Ø 8 | Ø 10 | Ø 12 | |
| 0 | 19 | 77 | 100 | 100 |
| 1 | 24 | 90 | 100 | 100 |
| 2 | 30 | 100 | 100 | 100 |
| 3 | 34 | 100 | 100 | 100 |
| 4 | 39 | 100 | 100 | 100 |
| 5 | 44 | 100 | 100 | 100 |
| 6 | 48 | 100 | 100 | 100 |
| 7 | 52 | 100 | 100 | 100 |
| 8 | 56 | 100 | 100 | 100 |
| 9 | 55 | 100 | 100 | 100 |
| 10 | 51 | 100 | 100 | 100 |
Tab. 3
| H (m) | L (m) | |||
| Ø 6 | Ø 8 | Ø 10 | Ø 12 | |
| 0 | 18 | 73 | 100 | 100 |
| 0.5 | 15 | 66 | 100 | 100 |
| 1 | 13 | 59 | 100 | 100 |
| 1.5 | 10 | 52 | 100 | 100 |
| 2 | 7 | 44 | 100 | 100 |
| 2.5 | 5 | 44 | 100 | 100 |
| 2.5 | - | 37 | 100 | 100 |
| 3 | - | 30 | 85 | 100 |
| 3.5 | - | 23 | 68 | 100 |
| 4 | - | - | - | 100 |
| 4.5 | - | - | - | - |
Les brûleurs que nous construisons sont prévus pour l'alimentation à 2 tubes.
Il est toutefois possible de les adapter aux installations monotube (que l'on conseille en cas d'alimentation par gravite).
Consulter l'appendice qui illustré en détaill les opérations à exécuter.
REGLAGES
Réglage du débit fioul
Pour régler le débit du fioul, désir un giclér de dimension ajusté et régler la pression de refoulement de la pompe (voir schéma général du circuit fioul sur la Fig. 8).
Pour le choix du giclure, se reporter au Tab. 4; pour le réglage de la pression de la pompe, voir les indications Page 9 et
Page 10. Des informations supplémentaires sur les caractéristiques des pompes à fioul se trouvent dans l'appendice.
Amorçage pompe
Avant d'effectuer les réglages, il est nécessaire d'amcorcer la pompe du fioul en procédant de la manière suivante:
- Avant demettre en fonctionnement le bruleur, contrcler que le conduit de retour à la cuve ne soit pas obstrue. Tout obstacle provoquerait la rupture de I'organe d'etanchete de la pompe.
- Mettre en route le brûleur, éclairer la cellule photorésistance après l'ouverture de l'électrovanne et évacuer l'air à travers le raccord du manomètre.
Legende
EV Electrovanne fioul
M Manometre
P Pompe

Tab. 4 - Choix du giclaur fioul
| G.P.H. | 10 bar | 12 bar | 14 bar | ||||||
| Kg/h | kcal/h | kW | Kg/h | kcal/h | kW | Kg/h | kcal/h | kW | |
| 0.40 | 1.52 | 15.500 | 18 | 1.67 | 17.100 | 19.8 | 1.80 | 18.400 | 21.4 |
| 0.50 | 1.90 | 19.400 | 22.5 | 2.08 | 21.200 | 24.6 | 2.25 | 22.900 | 26.6 |
| 0.60 | 2.28 | 23.250 | 27 | 2.50 | 25.500 | 29.6 | 2.70 | 27.500 | 31.9 |
| 0.65 | 2.47 | 25.200 | 29.2 | 2.71 | 27.600 | 32 | 2.92 | 29.800 | 34.6 |
| 0.75 | 2.85 | 29.100 | 33.8 | 3.12 | 31.800 | 36.9 | 2.7 | 34.400 | 40 |
| 0.85 | 3.23 | 33.000 | 38.3 | 3.54 | 36.100 | 41.9 | 3.82 | 39.000 | 45.3 |
| 1.00 | 3.80 | 38.800 | 45 | 4.16 | 42.400 | 49.2 | 4.50 | 45.800 | 53.2 |
| 1.10 | 4.18 | 42.600 | 49.5 | 4.58 | 46.700 | 54.2 | 4.95 | 50.500 | 58.6 |
| 1.20 | 4.56 | 46.500 | 54 | 5.00 | 51.000 | 59.2 | 5.40 | 55.500 | 64.4 |
| 1.25 | 4.75 | 48.400 | 56.2 | 5.20 | 53.00 | 61.5 | 5.60 | 57.100 | 66.3 |
| 1.35 | 5.13 | 52.300 | 60.7 | 5.62 | 57.000 | 66.2 | 6.07 | 62.000 | 72 |
| 1.50 | 5.70 | 58.000 | 67.3 | 6.24 | 63.600 | 73.9 | 6.75 | 69.000 | 80.1 |
| 1.65 | 6.27 | 64.000 | 74.4 | 6.86 | 69.900 | 81.3 | 7.42 | 76.000 | 88.3 |
| 1.75 | 6.65 | 68.000 | 79 | 7.28 | 74.200 | 86.3 | 7.87 | 80.000 | 93 |
| 2.00 | 7.60 | 77.500 | 90.1 | 8.32 | 84.800 | 98.6 | 8.99 | 92.000 | 106.9 |
| 2.25 | 8.55 | 87.200 | 101.4 | 9.36 | 95.400 | 111 | 10.12 | 103.000 | 119.7 |
| 2.50 | 9.50 | 97.000 | 112.8 | 10.40 | 106.000 | 123.3 | 11.24 | 115.000 | 133.7 |
| 3.00 | 11.40 | 116.000 | 134.9 | 12.48 | 127.200 | 148 | 13.49 | 137.000 | 159.3 |
| 3.50 | 13.30 | 135.800 | 157.9 | 14.56 | 148.750 | 173 | 15.74 | 160.700 | 186.9 |
| 4.00 | 15.20 | 155.200 | 180.4 | 16.65 | 170.000 | 197.7 | 17.99 | 183.700 | 213.6 |
| 4.50 | 17.10 | 174.600 | 203 | 18.73 | 191.250 | 222.4 | 20.24 | 206.650 | 240.3 |
Pompe Suntec AS47 A
Viscosité
Température du fioul
Pression d'arrivée
Pression de return
Hauteur d'aspiration
Vitesse de rotation
Pompe DELTA VM1RL2
Viscosité
Température du fioul
Pression d'arrivée
Pression de return
Hauteur d'aspiration
Vitesse de rotation
Pompe DANFOSS BFP21R3
Viscosité
Température du fioul
Pression d'arrivée
Pression de return
Hauteur d'aspiration
Vitesse de rotation
Pompe Suntec AS47 C
Viscosité
Température du fioul
Pression d'arrivée
Pression de return
Hauteur d'aspiration
Vitesse de rotation
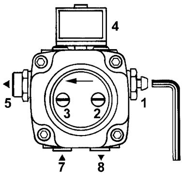
Legendre
1 Régulateur de pression
2 Prise manometre
3 Prise vacuometre
4 Electrovanne
5 Vers le giclaur
7 Aspiration
8 Retour
2 - 12 mm²/s (cSt)
0 - 60 °C dans la pompe.
2 bar maxi.
2 bar maxi.
0,45 bar maxi. de vide pour éviter le dégazage du fioul.
3600 t/min. maxi.

Fig. 9

Fig. 10
2 - 50 mm²/s (cSt)
0 - 60 °C dans la pompe.
2 bar maxi.
2 bar maxi.
0,5 bar maxi. de vide pour éviter le dégazage du fioul.
3500 t/min. maxi.
1.3 - 12 mm²/s (cSt)
70^ dans la pompe.
2 bar maxi.
2 bar maxi.
0,35 bar maxi. de vide pour éviter le dégazage du fioul.
3600 t/min. maxi.

Fig. 11
2 - 12 mm²/s (cSt)
0 - 60 °C dans la pompe.
2 bar maxi.
2 bar maxi.
0,45 bar maxi. de vide pour éviter le dégazage du fioul.
3600 t/min. maxi.

Fig. 12
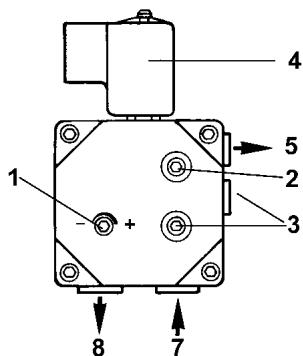
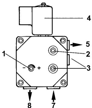
Pompe DELTA VM1LR2
Viscosité
Température du fioul
Pression d'arrivée
Pression de return
Hauteur d'aspiration
Vitesse de rotation
2 - 50 mm²/s (cSt)
0 - 60 °C dans la pompe.
2 bar maxi.
2 bar maxi.
0,5 bar maxi. de vide pour éviter le dégazage du fioul.
3500 t/min. maxi.

Fig. 13
Pompe DANFOSS BFP21L3
Viscosité
Température du fioul
Pression d'arrivée
Pression de return
Hauteur d'aspiration
Vitesse de rotation
1.3 - 12 mm²/s (cSt)
70^ dans la pompe.
2 bar maxi.
2 bar maxi.
0,35 bar maxi. de vide pour éviter le dégazage du fioul.
3600 t/min. maxi.

Fig. 14
Legendre
1 Régulateur de pression
2 Prise manometre
3 Prise vacuometre
4 Electrovanne
5 Vers le giclure
7 Aspiration
8 Retour
REGLAGE DEBIT AIR

Fig. 15

Fig. 16

Fig. 17
Type G4 mod. G-.TN...N.x et G-.TN...S (réglage air interieur)
- Desserer la vis VBS.
- Régler le débit de l'air en déplaçant la vis VBS le long de la fente de réglage.
- Serrer de nouveau la vis VBS.
Type G4 mod. G-.TN.x.FR.A.x (réglage air extérieur)
- Régler le début de l'air en tournant la vis VBS.
Type G6 - G10 - G18
- Desserrer la vis VBS et tourner manuellement le clapet d'air comme l'indiquent les flèches.
- Serrer de nouveau la vis VBS.
REGLAGE DE LA TETE DE COMBUSTION
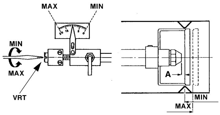
Avec un tournevis, tourner la vis VRT dans le sens horaire ou anti-horaire afin d'obtenir respectivement la puissance maximum ou minimum. Au cas où la tete de combustion devrait etre remplacée, rétabrir la position indiquée sur les figures Fig. 21a et Fig. 21b par rapport à l'extrémité du giclaur.
Type G4 - G4....P

Fig. 18
Type G6

Fig. 19
Fig. 20
Type G10 - G18
Avec un tournevis, tourner la vis VRT dans le sens horaire ou anti-horaire afin d'obtenir respectivement la puissance minimum ou maximum (+/-). Au cas où la tentative de combustion devrait être remplacée, rétablit la position indiquée sur la Fig. 20 (et Tab. 9) par rapport à l'extrémité du giclaur.

REGLAGE DE LA COMBUSTION
Tab. 5 -Type G4
| GICLEUR G.P.H. 60° | PRESSION POMPE BAR | DEBIT Kg/h ±10% | REGLAGE INDEX TETE | REGLAGE INDEX CLAPET |
| 0.40 | 10 - 12 | 1.52 - 1.66 | 1 - 1.5 | 3.5 - 3.5 |
| 0.50 | 10 - 12 | 1.90 - 2.08 | 1.5 - 1.5 | 4.5 - 5 |
| 0.60 | 10 - 12 | 2.28 - 2.50 | 2.5 - 2.5 | 5 - 6 |
| 0.65 | 10 - 12 | 2.47 - 2.70 | 2.5 - 3 | 6.5 - 8 |
| 0.75 | 10 - 12 | 2.85 - 3.12 | 4.5 - 5 | 6.5 - 8.5 |
Tab. 5a - Type G4 avec réchaffeur
| GICLEUR G.P.H. 60° | PRESSION POMPE BAR | DEBIT Kg/h ±10% | REGLAGE INDEX TETE | REGLAGE INDEX CLAPET |
| 0.40 | 10 - 12 | 1.25 - 1.36 | 1.5 - 1.5 | 3 - 3.5 |
| 0.50 | 10 - 12 | 1.70 - 1.86 | 2 - 2 | 3.5 - 4 |
| 0.60 | 10 - 12 | 2.22 - 2.41 | 2 - 2 | 5.5 - 7 |
| 0.65 | 10 - 12 | 2.31 - 2.46 | 2.5 - 3 | 5 - 5.5 |
| 0.75 | 10 - 12 | 2.76 - 3 | 3.5 - 3.5 | 5.5 - 7 |
Tab. 6 - Type G6
| GICLEUR G.P.H. 60° | PRESSION POMPE BAR | DEBIT Kg/h ±10% | REGLAGE INDEX TETE | REGLAGE INDEX CLAPET |
| 0.60 | 10 - 12 | 2.35 - 2.60 | 1.5 - 1.5 | 4 - 4 |
| 0.75 | 10 - 12 | 3.00 - 3.30 | 2 - 2.5 | 5.2 - 6 |
| 0.85 | 10 - 12 | 3.40 - 3.85 | 3 - 4 | 5.5 - 6 |
| 1.00 | 10 - 12 | 3.90 - 4.20 | 3.5 - 4.5 | 7 - 7 |
| 1.10 | 10 - 12 | 4.10 - 4.50 | 4 - 6 | 7 - 7 |
| 1.20 | 10 - 12 | 4.70 - 5.20 | 6.5 - 7.5 | 7.5 - 8 |
| 1.35 | 10 - 12 | 5.40 - 5.80 | 9 - 10 | 8 - 8 |
Tab. 7 - Type G10
| GICLEUR G.P.H. 60° | PRESSION POMPE BAR | DEBIT Kg/h ±10% | REGLAGE INDEX TETE | REGLAGE INDEX CLAPET |
| 1.20 | 10 - 12 | 4.80 - 5.10 | 0 - 0 | 1.5 - 1.8 |
| 1.35 | 10 - 12 | 5.35 - 5.80 | 1 - 1 | 2 - 2.3 |
| 1.50 | 10 - 12 | 5.95 - 6.60 | 2 - 2 | 2.3 - 2.7 |
| 1.75 | 10 - 12 | 7.00 - 7.40 | 3 - 5 | 3 - 3.5 |
| 2.00 | 10 - 12 | 7.80 - 8.60 | 6 - 8 | 3.7 - 4 |
| 2.25 | 10 - 12 | 8.90 - 9.60 | 8 - 8.5 | 4 - 5 |
| 2.50 | 10 - 12 | 9.40 - 10.50 | 8.5 - 10.5 | 5 - 6 |
Tab. 8 -Type G18
| GICLEUR G.P.H. 60° | PRESSION POMPE BAR | DEBIT Kg/h ±10% | REGLAGE INDEX TETE | REGLAGE INDEX CLAPET |
| 2.25 | 10 - 12 | 8.95 - 9.40 | 5 - 5.5 | 4 - 5 |
| 2.50 | 10 - 12 | 9.50 - 10.40 | 5.5 - 7 | 5 - 5 |
| 2.75 | 10 - 12 | 10.70 - 11.75 | 7 - 9.5 | 5 - 5 |
| 3.00 | 10 - 12 | 11.80 - 12.85 | 10 - 11 | 5 - 5 |
| 3.50 | 10 - 12 | 13.85 - 15.00 | 12 - 14 | 6 - 7 |
| 4.00 | 10 - 12 | 15.35 - 16.65 | 15 - 17 | 7 - 8 |
| 4.50 | 10 - 12 | 17.00 - 18.00 | 18 - 20 | 8 - 8 |
LIMITES D'UTILISATION
LE BRULEUR EST UN APPAREIL CONC U ET Construit POUR NE FONCTIONNER QU'APRES AVOIR ETE CORRECTEMENT ACCOUPLE A UN GENERATEUR DE CHALEUR (EX. CHAUDIERE, GENERATEUR D'AIR CHAUD, FOUR, ETC.). Toute AUTRE UTILISATION DOIT ETRE CONSIDEREE COMME IMPROPRE ET PAR CONSEQUENT DANGEREUSE.
L'UTILISATEUR DOIT GARANTIR LE MONTAGE CORRECT DE L'APPAREIL EN S'ADRESSANT A UN PERSONNEL QUALIFIE POUR LA REALISATION DE L'INSTALLATION. LE PREMIER ALLUMAGE DEVRA ETRE EFFECTUE PAR UN TECHNICIEN D'UN SERVICE APRES-VENTE AGREE PAR LE CONSTRUCTEUR.
A CE PROPOS, LA Connexion Electrique Aux ORANES DE REGLAGE ET DE SECURITE DU GENERATUR (THERMOSTATS DE TRAVAIL, SECURITE, ETC.) ASSUME UNE IMPORTANCE FONDAMENTALE ET GARANTIT UN FONCTIONNEMENT CORRECT ET SANS DANGER DU BRULEUR.
LA MISE EN SERVICE DE L'APPAREIL EST ASSUJETTIE AU RESPECT DES MODALITES D'INSTALLATION PRESCRITES PAR LE CONSTRUCTEUR. Toute MANIPULATION (EX. DECONNEXION TOTALE OU PARTIELLE DE CONDUCTeurs ELECTRIQUES, OUVERTURE DE LA PORTE DU GENERATEUR, DEMONTAGE DE PARTIES DU BRULEUR) VISANT A APPORTER, TOTALEMENT OU EN PARTIE, CERTAINES MODIFICATIONS EST FORMELLEMENT INTERDITE.
NE JAMAIS OUVRIR OU DEMONTER AUCUN COMPOSANT DE L'APPAREIL.
AGIR EXCLUSIVEMENT SUR L'INTERRUPTEUR GENERAL («ON-OFF») QUI SERT EGALEMENT POUR L'ARRET D'URGENCE ETANT DONNE SON ACCES FACILE ET LA RAPIDITE DE LA MANOÉUVRE ET EVENTUELLEMENT SUR LE BOUTON DE DEVERROUILLAGE.
EN CAS DE BLOCAGES REPETES, EVITER DE MULTIPLIER LES TENTATIVES DE REMISE EN MARCHE EN APPUYANT SUR LE BOUTON DE DEVERROUILLAGE. FAIRE APPEL A UN TECHNICIEN QUALIFIE QUI SE CHARGERA DE REMEDIER A L'ANOMALIE.
ATTENTION: DURANT LE FONCTIONNEMENT DE L'APPAREIL, LES PARTIES DU BRULEUR PROCHES DU GENERATEUR (BRIDE D'ACCOUPEMENT) CHAUFFENT. NE PAS LES TOUCHER AFIN D'EVITER TOUT RISQUE DE BRULURE.
FONCTIONNEMENT
- Mettre le brûleur sous tension au moyen de l'interrupteur général de la chaudière.
- Contrôler que l'appareil ne soit pas bloqué; au besoin, le débloquer en agissant sur le bouton de déverrouillage accessible à travers le trou pratiqué sur le capot du brûleur.
- Vérifier que la série de thermostats (ou pressostats) donne l'ordre de mise en service du brûleur.
- Le cycle de mise en route du brûleur démarre: l'appareil met en fonction le ventilateur du brûleur et met en circuit le transformateur d'allumage.
- Au terme de la prévention, l'électrovanne du fioul est alimentée et le brûleur s'allume.
- Le transformateur d'allumage reste branché quelques secondes après l'allumage de la flamme (temps de post-allumage), après quoi il est exclu du circuit.
Au moins une fois par an, effectuer les opérations d'entretien illustrées ci-après. En cas de fonctionnement saissonnier, il est recommandé de procéder à l'entretien à la fin de chaque période de chauffage. En cas de fonctionnement continu, l'entretien doit être effectué tous les six mois.
N.B. Toutes les interventions sur le brûleur doivent être effectuées avec l'interrupteur électrique général ouvert.
OPERATIONS PERIODIQUES
- Nettoyer et examinier la cartouche du filtre fioul; si nécessaire, la replacer;
- contrôle de l'etat des flexibles du fioul, vérifier s'il y a des fuites évientuelles.;
Nettoyage et contrrole du filtre a l'intérieur de la pompe du fioul (voir les instructions reportees dans l'appendice); - Demonter, contrôle et nettoyer la tete de combustion; lors du remontage, respecter scrupuleusement les mesures indiquées en Tab. 9;
- Contrôler les électrodes d'allumage et les isolateurs en porcelaine: nettoyer, régler et si nécessaire, replacer (voir Fig. 21a et Fig. 21b).
- Demonter et nettoyer le giclaur fioul (Important: le nettoyage doit être effectué avec des solvants; ne jamais utiliser d'outils métalliques). Une fois l'entretien terminé, remonter le brûleur, allumer, et contrôle la forme de la flamme; au moindre doute, replacer le giclaur. En cas d'emploi intensif du brûleur, il est conseilé de replacer le giclaur au début de chaque période de fonctionnement;
- Contrôler et nettoyer soigneusement la cellule photorésistance de détction flamme; au besoin, la replacer. Dans le doute, vérifier le circuit de détction après avoir remis en fonction le brûleur en suivant les indications du schéma de la Fig. 22.
Position correcte des électrodes et de la tête de combustion
- Pour avoir accès à la tête de combustion et aux électrodes, desserrer la vis VB située sur la buse du brûleur et dégager ce dernier de la buse (qui reste fixée à la chaudière);
- prévoir un plan d'appui stable sur lequel poser le brûleur durant l'entretien.
- Il est nécessaire de respecter les mesures indiquées sur la Tab. 9, afin d'obtenir un bon allumage.
- Ne pas oublier de fixer la vis de mise en sécurité du groupe électrodes avant de remonter le brû-leur.
Tab. 9
| GICLEUR | A | B | C | D | |
| G4 - G4....P | 60° | 4 | 3 | 2 ÷ 3 | 6 |
| 45° | 6 | 3 | 2 ÷ 3 | 6 | |
| G6 | 60° | 5 | 3 | 4 | 6 |
| 45° | 8 | 4 | 4 | 6 | |
| G10 - G18 | 60° | 6 | 4 | 4 | 6 |
| 45° | 10 | 5 | 4 | 6 |

Fig. 21a - Brûleurs G4 et G6

Fig. 21b - Bruleurs G10 et G18
Contrôle du courant de détention
Pour mesurer le signal de détction, suivre les indications du schéma de la Fig. 22. Si le signal ne rentre pas dans les valeurs indiquées, vérifier les contacts électriques, la propre de la tête de combustion, la position de la cellule photoresistante et au besoin remplacer cette dernière.
Intensité minimum de courant avec flamme: 65 μA
Intensité maximum de courant sans flâme: 5 μA
Intensité max. de courant possible avec flamme: 200 μA

Fig. 22
SCHEMAS ELECTRIQUES
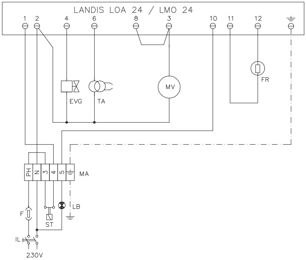
Schema electrique cod. 01-361 Rev. 1 - Brûleurs G4 - G6 - G10 - G18 Versions standard

Legende
CO Compteur
EVG Electrovanne fioul
F Fusible
FR Photorésistance
IL Interrupteur de ligne
L1 Phase
LF Voyant de signalisation service bruleur
LB Voyant signalisation de mise en sécurité
LOA24/LMO24 Coffret LANDIS contrôle flamme
MA Bornier d'alimentation bruleur
MV Moteur ventilateur
N Neutre
ST Série de thermostats ou de pressostats
TA Transformateur d'allumage
TS Thermostat/Pressostat de sécurité chaudiere
ATTENTION:
1 Alimentation electrique 230V 50 Hz, 2N a.c.
2 Ne pas inverser la phase avec le neutre
3 Assurer au bruleur une bonne mise a terre

Legende
| EVG | Electrovanne fioul |
| F | Fusible |
| FR | Photorésistance |
| IL | Interrupteur de ligne |
| LB | Voyant signalisation de mise en sécurité |
| LOA24/LMO24 | Coffret LANDIS contrôle flamme |
| MA | Bornier d'alimentation brûleur |
| MV | Moteur ventilateur |
| N | Neutre |
| PH | Phase |
| ST | Série de thermostats ou de pressostats |
| TA | Transformateur d'allumage |
ATTENTION:
1 Alimentation electrique 230V 50 Hz, 2N a.c.
2 Ne pas inverser la phase avec le neutre
3 Assurer au brûleur une bonne mise à terre

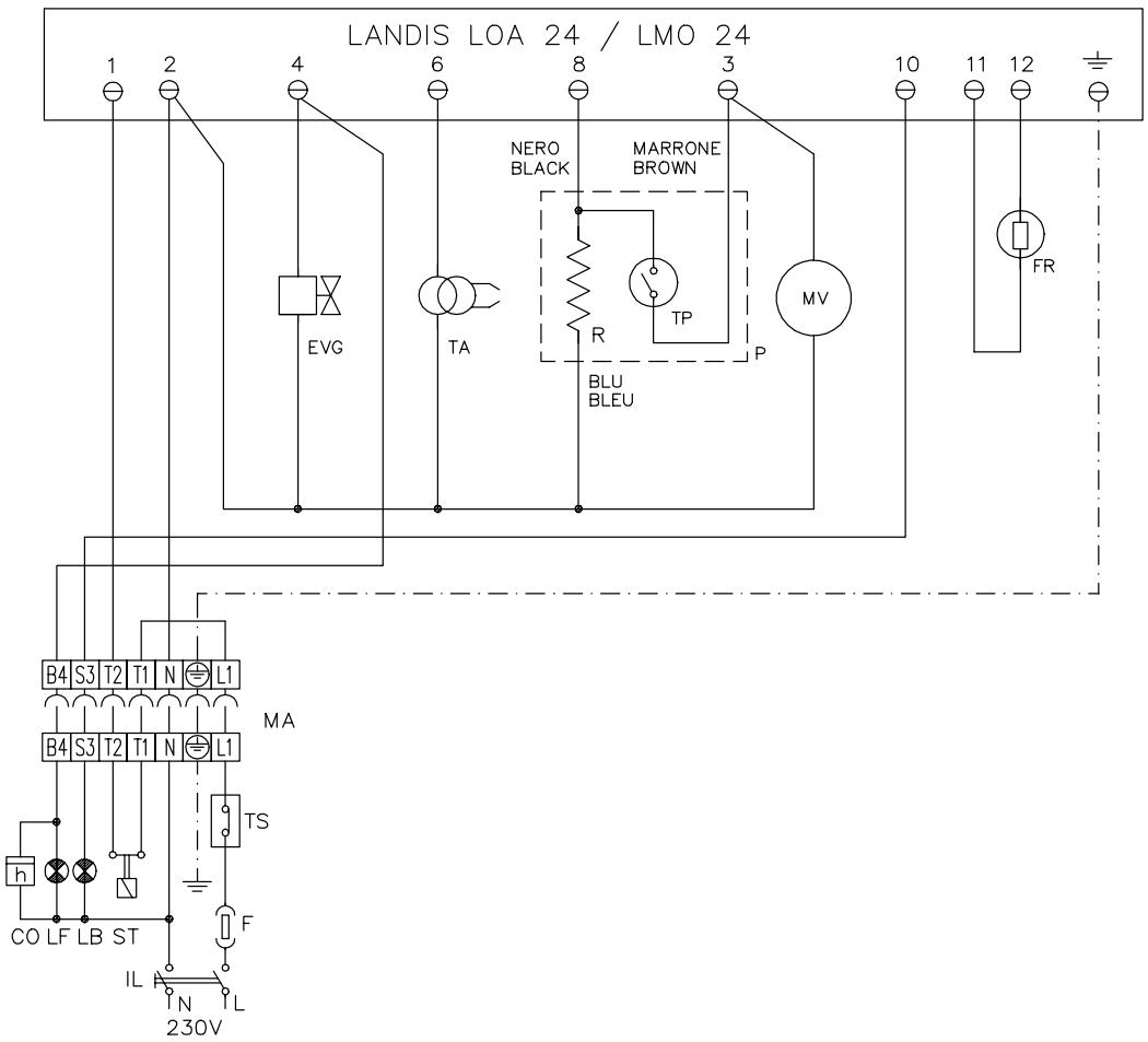
Legendre
| CO | Compteur |
| EVG | Electrovanne fioul |
| F | Fusible |
| FR | Photorésistance |
| IL | Interrupteur de ligne |
| L1 | Phase |
| LB | Voyant de signalisation de mise en sécurité |
| LF | Voyant de signalisation service brûleur |
| LOA24/LMO24 | Coffret LANDIS contrôle flamme |
| MA | Bornier d'alimentation brûleur |
| MV | Moteur ventilateur |
| N | Neutre |
| P | Rechafferur fioul |
| R | Résistance réchauffeur |
| ST | Série thermostats ou pressostats |
| TA | Transformateur d'allumage |
| TP | Thermostat réchauffeur |
| TS | Thermostat - pressostat chaudière |
ATTENTION:
| 1 | Alimentation électrique 230V 50 Hz, 2N a.c. |
| 2 | Ne pas inverser la phase avec le neutre |
| 3 | Assurer au brûleur une bonne mise à terre |

| POS. | DESCRIPTION | G4 | G4...P |
| 1 | APPAREIL LOA24 | 2020445 | 2020445 |
| 2 | SOCLE APPAREIL LOA24 | 2030409 | 2030409 |
| 4 | EQUERRE DE SUPPORT APPAREIL | 2430062 | 2430062 |
| 5 | TRANSFORMATEUR COFI E820 | 2170117 | 2170117 |
| 6 | PORTE-GICLEUR STANDARD | 2850037 | 2850037 |
| 6 | PORTE-GICLEUR LONGUE | 2850059 | 2850059 |
| RALLONGE RECHAUFFEUR (G4 - G4..P) | 2850109 | 2850109 | |
| 6A | RECHAUFFEUR (G4 - G4..P) | 2850040 | 2850040 |
| 7 | GICLEUR | 261... | 261... |
| 8 | CABLE D'ALLUMAGE | 6050119 | 6050119 |
| 8A | CABLE D'ALLUMAGE LONGUE | 6050122 | 6050122 |
| 9 | ELECTRODE D'ALLUMAGE | 2080232 | 2080232 |
| 10 | BUSE NORMALE | 30900E3 | 30900E3 |
| 10A | BUSE LONGUE | 30900E4 | 30900E4 |
| 11 | BRIDE | 2100025 | 2100025 |
| 12 | GARNITURE | 2110027 | 2110027 |
| 13 | Tête DE COMBUSTION | 3060180 | 3060180 |
| 14 | FOND | 3190101 | 2010115 |
| 16 | CARCASSE DROITE | 2050267 | 1010022 |
| 16A | CARCASSE GAUCHE | 2050268 | 2050263 |
| 17 | TURBINE | 2150020 | 2150020 |
| 19 | RALLONGE PORTE-GICLEUR | 2850113 | 2850113 |
| 20 | SOCLE PHOTOSISTANCE LANDIS | --- | --- |
| 21 | PHOTOSISTANCE LANDIS QRB1B | 2510008 | 2510008 |
| 22 | CAPOTE | 3010043 | 3010032 |
| 23 | TUBE POUR VM1 RL2 | 2220141 | 2220141 |
| 23 | TUBE POUR AS47A | 2220141 | 2220141 |
| 23 | TUBE POUR BFP21R3 | 2220141 | 2220141 |
| 24 | VIS DE REGLAGE TETE | 2320023 | 2320023 |
| 25 | VIS INDICE | 2350095 | 2350095 |
| 26 | BRIDE PULVERISATEUR | 2100065 | 2100037 |
| 27 | BOBINE POUR DELTA VM1 RL2 | 2580406 | 2580406 |
| 27 | BOBINE POUR SUNTEC AS47A | 2580402 | 2580402 |
| 27 | BOBINE POUR DANFOSS BFP21 R3R | 2580701 | 2580701 |
| 28 | POMPE DELTA VM1RL2 | 2590012 | 2590012 |
| 28 | POMPE SUNTEC AS47A | 2590130 | 2590130 |
| 28 | POMPE DANFOSS BFP21 R3 | 2590309 | 2590309 |
| 29 | MOTEUR SIMEL 75W | 2180052 | 2180052 |
| 29 | MOTEUR AEG 75W | 2180701 | 2180701 |
| 30 | CONDENSATEUR | 6030013 | 6030013 |
| TUYAUX FLEXIBLES | 2340055 | 2340055 | |
| FILTRE | 2090001 | 2090001 |

| POS. | DESCRIPTION | G6 | G10 | G18 |
| 1 | CAPOTE | 3010018 | 3010019 | 3010019 |
| 2 | CONDENSATEUR | 6030003 | 6030005 | 6030005 |
| 3 | MOTEUR SIMEL | 2180013 | 2180005 | 2180014 |
| 3 | MOTEUR AEG | 2180702 | 2180703 | --- |
| 4 | APPAREIL LOA24 | 2020445 | 2020445 | 2020445 |
| 5 | ENBASE APPAREIL | 2030409 | 2030409 | 2030409 |
| 6 | EQUERRE DE SUPPORT APPAREIL | 2430004 | 2430004 | 2430004 |
| 6A | EQUERRE | 2060002 | 2060002 | 2060002 |
| 7 | TRASFORMATEUR COFI 1020 | 2170106 | 2170106 | 2170106 |
| 8 | CARCASSE COMPLETE | 2050239 | 2050239 | 2050239 |
| 8 | CARCASSE COMPLETE (VERSION AVEC VERIN) | 2050237 | 2050236 | 2050236 |
| 9 | TURBINE | 2150003 | 2150004 | 2150004 |
| 10 | GROUPE PORTE-GICLEUR | 3020047 | --- | --- |
| 10 | GROUPE PORTE-GICLEUR (VERSION BL) | 3020069 | --- | --- |
| 11 | GLICLEUR | 26100.. | 26100.. | 26100.. |
| 12 | PORTE-GICLEUR | 2280032 | 2280006 | 2280006 |
| 13 | FOND | 2010112 | 2010102 | 2010102 |
| 14 | KIT RECHAUFFEUR DANFOSS | --- | --- | --- |
| 15 | CABLE D'ALLUMAGE | 6050119 | 6050122 | 6050122 |
| 16 | ELECTRODE D'ALLUMAGE | 2080232 | --- | --- |
| 17 | Tête DE COMBUSTION | 3060139 | --- | --- |
| 18 | BUSE NORMALE | 30900A2 | --- | --- |
| 18A | BUSE LONGUE | 30900A1 | --- | --- |
| 19 | GARNITURE | 2110027 | --- | --- |
| 20 | BRIDE | 2100025 | --- | --- |
| 21 | PHOTORESISTANCE LANDIS QRB1B | 2510008 | 2510008 | 2510008 |
| 22 | BASE PHOTORESISTANCE | 2030222 | --- | --- |
| 23 | TIROIR MOBILE | 2320012 | 2320012 | 2320012 |
| 24 | TUBE POUR AS47C | 2220113 | 2220125 | 2220125 |
| 24 | TUBE POUR VM1RL2 | 2220145 | 2220146 | 2220146 |
| 24 | TUBE POUR BFP21L3 | 2220113 | 2220125 | 2220125 |
| 25 | VIS DE REGLAGE TETE | 2320011 | 2320011 | 2320011 |
| 26 | BOBINE POUR SUNTEC AS47C | 2580402 | 2580402 | 2580402 |
| 26 | BOBINE POUR DELTA VM1RL2 | 2580406 | 2580406 | 2580406 |
| 26 | BOBINE POUR DANFOSS BFP21L3 | 2580701 | 2580701 | 2580701 |
| 27 | CONNECTEUR POUR SUNTEC AS47C | 6200008 | 6200008 | 6200008 |
| 27 | CONNECTEUR POUR DANFOSS BFP21L3 | 6200009 | 6200009 | 6200009 |
| 28 | POMPE DELTA VM1RL2 | 2590014 | 2590014 | 2590014 |
| 28 | POMPE SUNTEC AS47C | 2590011 | 2590011 | 2590011 |
| 28 | POMPE DANFOSS BFP21L3 | 2590308 | 2590308 | 2590308 |
| 28 | POMPE DELTA VM1RL2-2P (VERSION AVEC VERIN) | 2590019 | 2590019 | 2590019 |
| BRIDE POUR POMPE DELTA | 2690015 | 2690015 | 2690015 | |
| BRIDE POUR POMPE DANFOSS | 2590503 | 2590503 | 2590503 | |
| 29 | FLEXIBLES | 2340001 | 2340001 | 2340001 |
| 30 | FILTRE | 2090001 | 2090001 | 2090001 |
| 31 | TUBE (VERIN - POMPE) | 2220115 | 2220116 | 2220116 |
| 32 | CAPLET D'AIR | 1010704 | 1010002 | 1010002 |
| 34 | BASE PHOTORESISTANCE (VERSION SANS VERIN) | 2030219 | 2030219 | 2030219 |
| 34 | BASE PHOTORESISTANCE (VERSION AVEC VERIN) | 2030227 | 2030220 | 2030220 |
| 35 | ACCOUPLEMENT LP | 2540002 | 2540002 | 2540002 |
| 36 | ACCOUPLEMENT | 2540007 | 2540007 | 2540007 |
| 37 | ACCOUPLEMENT LV | 2540003 | 2540003 | 2540003 |
| 38 | VERIN HYDRAULIQUE | 2330010 | 2330015 | 2330015 |
| 39 | ELECTRODE D'ALLUMAGE | --- | 2080203 | 2080203 |
| 40 | BRIDE | --- | 2100007 | 2100011 |
| 41 | GARNITURE | --- | 2110031 | 2110031 |
| 42 | BUSE | --- | 3090005 | 3090006 |
| 42 | BUSE LONGUE | --- | 3090008 | 3090009 |
| 43 | Tête DE COMBUSTION | --- | 3060102 | 3060103 |
| 44 | GROUPE PORTE-GLICEUR | --- | 3020016 | 3020016 |
| 44 | GROUPE PORTE-GLICEUR LONGUE | --- | 3020020 | 3020020 |
APPENDICE: CHARACTERISTIQUES DES COMPOSANTS
COFFRET DE SECURITE POUR BRULEURS FIOUL LANDIS LOA24 23
POMPE DELTA TYPE VM 25
POMPE SUNTEC TYPE AS 47-57-67 26
INSTRUCTIONS POUR L'EMPLOI ET LA MANUTENTION DES POMPES POUR LE COMBUSTIBLE 27
COFFRET DE SECURITE POUR BRULEURS FIOL LANDIS LOA24
Emploi
Les coffrets de sécurité de la série LOA... sont destinés - associés aux cellules photoresistantes QRB... à la mise en service et à la surveillance du giclure automatique des brûleurs fioul à air soufflé de puissance réduite, d'un début de 30kg / h maxi conformément aux normes DIN 4787.
La mise en service peut être effectue -selon le raccordement electrique- avec ou sans post-allumage et pour un fonctionnement à 1 ou 2 allures.
Pour les brûleurs de générateurs à air chaud (WLE selon DIN 4794), utiliser LOA 44.
Exécution des coffrets
Les coffrets sont embrochables et peuvent être montés en toute position: sur le brûleur, sur le tableau électrique ou le tableau de commande. Leur boîtier en matière plastique résistant aux chocs et à la chaleur contient:
-
le programmateur thermique qui agit sur un système de commande à commutation multiple, avec compensation de la température ambiente
-
l'amplificateur du signal de flamme avec le relais de flamme - le voyant de signalisation de mise en sécurité et le bouton de déverrouillage (étanche).
Le socle embrochable, également en matière plastique résistant aux chocs et à la chaleur, comprend plus de 12 bornes de connexion:
- 3 bornes de neutre, précablées à la borne 2
- 4 bornes de mise à la terre pour la mise à la terre du brûleur
- 2 bornes - reliais numéroétés «31» et «32»,
Le socle est doté sur le fond de deux ouvertures défonçables pour le passage des cables; 5 autres ouvertures défonçables avec raccord filtré pour passée-câble PG11 ou 3/4 UNP pour douilles non metalliques sont situées sur le support de presseétoupe amovible (une de chaque côté et 3 sur la partie frontale).
De chaque côté du socle se trouvent deux languettes élastiques pour fixer le coffret. Pour le démontage, il suffit d'exercer une légère pression à l'aide d'un tournevis dans la fente de guidage.
Les dimensions de la base du socle correspondent exactement aux dimensions du socle LAB/LAI. Restent inchangées: la position et le diamètre du bouton de déverrouillage, des deux vis de fixation et de la languette de mise à la terre du brûleur.
Sécurité aux basses tensions
Les coffrets possèdent un circuit électronique particulier: lors de tensions < 165 ils bloquent le déclenchement du brûleur ou bien -sans libérer le combustible- ils commandant la mise en sécurité.

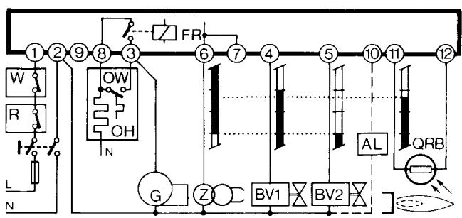
Connexion et diagramme du programme
Pour effectuer correctement la connexion, il est indispensable de se conformer rigoureusement aux normes locales et aux instructions de montage et de mise en service du brûleur imparties par le constructeur.
Légende programme

Signaux de sortie de l'appareil
Signaux nécessaires à l'entrée
A' Début mise en route pour brûleurs avec réchauffeur de fioul «OH»
A Début mise en route pour brûleurs sans réchauffeur de fioul
B Présence de flamme
C Fonctionnement normal
D Arré de réglage au moyen de «R»
tw Temps de préchauffage du fioul jusqu'à l'ordre de mise en service au moyen du contact «OW»
t1 Temps de prévention
t3 Temps de préallumage
t2 Temps de sécurité
t3n Temps de post-allumage
t4 intervalle entre la presence de la flamme et le branchement de la 2^ vanne à la borne 5.
Scheme interne
AL Alarme optique
BV Vanne combustible
EK bouton de déverrouillage
FR Relais de flamme
fr Contacts relais de flamme
FS Signal de presence flamme
G Moteur du bruleur
K Loquet du relais de flamme pour ouvrir le contact en cas de signal de flamme prematurée ou pour le fermer en cas de signal de flamme correct
OH Réchauffeur du fioul
OW Contact d'autorisation au fonctionnement
QRB Cellule photorésistante (décteur de flamme)
R Thermostat ou pressostat
TZ Programmateur thermoélectrique (systeme à bimétal)
tz Contacts du «TZ»
V Amplificateur du signal de flamme
Z Transformateur d'allumage
Ces apparèils sont des dispositifs de sécurité!
Toute manipulation peut avoir des conséquences imprévisibles!
Ne jamais les ouvrir!

\section*{Caracteristiques techniques}
Tension
220V - 15%... 240V + 10% ou bien
100V - 15%... 110V +10%
50...60 Hz, ±6%
10A maxi, action lente
Fréquence
Fusible externe
Charge des contacts
-borne 1
-borne 3
5A
5A (y compris consommation du moteur et du rechauffeur de fioul)
Charge des bornes
-bornes 4,5 et 10
-bornes6et7
-bornes8
Consummation
Protection
Température admissible
-
fonctionnement
-
transport et stockage
Position de montage
Poids
coffret
socle
accessoires AGK...
1A
2A
5A
3VA environ
IP40
-20...+60°C
-50...+60°C
toute position
180g
80g
12g
Commandes en cas de dysfonctionnement Lumière parasite/allumage anticipé
Durant le temps de préventilation et/ou de préallumage, il ne doit y avoiraucun signal de flamme. Le signal de flamme pourrait apparraître en raison d'un allumage anticipé du à uneuite de l'électrovanne,d'un éclairage externe,d'un court-circuit dans la cellule photorésistante ou dans le cable de connexion,d'un défaut de I' amplificateur du signal de flamme,etc..En ce cas,une fois les temps de ventilation et de sécurité écoules,le coffret commande la mise en sécurité du brûleur et empêche la libération du combustible.
Absence de flamme
En cas d'absence de flamme à la fin du temps de sécurité, l'appareil commande immédiatement la mise en sécurité.
Absence de flamme pendant le fonctionnement
En cas d'absence de flamme durant le fonctionnement, le coffret coupe l'alimentation en combustible et déclenché automatiquement un nouveau programme de mise en route: le temps «t4» écoulé, le programme de mise en route est terminé.
A chaque mise en sécurité, les bornes 3-8 et 11 sont mises hors tension en moins d'une seconde; la borne 10 signale à distance la mise en sécurité. Le déverrouillage du coffret est possible environ 50 s après la mise en sécurité.

POMPE DELTA TYPE VM
Dans la pompe Delta de la série VM, le flux de fuel pressurisé est intercepté par une vanne électromagnétique incorporeée. Il peut donc être libéré après la mise en route du moteur (prévention) ou interrompu avant l'arrêt du moteur (la flamme s'éteint instantanément mais le giclaur ne goutte pas). La pression du fuel est réglée et maintainue constante par la vanne à piston qui agit sur l'ouverture d'un orifice de décharge, l'exçédant de fuel contenu dans le giclaur étant renvoyé au réservoir (installation à deux tubes) ou réintroduit en aspiration à travers un trou ou by-pass (installation monotube).
Les deux versions -à un ou deux tubes- de ce modèle sont autoamorcables. Il est always recommended d'installer un filtré externe de ligne.
Tous les modèles fournis dans la version à deux tubes peuvent être employés dans les installations monotube: il suffit de retarder la vis sans tête en nylon et de fermer le canal de retard.
DONNES TECHNIQUES
| Viscosité de l'huile | 2 ÷ 50 cSt (1,1 ÷ 6,5°E) |
| Température de l'huile | 60°C (140°F) max. |
| Puisance absorbée | Voir graphiques |
| Débit giclaur | Voir graphiques |
| Vide en aspiration | 0,5 bar (15 inHg) max. |
| Pression en aspiration | 0,7 bar (10 psi) max. |
| Pression de retour | 1,5 bar (21 psi) max. |
| Pression de blocage | 4 bar |
| Vitesse de rotation | 3500 t/min max. |
| Filtre | Toile en nylon 150 m, 20 cm² |
| Sur option: acier inox 110m, 65 cm² | |
| Dimensions | Moyeu f 32 mm, arbre f 8 mm |
| Sur option: flange moyeu f 54 mm | |
| Sur option: 7/16" arbre | |
| Raccords | Aspiration - Retour: G1/4" |
| Refoulement giclaur : G1/8" | |
| Pression - Vide: G1/8" | |
| Poids | 1100 gr |

INSTALLATION BITUBE

INSTALLATION MONOTUBE
Legendre
1 Regulateur pression
2 Engrenages
3 Etancheite arbre
4 Bouchon de dérivation monté
5 Retour
6 Aspiration
7 Prise vacuometre
8 Prise manometre
9 Gicleur
Legendre
1 Regulateur pressure
2 Engrenages
3 Etancheite arbre
4 Bouchon de déivation retire
5 Retour
6 Aspiration
7 Prise vacuometre
8 Prise manometre
9 Gicleur
POMPE SUNTEC TYPE AS 47-57-67
L'engrenage aspire le fioul du réservoir à travers le filtr de la pompe et le transfere au piston qui assure la regulation de la pression pour la ligne gicleur. Le fioul non utilise par le gicleur est renvoyé, dans une installation bitube, vers le retour, par le régulateur de pression. Dans le cas d'une installation monotube, ce fioul en excès est renvoyé directement à l'engrenage au niveau de l'aspiration. Dans ce cas, le bouchon de dérivation situé dans l'orifice de retour devra être retire et l'orifice de retour obturé par un bouchon métallique et une rondelle détanchée.
L'électrovanne de la pompe AS est du type "normalement ouverte". Lorsque l'électrovanne est hors tension, le canal de déivation entre le côte pression du piston et le retour est ouvert, il n'est pas possible de creer une pression capable de faire fonctionner le piston du régulateur. La vitesse de rotation de l'engrenage n'a alors aucune influence. Lorsque l'électrovanne est sous tension, le canal de déivation est fermé : le retour ne communique plus avec le côte pression ; la pleine vitesse de rotation de l'engrenage étant atteinte, la pression monte très rapidement assurant une ouverture immédiate du piston.
Coupure
A l'arrêt du brûleur, l'électrovanne s'ouvre, rétablissant la circulation entre le côte pression et le retour. Ce système établit une coupure nette et immédiate. L'ouverture et la coupure peuvent être commandées indépendamment de la vitesse du moteur.
Lorsque I'electrovanne n'est pas excitee, le couple d'entrainement demande au moteur reste faible, meme a pleine vitesse.
Purge
Pour une installation bitube, la purge est automatique; elle pourra ete accelere en ouvrant une prise de pression. Pour une installation monotube, il sera necessaire d'ouvir une prise de pression pour purger le système.
Généralités
| Montage | Par bride ou pincement du moyeu selon la norme EN 225. | Tension | 220-240 ou 110-120 ou 24 V; 50/60 Hz |
| Raccordements | cylindriques selon ISO 228/1 | Consommation | 9 VA (pour une tension de 220 ou 110 ou 24 V) |
| Aspiration et retour | G 1/4 (avec étanchéité directe sur cône, sans raccord, pour les modèles révision 5) | Température ambiente | 0 - 60°C |
| Pression maximum | 15 bar | ||
| Fonction de la vanne Régulation de la pression et coupure* à piston* la fonction de coupure n'est assurée que pour la gamme de pression spécifique du modèle. | Approbation N° | Certification TÜV indiqué sur la pompe | |
| Protection | IP 41 - selon IEC 529 - pour utilisation avec un connecteur SUNTEC. | ||
| Filtre surface ouverte: | 4 cm² - taille de la maille: 150 μm | ||
Arbre
Bouchon de dérivation monté dans l'orifice de return pour raccordement bitube; à retarder avec une clé Allen de 4 mm pour raccordement monotube.
Poids
1,1- 1,5 kg (selon le modele)
\section*{Caracteristiques hydrauliques}
| Engrenage | Gamme de pression* / Pression de livraison |
| 47/57 | 7- 14 bar / 9 bar |
| 67 | 10 - 15 bar / 10 bar |
- autres gamas disponibles sur demande, se référer à la plage de pression du modele concerné.
Viscosité
2 - 12 mm²/s (cSt)
Température du fioul
0 - 60°C dans la pompe.
Pression d'arrivée
2 bar max.
Pression de return
2 bar max.
Hauteur d'aspiration
0,45 bar max. de vide pour éviter le dégazage du fioul.
Vitesse de rotation
3600 t/min maxi. (AS 47, AS 57) - 2850 t/min maxi. (AS 67)
*Couple (à 45 t/mini.)
A Electrovanne fermée (NO)
B Electrovanne ouverte
C Retour fermée
1 Electrovanne
2 Vanne de régulation de pression
3 Réglage de la pression
4 Vers le giclaur
5 Prise manometre
6 Purgeur
7 Joint d'étanchéité de l'abre
8 Prise vacuometre
9 Bouchon de derivation "P"
10 Train d'engrenages
11 Arrivée
12 Retour
13 Retour à l'aspiration
14 Arrivée
15 Vers joint de I'abre et vers retour

X Fioul en aspiration
Y Fioul sous pression
Z Retour du fioul non utilisé au réservoir ou à l'aspiration
INSTRUCTIONS POUR L'EMPLOI ET LA MANUTENTION DES POMPES POUR LE COMBUSTIBLE
- Si l'installation est monotube priere de vérifier qu'a l'intérieur du trou de return n'y soit pas presente la douille by-pass. Dans ce cas-la la pompe ne marcherait pas correctement et elle pourrait s'abimer.
- Ne pas ajouter des substances au combustible afin d'éviter la formation de composés qui avec le temps, pourrait se déposer entre les dents de l'engrenage et ainsi créé un blocage.
- Une fois la citerne remlie, attendre avant de demarrer le bruleur. Cela donne le temps aux eventuelles saletés en suspension de se poser au fond et de ne pas'être ainsi inspirées par la pompe.
- Quand la pompe est mise en marche pour la première fois et il se prévoit un fonctionnement à sec pour un temps considérable (par exemple à cause d'une longue conduite d'aspiration), injector de l'huile lubrifiant par la prise à vide.
- Pendant la fixation de l'arbre moteur de la pompe faire attention à ne pas l'obliger en sens axial ou l'etalafin d'éviter des usures excessives du joint, bruit et surcharges d'effort sur l'engrenage.
- Les tubes ne doivent pas contérer de l'air. Pour cette raison éviter les raccords rapides utilisant préfériblement des raccords filétés ou avec étanchéité mécanique. Sceller avec un produit convenablement démontable les filetages des raccords, les couds et les jonctions. Limiter au nombre minimal les connexions parce qu'elles sont toutes des sources potentielles de perte.
- Eviter l'utilisation de Teflon dans les connexions des flexibles d'aspiration, de return et départ afin d'éviter une possible mise en circulation des parts qui se déposeraient sur les filtres de la pompe et du giclér en limitant l'efficacité. Donner priorité aux raccordements avec OR ou avec tenue mécanique (à ogive ou avec rondelles en cuivre ou aluminium).
- Afin d'assurer le fonctionnement sans soucis de la pompe il est conseilé de nettoyer le filtrre au moins une fois par an. L'enlèvement du filtrre se fait en influvant le couvercle, en dévissant les quatre vis avec une clé à six pans
- Pendant le montage faire attention que les pieds de soutien du filtre regardent vers le corps de la pompe. Si possible remplaçer le joint du couvercle. Toujours prévoir un filtre extérieur dans la tuyauterie d'aspiration avant la pompe.
Attention:
Déconnecter l'alimentation avant d'exécuter n'importe qu'elle opération sur l'installation. Avant le démarrage du système s'assurer que la chambre de combustion soit vide de combustible dispersé ou de ses vapeurs.

CIB UNIGAS
Via C. Colombo, 9 - 35011 Campodarsego (PD) Italy
Tel. +39-049-9200944 - Fax +39-049-9200945/9201269
Internet: www.cibunigas.it - E mail: cibunigas@cibunigas.it
Notice Facile