KIT PRO 900 - Système de sécurité SENTINEL SCS - Notice d'utilisation et mode d'emploi gratuit

Retrouvez gratuitement la notice de l'appareil KIT PRO 900 SENTINEL SCS au format PDF.

📄 18 pages Français FR 💬 Question IA 7 questions ⚙️ Specs
Notice SENTINEL SCS KIT PRO 900 - page 1
Intitulé Valeur / Description
Type de produit Kit de contrôle de sécurité SENTINEL SCS PRO 900
Caractéristiques techniques principales Système de surveillance et de contrôle pour installations de chauffage et de plomberie
Alimentation électrique 230 V AC
Dimensions approximatives Dimensions compactes adaptées à une installation facile
Poids Poids léger pour une manipulation aisée
Compatibilités Compatible avec divers systèmes de chauffage et de plomberie
Type de batterie Non applicable (fonctionne sur secteur)
Tension 230 V
Puissance Consommation énergétique optimisée
Fonctions principales Surveillance des systèmes, alertes de sécurité, contrôle à distance
Entretien et nettoyage Vérification régulière des connexions et nettoyage des composants externes
Pièces détachées et réparabilité Disponibilité de pièces de rechange pour maintenance
Sécurité Certifications de sécurité conformes aux normes en vigueur
Informations générales utiles Consulter le manuel d'utilisation pour une installation et une utilisation optimales

FOIRE AUX QUESTIONS - KIT PRO 900 SENTINEL SCS

Comment configurer le SENTINEL SCS KIT PRO 900 pour la première fois?
Pour configurer le SENTINEL SCS KIT PRO 900, suivez les instructions du manuel d'utilisation pour connecter l'appareil à votre réseau Wi-Fi et créer un compte utilisateur. Assurez-vous que l'appareil est chargé et à portée de votre routeur.
Que faire si le SENTINEL SCS ne se connecte pas à mon réseau Wi-Fi?
Vérifiez que le mot de passe Wi-Fi est correct et que le routeur fonctionne. Assurez-vous également que le SENTINEL SCS est à portée du signal Wi-Fi. Si le problème persiste, redémarrez l'appareil et le routeur.
Comment réinitialiser le SENTINEL SCS en cas de problème?
Pour réinitialiser le SENTINEL SCS, localisez le bouton de réinitialisation sur l'appareil et maintenez-le enfoncé pendant environ 10 secondes jusqu'à ce que le voyant clignote. Cela rétablira les paramètres d'usine.
Le SENTINEL SCS émet un bip constant, que cela signifie-t-il?
Un bip constant indique généralement un problème de connexion ou une alerte de batterie faible. Vérifiez la connexion réseau et assurez-vous que la batterie est suffisamment chargée.
Comment mettre à jour le firmware du SENTINEL SCS?
Pour mettre à jour le firmware, ouvrez l'application associée, allez dans les paramètres et recherchez les mises à jour disponibles. Suivez les instructions à l'écran pour installer la dernière version du firmware.
Puis-je utiliser le SENTINEL SCS à l'extérieur?
Oui, le SENTINEL SCS est conçu pour une utilisation en extérieur, mais assurez-vous qu'il est protégé des intempéries extrêmes et installé dans un endroit approprié.
Comment puis-je contacter le support technique si j'ai besoin d'aide?
Vous pouvez contacter le support technique via le site web de SENTINEL ou en appelant le numéro de support indiqué dans le manuel d'utilisation. Assurez-vous d'avoir votre numéro de série à portée de main.

Questions des utilisateurs sur KIT PRO 900 SENTINEL SCS

0 question sur cet appareil. Repondez a celles que vous connaissez ou posez la votre.

Poser une nouvelle question sur cet appareil

L'email reste privé : il sert seulement à vous prévenir si quelqu'un répond à votre question.

Aucune question pour l'instant. Soyez le premier à en poser une.

Téléchargez la notice de votre Système de sécurité au format PDF gratuitement ! Retrouvez votre notice KIT PRO 900 - SENTINEL SCS et reprennez votre appareil électronique en main. Sur cette page sont publiés tous les documents nécessaires à l'utilisation de votre appareil KIT PRO 900 de la marque SENTINEL SCS.

MODE D'EMPLOI KIT PRO 900 SENTINEL SCS

Cette notice fait partie intégrante du produit. Elle devra être fournie au client qui la considérera comme étant essentielle. Lire attentivement les averissements contenus dans ce paragraphe. Ils constituent des indications importantes quant à la sécurité de l'installation, de l'emploi et de l'entretien. Conserver soigneusement cette notice, en vue de toute consultation ultérieure.

AVERTISSEMENT POUR L'INSTALLATION

L'installation, les raccordements electriques et les réglages doivent être effectuels conformément à la pratique courante et aux normes en vigueur, selon les instructions reportées ci-dessous et par du personnel qualifié. Avant de commencer l'installation du produit, dire attentivement les indications containues dans cette notice. Une installation erronée est susceptible de provoquer des dommages aux personnes, aux animaux et aux biens dont SCS SENTINEL ne peut être tenu responsable. Avant de raccorder l'appareil, s'assurer que les données qui sont indiquées sur la plaque correspondant à celles du réseau electrique. Ne pas installer le produit dans un milieu explosif : la présence de gaz ou de fumées inflammbables représentent un grave danger pour la sécurité.

Les emballages ne doivent pas etre jetes dans I'environnement ni laisses a la portee des enfants, car ils representent de potentielles sources de danger.

Avant de commencer l'installation, s'assurer que le produit est en bon état. Avant d'installer l'automatism, apporter toutes les modifications de structure concernant la réalisation des espaces de sécurité ainsi que la protection et/ou la séparation de toutes les zones de cisaillement, d'entrainment, d'écrasement et de danger en général. Veiller à ce que la structure existante présente les caractéristiques de robustesse et de stabilité requisés. SCS SENTINEL ne peut être tenu responsable de l'inobservation des normes de pratique courante concernant la fabrication des portes et des portails à motoriser, ni des déformations qui pouraient se produit pendant l'utilisation. Chaque installation doit porter une pancarte, étiquette ou autre indiquant les données d'identification du produit ainsi que le présence eventuelle de commandes automatiques à distance.

Lors de l'installation, il est nécessaire de munir le système d'un interrupteur omnipolaire ayant une ouverteure des contacts égale ou supérieure à 3 mm.

S'assurer qu'un interrupteur différentiel avec seul de 0,03A a ete installe en amont de l'installation electrique. Raccorder I'automisme au secteur conformement aux normes de securite en vigeur. SCS SENTINEL decline toute responsabilité concernant la securite et le bon fonctionnement de I'automisme au cas ou les pieces utilisées dans I'installation ne correspondraient pas a celles qui sont expressement prevues par le fabricant.

AVERTISSEMENT POUR L'UTILISATION

Ce produit ne peut etre utilise que pour ce a quoit il est'expressement prevu. Toute autre utilisation doitetre consideree comme etant impropre et donc dangereuse.

SCS SENTINEL ne peut être tenu responsable pour tout dommage d'à une utilisation impropre, erronée ou déraisonnable. L'insextat de l'installateur devra fournir tous les renseignements concernant le fonctionnement manuel du système en cas d'urgence et remettre son mode d'emploi à l'utiliser de l'installation. Eviter de travailler à proximate des charnières ou des pièces mécaniques mobiles qui risquent d'engendrier des situations de danger, à cause de la facilité avec laquelle elles peuvent happer des parties du corps ou des vêtements et de la difficulté de se libérer de leur prise. Ne pas entraient dans le rayon d'action de la porte ou du portail automatique lorsqu'il/elle est mobile; attendre qu'il/elle se soit arrêté(e) complètement. Ne pas tenter de bloquer le mouvement de la porte ou du portail automatique car il peut impliquer des situations dangereuses. Ne pas laisser les enfants jouer ou rester à proximate de la porte ou du portail automatique. Ne pas laisser les enfants jouer avec les radiocommandes et/ou tout autre dispositif de commande, afin d'éviter que l'automatisation ne puisse être actionné involontairement.

AVERTISSEMENT POUR L'ENTRETIEN ET LA REPARATION

En cas de panne et/ou de mauvais fonctionnement du produit, l'eteindre et s'abstenir d'effectuer toute réparation ou toute intervention qu'elle qu'elle soit. Ne s'adresser qu'à du personnel qualifié.

L'inobservation de ce qui est mentionné ci-dessus peut provoquer des situations de danger. Avant d'effectuer toute opération d'entretien, de nettoyage ou de réparation qu'elle qu'elle soit, déconnecter l'automatism du réseau d'alimentation électrique et des batteries de secours eventuelles.

Pour garantir l'efficacité et le bon fonctionnement de l'installation, il est indispensable de respecter les instructions du fabricant et de confier l'entretien périodique de l'automatism à du personnel spécialisé. En particulier, il est indispensable que ce personnel s'assure régulièrement que tous les dispositifs de détction fonctionnement correctement. Pour les opérations de réparation ou de remplacement évientuel, il faudra utiliser uniquement les pieces d'origine prévues par le fabricant.

Toute modification ou adjonction à une installation existante devra être apportée selon les indications fournies par le fabricant, et ce en utilisant les pieces d'origine prévues. Les opérations d'installation, d'entretien et de réparation devront être enregistrées sur une fiche d'entretien, qui devra être gardée par l'utilisateur.

Besoin d'assistance

Placez-vous devant votre installation et contactez-nous

de 9H à 12H00 et de 14H à 18H

Du Lundi au Samedi au 0892 350 185 (0,34 € TTC la minute)

Comment mettre en place votre kit PRO 900

1 Déballer le kit et vérifier que toutes les pieces sont prsentes - page 4 -
2 Dessiner votre installation et définir son schéma de câblage - page 5 -
3 Choisir l'emplacement des moteurs et fixer les plaques de soutien - page 6 -
4 Fixer les moteurs à ces plaques de soutien et fixer les bras sur le portail - page 7 -
5 Fixervoireboitierelectroniqueaunpilier -page8-
6 Effectuer les branchements electriques - page 9, 10,11 et 12 -
7 Régler la course de votre portail - page 13 -
8 Apprendeltes telecommandes - page 14
9 Choisir le mode de fonctionnement de votre automatisme - page 15 -

Données techniques du moteur

Mateur12V type vis sans fin
Longueur maximum de chaque battant2,00 m
Poids maximum de chaque battant175kg
Tension d'alimentation12 Volts
Puisance52 Watt's
Absorption4,5 Ampères
Classe moteurB
Couple moteur200 N/m
Température de travailDe –20°C +60°C
Nombre de cycles maximum/jour100

Besoins d'assistance
Placez-vous devant votre installation et contactez-nous de 9H à 12H00 et de 14H à 18H
Du Lundi au Samedi au 0892 350 185 (0,34 € TTC la minute)

Composition du kit PRO 900

1

2 opérateurs à vis sans fin 12 volts avec pieces de fixaton pilier et vantaux

SENTINEL SCS KIT PRO 900 - 1 - 1

2

1 boitier electronique
compronant 1 platine
electronique,un
transformateur et la
visserie de
fermeture.

SENTINEL SCS KIT PRO 900 - 2 - 1

3

1 feu clignotant 12 Volts avec fixation murale horizontale et/ou verticale. Cable non fournie.

SENTINEL SCS KIT PRO 900 - 3 - 1

4

2
telecommandes
4 canaux
rolling code.

SENTINEL SCS KIT PRO 900 - 4 - 1

SENTINEL SCS KIT PRO 900 - 4 - 2

5

1
antenne

SENTINEL SCS KIT PRO 900 - 5 - 1

6

1 clavier de commande sans fil

SENTINEL SCS KIT PRO 900 - 6 - 1

7

1 jeu de 2 photocellules

SENTINEL SCS KIT PRO 900 - 7 - 1

SENTINEL SCS KIT PRO 900 - 7 - 2

ATTENTION

Le kit PRO 900 comprend un jeu de photocellules, un clavier sans fil, une antennne, un feu clignotant et 2 télécommandes.

Si vous decide de rajouter des accessoires, utilisez uniquement ceux de la marque Sentinel 12 Volts disponibles chez Bricodépôt sous peine de perdre la garantie Sentinel.

Visuels de votre installation

SENTINEL SCS KIT PRO 900 - Visuels de votre installation - 1

SENTINEL SCS KIT PRO 900 - Visuels de votre installation - 2

1Boîtier de la platine électronique avec antenne intégrée5Sélecteur à clé. Option. 2 conducteurs de 1 mm2
2Opérateurs 12 Vcc : 2 conducteurs de 2,5 mm26Antenne. Câble coaxial
3Ligne d'alimentation de la platine 220 Volts. 2 conducteurs de 1,5 mm27Emetteur photo cellule. 2 conducteurs de 0,5 mm2
4Clignotant 12 Volts. 2 conducteurs de 1 mm28Emetteur photo cellule. Option.

Installation des motorisations

Conseils: le kit PRO 900 est un système de motorisation autobloquant. De ce fait, les battants de votre portail doivent être équipés de butées laterales et d'une butée centrale. Ces butées permettent d'arrêter le portail en fin de course.

SENTINEL SCS KIT PRO 900 - Installation des motorisations - 1

Attention: Avant de commencer l'installation, oter de votre portail toutes les serrures, gaches non électriques et vérifier que le portail fonctionne librement, sans point dur et sans vibration. Veiller àGRAisser les gonds.

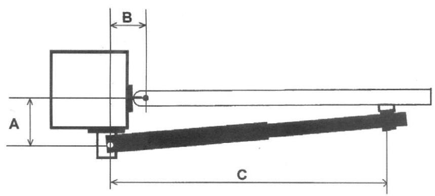
Côtes de fixation

Avant de fixer vos moteurs et en fonction de l'ouverture dont vous avez besoin (en degré : °), calculer le positionnement de vos moteurs sur les piliers et sur le portail.

SENTINEL SCS KIT PRO 900 - Côtes de fixation - 1

A = decalage entre le point de fixation du moteur sur la fixation pilier et le gond du portail.

B = 1 'ecart entre le point de fixation du moteur sur la fixation pilier et l'axe de rotation du portail. c = longueur du moteur

Mesures à respecterInstallation impossible SI :Pour ouverteure à 90°Pour ouverteure à 110°
ASi A inférieur à 85 mm ou supérieur à 175 mmA doit être égal à 170 mmSi A doit être égal à 90 mm
BSi B inférieur à 100 mm ou supérieur à 165 mmB doit être égal à 110 mmB doit être égal à 160 mm
CC doit être égal à 1030 mmC doit être égal à 1030 mm

Pour obtenir une longueur de 1030mm pour C, devisser totallyment la tige du verin. Puis revisser la d'un tour et positionner la bride de fixation dans sa réservation.

Besoins d'assistance
Placez-vous devant votre installation et contactez-nous de 9H à 12H00 et de 14H à 18H
Du Lundi au Samedi au 0892 350 185 (0,34 € TTC la minute)

PARTIE 1 - Installation mécanique

Comment fixer les moteurs

1

Ne pas commencer àencer les piliers ou le portail avant d'avoir imaginé précisé le positionnement des éléments en respectant les côtes de pose décrites page 5.

2

1/ => Fixer l'équerre au mur en utilisant des fixations adaptées à votre pilier.

2I Positionner latérallement la patte de fixation pour respecter les côtes de fixation.

En cas de fixation sur un autre trou que celui situé à l'extrémité de la patte de fixation, couper la patte après le trou utilisé.

3/ => Positionner l'arrête du moteur sur cette patte. Choisisir le trou qui vous fera respecter les côtes de fixation

SENTINEL SCS KIT PRO 900 - Comment fixer les moteurs - 1

3

Dévisser le vérin pour obtenir

la longueur C de 1030 mm. Introduiser la tige du moteur dans la machoire plastique au niveau de sa reservation. Assembler la tige, la machoire et I'équerre comme indiqué.

Positionner l'équerre sur le portail et la fixer auvantail.

Fixer la tige du moteur comme indiqué sur l'image.

NB: LES MOTEURS DOIVENT ÉTRE TOTALEMENT HORIZONTAUX UNE FOIS POSE.

SENTINEL SCS KIT PRO 900 - Comment fixer les moteurs - 2

Besoins d'assistance

  • Placez-vous devant votre installation et contactez-nous.

de 9H à 12H00 et de 14H à 18H

Du Lundi au Samedi au 0892 350 185 (0,34 € TTC la minute)

Comment fixer les moteurs sur des piliers de grandes dimensions

Si la cote A est supérieure à 175 mm (pilier de grande dimension), effectuer une entaille appropriée dans le pilier pour recupérer les côtes A et B indiquées page 5.

SENTINEL SCS KIT PRO 900 - Comment fixer les moteurs sur des piliers de grandes dimensions - 1

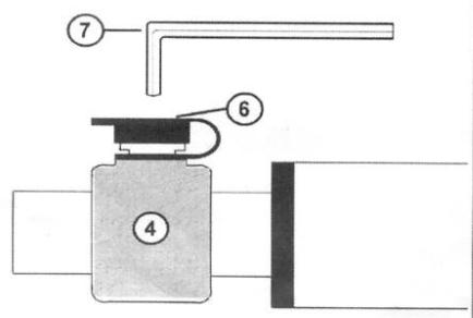
Comment ouvrir manuellement votre portail

Dispositif à utiliser en cas de panne ou de coupure de courant.

enlever le bouchon (6) qui est appliqué sous pression,

insérer la clé (7) dans le trou, la tourner 2 tours dans le sens inverse des aiguilles d'une montre puis effectuer doucement la manoeuvre manuelle.

SENTINEL SCS KIT PRO 900 - Comment ouvrir manuellement votre portail - 1

Rappel pour réussir son installation mécanique

SENTINEL SCS KIT PRO 900 - Rappel pour réussir son installation mécanique - 1

Votre portail doit etre libre de toute serrure ou gache non electrique et doit fonctionner librement sans point dur. Il doit aussi impereativement etre equipe d'une butee centrale et de butee laterales.

Besoins d'assistance

Placez-vous devant votre installation et contactez-nous

de 9H à 12H00 et de 14H à 18H

Du Lundi au Samedi au 0892 350 185 (0,34 € TTC la minute)

Positionner son armoire électrique

1

Ouvrez le coffret
électronique avec l'aide
d'un tournevis
cruciforme.
Öter le transformateur
et toutes les formes
plastiques.

SENTINEL SCS KIT PRO 900 - 1 - 1

2

Oter delicatement la platine electronique. Conserve les dans un endroit sec et abrité.

SENTINEL SCS KIT PRO 900 - 2 - 1

3

Positionner le coffret sur votre pilier à proximé de votre installation.

SENTINEL SCS KIT PRO 900 - 3 - 1

4

Fixer le coffret à l'aide de vis et de chevilles adaptées à votre support (non fournies)

SENTINEL SCS KIT PRO 900 - 4 - 1

5

Faire les trouss pour les passages de cables. Ils doivent imperativement se couver sur la partie la plus proche du sol.

SENTINEL SCS KIT PRO 900 - 5 - 1

6

Faire passer les cables par ces trouss et faire une étanchéité avec du joint silicone ou utiliser des pressesétoupes.

SENTINEL SCS KIT PRO 900 - 6 - 1

ATTENTION

Ne pas enlever le joint du boîtier car il assure son étanchéité.

Bien faire venir tous les fils du bas du boîtier électronique. En aucun cas, 1 fil ne doit venir du haut ou du côte de cette boîte.

Besoins d'assistance

Placez-vous devant votre installation et contactez-nous de 9H à 12H00 et de 14H à 18H

Du Lundi au Samedi au 0892 350 185 (0,34 € TTC la minute)

Effectuer les branchements du kit PRO 900

1

PositionnerVote platine électronique faceàvous.

Oter les borniers detachables et effectuer les branchements comme suit.

SENTINEL SCS KIT PRO 900 - Effectuer les branchements du kit PRO 900 - 1

2 | Effectuer les branchements suivants

SENTINEL SCS KIT PRO 900 - Effectuer les branchements du kit PRO 900 - 2

ATTENTION

Réalizez tous les branchements avec des fils électriques couples.

Vérifiez que les liaisons entre 4/5, 5/6 et 7/8 sont bien en place.

Les branchements indiqués ci-dessus vous permettront de faire fonctionner parfaitement votre

kit PRO 900 si vous n'avezaucun accessoire supplémentaire.

Besoins d'assistance

Placez-vous devant votre installation et contactez-nous

de 9H à 12H00 et de 14H à 18H

Du Lundi au Samedi au 0892 350 185 (0,34 € TTC la minute)

Brancher les accessoires Sentinel

SENTINEL SCS KIT PRO 900 - Brancher les accessoires Sentinel - 1

SENTINEL SCS KIT PRO 900 - Brancher les accessoires Sentinel - 2

Utilisez le schéma ci-dessous avec ces photocellules.

Conserver les branchements initiaux décrits sur la page précédente.

Seule, la liaison entre 5 et 6 est a oter si vous installez les photocellules presentes.

SENTINEL SCS KIT PRO 900 - Brancher les accessoires Sentinel - 3

ATTENTION

N'utiliser que des accessoires Sentinel sous peine de perte de garantie.

Réalizez tous les branchements avec des fils souples.

Eviter tout contact entre la tresse de masse et l'âme centrale du fil d'antenne.

Besoins d'assistance

Placez-vous devant votre installation et contactez-nous

de 9H à 12H00 et de 14H à 18H

Du Lundi au Samedi au 0892 350 185 (0,34 € TTC la minute)

Brancher les accessoires Sentinel

SENTINEL SCS KIT PRO 900 - Brancher les accessoires Sentinel - 1

Utilisez le schéma ci-dessous avec ces photocellules.
Conserver les branchements initiaux décrits sur la page précédente.

Seule, la liaison entre 5 et 6 est a oter si vous installez les photocellules presentées.

SENTINEL SCS KIT PRO 900 - Brancher les accessoires Sentinel - 2

ATTENTION

N'utiliser que des accessoires Sentinel sous peine de perte de garantie.

Réalizez tous les branchements avec des fils souples.

Eviter tout contact entre la tresse de masse et l'âme centrale du fil d'antenne.

Besoins d'assistance

Placez-vous devant votre installation et contactez-nous

de 9H à 12H00 et de 14H à 18H

Du Lundi au Samedi au 0892 350 185 (0,34 € TTC la minute)

Connector votre installation

1 Remetre en place les borniers detachables sur les detrompeurs.

2 Positionner la carte électronique au sein du coffret les boutons diriges vers le transformateur.

SENTINEL SCS KIT PRO 900 - Connector votre installation - 1

SENTINEL SCS KIT PRO 900 - Connector votre installation - 2

3

Brancher le fil rouge du transformateur sur FS2

et

le fil noir du transformateur sur FS1

SENTINEL SCS KIT PRO 900 - Connector votre installation - 3

4

Vérifier le bon

positionnement de JP2

figure 1)

Puis

Brancher les fils marron

et bleu sur le porte

fusible

puis

Relier le 230 Volts sur le

porte fusible

(figure 2)

SENTINEL SCS KIT PRO 900 - Connector votre installation - 4

SENTINEL SCS KIT PRO 900 - Connector votre installation - 5

ATTENTION

N'effectuer le branchement sur le 220 Volts que lorsque tous les autres branchements sont effectués et que la platine électronique est mise en place.

ATTENTION

Vouspouvezbrancher une batterie additionnelle 12 Volts sur FS3 et FS4.

Surtout respectez les polarités sous peine d'endommager gravement la platine électronique.

L'apprentissage de la course du système

CETTE MANIPULATON VOUS DEMANDE D'APPUER 8 FOIS SUCCESSIVEMENT SUR P2

1Portail fermé et moteurs embrayés, presser 3 secondes sur P2. DL1 clignote et les vantaux s'ouvrent lentement.Butée centrale Vantail 1 Vantail 2 Butée lateral
2Dès que les 2 battants sont contre les butées latérales, Appuyer sur P2.
3Appuyer sur P2 pour que le premier vantage se reférme à vitesse normale.
4Dès que le premier vantage a fait une course de 30 CM, appuyer sur P2 Cette action va faire démarrer le déxième vantage.
51 mètre avant la fermeture du premier vantage, appuyer sur P2. Cela fera démarrer la phase de ralentissement du premier moteur.
61 mètre avant la fermeture du second vantage, appuyer sur P2. Cela fera démarrer la phase de ralentissement du second moteur.
7Dès que le premier vantage est refermé, appuyer sur P2. Le premier moteur s'arrête.
8Dès que le second vantage est refermé, appuyer sur P2. Le second moteur s'arrête.

Les télécommandes

OUVERTURE 2 BATTANTS

1 Prendre 1 télécommande, se rendre face à l'installation et repérer le bouton P1 et le voirant DL1.
2 Appuyer sur P1. Le voyant DL1 s'allume, s'eteint et se rallume.
3 Pendant que DL1 s'est rallumée, appuyer sur la touche 1 de votre télécommande.
4 En appuyant sur la touche 1 de votre télécommande, le voyant DL1 s'eteint.

Votre télécommande est programmée. En appuyant sur le bouton de la télécommande que vous venez d'utiliser, vous ouvrirez et fermerez les 2 battants du portails.

OUVERTURE 1 BATTANT - PASSAGE PIETON

1 Appuyer sur P1. Levoyant DL1 s'allume et s'eteind.
2 Pendant que DL1 est eteinte, appuyer une deuxieme fois sur la touche P1. le voyant s'allume, s'teind puis se rallume.
3 Appuyer sur la touche 2 de votre télécommande, le voyant DL1 s'eteint. Notre télécommande est programmée. En appuyant sur le bouton de la télécommande que vous venez d'utiliser, vous ouvrirez et fermerez 1 battant de votre portail.

SENTINEL SCS KIT PRO 900 - OUVERTURE 1 BATTANT - PASSAGE PIETON - 1

SENTINEL SCS KIT PRO 900 - OUVERTURE 1 BATTANT - PASSAGE PIETON - 2

ATTENTION

Le paramétrage des télécommandes ne suffit pas pour faire fonctionner correctement le système. Il vous faut impérativement effectuer "L'APPRENTISSAGE DE LA COURSE DU PORTAIL" page 13

Besoins d'assistance

Placez-vous devant votre installation et contactez-nous

de 9H à 12H00 et de 14H à 18H

Du Lundi au Samedi au 0892 350 185 (0,34 € TTC la minute)

Programmation de la carte électronique

Placer toujours le portail en position fermé avant toute programmation ou réglage

1

SENTINEL SCS KIT PRO 900 - Placer toujours le portail en position fermé avant toute programmation ou réglage - 1

SENTINEL SCS KIT PRO 900 - Placer toujours le portail en position fermé avant toute programmation ou réglage - 2

Pour activer le mode PAS à PAS, positionner les dip switch 1 et 2 sur OFF.
1 appui sur la télécommande ouvre le portail,
1 appui sur la télécommande ferme le portail.

2

SENTINEL SCS KIT PRO 900 - Placer toujours le portail en position fermé avant toute programmation ou réglage - 3

SENTINEL SCS KIT PRO 900 - Placer toujours le portail en position fermé avant toute programmation ou réglage - 4

Pour activer le mode AUTOMATIQUE, positionner le dip switch 1 sur OFF, 2 sur ON. 1 appui sur la télécommande ouvre le portail, les battants arrivent en ouverture et le décompte du temps de pause commence. Àpres ce délambda, les vantaux se refermeront. ATTENTION : PHOTOCELLULES OBLIGATOIRES POUR CE MODE

3

SENTINEL SCS KIT PRO 900 - Placer toujours le portail en position fermé avant toute programmation ou réglage - 5

SENTINEL SCS KIT PRO 900 - Placer toujours le portail en position fermé avant toute programmation ou réglage - 6

Pour activer le mode COPROPRIETE, positionner le dip switch 1 sur ON, 2 sur OFF. 1 appui sur la télécommande ouvre le portail. ATTENTION: PHOTOCELLULES OBLIGATOIRES POUR CE MODE 1 deuxième appui sur la télécommande durant la phase d'ouverture ne stoppera pas le portail

5

SENTINEL SCS KIT PRO 900 - Placer toujours le portail en position fermé avant toute programmation ou réglage - 7

4

SENTINEL SCS KIT PRO 900 - Placer toujours le portail en position fermé avant toute programmation ou réglage - 8

Si vous portail ne dispose que d'1 seul battant, positionner le dip switch 3 sur ON

Activation du COUP DE BELIER.
Cette fonction est à activer uniquement lorsque vous avez installé une SERRURE ELECTRIQUE sur votre portail.

6

SENTINEL SCS KIT PRO 900 - Placer toujours le portail en position fermé avant toute programmation ou réglage - 9

Mettre le Dip switch 5 sur ON
fera demarrer les battants en même temps à l'ouverture et à la fermeture.

DIVERS

1 Réglage du temps de pause pour les modes AUTOMATIQUE.

Maintenir l'appui sur le bouton P3 jusqu'à l'illumage fixe du voyant DL1. Relâcher la touche et laisser s'écouler les temps de pause désiré (maximum 128 secondes), ensuite presser de nouveau sur le bouton P3.

2 Comment effacer de la programmation les telecommandes

Maintenir l'appui sur P1 jusqu'à ce que levoyant DL1 s'éteigne (environ 10 secondes).Toutes les télécommandes seront déprogrammées.

3 | Mon feu clignotant s'allume parfois sans raison apparente

En cas de micro-coupures de courant sur votre réseau local, le système électronique du PRO 900 effectue automatiquement un contrôle du bon fonctionnement des différents éléments signalé par un clignotement. Cela est sans incidence sur le bon fonctionnement de votre automatisme et ne fait pas perdre les régages initiaux.

RESOLUTION DES ANOMALIES

1 | Rien ne se passé lorsque l'on active une commande d'ouverture

Vérifier l'alimentation. Les leds DL5 (rouge), DL6 (rouge) et DL7 (jaune) doivent être allumés. Vérifier les fusions de la platine électronique. Contrôler les branchements vers les moteurs.

2 La led DL2 est eteinte

Contrer l'arrive du courant secteur 230 Volts et la sortie 12 Volts du transformateur. Contrer les fusibles.

3 | Les moteurs ne travaillent pas dans le même sens. L'un s'ouvre et l'autre se ferme

Inverser le branchement des fils du moteur qui se ferme. Refermer manuellement le portail et refaire une programmation de la course.

4 | Le ou les battants ne s'ouvrent pas suffisamment.

Vérifier les côtes de pose. Si, elles sont respectées, elles vousdonneront obligatoirement l'ouverture désirée. Une utilisation en dehors des côtes prévues vous fait perdre toute garantie.

5 | Le portail a des mouvements irréguliers.

Réparer ou renforcer les fixations des piliers ou du portail.

6 La portée des télécommandes est insuffisante.

Vérifier la connexion de l'antenne. Changer les piles de la télécommande.

Les portées des télécommandes peuvent être fortement réduites par les pare-brise des vehicules.

Si vous installation ne compte pas d'antenne, rajoutez-en une, elle augmentera sensiblement la portée de vos télécommandes.

Beseoins d'assistance

Placez-vous devant votre installation et contactez-nous

de 9H à 12H00 et de 14H à 18H

Du Lundi au Samedi au 0892 350 185 (0,34 € TTC la minute)

Les automatismes SCS SENTINEL sont garantis 2ANS a compter de la date d'achat du matériel, le ticket de caisse ou la facture d'achat faisant fier. Ce kit est concu pour etre instalé et utilise exclusivement en vue d'un usage individuel. Conformément aux normes et à la législation en vigueur, toute installation de ce matériel pour un usage collectif doitetre obligatioirement realizede par un professionnel qualifie, lequel devra obligatoirement se conformer et repondre a l'ensemble des exigences de la Directive Machines (Dcclaration de conformite, marquage CE de I'stallation, registre de maintenance, etc...). SCS SENTINEL n'accordera aucune garantie, pour cet usage, sans examen du dossier complet.

Notre garantie porte uniquement sur la reparation ou le remplacement des pieces reconnues defectueuses par nos services techniques et exclut les coûts directs ou indirects conséculifs à une panne (frais de démontage, d'expédition ou autre...)

Les frais d'expedition du matériel entre le client et SCS SENTINEL, sont à la charge du client, les frais de retard à la charge de SCS SENTINEL. Tout retard de matériel non emballe correctement et sans numero de dossoi sera refusé.

Ne sont jamais couverts par notre garantie :

  • Les dommages resultant des conséquences d'une mauvaise installation (mauvais câblage, inversion de polarité,...)
  • Les dommages resultant d'un usage inadéquat de l'appareil (utilisation en contradiction avec le manuel) ou de sa modification.
  • Les dommages resultant des conséquences de l'utilisation de composants ne provenant pas de SCS SENTINEL.
  • Les dommages dus à un défaut d'entretien, à un choc physique (coup de pare-choc sur le portail par exemple).
  • Les dommages dus aux intempérières : grele, foudre, vent violent etc...
    -La peinture de surface des moteurs, les traitements anti-corrosion, etc...
  • Les remplacements de piles ou des ampoules
  • Les rechts effectuels sans la copie de la facture d'achat ou du ticket de caisse.

SCS SENTINEL ne saura ètre tenu pour responsable des conséquences de la privation de jouissance du matériel pendant le temps ou celui-ci sera immobilisé pour réparation ou verification auprès de nos services.

En cas d'anomalie de fonctionnement de toute système, vous devez contacter *notre service technique au N° 08 92 35 01 85 (0.34€ TTC la mn), nos techniciens vous indiqueront la procédure de SAV et un N° de dossier.

*AVANT DE NOUS CONTACTER :

  • Préparez votre ticket de caissse ou votre facture d'achat.
  • Indiquez nous la referece de votre automatisme : [PRO 900]
    -Munlssez yous de loutillage necessaire: tournevis, testeur de courant, telecommandes, manuel d'utilisation, etc.
  • Ouvrez l'armoire électrique de toute automatisme. (A ne pas faisé s'il pleut)
  • Placez you pres de voite automatisme, nos techniciens you donneront des instructions adaptees a vaue cas preciis, il est donc indispensable que you puissiez efectuer en temps reel les manipulations prescries.

IMPORTANT

AUCUN RETOUR DE MATERIEL VERS LE MAGASIN OU VOUS AVEZ ACHETE CE PRODUIT OU VERS NOS LOCAUX NE SERA ACCEPTE SANS N° DE DOSSIER.

NoteziclleN°de dossierSAV:

Besoins d'assistance
Placez-vous devant votre installation et contactez-nous de 9H à 12H00 et de 14H à 18H
Du Lundi au Samedi au 0892 350 185 (0,34 € TTC la minute)

Le coffret électronique

Il est composé de :

  • 1 transformateur équipé de 6 cordons.

2 pour l'alimentation 230 Volts,
2 pour l'alimentation 12 Volts,
2 non utilisés.

  • 1 platine électronique équipé d'un récepteur radio.
  • 1 sachet d'accessoires (connecteurs, visserie, fixation pour le transformateur...).
  • 1 point de fixation pour le transformateur,
  • 1 picot de fixation pour le porte fusible de l'arrivée 230 Volts,
  • 4 vis de fixation.

SENTINEL SCS KIT PRO 900 - Le coffret électronique - 1

Installer le coffret

  • Oter les protections plastiques situées dans l'emplacement batterie,
  • Percer et positionner 1 ou 2 orifices pour passer les câbles vers le bas,
    -Fixer le transformateur sur sa base,
  • Fixer le porte fusible sur son picot,
    -Fixer le boitier avec des vis adaptees a.
    votre pilier,
  • Effectuer les connections,
  • Effectuer les apprenticessages.
  • Refermer soigneusement la boîte en vérifier le bon positionnement du joint d'étanchéité. Le boîtier électronique résiste aux interpérières mais pour plus de sécurité, il est conseilé de l'installer à un endroit abrité.

SENTINEL SCS KIT PRO 900 - Installer le coffret - 1
Besoins d'assistance
Placez-vous devant votre installation et contactez-nous de 9H à 12H00 et de 14H à 18H
Du Lundi au Samedi au 0892 350 185 (0,34 € TTC la minute)

Sommaire Cliquez un titre pour y accéder
Assistant notice
Powered by Anthropic
En attente de votre message
Informations produit

Marque : SENTINEL SCS

Modèle : KIT PRO 900

Catégorie : Système de sécurité