MD 82339 - Autoradio MEDION - Notice d'utilisation et mode d'emploi gratuit
Retrouvez gratuitement la notice de l'appareil MD 82339 MEDION au format PDF.
| Type d'appareil | Lecteur DVD |
| Alimentation | Non précisé |
| Compatibilité disque | DVD, CD |
| Contrôle | Télécommande incluse |
| Fonctions principales | Lecture, pause, arrêt, avance rapide, retour rapide |
| Affichage | Non précisé |
| Connectivité | ISO-Schacht et connexions standards |
| Installation | Montage en baie ISO |
| Dimensions | Non précisé |
| Poids | Non précisé |
| Consignes de sécurité | Éviter l'exposition au soleil, ne pas réparer soi-même |
| Nettoyage | Nettoyer avec précaution |
| Utilisation | Usage domestique |
| Accessoires inclus | Non précisé |
| Garantie | Non précisé |
| Langues du manuel | Multilingue |
FOIRE AUX QUESTIONS - MD 82339 MEDION
Téléchargez la notice de votre Autoradio au format PDF gratuitement ! Retrouvez votre notice MD 82339 - MEDION et reprennez votre appareil électronique en main. Sur cette page sont publiés tous les documents nécessaires à l'utilisation de votre appareil MD 82339 de la marque MEDION.
MODE D'EMPLOI MD 82339 MEDION
Panneau de commande 3
Derriere le panneau de commande 4
Télécommande. 5
Mise en service de la télécommande 7
Consignes de sécurité 8
Ne pas laisser d'appareils électriques
entre les mains des enfants 8
Destination 8
Sécurité routière 8
Montage 9
Ne jamais réparer soit même l'appareil 9
Rayonnement solaire 9
Le lecteur de CD 9
Lecteurs et prises 9
Consignes de sécurité relatives à la manipulation des piles . . 10
Nettoyage de I'appareil 10
Contenu de la livraison 11
Montage 12
Consignes de montage 12
Compartment et fiches ISO 13
Installation du support de montage 13
Branchements au dos de l'autoradio 15
Mise en place de l'autoradio 18
Panneau de commande 18
Reset 19
Démontage de l'appareil 19
Explication des câbles 20
Fonctions generales 23
Heure 23
Allumer/eteindre 23
Volume 23
Selection du mode 23
Reset 24
Réglages de base pour l'autoradio (MENU) 24
Mode Radio : fonctions de base 26
Selection de la bande de réception 26
Recherche des stations 26
Mémorisation des stations 27
Sélection d'une station 28
Mode Radio : Radio Data System. 29
Frequences alternatives (touche AF) 29
TA-informationsroutieres 30
Fonctions PTY 31
Fonctionnement avec supports de données (DVD, CD audio, MP3, USB, SD/MMC, AV IN). 33
Le lecteur de CD/DVD 34
La prise USB 35
Le lecteur de cartes SD/MMC 35
La prise AV IN 36
Mode DVD 36
Fonctions de lecture 37
Afficher les informations sur la lecture 41
La menu du DVD 42
Fonctions de recherche avec les supports MP3 et WMA 44
En cas de problèmes 45
Caracteristiques techniques 46
Recyclage 47
Fonctionnement avec supports de données (DVD, CD audio, MP3, USB, SD/MMC, AV IN). 33
Vue d'ensemble

Panneau de commande
FR
- : maintainir enfoncée quelques secondes pour éteindre l'appareil (allumage possible avec n'importequelle touche, excepté et ) MODE:CHOISIRLEMODE
- : en appuyant sur cette touche, le panneau de commande s'ouvre électriquement vers l'avant, dévoilant le compartment à disque. Si un disque est inséré, celui-ci est éjecté.
- BAND: sélection de la bande de réception en mode Radio (FM 1, FM2, FM3, MW1, MW2)
- : Detachment du panneau de commande
- VOL+/-: augmenter () ou baisser () le volume.
- AS/PS: dévelopir enforcée deux secondes pour la mémorisation automatique des stations
- MENU : ouvrir le menu de réglage de l'autoradio
- Afficheur et écran TFT
- IR: capteur infrarouge de la télécommande
- . Prise USB
- AV IN: raccorder un autre appeareil audio ou video avec connecteur jack
- : recherche de stations vers l'avant ; passer au titre suivant ; pression longue pour une avance rapide
- RPT (« Repeat »): fonction de répétition sur supports de données
FR-3

14.▶:pause et lecture sur supports de données
15. : recherche de stations vers l'arrière ; aller au début du titre et passer au titre suivant ; pression longue pour un retard rapide
16. PTY (« Program Type »): rechercher des stations diffusant un type de programme précis; LOC: maintainir enforcée pour commuter entre stations locales (LOC) et éloignées (DX) (voir page 27)
17. AF (« Alternative Frequency »): presser brièvement pour activer et désactiver le mode AF; presser longtemps pour activer et désactiver le mode régional en mode AF ; voir page 29
18. TA (« Traffic Announcement »): activer les stations émettant des informations routières (voir page 30); ST commutation stéreo/mono sur la bande FM. En cas de mauvaise réception stéreo, le réglage sur MONO peut apporter une amélioration.

Derrière le panneau de commande
- Contacts
- Compartiment à CD/DVD (visible uniquement si panneau de commande ouvert électriquement – touche ▲)
- Témoin lumineux rouge (protection antivol)
- Orifice de RESET : restaurer les réglages d'usine
- Fente pour une carte SD/MMC
FR-4


Télécommande
- : Allumer et eteindre l'appareil
- DISP : afficher les informations pour le mode actuel
- MODE: appuyer plusieurs fois pour selectionner le mode
- : touche d'éjection du disque (pas en mode DVD); SLOW: ralenti (DVD)
- SUB-T: sous-titres (DVD)
- AUDIO: réglages audio (DVD)
- ANGLE : angles de vue de la camera (DVD)
- MUTE: presser brievement pour couper et allumer le son
- VOL+/: augmenter ou baisser le volume; dans le menu : régler la valeur
- MENU: ouvrir le menu de réglage de l'autoradio
- :回头 rapide, avance rapide (support de données)
- ■: Arrêt de la lecture
- GOTO: rechercher un certain passage (disque); AS/PS : mémorisation automatique des stations
- PROG : programmation de titres ; LO/DX : commuter entre stations locales (LOC) et éloignées (DX) (voir page 27).
-
RDM (« Random »): lecture aléatoire sur supports de données; MO/ST: commutation stéréo/mono sur la bande FM
-
0 : touche numérique 0;
BAND : sélection de la bande de réception en mode Radio (FM 1, FM2, FM3, MW1, MW2)
- 9: touche numérique 9;
PTY (« Program Type »): rechercher des stations diffusant un type de programme précis
- 8: touche numérique 8;
AF (« Alternative Frequency ») / REG : presser brièvement pour activer et désactiver le mode AF ; presser longtemps pour activer et désactiver le mode régional en mode AF ; voir page 29
19.7: touche numérique 7;
TA (« Traffic Announcement »): activer les stations émettant des informations routières (voir page 30)
- 1 - 6 : Touches numériques et de rappel de station
- II: pause et lecture sur supports de données
- TITLE: ouvrir le menu des titres (DVD) :
PBC:Playback Control (CD Video 2.0) - «/» TRK TUN -/+ : recherche de stations vers l'arrière / recherche de stations vers l'avant ; aller au début du titre et passer au titre précédent/ suivant ; pression plus longue pour avance/retour rapide
- SETUP: afficher le menu de configuration du lecteur de DVD
- Touches fléchées : naviguer dans le menu
- ENTER : validator la sélection
- ZOOM: agrandir l'image (DVD)
- A-B: répéter un passage définit (DVD)
- RPT: (« Repeat »): fonction de répétition avec les supports de données
Mise en service de la télécommande
La télécommande est livrée avec une batterie cellule lithium installée (CR 2025, 3 V). Un film plastique est glissé entre les contacts pour les protégger pendant le transport.
Poussez le clip (1) légrement vers l'intérieur.
Sortez le compartment à batterie en le tirant vers l'extérieur (2).
Avant la première utilisation : enlevez le film de protection.
Remplacement de la batterie : enlevez la batterie usagée et insérez une batterie neue dans le compartment. La batterie doit se couver sous les clips de retenue avec le côté imprimé vers le haut (3).
Repousse le组成部分 à batterie (4).



Consignes de sécurité

À propos de ce mode d'emploi
Lisez attentivement les consignes de sécurité avant demettre l'appareil en marche. Tenez compte des averissements figurant sur l'appareil et dans le mode d'emploi.
Conservez le mode d'emploi à bord de votre vehicule. Si vous vendez ou donnez l'autoradio, remettez aussi impératifement leprésent mode d'emploi.
Ne pas laisser d'appareils électriques entre les mains des enfants
Ne laissez jamais des enfants utiliser des apparils électriques sans surveillance.
Conservez également les matériaux d'emballage hors de la portée des enfants. Ils pourraient s'étouffer!
Destination
L'autoradio est prévu uniquement pour être installé et utilisé dans des voitures particulières.
Sécurité routière

La sécurité routière a la priorité absolue. Utilisez votre autoradio uniquement lorsque les conditions de circulation s'y présent. Familiarisez-vous avec l'appareil avant de démarrer.
Dans votre vehicule, vous doivent entendre à temps les sirènes de la police, des pompiers et d'autres services de secours. Ne reglez donc jamais le volume si haut que vous risquiez d'entendre trop tard les sirènes des vehicules de secours.
Vous ne pouvez afficher d'images sur l'écran de l'autoradio DVD que si le vehicule est à l'arrêt. C'est pourquoit le cable de frein de stationnement sur le bloc ISO doit être raccordé au système de frein de stationnement du vehicule (voir "Raccorder le cable du frein de stationnement", page 16).
FR-8
Montage
Si vous foulez installer vous-même votre autoradio, lisez les consignes de montage et de branchement figurant dans leprésent mode d'emploi. Nous给您 conseillons cependant de faire installer l'appareil par un spécialiste. Vous étés ainsi sur que votre autoradio fonctionnera parfaitement. Un cablage incorrect peut entraîner des dommages de l'appareil et de votre vehicule.
Ne jamais réparer soit même l'appareil

Avant le montage, vérifie que le cable et l'appareil ne soient pas endommages. N'utilise pas l'appareil si le boîtier ou le cable est endommaged.
N'essayez enaucun cas d'ouvrir et/ou de réparer vous-même l'appareil. Vous risqueriez de vous électrocuter. En cas de problème, adressez-vous à notre Centre de service ou à un autre atelier spécialisé.
Rayonnement solaire
Si l'habitacle de votre vehicule a fortement chauffe, p. ex. suite à une exposition prolongée au rayonnement solaire, n'allumez pas immédiatement l'autoradio.
Attendez d'avoir roulé un moment et que l'autoradio ait pu refroidir.
Le lecteur de CD

Le lecteur de CD est un produit laser de classe 1. L'appareil est équipé d'un système de sécurité qui empêche la fuite de rayons laser dangereux au cours d'une utilisation normale. Pour prévenir tout risque de blessure aux yeux, voirlez à ne
jamais manipuler ni abîmer le système de sécurité de l'appareil.
Lecteurs et prises
N'introduisez pas de corps étrangers dans les ouvertures de l'autoradio (compartiment à disque, prise USB, emplacement pour carte, prise AV IN). Vous pourriez endommager les compartments et prises.
Insérez toujours les CD dans le compartment à disque avec la face imprimée vers le haut. N'employez jamais la force pour insérer un disque ou une carte ni pour raccorder un apparéil externe. Si vous sentez une résistance, essayez d'une autre manière ou avec un autre support.

Consignes de sécurité relatives à la manipulation des piles
Les piles peuvent contenir des matériaux inflammables. En cas de mauvaise manipulation, les piles peuvent couler,CHAuffer fortement, s'enflammer, voire exploser, ce qui peut endommager votre apparéil et porter atteinte à votre santé.
Il est imperatif que vous respectiez les consignes suivantes :
Conservez les piles hors de la portée des enfants.
En cas d'ingestion accidentelle d'une pile, consultez immédiatement votre médecin.
- Ne chargez jamais des piles (à moins que cela ne soit indiqué expressément).
- Remplacez simultanément toutes les piles usagées d'un apparéil par de nouvelles piles de même type.
□ N'intervertissez jamais la polarité. Veiliez à ce que les pôles Plus (+) et Moins (-) seront correctement positionnés afin d'éviter les courts-circuits.
Ne déchargez jamais les piles en utilisant une puissance de sortie élevé.
- Ne court-circuitez jamais les piles.
N'exposez pas les piles à la chaleur et ne les jetez pas au feu.
- Ne démontez pas et ne déformez pas les piles. Vous risqueriez de blesser vos mains ou vos doigs, et vos yeux ou votre peu pourrait enter en contact avec le liquide des piles. Si cela avait se produit, rincez abondamment les zones concernées à l'eau claire et consultez immédiatement votre médecin.
Évitez les coup s et les fortes sécousses.
Avant d'insérer les piles dans l'appareil, vérifie si les contacts de l'appareil et des piles elles-mêmes sont propres et nettoyez-les si nécessaire.
Retirez immédiatement les piles usagées de l'appareil.
- Retirez les piles en cas d'inutilisation prolongée de votre apparéil.
Si vous souhaitez stocker ou éliminer des piles, isolez leurs contacts à l'aide de ruban adhésiF.
Nettoyage de l'appareil
Nettoyez l'appareil avec un chiffon doux et sec. N'utilisez pas de solvants ni de détergents chimiques qui pourrait endommager la surface et/ou les inscriptions figurant sur l'appareil.

Protégez l'appareil de l'humidité. Ne touche pas l'appareil si vous avez les mains mouillées. Vous risqueriez de vous électrocuter !
FR-10


Contenu de la livraison
Veuillez vérifier l'intégrality de la livraison et nous informer dans un délié de deux semaines à compter de la date d'achat si la livraison avait été incomplète. Avec le produit que vous venez d'acheter, vous receivez :
Autoradio
Panneau de commande
- Télecommande (battery fournie)
Cable adaptateur USB
2 fiches ISO avec câbles
Étui
Support de montage (emboîte)
2 clés pourrirer le support de montage et extraire l'appareil
Autre matériel de fixation pour le montage individuel
Le present mode d'emploi
Carte de garantie
Montage
Consignes de montage

Avant le montage, déconnectez le pole moins de la batterie du vehicule! Risque de court-circuit et d'électrocution!
Le cable du frein de stationnement et le cable pour laamera de recul (page 16) peuvent être raccordés uniquement par des spécialistes. Si vous ne possédez pas les connaissances nécessaires, faites procédé à l'installation dans un atelier spécialisé !
Vérifiez si l'affection des prises de votre vehicule correspond à celle de l'autoradio (voir « Répartition des différents éléments du bloc ISO », p. 13).
- N'installez pas les câbles en les tirant, en les faisant passer sur des arêtes coupantes ou à proximé de pieces qui peuvent chauffer. Veillez à ne pas plier ni tordre les câbles.
- Insérez l'appareil dans le compartment d'encastrement prévu à cet effet ouCHOISSEZ pour monter I'appareil un endroit qui ne généra pas la conduite normale du chauffeur.
Raccordez brievement les cables avant de monter définitivement l'appareil. Assurez-vous que ces derniers sont bien branchés et que le système fonctionne correctement.
Si des modifications de votre vehicule s'avert neccessaires, adressez-vous à un concessionnaire automobile ou à un atelier spécialisé.
Installez l'appareil de manière à ce qu'il ne provoque pas de blessures en cas de freinage brusque.
Si l'appareil est monté à plus de 30^ par rapport à l'horizontal, cela peut entraîner une baisse de ses performances.
Évitez de monter l'appareil dans un endroit exposé à de fortes températures (p. ex. rayonnement solaire direct ou air chaud d'un radiateur), à la poussière, à la saleté ou à de fortes secousses. L'appareil pourrait être endommagé.
Lors du montage, respectez scrupuleusement les instructions données dans le present mode d'emploi. Avant de reconnectcer la batterie du vehicule, vérifie tous les branchements.

Angle de montage maximum
FR-12
Compartment et fiches ISO
L'autoradio est prévu pour être monté dans un compartment d'encastrement ISO standard, d'uneaille de 53 × 182 mm minimum.

FR
En principe, le compartment d'encastrement ISO est doté de deux fiches ISO et d'un connecteur d'antenne.

Si vous vécique ne compte pas de compartment d'encastrement ISO ou n'est pas équipé des fiches nécessaires, les connecteurs fournis peuvent être utilisés. Renseignez-vous auprès de votre atelier spécialisé, dans le commerce spécialisé ou aux rayons spécialisés des grands magasins. Voir à ce sujet le chapitre "Explication des câbles", page 20.
Installation du support de montage
Avant de proceeder au montage, enlevez les deux vis situées sur la partie supérieure du boitier de l'autoradio et servant a sécuriser le transport (marquées de petits fanions jaunes) !


Tel qu'il est livre, le support de montage est glissé sur l'autoradio. Enlevez tout d'abord le support de montage du boîtier de l'autoradio.
Pour cela, introduizez les deux clés fournies à gauche et à droite entre l'appareil et le support de montage (1), jusqu'à ce que les clés s'enclenchent (2).

FR-13

Puis poussez le support de montage vers l'arrière au-dessus de l'appareil (3) au moyen des clés.
- Glissez le support de montage dans le compartment d'encastrement ISO.


Tableau de Bord
Pour fixer le support de montage dans le compartment d'encastrement, repliez le plus d'attaches possible à l'aide d'un tournevis. Choisissez les attaches qui se fixent bien sur le boitier du compartment d'encastrement.


Vérifiez ensuite que le support de montage est solidement fixé. Le support ne doit pas pouvoir se détacher même en cas de freinage brusque!
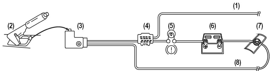
Branchements au dos de l'autoradio
Vue d'ensemble du dos de l'autoradio :

FR
Préparer les câblages
Ne retirez pas les petits fanions sur les câbles. Vous en aurez besoin pour un branchement correct.
Sortez largement les câbles se trouvant dans le compartment d'encastrement ISO de votre vehicule de telle manière que vous puissiez les raccarder avec les câbles de l'autoradio.
Pour le montage, utilisez le bloc de fiches ISO de l'autoradio. - Si les connecteurs ISO de votre vehicule ne convennent pas aux fiches ISO de l'autoradio, vous pouvez acheter des adaptateurs appropriés dans des ateliers spécialisés, le commerce spécialisé ou aux rayons spécialisés des grands magasins.

Les deux connecteurs ISO de votre vehicule (pour les haut-parleurs et le courant) permettent d'étabrir des liaisons électriques sûres et correctes. Si vous souhaitez malgré tout faire monter les câbles d'une autre manière, nous vous expliquons à la fin de ce chapitre la signification de chaque cable.
FR-15

- Raccordez le connecteur du bloc de fiches ISO et la fiche pour le bloc de fiches ISO au dos de l'autoradio.
- Raccordez les deux fiches ISO du vehicule et les deux blocs ISO de l'autoradio (A pour courant et B pour les haut-parleurs).
- Raccordez le connecteur d'antenne de l'antenne du vehicule et la fiche antenne de l'autoradio.
- Raccordez les cables avec les fiches de couleur selon le marquage et les connecteurs correspondants dans le vehicule (voir aussi chapitre suivant).
Si vous utilisez un amplificateur externe, vous pouvez le raccarder avec les fiches audio Cinch rouge/blanche. Tenez ici compte également du mode d'emploi de l'amplificateur.
Raccorder le cable du frein de stationnement
Le lecteur de DVD ne peut être utilisé que si le vehicule est à l'arrêt et le frein de stationnement serré. C'est pourquoi le cable du frein de stationnement rose/noir doit être raccordé au frein de stationnement.
Réprésentation schématique du raccordement – doit être exécuté uniquement par des spécialistes :

- Câble du frein de stationnement rose/noir « PARKING BRAKE (B-) » sur l'autoradio
- Frein de stationnement
- Commutateur de frein de stationnement pour témoin de frein de stationnement sur le tableau de bord
- Borne de connexion du cable rose/noir
- Témoin de frein de stationnement sur le tableau de bord
- Batterie du vehicule
- Carrosserie
- Câble de mise à la masse disponible (relié à la carrosserie)
FR-16
Raccorder le cable deamera de recul
Si vous vehicule est équipé d'uneamera de recul, vous pouvez transférer l'image de cetteamera en marche arrêté sur l'écran de l'autoradio. Pour cela, vous doivent raccorder le cable deamera de recul rose :
Réprésentation schématique du raccordement - doit être exécuté uniquement par des spécialistes :

- Câble deamera de recul rose « CAMERA CONTROL (B+) » sur l'autoradio
- Borne de connexion du cable rose
- Câble de feuix de recul disponible
Test de mémorisation des stations
Sur certains modèles de vehicules, l'emplacement standard des câbles plus permanent et plus de commutation est permuté d'origine dans la fiche ISO pour le bloc ISO A (voir à ce sujet "Répartition des différents éléments du bloc de fiches ISO sur l'autoradio", page 22). Cela a pour effet que la mémorisation des stations ne fonctionne pas.
Avant de monter définitivement l'autoradio, vérifie comme suit si les stations restent mémorisées :
Reconnectez la batterie du vehicule.
Enclenchez l'allumage du vehicule.
Allumez la radio.
- Execute une mémorisation automatique des stations en maintainant la touche AS/PS enforcée pendant deux secondes environ (voir à ce sujet également “Mémorisation automatique”, page 28).
Coupe l'allumage du vehicule.
Réenclenchez l'allumage et vérifie si les stations sont encore en mémoire (pour ce faire, appuyez sur les touches de rappel des stations 1 à 6).
Si les stations sont toujours mémorisées, vous pouze monter l'autoradio.

Dans le cas contraire, utilisez un adaptateur, disponible dans le commerce spécialisé, ou faites adapter les cables dans un atelier spécialisé. Tenez compte à ce sujet du chapitre "Explication des cables", page 20.
Mise en place de l'autoradio
Poussez doucement l'autoradio dans le support de montage jusqu'à ce qu'il s'enclenche,
en veillant à ne pas plier ni coincer les câbles et à ce qu'ils ne soient pas trop tendus.

Panneau de commande
Mise en place du panneau de commande
Insérez tout d'abord le panneau de commande à droite dans le cadre.
Appuyez ensuite prudemment sur le coto gauche, jusqu'a ce qu'il s'enclenche.
Vérifiez que le panneau de commande est bien en place et ne peut plus bouger. Si le
panneau de commande n'est pas correctement installé, des informations erronées apparaisent sur l'écran et/ou certaines touches ne fonctionnent pas correctement.
Détachment du panneau de commande
Appuyez sur la touche .Le panneau de commande se détache et vous pouvez le retarder.

Protection antivol

Lorsque le panneau de commande n'est pas placé dans le support, levoyant antivol clignote sur l'appareil.

FR-18


Contacts
Si le panneau de commande est retire, les contacts du panneau de commande et de l'autoradio sont à nu.

Veillez à ne pas salir les contacts à nu. Des contacts salis peuvent entraîner un dysfonctionnement de l'autoradio. Conservez toujours le panneau de commande dans son étui de protection.
FR
Au besoin, nettoyez les contacts avec un chiffon propre, sec et non pelucheux.
Reset
Pourmettre l'autoradio en marche,appuyez avec la mine d'un crayon ou un autre objet pointu dans I'orifice de RESET.
En cas de dysfonctionnement de l'autoradio persistente si vous eteignez et rallumez l'appareil, appuyez avec la mine d'un crayon ou un autre objet pointu dans l'orifice de RESET.

Démontage de l'appareil
Retirez le panneau de commande.
Enlevez le support de montage.
Introduisez les clés croite et gauche dans la fente respective sur le côte de l'appareil. Les deux attaches retrouvent leur position initiale et vous pouvez extraire l'appareil.

FR-19





Explication des câbles

La signification des câbles est utile si ceux-ci doivent être posés d'une autre manière que cette décrite dans le present mode d'emploi. Pour cela, adressez-vous à un atelier spécialisé en remettant les fiches ISO fournies et les informations du present chapitre.
Pour raccorder l'autoradio et les fiches ISO de votre vehicule, vous n'avez pas besoin des explications suivantes.
Deux fiches ISO avec câbles sont fournies avec l'appareil :
Fiche avec cables electriques pour bloc de fiches ISO A
Fiche avec cables de haut-parleurs pour bloc de fiches B
Vue d'ensemble des fiches ISO A : courant

Mémoire de réserve (jaune)
Le cable jaune de mémoire de réserve doit être relié au plus permanent.
Sinon, la的记忆isation des stations ne fonctionnera pas (voir. “Répartition des différences éléments du bloc de fiches ISO sur l'autoradio”, page 22).
Câble de relais de l'antenne (bleu)
Le cable bleu est destiné à une antennene commandée par relais. Le relais sort automatiquement l'antenne lorsque la radio est mise en marche. Lorsqu'elle est éteinte, l'antenne reste à nouveau.
Ce cable de relais peut aussi servir à commander un amplificateur externe. Pour un branchement correct, reportez-vous au mode d'emploi de l'amplificateur.

Ne raccordez jamais le cable bleu et le cable moteur de l'antenne commande par relat, vous risqueriez d'endommager l'autoradio!
FR-20






Vue d'ensemble des fiches ISO B : haut-parleurs

FR

Si le vehicule est équipé uniquement de haut-parleurs avant et que les câbles pour les haut-parleurs arrêtè sont donc inutiles, les extrémités à nu de ces câbles doivent être isolées de manière réglementaire.

FR-21

Répartition des différents éléments du bloc de fiches ISO sur l'autoradio
| Bloc ISO | BLOC B - haut- parleurs | BLOC A - alimentation électrique | |||
| B | 1|3|5|7|2|4|6|8| | 1 | arrière droit + | 1 | |
| 2 | arrière droit - | 2 | |||
| 3 | avant droit + | 3 | |||
| A | 1|3|5|7|2|4|6|8| | 4 | avant droit - | 4 | Plus permanent (tension de bord permanente de 12 V) |
| 5 | avant gauche + | 5 | Antenne auto (aussi pour amplificateur externe, etc.) | ||
| 6 | avant gauche - | 6 | |||
| 7 | arrière gauche + | 7 | Plus de commutation (tension active de 12 V, via la clé de contact) | ||
| 8 | arrière gauche - | 8 | Masse | ||
Problèmes de permutation des câbles
Sur certains modèles de vehicules, l'emplacement standard des cables plus permanent et plus de commutation est permuté d'origine dans la fiche ISO pour le bloc ISO A. Dans ce cas, certaines fonctions ne fonctionnent pas correctement, p. ex. les stations méorisées ne sont pas conservées.
Il est alors nécessaire de permuter le cable pour le plus de commutation (rouge) et le cable pour le plus permanent (jaune) dans le bloc de fiches ISO. Des adaptateurs appropriés sont disponibles dans le commerce spécialisé.
Fonctions générales

N'allumez pas l'autoradio pendant une période prolongée lorsque le moteur ne tourne pas. La batterie du vehicule pourrait se décharger et le vehicule, ne plus démarrer.
FR
Heure
Votre autoradio est doté d'une horloge RDS. Elle se règle automatiquement par l'intermédiaire des stations RDS et continue de tourner même lorsque la radio est éteinte.
À l'aide du menu, vous pouvez aussi régler l'heure manuellement (voir ci-dessous).
Allumer/éteindre
Vous pouvez allumer l'autoradio avec n'importe qu'elle touche, excepte et .
La radio s'allume également lorsqu'un disque ou une carte est inséré ou une clé USB raccordée.
- Maintenez la touche (Ø) enfoncée pendant quelques secondes pour éteindre l'appareil.
Volume
Appuyez sur les touches VOL (+) ou VOL (-) pour augmenter ou baisser le volume.
Appuyez sur MUTE pour couper le son ou le remetre.

Réglez le volume de manière à pouvoir entendre distinctement la sirène des vehicules de secours!
Sélection du mode
- Appuyez plusieurs fois sur la touche MODE pour passer en mode Radio, mode CD/DVD, mode USB, mode Carte ou mode AV IN.
Attention : un support de données doit être inséré ou raccordé pour pouvoir passer dans le mode respectif.
Reset
Pour restaurer les réglages d'origine de l'autoradio, appuyez avec un objet pointu, p. ex. un stylo, dans l'orifice de RESET. Cet orifice se trouve derrière le panneau de commande.
- Executuz un RESET

- lors de la première mise en marche une fois les câbles branchés,
- si certaines touches de fonction ne fonctionnent pas,
- si un message d'erreur s'affiche sur l'écran.
Réglages de base pour l'autoradio (MENU)
Appuyez sur la touche MENU pour ouvrir le menu de réglage pour l'autoradio. Le menu est en angeais. Il se compose des images suivantes :

pour sélectionner une option du menu, appuyez sur sur l'appareil principal ou sur les touches fléchées de la télécommande.
Pour confirmer votre sélection et p. ex. ouvrir le menu sélectionné, appuyez sur MENU sur l'appareil principal ou sur ENTER sur la télécommande.
Pour régler une valeur, appuyez sur sur l'appareil principal ou sur VOL+ ou VOL- sur la télécommande.
FR-24




Pour revenir une étape en arrêté ou quitter le menu, appuyez une fois ou plusieurs fois sur MODE sur l'appareil principal ou sur ZOOM sur la télécommande.
AUDIO : menu de réglage du son
| VOLUME | Volume sonore. Vous pouvez ici régler le volume de base de l'autoradio lorsque vous l'allumez. |
| BASS | Basses |
| TREBLE | Aigus |
| BALANCE L-R | Balance entre les haut-parleurs gauche et droit |
| FADER R.F | Fader ; balance entre les haut-parleurs avant et arrière |
| EQ | Égaliseur : FLAT (normal) et préréglages Classique, Rock, Pop |
| LOUD | Loudness ; accentue les graves et les aigus lorsque le volume est faible |
| SUB.W | Si un caisson de basse est raccordé, vous pouvez l'activer ici. |
PICTURE : menu de réglage de l'image
| BRIGHT | Luminosité. |
| CONTRAST | Contraste |
| COLOR | Couleurs. |
| TINT | Nuances. |
| DEFAULT | Restaurer les réglages d'usine de l'image. |
SETUP
Ce menu comporte les sous-menus SYSTEM etCLOCK.
SYSTEM: réglages de l'heure
| TIME | Activer et désactiver l'affichage de l'heure. |
| TIME.M | Mode Heure : mode 12 heures ou mode 24 heures. En mode 12 heures, « AM » s'affiche pour les heures de la matinée et « PM » pour celles de l'après-midi. |
CLOCK: régler l'heure
Sélectionnez les heures avec . Réglez les heures avec .
Sélectionnez les minutes avec . Réglez les minutes avec .
Mode Radio : fonctions de base
Dans la fonction Radio, l'écran de base est représenté comme suit :

Sélection de la bande de réception
- Appuyez sur la touche BAND pour commuter entre FM (FM1, FM2, FM3) et moyennes ondes (MO1 et MO2). Vous pouvez<mémoriser six stations dans chaque bande.

Les trois bandes de réception FM1, FM2 et FM3 et les deux bandes de réception MO1 et MO2 couvent respectivement la même gamme de fréquences. Vous pouvez de cette manière memoriser jusqu'à 18 stations FM et 12 stations MO.
Recherche des stations
Recherche automatique
Appuyez brievement sur la touche « ou « pour demarrer la recherche automatique des stations. L'appareil recherche alors automatiquement la station suivante.
Pour stopper la recherche, appuyez a nouveau sur ou I.
Recherche manuelle
Si vous appuyez un peu plus longtemps sur la touche « ou «, vous activez la recherche manuelle des stations. MANU apparait sur l'écran.
Modifiez alors la valeur avec ou
FR-26




Stereo et mono
Les stations FM sont diffusées en stéreo. Si la réception est mauvaise, vous pouvez eventuèlement l'améliorer en passant sur mono avec MO/ST.
Mode de recherche local
Lors d'une recherche automatique des stations, vous pouze éviter que trop de stations seront captées en réglant le mode de recherche local. Dans ce mode, seules les stations émettant des signaux puissants sont trouvées.
Pour capter également des stations plus éloignées, désactive le mode LOC avec LOC (LO/DX). Le mode DX est maintainant activé.
Recherche des stations AF
En mode AF, si la réception de la fréquence d'origine devient trop faible, la radio en mode FM passes automatiquement à une station émettant le même programme avec une fréquence alternative (« AF » = « Alternative frequency ») (voir aussi l'explication “Fréquences alternatives (touché AF)”, page 29).
Pour activer le mode AF, appuyez une fois sur la touche AF. L'affichage AF apparait sur l'écran.
- Appuyez alors, dans l'une des trois bandes de réception FM1, FM2 ou FM3, sur la touche « ou « pour rechercher sur la bande FM des stations émettant un signal AF.
La recherche s'arrête chaque fois qu'une telle station est captée.
Pour désactiver le mode AF, appuyez à nouveau sur AF. Les affichages disparaisent.

À la livraison ou après un reset, le mode AF est activé.
Mémorisation des stations
Mémorisation manuelle
Lorsque la recherche a capté une station, appuyez pendant deux secondes environ sur l'une des touches de rappel de station 1 à 6. Six stations peuvent être mémorisées dans chaque bande de réception (FM1, FM2, FM3, MO1 et MO2).
Au bout de quelques secondes, la recherche automatique des stations se poursuit.

Mémorisation automatique
Maintenez la touche AS/PS appuyee pendant deux secondes environ. Les six stations les plus puissantes sont recherches dans la bande de reception actuelle. Les stations captees sont automatiquement memorises aux nombres de rappel de station 1 à 6. Chaque station captee est écoutee pendant environ cinq secondes. C'est ensuite la station memorisée sous le numero 1 qui est écoutee.
Si vous souhaitez stopper la recherche, appuyez sur l'une des touches de rappel de station 1 à 6.
Selection d'une station
Sélection des stations en mémoire
Choisissez la bande de réception avec BAND.
En appuyant sur l'une des touches de rappel de station 1 à 6, vous scélectionné à nouveau les stations méorisées.
Défilament des stations méorisées
Yououpez ecouter les stations méorises de la zone d'émission actuelle.
Choisissez la bande de réception avec BAND.
Appuyez brievement sur la touche AS/PS. Chaque station est écoute durant environ cinq secondes.
Si vous souhaitez rester sur une station, appuyez brievement sur la touche AS/PS.
Mode Radio : Radio Data System
Radio Data System est un service proposé par les stations de radio. Outre les retransmissions musicales et vocales classiques, des informations supplémentaires sont émises sous la forme de signaux numériques codés, qui peuvent être affichés par l'autoradio. Ces informations, telles que le nom de la station ou le titre du morceau joué, sont affichées sur l'écran.
Si la station n'émet pas de signaux RDS, la fréquence s'affiche au lieu du nom de la station.
Si la station qui émet les signaux RDS met également à disposition des informations routières, « TP » (« Traffic Program » = programme de radioguidage) s'affiche sur l'écran.
Fréquences alternatives (touche AF)
Une fonction du service RDS est la fonction AF sur la bande FM (« AF » = « fréquences alternatives »). En mode RDS, l'appareil passée automatiquement sur une autre fréquence dés qu'on quitte la bande de réception d'une station radio. Cette commutation n'est possible que si le code PI coïncide également (le code PI est l'identification de programme qui désigne sans équivoque programmes et chaînes de stations). On évite ainsi que la radio passée à une fréquence occupée par un autre programme.
Appuyez brievement sur la touche AF pour activer ou désactiver la fonction AF pour le mode Radio Data System. Lorsque la fonction est activée, « AF » s'affiche sur l'écran.

L'affichage AF clignote sur l'écran si aucune information Radio Data System n'est disponible.
Mode Programmes régionaux
Certaines stations diffusent des programmes régionaux à des moments précis de la journée. En mode Programmes régionaux, la radio ne peut passer à une fréquence qui diffuse un autre programme régional.
Pour activer ou désactiver le mode Programmes régionalaux, maintenez enforcée la touche AF pendant plus de deux secondes. Lors de l'activation, « REG » s'affiche brievement sur l'écran.

TA - informations routières
T_A ( « Traffic Announcement » ) is le mode d'informations routières. Lorsque la station émet des signaux RDS et met à disposition des informations routières, la fonction TA étant activée, l'appareil passé immédiatement des autres modes (p. ex. mode CD) en mode Radio des que des informations routières sont diffusées. S'il est régle sur un niveau trop faible, le volume est augmente automatiquement en cas de message d'informations routières. Les stations émettant des messages d'informations routières sont signalées par « TP » sur l'écran.
Appuyez sur la touche TA pour activer ou désactiver la fonction TA. En mode Radioguidage, « TA » s'affiche sur l'écran des qu'une station de radioguidage est captée. « TA » clignote si aucune station de radioguidage n'est captée.
- Pendant la diffusion du message d'informations routières, l'affichage « TRAFFIC » reste allumé en permanence.
Si la radio passe du mode CD/MP3, du mode USB ou d'une station n'émettant pas de messages d'informations routières à une station de radioguidage, vous pouvez interrompre ce processus. Pour cela, appuyez brievement sur la touche TA. La fonction TA est maintainant interrompue, sans que le mode TA ne soit désactivié. L'écran affiche XXXXXX.
Appuyez sur TA si vous souhaitez supprimer CET affichage.

Si la fonction TA est activée, pendant la recherche de stations, seules peuvent être captées ou mémorées les stations émettant un signal de radioguidage.
Fonctions PTY
« PTY » (« Program Type Code ») est une fonction avec laquelle l'autoradio recherche des stations en fonction de types de programmes disponibles. Ce service est de plus en plus supporté par les stations de radio.
Appuyez sur la touche PTY pour activer le menu PTY. L'écran suivant s'affiche :

Avec la touche ou sur la télécommande), executez une recherche de stations PTY.
La recherche des stations démarre au bout de quelques secondes. La recherche s'arrête dés qu'une station est captée. Si aucune station n'est captée, l'appareil revient en mode de fonctionnement normal.
- « Vous pouvez interrompre la recherche avec n'importe qu'elle touche. Les types de programme suivants sont possibles :
NEWS : nouvelles
AFFAIRS : événements actuels
INFO: guide, informations
SPORT : événements sportifs
EDUCATE : éducation
DRAMA : pièces radiophoniques
CULTURE : culture
SCIENCE : sciences naturelles et technologie
VARIED : divers
POP M : musique pop
ROCK M : musique rock
EASY M: musique légère
LIGHT M: musique classique légère
CLASSICS : classique
OTHER M : autre musique
WEATHER: météo
CHILDREN : programmes pour enfants
SOCIAL : social, activités
RELIGION : religion, éthique
PHONE IN: stations pouvant etre appellees
TRAVEL : voyages
LEISURE : activités de loisirs
JAZZ : jazz
COUNTRY : musique country
NATION M: musique d'autres pays
OLDIES: musique des années 50-70
FOLKS M : musique folk
DOCUMENT: reportages d'actualité
TEST: test d'urgence
ALARM : avis de catastrophe
Remarque: ces informations dépendent de la région, de la station de radiodiffusion et de l'émetteur.

Si la radio ne capte pas d'informations PTY, NOT FND s'affiche sur
I'ecran a la fin de la recherche.
Fonctionnement avec supports de données (DVD, CD audio, MP3, USB, SD/MMC, AV IN)
L'autoradio est équipé de différents lecteurs et prises et peut dire differentes formats :
| Lecteurs et prises | Supports de données et formats |
| Lecteur de CD/DVD | Pour DVD et CD Video. Uniquement si vécicule à l'arrêt. Formats pouvant être lus : DVD+R, DVD-RW, DVD-R, DVD-RW, disques JPEG. I Les DVD gravés soi-même doivent être finalisés. |
| Pour CD audio du commerce et CD gravés soi-même contenant des fichiers MP3 ou WMA. Les CD peuvent également être au format CD-R et CD-RW. | |
| Prise USB | Pour clés USB* ou lecteur MP3* |
| Lecteur de cartes SD/MMC | Pour cartes mémoire SD/MMC* avec fichiers MP3 ou WMA |
| Prise AV IN | Pour le raccordement d'appareils audio externes, p. ex. d'un lecteur de CD, au moyen d'un connecteur jack 3,5 mm |
| i *La compatibilité avec tous les lecteurs MP3, clés USB ou cartes mémoire disponibles sur le marché ne peut être garantie. |

Les fonctions de lecture des différents supports de données sont, à quelques détails près, identiques et sont décrites ensemble dans leprésent mode d'emploi (voir page 37).
Les fichiers MP3 et WMA possèdent leur propre fonction de recherche et d'affichage (voir page 44).
Le lecteur de CD/DVD
Le lecteur de CD/DVD se trouve derrière le panneau de commande.
Insertion et retrait d'un CD/DVD
Appuyez sur la touche d'éjection sur l'appareil principal. Le panneau de commande s'abaisse.
Insérez le CD/DVD dans la fente, face imprimée vers le haut. Les données sont entrées en mémoire. L'image de démarrage et l'affichage READ.apparaissent sur l'écran.
Puis la lecture commence.
Un écran comme celui illustré ici apparait : :


Pour enlever le disque, appuyez de nouveau sur la touche sur l'appareil principal. Le CD/DVD est ejecté. L'autoradio passe en mode Radio.
Refermez le panneau de commande en effleurant la touche sur le panneau de commande abaisse.

Ne roulez pas avec un CD éjecté. Retirez immédiatement le CD.
FR-34
Pas de saut du CD en cas de secousses
L'appareil est équipé d'une fonction qui compense les secousses, p. ex. sur les routes accidentées, et garantit une lecture sans interruption même si l'appareil rouge. Lorsque l'appareil est mis en marche, la mémoire se remplit automatiquement de données :
- l'équivalent de 5 secondes pour les DVD;
- l'équivalent de 10 secondes pour les CD audio ;
- l'équivalent de 120 secondes pour les CD MP3 ;
- l'équivalent de 150 secondes pour les CD WMA.
La prise USB
Vous pouvez brancher un lecteur MP3 ou un autre support de données USB au niveau de la prise USB située sur la façon de l'appareil.
Votre autoradio peut utiliser des supports de données USB jusqu'à 2 Go,
Raccordement d'un apparéil USB
- Branchez vous appeareil USB (p. ex. une clé USB ou un lecteur MP3) dans la prise. Insérez le cas échéant le cable adaptateur USB fourni pour le branchement mini USB. L'autoradio recherche les fichiers MP3 ou WMA sur le support de données et « USB » s'affiche sur l'écran.
Si l'appareil se trouve dans un autre mode (Radio, CD), vous pouvez selectionner la prise USB avec MODE.
La lecture de fichiers sur le support de données externe et la fonction de recherche sont identiques à celles des CD MP3.

Ne retirez jamais l'appareil USB pendant la lecture de données. ArrêtezAAParavant la lecture ou passez dans un autre mode avec MODE.
Le lecteur de cartes SD/MMC
Le lecteur SD/MMC se trouve derrière le panneau de commande.
Insertion et retrait de la carte
Appuyez sur la touche pour abaiser le panneau de commande.
Introduisez la carte mémoire avec les contacts en bas et le coin biseauté à droite dans la fente pour carte.
Remettez le panneau de commande en place. L'autoradio recherche les fichiers MP3 ou WMA sur le support de données et « SD/MMC » s'affiche sur l'écran.
Si l'appareil se trouve dans un autre mode (Radio, CD), vous pouvez selectionner la prise USB avec MOD.
La prise AV IN
Vous pouvez brancher un autre appeareil audio, p. ex. un lecteur de MPEG4, avec un connecteur jack 3,5 mm dans la prise AV IN de l'autoradio.
Si l'appareil se trouve dans un autre mode (Radio, CD), vous pouvez selectionner la prise USB avec MOD. « AV IN » s'affiche sur l'écran.
Commandez la lecture sur l'appareil raccordé.
Mode DVD

Vous ne pouvez utiliser des CD Video que si le vehicule est à l'arrêt et le frein de stationnement serraé. Si vous insérez un DVD alors que le frein de stationnement n'est pas serré, le message suivant s'affiche en anglais : « DISABLED WHILE DRIVING » – « Hors service pendant la conduite »
À propos des DVD
Les DVD Video sont divisés en titres et en chaprites. Un DVD peut composer plusieurs titres pouvant eux-mêmes être constitués de plusieurs chaprites. Les titres et les chaprites sont numérotés dans l'ordre :

Avec le lecteur de DVD de votre autoradio, vous pouvez dire des DVD avec le code régional 2 (Europe) et 0 (convent pour tout lecteur de DVD).


Fonctions de lecture

De nombreuses fonctions décrites ici doivent être activées avec les touches de la télécommande.
Écran MP3/WMA
Appuyez sur la touche DISP. Vous voyagez s'afficher un écran comme celui illustré ici :
FR

Les dossiers apparaissent a gauche et les titres, a droite.
- Sélectionnez un dossier ou un titre à l'aide des touches fléchées et appuyez sur ENTER pour lire le dossier ou le titre.
Affichage des types de fichier
| Fichiers audio | |
| JPEG : fichiers d'images | |
| Fichiers videoto |
Pause et lecture
Vous pouvez interrompre la lecture avec la touche II. Pendant la pause, « PAUSE » s'affiche sur l'écran.
Appuyez une nouvelle fois sur la touche pour relancer la lecture.
Appuyez deux fois sur ■ pour arreter définitivement la lecture.
FR-37



Saut de titre
Avec la touche ou, vous pouvezCHOISIR le titre suivant ou precedent. Le numero du titre est affiché sur I'écran.
Avance/retour rapide
Appuyez plusieurs fois sur « ou » pour augmenter l'avance/le return rapide de plusieurs niveaux: 2X > 4X > 8X > 20X> lecture normale.
Vous pouze également repasser en mode de lecture normale avec II.
- Appuyez plusieurs fois sur la touche / S LOW pour augmenter le ralenti de plusieurs niveaux: 1 / 2 > 1 / 3 > 1 / 4 > 1 / 5 > > 1 / 6 > 1 / 7 .

En mode DVD, le disque ne peut pas etre ejecte avec la touche de la télécommande. Passez dans un autre mode avant d'ejcter le disque.
Avec ,you repasse en mode de lecture normale.
Répétition (CD, MP3, VCD, SVCD)
Appuyez une fois sur la touche RPT. RPT 1 s'affiche sur l'écran. Le titre en cours est répété.
Appuyez une deuxième fois sur la touche RPT.
Avec les supports MP3, RPT DIR s'affiche sur l'écran. Le repertoire actuel est repété.
Avec les autres supports de données, RPT ALL s'affiche sur l'écran. Tous les titres sont répétés.
Avec les supports MP3, appuyez une troisième fois sur la touche pour répéter tous les titres (RPT ALL).
En appuyant une nouvelle fois sur la touche, l'appareil repasse en mode de lecture normale.
Répartition (DVD)
Appuyez plusieurs fois sur RPT pourCHOISIR parmi les modes de repetition suivants:
REP CHAPTER (répéter chapitre) > REP TITLE (répéter titre) > REP OFF (pas de répétition).
Répétition A-B (DVD)
Cette fonction vous permet de répéter une certaine série.
Appuyez sur A-B pour définir le début de la série souhaitatione.
Appuyez de nouveau sur A-B pour définir la fin de la séquence. La séquence est lue en boucle.
Appuyez encore une fois sur A-B pour revenir en mode de lecture normale.
FR-38






Lecture aléatoire de tous les titres
Appuyez sur la touche RND. Une lecture aléatoire est démarrée.
En appuyant une nouvelle fois sur la touche, l'appareil repasse en mode de lecture normale.
Sélection de la langue/sélection des sous-titres (DVD)
Si le DVD propose plusieurs langues ou sous-titres, vous pouvez selectionner une autre langue avec la touche AUDIO et une autre langue des sous-titres avec la touche SUB-T.
Attention : ces fonctions ne sont pas disponibles sur tous les DVD. Vous devrez eventuellement modifier la langue dans LANGUAGE SETUP (page 43).
Fonction audio (VCD/S-VCD)
Certsains CD Video ou Super Video ont plusieurs canaux audio. Vous pouvez alors selectionner ces canaux avec la touche AUDIO :
STÉRÉO > MONO L (uniquemment canal gauche) > MONO R (uniquemment canal droit).
Angles de vue de laamera (DVD)
Certsains DVD contiennent des scènes qui ont été filmées sous plusieurs angles de vue. Vous pouvez alors selectionner ces angles de vue avec la touche ANGLE.
Attention : la manière d'exécuter cette fonction peut varier d'un DVD à l'autre.
Fonction zoom
- Appuyez plusieurs fois sur la touche ZOOM pour agrandir ou réduire l'image des niveaux suivants : ZOOM2 > ZOOM3 > ZOOM4 > ZOOM1/2 > ZOOM1/3 > ZOOM1/4 > OFF (taille d'image normale).
Sur une image agrandie, vous pouvez selectionner un cadrage avec
Menu des titres (DVD)
La touche TITLE (touche MENU sur l'appareil principal) vous permet d'ouvrir le menu des titres du DVD. Dans ce menu, vous pouvez effectuer une selection avec les touches fléchéées et confirmer avec ENTER.
Si vous lisez un VCD avec PBC (Playback Control), vous pouvez également ouvoir le menu avec TITLE.

Programmation de titres
Appuyez sur la touche PROG en cours de lecture pour ouvrir le menu de programmation.
| VCD/SVCD/CD audio | DVD/MP3/MPEG4 |
| PROGRAM 1 [___] 5 [___] 9 [___] 13 [___] 2 [___] 6 [___] 10 [___] 14 [___] 3 [___] 7 [___] 11 [___] 15 [___] 4 [___] 8 [___] 12 [___] 16 [___] PLAY CLEAR | PROGRAM T C T C T C T C 1----5----9----13------ 2----6----10----14------ 3----7----11----15------ 4----8----12----16------ PLAY CLEAR |
Allez jusqu'au premier emplacement de programme à l'aide des touches fléchées .
Saisissez le titre souhaïte avec les touches numériques. Avec les DVD, saisissez le titre (« T ») et le chapitre (« C ») dans lequel se trouve le titre.
Une fois que votre liste est complète, allez sur PLAY à l'aide des touches fléchées et appuyez sur ENTER pour生存 le titre.
Fonction GOTO
Avec la touche GOTO, vous pouvez selectionner directement un certain passage du disque.
DVD
DVD
TT (01)/12
CH(001)/001

00:00:39
VCD/CD/MP3
VCD TRK
(09)18

PBC


00:00:12
Choisissez à l'aide des touches la catégorie que vous souhaitez sélectionner: TT (titre), CH (chapitre), TRK (plage) ou (temps).
Saisissez la valeur souhaitée avec les touches numériques.
Puis appuyez sur ENTER pour confirmer ; le disque démarre à partir de l'endetroit indiqué.
FR-40
































































Afficher les informations sur la lecture
- Appuyez une ou deux fois sur la touche SUB-T pour afficher des informations sur l'objet actuel de la lecture.

DVD
FR

VCD/CD/MP3/JPEG
| Signification des affichages | ||
| 1 | DVD / VCD | Type de disque |
| 2 | TT 1/3 | Titre actuel / nombre total de titres |
| CH 1/1 | Chapitre actuel / nombre total de chaprites | |
| TRK 09/18 | Plage actuelle / nombre total de plages | |
| 3 Temps | © / T / C | Temps écoulé du titre / du chapitre |
| © -/T- / C- | Temps restant du titre / du chapitre | |
| 4 Audio | 1/1 ENG | Langue actuelle / nombre de langues |
| 5.1 CH | Canal 5.1 | |
| 5 | 1/4 ENG | Langue actuelle des sous-titres / nombre de langues des sous-titres |
| 6 | © k | Angles de vue de laamera |
| 7 | © k | Déactivation du son |
FR-41
| 8 | PBC | Playback Control; uniquely sur VCD 2.0 avec PBC |
| 9 Répétition | ←1 | Un titre est répété |
| □ | Un dossier est répété | |
| CA | Le disque entier est répété | |
| CX | Quitter le mode de répétition |
La menu du DVD
Avec la touche SETUP, vous affichez le menu de configuration du DVD. Dans ce menu, vous pouvez proceder aux réglages pour le mode DVD.

Le menu de configuration du DVD est en angeais. Mais vous pouvez également selectionner une autre langue, voir page 43.
La configuration du DVD vous propose quatre menus :
- Menu de configuration du système
- Menu de réglage de la langue
- Menu de réglage du son
- Menu de réglages numériques
Naviguer dans le menu de configuration du DVD
Si SYSTEM SETUP est marqué, vous pouvez selectionner un autre menu à l'aide des touches fléchées.
Vous accedez à la liste des options avec et vous scélectionné une option avec .
Pour modifier le réglage de l'option sélectionnée, appuyez sur ou sur ENTER. Sélectionnez une option dans le sous-menu avec [Tastenbeschreibung fehl!!!] et confirmez avec ENTER.
Pour referrer le menu de configuration du DVD, appuyez de nouveau sur SETUP.
SYSTEM SETUP : configuration du système
TV SYSTEM : la norme TV. PAL : norme courante dans les pays européens ; NTSC: norme courante en Amérique du Nord. AUTO SELECT : la norme est reconnaue automatiquement.
FR-42
SCREEN SAVER : économiseur d'écran ON (actifé) ou OFF (non activé). L'économiseur d'écran activé apparait lorsque l'image reste immobile pendant quelques minutes.
TV TYPE: format d'image TV. Réglez l'écran en fonction du DVD. 4:3 PS (« Pan Scan »), 4:3 LB (« Letterbox ») ou 16:9.
PASSWORD : mot de passer. Il est nécessaire pour la prochaine option « Contrôle parental ». Le mot de passer régle par défaut est « 0000 ». Pour le modifier, entrez ce mot de passer à l'aide des touches numériques et confirmez avec ENTER. Lorsque vous y étés invite, entrez ensuite un nouveau mot de passer compteant quatre caractères.
! Notez tout nouveau mot de passer dans un endroit sur, car vous ne pourrez pas restaurer le mot de passer régle par défaut.
RATING : contrôle parental. Vous pouze définir ici la catégorie d'autorisation pour des DVD. Catégorie 1 : convient également aux enfants en bas âge ; catégorie 8 : pouradultes uniquement.
DEFAULT: restaurer tous les réglages d'usine. Un nouveau mot de passer et la catégorie d'autorisation restent conservés.
LANGUAGE SETUP : menu de réglage de la langue
OSD LANGUAGE :la langue du menu de DVD et des autres affichages à l'écran.
AUDIO LANG.: préréglage pour la langue parlée sur le DVD, si disponible.
SUBTITLE LANG.: préréglage pour la langue des sous-titres sur le DVD, si disponible.
MENU LANG.: préréglage pour la langue des menus sur le DVD, si disponible.
AUDIO SETUP : réglages audio
AUDIO OUT : SPDIF OFF : la sortie coaxiale numérique n'est pas activée.
SPDIF RAW : pour la sortie d'un flux de données
numérique 2.0 canaux.
SPDIF PCM : format standard pour la sortie d'un format
stéréo.
KEY: augmenter les basses (B, -4, -2) ou les aiguus (+2, +4, #)
DIGITAL SETUP: réglages numériques
OP MODE : LINE OUT : les amplitudes de volume sont ajustées. RF REMOD : le son n'est pas modifié.
DYNAMIC RANGE : vous pouvez régler ici la dynamique du son (voir OP MODE) dans différents niveaux OFF: le son n'est pas modifié. FULL : le son des passages sonores est réduit, le son des passages à faible volume est augmenté.
DUAL MONO mode à deux canaux. STEREO : signal stéreo par haut-parleurs gauche et droit. L-MONO : canal mono gauche par haut-parleur gauche. R-MONO : canal mono droit par haut-parleur droit. MIX-MONO : son mono gauche et droit par haut-parleurs gauche et droit.
Fonctions de recherche avec les supports MP3 et WMA
Le format MP3 comporte des fonctions de recherche particulières. Outre la recherche de nombres de titres, on peut aussi rechercher des noms de titres et de repertoires.
Cette fonction ainsi que les autres fonctions spécifiques aux MP3 dépendent essentiellement du CD MP3. Tenez-en compte dés la création de ce CD (voir section suivante).
Tous les codages MP3 courants peuvent être lus.
Creation de supports MP3 ; tags ID3

Tout comme les CD de données, les supports de données avec fichiers MP3 (CD-ROM, clés USB, etc.) peuvent contir des titres unique ou des repertoires. Lors de la creation du support de données, veillez à ne pas enregistrer les titres au même niveau que les repertoires, mais seulement dans les repertoires. Un mélange de titres et de repertoires au même niveau peut creer des problèmes lors de la lecture.
Lorsque vous creez des fichiers MP3, vous avez également la possibilité d'enregistrer des «tags ID3» (pour la saisie, nous vous conseillons l'utilisation d'un éditeur de tags ID3), c'est-à-dire un bloc d'informations sur un CD MP3, localisé sur le MP3 après les informations musicales propremment dites. Il peut s'agir p. ex. d'informations sur l'interprête, le titre, le nom de l'album, l'année de sortie ou encore d'un bref commentaire.
L'autoradio peut dire ce bloc d'informations et l'afficher sur l'écran. Les différentes informations sont successivement affichées sous forme de texte défilant.
FR-44
En cas de problèmes
| PROBLÈME | CAUSE POSSIBLE / SOLUTION |
| L'appareil ne s'allume pas. | L'allumage n'est pas enclenché. |
| Un des fusibles est défectueux. | |
| Le CD n'est pas chargé ou est éjecté. | Un CD se trouve déjà dans l'autoradio. |
| Le CD a été inséré à l'envers. | |
| Le CD est sale ou défectueux. | |
| La température dans l'habitatcle de la voiture est trop élevé. Attendre que la température ambiente se soit normalisée. | |
| Condensation. Éteindre l'autoradio durant quelques heures et réessayer. | |
| Pas de son. | Le volume est réglé sur le minimum. |
| Les câbles ne sont pas correctement branchés. | |
| Les touches de fonction ne fonctionnent pas. | Le micro-ordonateur intégré ne peut pas fonctionner à cause d'un brouillage. Exécuter un reset (appuyer avec une pointe dans l'orifice de reset). |
| Le panneau de commande n'est pas correctement positionné. | |
| Le CD saute. | L'angle de montage est supérieur à 30°. |
| Le CD est très sale ou défectueux. | |
| Erreur lors de la gravure d'un CD personnel. Le tester dans un autre apparéil de lecture. | |
| L'appareil branché au niveau de la prise USB ne fonctionne pas. | La prise USB est réservée aux apparéils répondant à la norme USB. Les apparéils disponibles sur le marché ne respectant pas tous cette norme. Vous avez peut-être branché un apparéil ne répondant pas à la norme USB. |
| La radio ou la mémorisation automatique des stations ne fonctionne pas. | Le cable d'antenne n'est pas correctement branché. |
| Les signaux d'émission sont trop faibles. Régler les stations manuellement. | |
| La mémorisation des stations ne fonctionne pas. | Le cable du plus permanent (jaune) n'est pas correctement branché. Reportez-vous au chapitre "Montage", page 12. |
| Spécifique au DVD | |
| Image de mauvaise qualité | La(norme correcte (PAL/NTSC)a-t-elle étésélectionnée? |
| Le disque n'est pas lu | Le DVD a-t-il le code régional 2 ou 0? |
Caracteristiques techniques
\section*{Caracteristiques générales}
Tension de service : DC 12 V, connexion à la terre négative
Dimensions de l'appareil : 180 x 175 x 55 mm (I x P x H)
Puisance de sortie : 4 x 15 watts R.M.S. maxi.
Fusibles: 15 ampères (bleu)
Radio
FM : de 87.5 à 108 MHz
Moyennes ondes (MO): de 522 à 1620 kHz
Lecteur de CD/MP3
Puisance du laser : laser de classe 1
Gamm de fréquences : 40 Hz - 18 kHz
Débit MPEG: 64 - 320 k
Lecture MP3: formats MP3 ISO 9660 & Joliet
Prise
AVIN: connecteur jack 3,5 mm
Formats compatibles
CD: CD audio, CD-R,
CD-RW
DVD, Video-CD : MPEG4, DVD+R, DVD-RW,
DVD-R, DVD-RW, JPEG
Support de données USB : 1.1 et 2.0 jusqu'à 8 Go (testé)
Cartes mémoire: SD jusqu'à 1 Go
MMC jusqu'à 512 Mo
SDHC jusqu'à 16 Go (testé)




i Il existe aujourd'hui de nombreux procédés d'enregistrement sur CD et de protection anti-copie dont certains ne sont pas encore standardisés ainsi que différents types de disques vierges CD-R et CD-RW. Des erreurs ou des ralentissements de la lecture peuvent se produit dans certains cas. Il ne s'agit pas d'un defaulted de l'appareil.
FR-46
Cet apparéil est homologué selon la directive 2004/104/CE (modifiée en dernier lieu par la directive 2006/28/CE) – « Compatibleité electromagnétique » (nommée homologation E).
e13 03 9910
Sous réserve de modifications techniques!
FR
Recyclage
Emballage

Les différents emballages usagés sont recyclables et doivent par principe être recyclés.
Appareil

Lorsque l'appareil arrive en fin de vie, ne le jetez jamais dans une poubelle classique. Informez-vous auprès de votre municipalité des possibilités d'élimination écologique.
Piles

Les piles usagées ne sont pas des déchets domestiques! Elles doivent être déposées dans un lieu de collecte de piles usagées.


82339 DVD-Autoradio DE Content.book Side 48 Mittwoch, 29. April 2009 8:41 08












Inhoudsopgave
Overzicht 3
Garantie limitée Suisse 19
Garantie limitée Suisse
I. Conditions générales de garantie
1. Généralités
Les produits MEDION sont des apparciels électriques d'une qualité technique élevée. Il est indispensable de prendre reconnaissance du manuel d'utilisateur et des modes d'emploi joints à la livraison. Veuillez tener compte du fait que le produit comprend des composants de haute précision qui peuvent être rayés ou endommagés en cas de manipulation inappropriée.
La garantie commence toujours à partir de la date d'achat de l'appareil MEDION auprès de MEDION ou d'un partenaire officiel de MEDION, et elle s'applique aux dommages matériels et de fabrication de tout type apparaisant dans le cadre d'une'utilisation correcte.
La durée de garantie est déterminée par le bon de garantie joint à l'appareil, ainsi que par la preuve d'achat fournie par le partenaire agréé par MEDION.
Pour toute prétention à cette garantie limitée, vous devez en informer MEDION ou le partenaire agree dans un-delai raisonnable suite à la découverte du défaut présumé, et ce dans tous les cas pendant la durée de garantie indiquée sur le bon de garantie joint à l'appareil.
Veuillez conserveur précieusement la preuve d'achat originale et le bon de garantie. MEDION et son parteinaire agree se réservent le droit de refuser une réparation sous garantie ou une confirmation de garantie si cette preuve ne peut être fournie.
Si un renvoi est nécessaire, veuillez vous assurer que votre apparéil est emballé de façon à ne pas être endommagé pendant le transport. Sauf mention contraire sur le bon de garantie, les frais ainsi que les risques de transport sont à votre charge.
Veuillez joindre à votre apparéil une description du défaut la plus détaillée possible. Afin de faire valorir vos droits à la garantie ou avant le renvoi, veuillez contacter le centre d'appeal de MEDION. Vous obtiendarez une ↔reference (n°. RMA) que nous vous demandons d'indiquer très lisiblement sur le colis.
L'appareil doit toujours être complèt lors du renvoi, ce qui signifie qu'il doit comprendre toutes les pieces jointes au set de livreaison. Toute réception incomplète de votre envoi entraînera un retardement de la réparation / de l'échange. Pour les matériaux envoyés en supplément ne faisant pas partie du set de livreaison initial, MÉDION décline toute responsabilité.
Cette garantie n'a aucune répercussion sur vos droits légaux et elle est soumise à la législation en vigueur du pays dans lequel le consommateur final a acquis l'appareil pour la première fois auprès d'un revendeur/agréé par MEDION.
2. Etendue de la garantie
Dans le cas d'un défaut couvert par cette garantie sur votre apparéil MEDION, MEDION garantit la réparation ou l'échange de l' apparéil MEDION. La décision entre la réparation et l'échange de l' apparéil incombe à MEDION. A ce sujet, MEDION

peut decide à son gré de remplacer l'appareil renvoyé pour réparation sous garantie par un apparéil entièrement révisé de qualité identique.
MEDION acquiert la propriété de toutes les pieces du produit ou équipements ayant eté remplacés par MEDION.
Les piles ou accus ont une garantie de 6 mois. Aucune garantie ne sera applicable pour les consommables, c'est-à-dire les pieces devant être remplacées régulièrement lors de l'utilisation de l'appareil, comme par ex. la lampe à projection du détecteur.
Une erreur de pixelisation (point d'image constamment plus coloré, plus clair ou plus nombre) ne doit pas être considérée par principe comme un début. Vous trouverez le nombre exact de pixels défectueux autorisés dans la description du manuel d'utilisation de ce produit.
MEDION ne se porte pas garant des images brûlées sur les apparciels à écran plasma ou LCD, lesquelles sont apparues à cause d'une utilisation inappropriée de l'appareil. Vous trouverez le procédé exact d'utilisation de votre appariel à écran plasma ou LCD dans la description du manuel d'utilisation de ce produit.
La garantie ne s'étend pas aux défauts de reproduction de supports de données ayant été établis dans un format non compatible ou avec un logiciel inapproprié. S'il avait apparaitre lors de la réparation qu'il s'agit d'un défaut n' étant pas couvert par la garantie, MEDION se réserve le droit de facturer au client les frais engendrés sous forme de forfait de manutention, ainsi que les frais de réparation pour le matériel et le travail effectué, lesquels sontprésentés au client dans un devis.
3. Exclusion/ restriction
MEDION ne se porte pas garant pour les défaillances et dommages dus aux influences externes, les dommages commis par inadvertance, l'utilisation inappropriée, les modifications, transformations et extensions effectuees sur l'appareil MEDION, l'utilisation de pieces étrangères, la néligence, les virus et erreurs de logiciels, un transport ou un emballage inapproprié, ou pour la perte lors du renvoi de l'appareil à MEDION.
La garantie expire si le défaut sur l'appareil a ete cause par une maintenance ou une réparation n'ayant pas ete effectuée par MEDION ou par un partenaire agree par MEDION. La garantie expire egressement si des etiquettes collantes ou des numeros de série de l'appareil ou si un composant de l'appareil ont ete modifiés ou rendus illisibles.
Cette garantie comprend vos recours uniques et exclusifs vis-à-vis de MEDION, et elle represente la responsabilité unique et exclusive de MEDION pour les défauts apparaissant sur le produit.
La garantie limitée remplace toute autre garantie et responsabilité de MEDION, indépendamment du fait que celle-ci ait été accordée oralement, par écrit, par contrat ou en raison de dispositions légales (non impératives) ou qu'elle résultat d'un acte non autorisé.
La responsabilité est limitée, selon la hauteur, au prix d'achat du produit. Les restrictions de responsabilité précédentes ne s'appliquent pas dans le cas ou MEDION agit intentionnellement ou par néligence grave.
4. Centre d'appels du service après-vente
Avant de renvoyer l'appareil à MEDION, vous veez vous adresser au centre d'applés du service après-vente. Vous obtiendarez plus d'informations concernant la façon de faire valor vos droits à la garantie.
Le centre d'appels du service après-vente est à votre disposition 365 jours par an, ainsi que le dimanche et les jours fériés.
Le centre d'appels du service après-vente ne remplace enaucun cas une formation de l'utilisateur aux logiciels et au matériel, la consultation du manuel d'utilisation ou n'effectue par le suivi de produits étrangers.
II. Conditions particulières de garantie pour les PC MEDION, ordinateurs portables, Pocket PC (PDA) et apparéils avec fonction de navigation (PNA)
Si l'une des options jointes à la livraison est défectueuse, vous avez également droit à la prise en charge de la réparation ou au remplacement. La garantie couvre les frais de matériel et de travail effectué pour la remise en état de fonctionnement de l'appareil MEDION concerné. L'utilisation sur votre(APpeariel)de matériel n'ayant pas été fabriqué ou distribué par MEDION peut entraîner l'expiration de la garantie s'il est prové que ce matériel aentrâté un dommage sur l'appareil MEDION ou sur les options jointes à la livraison.
Une garantie illimitée est accordée pour les logiciels joints à la livraison. Ceci s'applique également à un système d'exploitation préinstallé ou également pour les programmes joints à la livraison. Pour les logiciels joints à la livraison par MEDION, MEDION garantit pour les supports de données, par ex. disquette ou CD-ROMs, sur lesquels sont livrés ces logiciels, une absence de defaults de matériel et d'utilisation pour une durée de 90 jours à partir de la date d'achat de l'appareil auprès de MEDION ou d'un partenaire commercial/agréede MEDION.
En cas de livraison d'un support de données défectueux, MEDION le remplace à titre gratuite ; toutes prétentions supplémentaires sont exclues. A l'exception de la garantie pour les supports de données, tout logiciel sera livré sans garantie des defaults. MEDION ne garantit pas que ces logiciels fonctionnent sans interruptions ou sans defaults ou qu'ils répondent à vos exigences. Pour les cartes jointes au set de livraison concernant les appareils équipés d'une fonction de navigation, aucune garantie n'est accordée pour l'intégrality.
Pour la réparation de l'appareil MEDION, il peut être nécessaire d'effacer toutes les données de l'appareil. Avant d'envoyer l'appareil, assurez-vous que vous possédez une copie de sauvêgarde de toutes les données se trouvant sur l'appareil.
Il est expressement signalé que, dans le cas d'une réparation, l'état de livreaison sera rétabli. MEDION ne se porte pas garant pour les frais dus à une configuration de

logiciel, une réception manquée, la perte de données ou de logiciel, ou à d'autres dommages consécutifs.
III. Conditions particulières de garantie pour la réparation sur place ou pour le remplacement sur place
Si le bon de garantie joint à l'appareil mentionne un droit à la réparation ou au remplacement sur place, les conditions particulières de garantie pour la réparation ou le remplacement sur place de votre apparéil MEDION sont applicables. Pour l'exécution de la réparation ou le remplacement sur place, vous doivent de leur côté vous assurer de ce qui suit :
Il doit être accordé au collaborateur de MEDION un accès aux apparciels sans restriction, en toute sécurité et sans retard.
□ Les dispositifs de télécommunication nécessaires aux collaborateurs de MEDION pour uneexecutionreglementairedevoretedemande,danslebutd'effectuer des tests et diagnostics,aisinquepourledepannage,doiventetremisà disposition àvospropres frais.
- Vous étés vous-même responsable de la remise en état de vos propres logiciels d'application après avoir eu recours aux services de MEDION.
□ Vous doivent prendre toutes les mesures nécessaires à l'exécution en bonne et due forme de la demande par MEDION.
□ Vous étés vous-même responsable de la configuration ou du raccordement d'appareils externes après avoir eu recours aux services de MEDION.
La durée pour l'annulation sans frais d'une réparation ou d'un remplacement sur place est de 24 heures, les frais engendrés pour nous par l'annulation tardive ou absente seront facturés.
Notice Facile