MD 82339 - Autoradio MEDION - Kostenlose Bedienungsanleitung
Finden Sie kostenlos die Bedienungsanleitung des Geräts MD 82339 MEDION als PDF.
Laden Sie die Anleitung für Ihr Autoradio kostenlos im PDF-Format! Finden Sie Ihr Handbuch MD 82339 - MEDION und nehmen Sie Ihr elektronisches Gerät wieder in die Hand. Auf dieser Seite sind alle Dokumente veröffentlicht, die für die Verwendung Ihres Geräts notwendig sind. MD 82339 von der Marke MEDION.
BEDIENUNGSANLEITUNG MD 82339 MEDION
Inhaltsverzeichnis. 3
Ubersicht. 3
Bedienteil. 3
Hinter dem Bedienteil 4
Fernbedienung 5
Fernbedienung in Betriebnehmen 7
Sicherheitshinweise 8
Elektrische Geräte nicht in Kinderhände 8
Verwendungszweck 8
Verkehrssicherheit 8
Einbau 8
Niemals selbst reparieren 9
Sonneneinstrahlung. 9
Der CD-/DVD-Spieler 9
Laufwerke und Anschlisse 9
Umgang mit Batterien 10
Das Gerät reinigen 10
Lieferumfang. 11
Einbau 12
Einbauhinweise. 12
ISO-Schacht und -Anschlisse 13
Den Einbaurahmen montieren 13
Anschlüsse an der Radiorückseite 15
Autoradio einsetzen. 18
Bedienteil. 18
Reset 19
Das Gerät ausbauen 19
Erläuterungen zu den Kabeln 20
Allgemeine Funktionen 23
Uhrzeit. 23
DE-1



Ein-/ausschalten 23
Lautstärke. 23
Betriebsart (_ Mode") 23
Reset 24
Grundeinstellungen fur das Autoradio (MENU) 24
Radiobetrieb: Grundfunktionen 26
Bandbereich wahlen 26
Sender suchen 26
Sender speichern 27
Sender aufrufen. 28
Radiobetrieb: Radio Data System 29
Alternative Frenzen (Taste AF). 29
TA - Verkehrsfunk 30
PTY-Funktionen 30
Betrieb mit Datenträgern (DVDs, Audio-CDs, MP3, USB, SD/MMC,
(AV IN) 33
Das CD-/DVD-Laufwerk 33
Der USB-Anschluss 35
Das SD/MMC-Kartenlesengerät 35
Der AV IN-Anschluss 35
DVD-Betrieb 36
Wiedergabefunktionen 36
Wiedergabeinformationen aufrufen 41
Das DVD-Setup. 42
Wenn Störungen auftreten 45
Technische Daten 46
Entsorgungshinweise 47
Übersicht
DE
Bedienteil

- : Ein paar Sekunden gedrückt halten, um das Gerät auszuschalten (einschalten mit jeder Taste außer und möglich); MODE: durch wiederholtes Drücken Betriebsmodus wahren
- : Beim Drücken dieser Taste klapt das Bedienteil elektrisch gesteuert nach vorne und der Diskschacht wird sightbar. Falls eine Disk eingelegt ist, wird diese ausgeworfen.
- BAND: Bandbereichsauswahl im Radiomodus (FM 1, FM2, FM3, MW1, MW2)
- : Bedienteil offen
- VOL: Lautstärke anheiten (▲) bzw. senken (▼)
- AS/PS: 2 Sekunden drücken für die automatische Senderspeicherung
- MENU: Einstellungenmenu des Autoradios öffnen
- Display und TFT-Bildschirm
- IR: Infrarotsensor für die Fernbedienung
- USB-Anschluss
- AV IN: Weiteres Audio-/Videogerät mit Klinkenstecker anschließen
- |: Sendersuche vorwärts; zum{nachsten Titel; länger drücken fur Schnelllauf vorwärts
- RPT („Repeat“): Wiederholfunktion bei Datenträgern
14.▶I: Pause und Wiedergabe bei Datenträgern
DE-3
- |: Sendersuche rückwärts; zum Titelanfang und vorherigen Titel; länger drücken für Schnelllauf ruckwärts
- PTY ("Program Type"): Sender mit bestimmten Programminhaltenuchen;
LOC: Etwas gedrückt halten, um zwischen lokalen (LOC) und entfernten Sendern (DX) umzuschalten (siehe Seite 27). - AF ("Alternative Frequency")/REG: Kurz drücken, um den AF-Modus ein- und auszuschalten; länger drücken, um Regionalmodus im AF-Modus ein- und auszuschalten; siehe Seite 29
- TA ("Traffic Announcement"): Verkehrsfunksender aktivieren (siehe Seite 30);
ST: Zwischen Stereo und Mono umschalten
Hinter dem Bedienteil

- Kontakte
- CD-/DVD-Fach (nur bei elektrisch geöffnetem Bedienteil - Taste ▲ - zu sehen)
- Rote Leuchtdiode (Diebstahlschutz)
- RESET-Öffnung: Auf Werkseinstellungen zurückstellen
- Schlitz für eine SD/MMC-Karte
DE-4

Fernbedienung
- Gerä ein- und ausschalten
- DISP: Informationen für die aktuelle Betriebsart anzeigen
- MODE: durch wiederholtes Drücken Betriebsmodus wahren
- : Auswurftaste für Disk (nicht im DVD-Modus); SLOW: Zeitlupe (DVD)
- SUB-T: Untertitel (DVD)
- AUDIO: Audio-Einstellungen (DVD)
- ANGLE: Kameraperspektiven (DVD)
- MUTE: Stumm schalten
- VOL+/-: Lautstärke anheiten bzw. senken; im Menu: Wert einstellen
- MENU: Einstellungsmenu des Autoradios öffnen
- : Schnelllauf rückwärts, Schnelllauf vorwärts (Datenträger)
- ■: Wiedergabestopp
- GOTO: Bestimme Stelle suchen (Disk); AS/PS: Automatische Senderspe
- PROG: Titelprogrammierung; LO/DX: Zwischen lokalen (LOC) und entfernten Sendern (DX) umschalten (siehe Seite 27).
- RDM ( „Random“): Zufallswiedergabe (Datenträger); MO/ST: Zwischen Stereo und Mono umschalten
-
0: Zifferntaste 0;
BAND: Bandbereichsauswahl im Radiomodus (FM 1, FM2, FM3, MW1, MW2) -
9: Zifferntaste 9;
PTY(,Program Type"):SendermitbestimmtenProgramminhaltensuchen - 8: Zifferntaste 8;
AF ("Alternative Frequency")/REG: Kurz drücken, um den AF-Modus einund auszuschalten; länger drücken, um Regionalmodus im AF-Modusein- und auszuschalten; siehe Seite 29 - 7: Zifferntaste 7;
TA ("Traffic Announcement"): Verkehrsfunksender aktivieren (siehe Seite 30); - Zifferntasten 1 - 6: Stationstasten für gespeicherte Radiosender
- II: Wiedergabe und Wiedergabepause
- TITLE: Titelmenu aufrufen (DVD):
PBC:Playback Control (Video-CDs 2.0) - 1 / 1 TRK TUN-/+: Sendersuche ruckwärts/vorwärts; zum
Titelanfang und vorherigen Titel/nächsten Titel; länger drücken für Schnellauf ruckwärts/vorwärts - SETUP: Setup-MENU des DVD-Player aufrufen
- Pfeiltasten : Im Menu navigieren
- ENTER: Auswahl bestätigen
- ZOOM: Bild vergrößern/verkleinern (DVD)
- A-B: Definierten Abschnitt wiederholen (DVD)
- RPT („Repeat“): Wiederholfunktion bei Datenträgern
Fernbedienung in Betriebnehmen
DE
Die Fernbedienung wird mit installerierter Lithium-Batteriezelle (CR 2025, 3 V) ausgeliefert. Als Transportschutz ist eine Plastikfolie zwischen die Kontakte gelegt.
Schieber den Sie den Clip (1) etwas nachinnen.
Ziehen Sie das Batteriefach Heraus (2).
Im Erstgebrauch: Ziehen Sie die Folie ab.
Batteriewechsel: Nehmen Sie die alte Batteriezelle hereaus und legen Sie eine neue in das Fach. Die Batterie liegt unter den Halteklipsen mit der beschriftetet Seite nach oben (3).
Schieberen Sie das Batteriefach wieder ein (4).



Sicherheitshinweise

Zudieser Anleitung
Lesen Sie vor Inbetriebnahme die Sicherheitsvorschriften aufmerksam durch. Beachten Sie die Warnungen auf dem Gerät und in der Bedienungsanleitung.
Bewahren Sie die Bedienungsanleitung im Auto auf. Wenn Sie das Autoradio verkaufen oder weitergeben, händigen Sie unbedingt auch diese Anleitung aus.
Elektrische Geräte nicht in Kinderhände
Lassen Sie Kinder niemals unbeaufsichtigt elektrische Geräte benutzen. Halten Sie auch die Verpackungsfolien von Kindern fern. Es besteht Erstikkungsgefahr.
Verwendungszweck
Das Autoradio ist nur für den Einbau und den Betrieb in Pkws vorgesehen.
Verkehrssicherheit

Die Verkehrssicherheit ist oberstes Gebot. Bedieren Sie Ihr Autoradio nur, wenn es die Verkehrsrage zulässt. Machen Sie sich vor Fahrtantritt mit dem Gerät vertraut.
Akustische Signale von Polizei, Feuerwehr und anderen Rettungsdiensten müssen im Fahrzeugrechtzeitig wahrgenommen werden können. Regeln Sie deshalb die Lautstärke niemals so hoch, dass Sie die Warnsiren den Rettungsfahrzeuge erst verspätet horen können.
Sie)dürfen die Bildausgabe am Display des DVD-Autoradios nur im stehenden Fahrzeug betreiben. Deshalb muss das Handbremsenkabel am ISO-Block an die Handbremsenanlage des Fahrzeugs angeschlossen werden (siehe "Handbremsenkabel anschließen",Seite 16).
Einbau
Wenn Sie Ihr Autoradio selbst einbauen möchten,lesen Sie die Einbau- und Anschlusshinweise in dieser Anleitung. Wir empfehlen Ihnen, den Einbau des Gerätes durch eine Fachkraft vornehmen zu halten. Damit stellen Sie sicher,
DE-8
dass das Gerä einwandfrei Funktioniert. Eine fehlerhafte Verkabelung kann zu Schäden am Gerä und Ihr dem Auto führen.
DE
Niemals selbst reparieren

Kontrollieren Sie vor dem Einbau Kabel und Gerät auf Beschädigungen. Benutzen Sie das Gerät nicht, wenn Gehäuse oder Kabel beschädigt sind.
Versuchen Sie auf keinen Fall, das Gerät selbst zu öffnen und/oder zu reparieren. Es besteht die Gefahr eines elektrischen Schlags. Wenden Sie sich im Störungsfall an unser Service Center oder eine andere geeignete Fachwerkstatt.
Sonneneinstrahlung
Wenn sich das Fahrzeuginnere, z. B. durch längere Sonneneinstrahlung, stark aufgeheizt hat, erhmen Sie das Autoradio nicht那么简单 in Betrieb.
Warten Sie, bis das Auto eine Weile gefahren wurde und das Autoradio abkühlen konnte.
Der CD-/DVD-Spieler

Der CD-/DVD-Spieler ist ein Laserprodukt der Klasse 1. Das Gerät ist mit einem Sicherheitssystem ausgerüstet, das das Austreten von gefährlichen Laserstrahlen während des normalen Gebrauchs verhindert. Um Augenverletzungen zu vemeiden, manipulieren oder beschädigen Sie niemals das Sicherheitssystem des Geräts.
Laufwerke und Anschlüsse
Führer Sie keinerlei Fremdkörper in die Öffnungen des Autoradios (Diskfach, USB-Anschluss, Kartenschacht, AV IN-Anschluss) ein. Die Fächer und Anschlüsse können dadurch beschädigt werden.
Schieben Sie CDs/DVDs immer mit der beschrifteten Seite nach oben in das Diskfach. Wenden Sie niemals große Kraft an, wenn Sie eine Disk einlagen, eine Karte einschieben oder ein externes Gerät anschließen. Wenn Sie einen Widerstand spären, versuchen Sie es auf eine andere Weise bzw. mit einem anderen Medium.
Umgang mit Batterien
Die Fernbedienung wird mit einer Batterie betrieben. Batterien können brennbare Stoffe enthalten. Bei unsachgemäßer Behandlung konnen Batterien auslaufen, sich stark erhitzen, entzünden oder gar explodieren.
Befolgen Sie folgende Hinweise:
Halten Sie Kinder von Batterien fern.
□ Sollten Batterien verschlucht worden sein, melden Sie dies sofort Ihr dem Arzt.
Laden Sie niemals Batterien (es sei Denn, dies ist ausdrücklich angegeben).
Tauschen Sie immer bereits Batterien gleichzeitig aus.
- Vertauschen Sie niemals die Polarität (+ / -) .
Entladen Sie die Batterien niemals durch hohe Leistungsabgabe.
Schlieben Sie die Batterien niemals kurz.
- Setzen Sie Batterien niemals übermäßigiger Wärme wie durch Sonnenschin, Feuer oder dergleichen aus!
Zerlegen oder verformen Sie die Batterien nicht. Ihr Höhe oder Finger konnten verletzt werden oder Batterieflüssigkeit könnte in Ihr Augen oder auf Ihr Haut gelangen. Sollte dies passieren, spulen Sie die entsprechenden Stellen mit einer großen Menge klaren Wassers und informieren Sie umgehend ihren Arzt.
- Vermeiden Sie starke Stöße und Erschütterungen.
Reinigen Sie bei Bedarf Batterie- und Gerätekontakte vor dem Einlagen.
Entfernen Sie verbrauchte Batterien sofort aus dem Gerät.
Entfernen Sie die Batterien aus Ihr Gemät, wenn diese über einen langen- ren Zeitraum nicht benutzt wird.
- Isolieren Sie die Kontakte der Batterien mit einem Klebestreifen, wenn Sie Batterien lagern oder entsorgen wollen.
Das Gerät reinigen
Verwenden Sie für die Reinigung ein trockenes, weiches Tuch. Benutzen Sie keine chemischen Lösungs- und Reinigungsmittel, weil diese die Oberfläche und/oder die Beschriften des Geräts beschädigten können.

Schützen Sie das Gerät vor Feuchtigkeit. Berühren Sie das Gerät nicht mit feuchten Händen. Es besteht die Gefahr eines elektrischen Schlags!
DE-10
Lieferumfang
DE
Bitte überprüfen Sie die Vollständigkeit der Lieferung und benachrichtigen Sie unsitte innerhalb von 14 Tagen nach dem Kauf, falls die Lieferung nicht komplett ist. Mit dem von Ihnen erworbenen Produkt haben Sie erhalten:
DVD-Autoradio
Bedienteil
Fernbedienung inkl. Batterie
USB-Adapterkabel
ISO-Buchse mit Kabeln
Etui
Einbaurahmen (aufgesteckt)
2 Schlüssel zum Abziehen des Einbaurahmens und Herausziehen des Gerätes

Weiteres Befestigungsmaterial für den individuellen Einbau
These Bedienungsanleitung
Garantiekarte

Einbau
Einbauhinweise

Klemmen Sie vor dem Einbau den Minuspol an der Autobatterie ab! Es besteht die Gefahr des Kurzschlusses und des Stromschlags! Das Handbremsenkabel und das Kabel für die Ruckfahrkamera (siehe Seite 16) dürfen nur von Fachleuten angeschlossen werden. Lassen Sie diese Installation in einer Fachwerkstatt durchführren, wenn Sie nicht über die notwendigen Kenntnisse verfügen!
Kontrollieren Sie, ob die Anschlussbelegung Ihres Fahrzeugs mit der Belegung am Autoradio übereinstimmt (siehe "Belegung des ISO-Blocks", S. 13).
Verlegen Sie die Kabel nicht unter Zug, nicht über scharfe Kanten, oder in der Nähe von Teilen, die sich erhitzen konnen. Achten Sie darauf die Kabel nicht zu knicken, oder zu verdrehen.
- Setzen Sie das Gerät in den darauf vorgesehenen Schacht ein, oder wahren Sie einen Platz für die Montage des Geräts, an dem es die normalen Fahraufgaben des Fahrers nicht behindert.
Schließen Sie kurz die Kabel an, bevor Sie das Gerät endgültig einbauen. Stellen Sie sicher, dass diese richtig eingesteckt sind und dass das System richtig Funktioniert.
Falls Änderungen am Fahrzeug erfolderlich sind, wenden Sie sich an ihren Fahrzeughändler/-fachwerkstatt.
Bauen Sie das Gerät so ein, dass keine Verletzungen bei starkem Bremsen entstehen können.
- Wenn das Gerät mehr als 30^ aus der Waage-rechten eingebaut wird, kann es seine opti-male Leistung verlieren.
Vermeiden Sie den Einbau des Gerätes in der Nähe hoher Temperaturen (z. B. direkte Sonneneinstrahlung oder Heizungsluft), Staub, Schmutz oder übermäßige Erschüttungen. Das Gerät kann dadurch beschädigt werden.
Halten Sie sich bei der Montage tatsäch an die Anweisungen dieser Anleitung. Kontrollieren Sie, bevor Sie die Autobatterie wieder anklemmen, alle Anschlüsse.

Maximaler Einbauwinkel
DE-12




ISO-Schacht und -Anschlüsse
Das Autoradio ist zum Einbau in einen Standard-ISO-Einbauschacht vorgesehen. Er muss mindestens die Größe 53 × 182 ~mm haben.

DE
Der ISO-Schacht ist normalerweise mit zwei ISO-Buchsen und einem Antennenstecker ausgestellt.

Sollte Ihr Kraftfahrzeug keinen ISO-Einbauschacht besitzen bzw. nicht mit den Anschlüssen ausgestattet sein, können die mitgelieferten Kabelbuchsen verwendet werden. Wenden Sie sich an ihre Fachwerkstatt, den Fachhandel oder die Fachabteilungen der Warenhäuser. Vgl. hierzu das Kapitel "Erläuterungen zu den Kabeln", Seite 20.
Den Einbaurahmen montieren
Entfernen Sie vor der Montage die beiden Transportsicherungsschrauben mit einem Kreuzschraubenderehervomoberen Radiogehause(durch gelbe Fahnchen gekennzeichnet)!

Im Auslieferungszustand ist der Einbau-rahmen über das Autoradio gezogen. Ziehen Sie zunachst den Einbaurahmen vom Gehäuse des Autoradios ab.
Hierfür schieben Sie die beiden mitgelieferten Schlüssel links und rechtszwischen Gerät und Einbaurahmen (1), bis die Schlüssel einrasten.

Dann schieben Sie den Einbaurahmen mithilfe der Schlüssel nach hinten über das Gerät (3).
- Stecken Sie den Einbaurahmen in den ISO-Einbauschacht.


Armaturen Brett
Um den Einbaurahmen im Einbauschacht zu fixieren, biegen Sie möglichst viele Laschen mit einem Schraubendreher nach außen. Wahlen Sie diejenigen Laschen aus, die sich fest mit dem Gehäuse des Einbauschachts verbinden.



Überprüfen Sie anschließend den Einbaurahmen auf festen Halt. Der Rahmen muss fest fixiert sein, so dass er sich auch bei starkem Bremsen nicht länger kann.
Anschlüsse an der Radiorückseite
Die Rückseite des Autoradios im Überblick:

KabelverbindungenVBoreiten
Entfernen Sie nicht die Fahrenchen an den Kabeln. Sie benötigen sie für den richtigen Anschluss.
Ziehen Sie die Anschlüsse, die sich im ISO-Schacht Ihr's Autos befinden, sowie而来, dass Sie sie mit den Anschlüssen am Autoradio verbinden können.
Kabelverbindungen vornehmen
Benutzen Sie beim Einbau den ISO-Steckerblock des Autoradios. - Falls die ISO-Stecker Ihr's Fahrzeugs nicht auf die ISO-Buchsen des Autoradios passen sollenen, können Sie in Fachwerkstätten, im Fachhandel oder in den Fachabteilungen der Warenhäuser entsprechende Adapter erwerben.
Mit den beiden ISO-Steckern Ihres Fahrzeugs (für die Lautsprecher und für Stromverbindungen) sind sichere und richtige elektrische Verbindungen hergestellt. Für den Fall, dass Sie die Kabel jeder individuell verlagen halten möchten, erläutern wir am Ende thesek Kapitels die Bedeutung der Kabel im Einzelnen.
-
Verbinden Sie den Stecker des ISO-Buchsenblocks mit der Buchse für den ISO-Buchsenblock an der Rückseite des Autoradios.
-
Verbinden Sie die beiden ISO-Stecker des Fahrzeugs mit den beiden ISO-Blöcken des Autoradios (A für Strom und B für die Lautsprecher).
- Verbinden Sie den Antennenstecker der Fahrzeugantenne mit der Antennenbuchse des Autoradios.
- Verbinden Sie Kabel mit den farbigen Buchsen entsprechend der Kennzeichnung mit den entsprechenden Steckern im Auto (siehe auch folgenden Kapitel).
Wenn Sie einen externen Veränderer setzen, können Sieihn mit den rot/weißen Audio-Cinch-Buchsen verbinden. Beachten Sie hierzu auch die Bedienungsanleitung des Veränderkers.
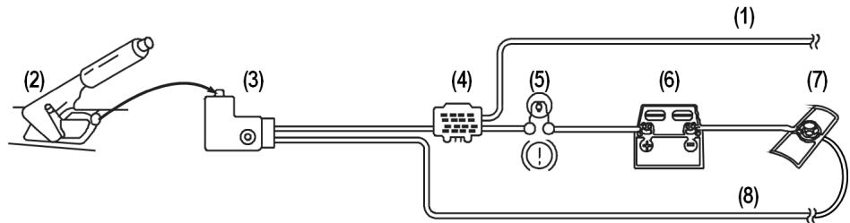
Handbremsenkabel anschließen
Der DVD-Playerarf nur im stehenden Fahrzeug bei angezogener Handbremse betriebenen werden. Deshalb muss das rosa-schwarze Handbremsenkabel an die Handbremse angeschlossen werden.
Schematische Darstellung des Anschlusses - nur von Fachleuten durchführten halten:

- Rosa-schwarzes Handbremsenkabel „PARKING BRAKE (B-)“ am Autoradio
- Handbremse
- Handbremsenschalter für Handbremsenanzeige am Armaturenbrett
- Klemme zum Anklemmen des rosa-schwarzen Kabels
- Handbremsanzeige am Armaturen Brett
- Autobatterie
- Karosserie
- Vorhandenes Massekabel (mit Karosserie verbunden)
DE-16







Rückfahrkamerakabel anschließen
Falls Ihr Fahrzeug mit einer Rückfahrkamera ausgestattet ist, können Sie das Bild dieser Kamera im Rückwärtsgang auf das Display des Autoradios übertragen. Hierzu müssen Sie das rosa Rückfahrkamerakabel anschließen:
Schematische Darstellung des Anschlusses - nur von Fachleuten durchführten halten:

DE
- Rosa Rückfahrkamerakabel „CAMERA CONTROL (B+)" am Autoradio
- Klemme zum Anklemmen des rosa Kabels
- Vorhandenes Rückfahrscheinwerferkabel
Senderspeicher testen
In einigen Fahrzeugmodellen ist im ISO-Stecker für den ISO-Block A die standardmäßige Belegung der Kabel Dauerplus und Schaltpluswerkseitig vertauscht (vgl. hierzu “Belegung des ISO-Buchsenblocks am Autoradio”, Seite 22). Dies bewirkt, dass die Senderspeicherung nicht Funktioniert.
Bevor Sie das Autoradio endgültig einbauen, probieren Sie folgendermaßen aus, ob Sie die Sender gespeichert bleiben:
Klemmen Sie die Autobatterie wieder an.
Schalten Sie die Zündung des Fahrzeugs ein.
Schalten Sie das Radio ein.
Führn Sie eine automatische Senderspeicherung durch, indem Sie die Ta- ste Taste AS/PS fur etwa zwei Sekunden lang gedrückt halten (vgl. hierzu auch "Automatisch speichern", Seite 27).
Schalten Sie die Zündung des Fahrzeugs aus.
Schalten Sie die Zündung wieder ein und stellen Sie fest, ob die Sender noch gespeichert sind (drücken Sie hierzu die Stationstasten 1 bis 6).
Wenn die Sender gespeichert sind, konnen Sie das Radio einbauen.
Sind die Sender nicht mehr gespeichert, sollen den Sie einen Adapter einsetzen, der im Fachhandel erhältlich ist, oder in einer Fachwerkstatt eine An

passung der Kabel vornehmen setzen. Beachten Sie für diesen Fall das Kapitel "Erläuterungen zu den Kabeln", Seite 20.
Autoradio einsetzen
Schieben Sie das Autoradio vorsichtig in den Einbaurahmen, bis es einrastet.
Beachten Sie beim Einschieben die Verlegung der Kabel; sie dürfen nicht geknickt, gequetscht oder unter Spannung gesetzt werden.

Bedienteil
Bedienteil einsetzen
- Setzen Sie das Bedienteil zuerst mit der rechten in den Rahmen
Drucken Sie dann die linke Seite vorsichtig fest, bis sie einrastet.
Überprüfen Sie, dass das Bedienteil richtig und fest auf seinem Platz sitzt. Ist das Bedienteil nicht richtig eingebaut, erschieden im Display Fehlinformationen und/oder eine Tasten haben Fehlfunktionen.

Bedienteil abnehmen
Drucken Sie die Taste . Das Bedienteil留存 sich und sie können es abnehmer.

Diebstahlsicherung

Wenn das Bedienteil nicht in den Rahmen eingesetzt ist, blinkt am Gerät die Diebstahlschutz LED.

Kontakte
Bei abgenommen Bedienteil liegen die Kontakte am Bedienteil und am Radio frei.
DE-18






Achten Sie daraufuf, dass die frei liegenden Kontakte nicht verschmutzen. Das Autoradio konnte dann nicht einwandfrei Funktionieren. Bewahren Sie das Bedienteil zum Schutz immer im Etui auf.
Reinigen Sie die Kontakte ggf. mit einem sauberen, fusselfreien und trockenen Tuch.
Reset
Um das Radio in Betrieb zunehmen, drücken Sie mit der Mine eines Kugelschreiben oder einem anderen spitzen Gegenstand in die RESET-Öffnung.
- Wenn das Autoradio eine Fehlfunktion aufweist, die sich durch Ausschalten und Einschalten nicht beheben{lsst, drücken Sie mit der Mine eines Kugelschreibers oder einem anderen spitzen Gegenstand in die Taste RESET-Öffnung.

Das Gerät ausbauen
Nehmen Sie das Bedienteil ab.
Ziehen Sie den Blendrahmen ab.
Führer Sie den rechten und den linken Schlüssel in den jeweiligen Schlitz an den Seiten des Gerätes ein. Die beiden Haltelaschen sind nun zurückgebogen und Sie konnen das Gerät Herausziehen.



Erläuterungen zu den Kabeln

Die Erläuterungen zu den Kabeln dieren für den Fall, dass die Kabel individuell verlegt werden müssen. Wenden Sie sich hierfür an eine Fachwerkstatt und geben Sie die mitgelieferten ISO-Stecker und die Informationen thesek Kapitels an die Fachwerkstatt weiter.
Um das Radio mit den ISO-Steckern Ihres Fahrzeugs anzuschreiben, benöti-gen Sie die folgenden Erläuterungen nicht.
Es sind zwei ISO-Stecker mit Kabeln mitgeliefert:
Stecker mit Stromkabeln für ISO-Buchsenblock A
Stecker mit Lautsprecherkabeln für ISO-Buchsenblock B
Stecker mit Stromkabeln für ISO-Buchsenblock A
Stecker mit Lautsprecherkabeln für ISO-Buchsenblock B
Übersicht ISO-Stecker A: Strom
Speicher Back-up (gelb)
Das gelbe Speicher-Back-up-Kabel muss mit Dauerplus verbunden werden. Die Senderspeicherung Funktioniert sonst nicht (vgl. "Belegung des ISO-Buchsenblocks am Autoradio", Seite 22).
Antennen-Relais-Kabel (blau)
Das blaue Kabel steht für eine Relais-gesteuerte Antenne zur Verfügung. Das Relais fahrth die Antenne automatisch aus, wenn das Radio angeschaltet wird. Beim Ausschalten fahrth die Antenne wieder ein.
Dieses Relais-Kabel kann auch zum Steuern eines externen Verständerkers benutzt werden. Zum genauen Anschlussziehen Sieitte die Bedienungsanleitung des Verständerkers hinzu.

Verbinden Sie das blaue Kabel niemals mit dem Motorkabel der Relais-gesteuerten Antenne; dies kann Schaden am Radio verursachen!
DE-20





Um das Radio mit den ISO-Steckern Ihr's Fahrzeugs anzuschreiben, benöti-gen Sie die folgenden Erläuterungen nicht.

Übersicht ISO-Stecker B: Laufsprecher
DE


Wenn das Fahrzeug nur vordere Laufsprecher hat und die Kabel für die hinteren Laufsprecher nicht benötigt werden, müssen die freiliegenden Enden dieser Kabel fachgerecht isoliert werden.

Belegung des ISO-Buchsenblocks am Autoradio
| ISO-Block | BLOCK B - Lautsprecher | BLOCK A - Stromversorgung | |||
| B | 1|3|5|7|2|4|6|8| | 1 | Violett:rechtshlen + | 1 | |
| 2 | Violett/Schwarz:rechtshlen - | 2 | |||
| A | 1|3|5|7|2|4|6|8| | 3 | Grau:rechts vorne + | 3 | |
| 4 | Grau/Schwarz:rechts vorne - | 4 | Gelb:Dauerplus (permanente 12-V-Bordspannung) B+ | ||
| 5 | Weiß:links vorne + | 5 | Blau:Auto-Anteenne (auch für externen Verständiger usw.) | ||
| 6 | Weiß/Schwarz:links vorne - | 6 | |||
| 7 | Grün:linkshlen + | 7 | Rot:Schaltplus (geschaltet 12-V-Spannung, über Zündschloss) | ||
| 8 | Grüm/Schwarz:linkshlen - | 8 | Schwarz: Masse B- | ||
ProblemdurchKabelvertauschung
In einigen Fahrzeugmodellen ist im ISO-Stecker für den ISO-Block A die standardmäßige Belegung der Kabel Dauerplus und Schaltplus werkseitig vertauscht. Wenn dies der Fall ist, sind manche Funktionen beeinträchtigt, z. B. besteht die Senderspeicherung verloren.
Zur Abhilfe müssen das Kabel für Schaltplus (rot) und das Kabel für Dauerplus (gelb) im ISO-Buchsenblock getauscht werden. Hierfür geeignete Adapter sind im Fachhandel erhältlich.

Allgemeine Funktionen
DE

Schalten Sie das Radio nicht über einen längeren Zeitraum ohne laufenden Motor ein. Die Autobatterie kann sich dadurch entladen und das Fahrzeug kann nicht mehr gestartet werden.
Uhrzeit
Ihr Autoradio ist mit einer RDS-gesteuerten Uhr ausgestattet. Sie wird automatisch über den RDS-Sender gestellt und lauft auch bei ausgeschalteten Radio weiter.
Über das Menu können Sie die Uhr auch manuell einstellen (siehe unter).
Ein-/ausschalten
Sie konnen das Radio mit jeder Taste außer außer und einschalten.
Das Radio schaltet sich auch ein, wenn eine Disk oder eine Karte eingelegt oder ein USB-Stick angeschlossen wird.
Halten Sie die Taste Einpeer Sekunden gedrückt,um das Gerat auszuschalten.
Lautstärke
Drucken Sie die Tasten VOL (+) bzw. VOL (-), um die Lautstärke anzuheben bwz. zu senken.
Drucken Sie MUTE, um den Ton ganz aus- und wieder einzuschalten.

Stellen Sie die Lautstärke immer nur so hoch ein, dass Sie die akustischen Signale von Notfahrzeugen jederzeit noch deutlich horen können!
Betriebsart (^ ^ )
- Drücken Sie die Taste MODE wiederholt, um zwischen Radioempfang, CD/DVD-Betrieb, USB-Betrieb, Kartenbetrieb und AV IN-Betrieb zu wechseln.itte beachten Sie, dass ein Datenträger eingelegt bzw. angeschlossen sein muss, um in den jeweiligen Modus wechseln zu konnen.

Reset
Um das Autoradio in den Auslieferungszustand zurückzusetzen, drücken Sie mit einem spitzen Gegenstand, z. B. einem Kugelschreiber, in die RESET-Öffnung. Sie befindet sich hinter dem Bedienteil.
Betätigten Sie das RESET
- bei der ersten Inbetriebnahme nach Anschluss der Kabel,
- wenn nicht alle Funktionstasten funktionieren,
- bei Erscheinen einer Fehlermeldung im Display.

Grundeinstellungen für das Autoradio (MENU)
Drücken Sie die Taste MENU, um das EinstellungsmENU für das Autoradio zu öffnen. Das Menu ist auf Englisch. Es besteht aus den folgenden Bildern:

Um einen Menüeintrag anzuwahlen, drücken Sie | am Hauptgeräter oder die Pfeiltasten auf der Fernbedienung
Um die Auswahl zu bestätigten und z. B. das gewählte Untermenü zu offen, drücken Sie MENU am Hauptgerät oder ENTER auf der Fernbedierung.
Um einen Wert einzustellen, drücken Sie am Hauptgerät oder VOL+ bzw. VOL- auf der Fernbedienung.
Um einen Schritt zurück zu gehen bzw. das Menu zu verlassen, drücken Sie einmal oder mehrmals MODE.am Hauptgerät oder ZOOM auf der Fernbedienung.
DE-24
AUDIO: Tonmenu
| VOLUME | Lautstärke. Sie können hier die Grundlautstärke, mit der sich das Autoradio einschaltet, einstellen. |
| BASS | Basse |
| TREBLE | Höhen |
| BALANCE L.R | Balance zwischen linken und rechten Laufsprechem |
| FADER R.F | Fader; Balance zwischen vorderen und hinteren Laufsprechem |
| EQ | Equalizer: FLAT (Normal) und Voreinstellungen Klassik, Rock, Pop |
| LOUD | Loudness; betont hohe und tiefe Frenzen bei geringer Laufsärke |
| SUB.W | Falls ein Subwoofer angeschlossen ist, können Sie den Sub-woofer hier aktivieren. |
DE
PICTURE:Bildmenu
| BRIGHT | Helligkeit. |
| CONTRAST | Konzust. |
| COLOR | Farben. |
| TINT | Tönungen. |
| DEFAULT | Bildeinstellungen auf den Werkszustand zusätzstellen. |
SETUP
Dieses Menu hat die UntermenüSYSTEM und CLOCK.
SYSTEM: Uhreinstellungen
| TIME | Zeitanzeige ein- oder ausstellen. |
| TIME.M | Zeitmodus: 12-Stunden-Modus oder 24-Stunden-Modus. Im 12-Stunden-Modus erscheint „AM“ für die Vormittags-und „PM“ für die Nachmittagsstunden. |
CLOCK: Die Uhr stellen
Wahlen Sie mit die Stunden an. Stellen Sie die Stunden mit ein.
Wahlen Sie mit die Minuten an. Stellen Sie die Minuten mit ein.
Radiobetrieb: Grundfunktionen
In der Radiofungtion stelt sich das Grunddisplay folgendermaßen dar:

Bandbereich wahlen
- Drücken Sie die Taste BAND, um zwischen UKW (FM1, FM2, FM3), Mittelwelle (MW1 und MW2) zu wechseln. In jeder Bereich können Sie sechs Sender speichern.
Die drei Bandbereiche FM1, FM2 und FM3 und die beiden Bandbereiche MW1 und MW2 decken jeweils den selbst Frenzbereich ab. Auf diese Weise können Sie bis zu 18 Sender im UKW-Bereich und 12 Sender im MW-Bereich speichern.
Sender suchen
Automatischuchen
Drucken Sie eine der Tasten oder kurz, um die automatische Sendersuches auszulosen. Das Gerätucht nun automatisch den nachsten Sender.
Um die Suche anzuhalten, drücken Sie wiederum.
Manuellsuchen
- Wenn Sie eine der Tasten «» etwas länger gedrück halten, schalten Sie die manuelle Sendersuche ein. Im Display erscheint MANU.
Verändern Sie den Wert wiederum mit▶.
DE-26





Stereo und Mono
UKW-Sender werden in Stereo gesendet. Falls der Empfang schlecht ist, konnen Sieihn u. U. verbessern, indem Sie mit ST auf Mono umschalten.
DE
Lokaler Suchmodus
Sie können verhindern, dass bei einer automatischen Sendersuche zu weitere Sender befinden werden, indem Sie den lokalen Suchmodus (LOC) einstellen. In diesen Modus werden nur Sender mit starken Signalen befinden.
Um auch entferntere Sender zu finden, schalten Sie mit LOC (LO/DX) den Modus LOC aus. jetzt ist der Modus DX aktiviert.
AF-Sendersuchen
Im AF-Modus wechselt das Radio im UKW-Band automatisch zu einer Station mit einer alternativen Frequenz, die desselbe Programm ausstrahlt, wenn der Empfang der ursprünglichen Frequenz zu schwach wird (,AF^ = ,) Alternative frequency") (vgl. auch die Erläuterung "Alternative Frequenzen (Taste AF), Seite 29).
Um den AF-Modus einschalten, drücken Sie die Taste AF einmal. Im Display erscheint die AF-Anzeige.
Drücken Sie dann in einem der drei Bandbereiche FM1, FM2 oder FM3 die Taste « oder «, um den UKW-Bandbereich nach Sendern zu durchsuchen, die ein AF-Signal ausstrahlen.
Der Suchlauf hält bei jedem gefundenen Sender an.
Um den AF-Modus zu deaktivieren, drücken Sie AF erneut. Die Anzeigen erlöschen.

Bei der Auslieferung oder nach einem Reset ist der AF-Modus eingeschaltet.

Sender speichern
Manuell speichern
Nach dem der Suchlauf einen Sender gefunden hat, drücken Sie für ca. zwei Sekunden eine der Stationstasten 1 bis 6. In jedem Bandbereich (FM1, FM2, FM3, MW1 und MW2) können Sie sechs Sender speichern.
Das Gerät schaltet nach ein paar Sekunden wieder in die automatische Sendersuchfungtion um.
Automatisch speichern
Halten Sie die Taste AS/PS etwa zwei Sekunden lang gedrückt. Der aktuelle Bandbereich wird nach den sechs stärksten Sendern durchsucht. Die
DE-27

gefundeten Sender werden automatisch auf den Programmplätzen 1 bis 6 gespeichert. Die gefundenen Sender werden für ca. 5 Sekunden angespiel. Danach wird der auf Speicherplatz 1 ablegte Sender gespiel.
Falls Sie die Suche stoppen möchten, drücken Sie eine der Stationstasten 1 bis 6.
Sender aufrufen
Einzelne Sender aufrufen
Wahlen Sie mit BAND den Bandbereich.
Durch Drücken einer der Stationstasten 1 bis 6 rufen Sie die gespeicherten Sender wieder auf.
Gespeicherte Sender durchlaufen
Sie konnen die gespeicherten Sender des aktuellen Sondebereichs aufrufen.
Wahlen Sie mit BAND den Bandbereich.
Drücken Sie kurz die Taste AS/PS. Alle Sender werden für ca. fünf Sekunden angespielt.
- Wenn Sie den gewünschten Sender horen möchten, drücken Sie kurz die Taste AS/PS.
Radiobetrieb: Radio Data System
DE
Das Radio Data System ist ein Service der Rundfunkanstalten. Neben herkömmlichen Musik- und Sprachbeiträgen werden Zusammeninformationen in Form verschlüsselter Digitalsignale ausgesendet, die vom Autoradio angezeigt werden können. Diese Informationen – wie etwa der Sendername oder der Titel der gerade gespielten Musik – werden im Display angezeigt.
Wenn der Sender keine RDS-Signale sendet, erscheintstatt des Sendernamens die Frenz.
Falls der Sender, der RDS-Signale sendet, auch Verkehrsinformationen zur Verfügung stellt, erscheint im Display die Anzeige „TP“ (“Traffic Program” = Verkehrssprogramm).
Alternative Frenzen (Taste AF)
Eine Funktion des RDS ist die AF-Funktion im UKW-Band (,AF^ = ,Alternative Frenzen"). Im RDS-Modus wird beim Verlassen des Bereiches einer Sendestation automatisch auf eine andere Freqenz gewechselt. Der Wechsel ist nur dann erfolgreich, wenn auch der PI-Code übereinstimmt (der PI-Code ist die Programm-Identification, der Programme und Senderketten eindeutig kennzeichnet). So wird vermieden, dass das Radio auf eine Freqenz wechselt, die an thisem Punkt von einem anderen Programm belegt ist.
Drücken Sie die Taste AF kurz, um die AF-Funktion für den Radio Data System-Modus ein- oder auszuschalten. Im Display erscheint bei eingeschalteter Funktion „AF".

Die AF-Anzeige im Display blinkt, wenn keine Radio Data System-Informationen verfügbar sind.
Regionalprogramm-Modus
Einige Sender strahlen zu bestimmten Tageszeiten Regionalprogramme aus. Im Regionalprogramm-Modus kann das Radio nicht auf eine Frequenz wechseln, die ein anderes regionales Programm ausstrahlen.
Um den Regionalprogramm-Modus ein- oder auszuschalten, halten Sie die Taste AF für länger als zwei Sekunden gedrückt. Im Display erscheint „REG".
TA - Verkehrsfunk
"TA" ("Traffic Announcement") ist der Verkehrsfunk-Modus. Wenn der Sender RDS-Signale sendet und Verkehrsfunk zur Verfugung stellt, wird bei eingeschalteter TA-Funktion sofort von anderen Betriebsarten (z. B. CD) auf das Radio umgeschaltet, wenn Verkehrsfunk übertragen wird. Der Lautstärkepegel wird bei Verkehrsdurchsagen angehoben, sofern er zu niedrig war.
Sender, die Verkehrsdurchsagen übertragen, sind im Display durch „TP“ gekennzeichnet.
Drücken Sie die Taste TA, um die TA- Funktion ein- oder auszuschalten. Im Verkehrsfunk-Modus erscheint im Display „TA“, wenn ein Sender mit Verkehrsfunk erreichenbar ist. „TA“ blinkt, wenn kein Verkehrsfunksender erreichenbar ist.
- Wenn die Verkehrsdurchsage erfolgt, leuchtet die Anzeige „TRAFFIC“ permanent.
- Wenn das Radio aus dem CD/MP3-Modus, aus dem USB-Modus oder von einem Sender ohne Verkehrs durchsage auf einen Sender mit Verkehrs-durchsage umschaltet, können Sie diesen Vorgang unterbrechen. Drücken Sie hierzu die Taste TA kurz. Die TA-Funktion wird nun unterbrochen, ohne dass der TA-Modus abgeschaltet wird. Im Display erscheint XXXXXXX.
Drucken Sie wiederum TA, um diese Anzeige auszublenden.

Bei eingeschalteter TA-Funktion konnen während der Sendersuche nur Sender gefunden bzw. gespeichert werden, die ein Verkehrs Funksignal ausstrahlen.
PTY-Funktionen
"PTY" ("Program Type Code") ist eine Funktion, bei der das Autoradio gezielt nach Sendern mit vorwählbarem ProgramminhaltUCTucht. Thiser Service wird von den Rundfunkanstalten zunehmend unterstützt.
DE-30
Um das PTY-MENU zu aktivieren, drücken Sie die Taste PTY. Es erscheint das folgende Display:
DE

Führer Sie mit den Tasten oder auf der Fernbedienung) eine Suche nach PTY-Sendern durch.
Nach ein paar Sekunden beginnt die Sendersuche. Die Sueche stoppt, wenn ein Sender gefunden wurde; wird kein Sender gefunden, Goes das Gerät in den Normalbetrieb zurück.
Sie können die Suche mit jeder Taste abbrechen.
Folgende Programmtypen sind möglich:
NEWS: Nachrichten
AFFAIRS: Aktuelle Ereignisse
SCIENCE: Naturwissenschaft und Technologie
VARIED: Verschiedenes
POP M: Popmusik
ROCK M: Rockmusik
EASY M: Leichte Musik
LIGHT M: Leichte klassische Musik
CLASSICS: Klassik
OTHER M: andere Musik
WEATHER: Wetter
FINANCE: Finanzen, Börse
CHILDREN: Kinderprogramme
SOCIAL: Soziales, Aktivitäten
PHONE IN: Sender mit Anrufmöglichkeit
TRAVEL: Reise
LEISURE: Freizeitaktivitäten
JAZZ: Jazz
COUNTRY: Countrymusik
NATION M: Musik anderer Länder
OLDIES: Oldie-Musik
FOLKS M: Folk-Music
DOCUMENT: Nachrichten-Berichterstattung
TEST: Notfalltest
ALARM: Katastrophemeldungen
Bitte beachten Sie, dass diese Informationen von der Region, der Rundfunkanstalt und dem Sender abhängig sind.
Betrieb mit Datenträgern (DVDs, Audio-CDs, MP3, USB, SD/MMC, AV IN)
DE
Das Autoradio verfügbar über verschiedene Laufwerke und Anschlüsse und kann verschiedene Formate abspielen:
| Laufwerke und Anschlüsse | Datenträger und Formate |
| CD-/DVD-Laufwerk | Für DVDs und Video-CDs. Nur im stehendem Auto. Abspielbare Formate: MPEG4, DVD+R, DVD-RW, DVD-R, DVD-RW, JPEG-Disks. Selbst erstellte DVDs,müssen finalisiert sein. |
| Fürummerzielle Audio-CDs und eigene CDs mit MP3- oder WMA-Dateien. Die CDs können auch das Format CD-R und CD-RW haben. | |
| USB-Anschluss | Für USB-Sticks* oder MP3-Player* |
| SD/MMC-Kartenlesegerät | für SD/MMC-Speicherkarten* mit MP3- oder WMA-Dateien |
| AV IN-Anschluss | Zum Anschluss externer Audiogeräte, z. B. eines CD-Spielers, über einen 3,5 mm-Klinkenstecker |
| * Die Kompatibilität zu allen am Markt erhältlichen MP3-Playern, USB-Sticks oder Speicherkarten kann nicht garantiert werden. |

Die Wiedergabefunktionen der verschiedene Audio-Datenträger sindweitgehend identisch und werden in dieser Anleitung zusammen beschrieben (siehe Seite 36).
Das CD-/DVD-Laufwerk
Sie Das Disk-Laufwerk befindet sich hinter dem Bedienteil.
Disks einlagen und herausnahmen
Drucken Sie die Taste (Auswurf) am Hauptgerät. Das Bedienteil führt nach unten.
- Schieben Sie die Disk mit der beschriften Seite nach oben in den Schlitz. Die Daten werden eingelesen. Im Display erschreiben das Startbild und die Anzeige READ.

DE-33
Dann beginnt die Wiedergabe.
Es ertscheint ein Bildschirm wie hier abgebildet:

Zum Herausnehmen der Disk drücken Sie wieder die Taste am Hauptgerät. Die Disk wird ausgeworfen. Das Autoradio schaltet in den Radio-Modus um.
Schließen Sie das Bedienteil wieder, indem Sie die Taste am heruntergefahrenen Bedienteil antippen.

Die Taste auf der Fernbedienung konnen Sie nicht im DVD-Modus als Auswurftaste benutzen. Schalten Sie im DVD-Betrieb mit MODE auf einen anderen Betrieb um, wenn Sie das Diskfach mit der Fernbedienung öffnen möchten.

Fahren Sie nicht mit einer herausgefahrenen CD.
Entnehmen Sie die CD thereof.
Kein „Springen" bei Erschüttterungen
Das Gerät ist mit einer Funktion ausgestattet, die Erschütterungen, z. B. auf unebenen Straßen, ausgleicht und eine unterbrechungsfrei Wiedergabe auch bei Bewegung des Geräts gewährleistet. Beim Einsalten des Geräts füllt sich der Speicher automatisch mit Daten:
- bei DVDs für 5 Sekunden;
- bei Audio-CDs für 10 Sekunden;
- bei MP3-CDs für 120 Sekunden;
- bei WMA-CDs für 150 Sekunden.
DE-34










Der USB-Anschluss
Sie können einen MP3-Player oder einen anderen USB-Datenträger an den USB-Anschluss an der Gerätefront anschließen.
USB-Gerät anschließen
Verbinden Sie Ihr USB-Gerät (z. B. einen USB-Stick oder einen MP3-Player) mit dem Anschluss. Setzen Sie ggf. das mitgelieferte USB-Adapterkabel für den Mini-USB-Anschluss ein.
Das Autoradio sucks nach MP3- oder WMA-Dateien auf dem Datenträger und im Display erscheint die Meldung USB.
- Wenn das Gerät in einem anderen Modus ist (Radio, CD), können Sie den USB-Anschluss mit MODE anwahlen.
Die Bedienung zum Abspielen von Dateien auf dem externen Datenträger sowie die Suchfunktion fonctionieren möglich wie bei MP3-CDs.

Ziehen Sie das USB-Gerät niemals ab, während Daten noch wiedergegeben werden. Stoppen Sie vorher die Wiedergabe bzw. schalten Sie mit MODE auf einen anderen Betrieb um.
Das SD/MMC-Kartenlesengerät
Das SD/MMC-Laufwerk befindet sich hinter dem Bedienteil.
Karte einlagen und herausnahmen
Drucken Sie die Taste , um das Bedienteil zu losen.
Schieben Sie die Speicherkarte mit den Kontakten nach unten und der abgekanteten Ecke nach rechts in den Kartenschlitz.
Setzen Sie das Bedienteil wieder ein.
Das Autoradio sucks nach MP3- oder WMA-Dateien auf dem Datenträger und im Display erscheint die Meldung SD/MMC.
- Wenn das Gerät in einem anderen Modus ist (Radio, CD), können Sie den USB-Anschluss mit MODE anwahlen.
Der AV IN-Anschluss
Sie können ein weiteres Audiogerät, z. B. einen MPEG4-Player, mit einem 3,5 mm-Klinkenstecker an die AV IN-Buchse des Autoradios anschließen.
- Wenn das Gerät in einem anderen Modus ist (Radio, CD), können Sie den USB-Anschluss mit MODE anwahlen. Im Display entscheidt die Meldung AV IN.
Steuern Sie die Wiedergabe am angeschlossenen Gerät.

DVD-Betrieb

Sie)dürfen nur im stehenden Aufo bei angezogener Handbremse Video-CDs betreiben. Wenn Sie eine DVD bei nicht angezogener Handbremse einlagen, erfolgt die englishsprachige Meldung:
" DISABLED WHILE DRIVING" –,Während des Fahrens nicht in Betrieb".
Uber DVDs
Video-DVDs sind in Titel und Kapitel unterteilt. Eine DVD kann mehrere Titel haben, die wiederum aus mehreren Kapiteln bestehen konnen. Titel und Kapitel sind jeweils fortlaufend nummeriert:

Mit dem DVD-Player in Ihr Autoradio können Sie DVDs mit dem Regionalcode 2 (Europa) und 0 (geeignet für jeder DVD-Player) ab-spielen.

DVD starten
Legen Sie eine DVD ein wie auf Seite 33 beschrieben. Die Wiedergabe startet automatisch.
Wahlen Sie ggf. mit MODE den DVD-Betrieb.
Wiedergabefunktionen

Viele der hier beschriebenen Funktionen können nur mit den Tasten auf der Fernbedienung aktiviert werden.
MP3/WMA-Display
Drucken Sie die Taste DISP. Eserscheint ein Bildschirm wie hier abgebildet:
DE

Auf der linken Seite erscheinen die Ordner, auf der rechten Seite die Titel.
Wahlen Sie mit den Pfeiltasten einen Ordner oder einen Titel und drücken Sie ENTER, um den Ordner oder Titel abzuspielen.
Anzeige der Dateitypen
| Audiodateien | |
| JPEG: Bilddateien | |
| Videodateien |
Pause und Wiedergabe
Die Wiedergabe konnen Sie mit der Taste▶ oder ■ unterbremen. Wahrend der Pause entscheidt „PAUSE" im Display.
Drucken Sie die Taste II noch mal, um die Wiedergabe wieder aufzehmen.
Drucken Sie ■ zweimal, um die Wiedergabe ganz zu stoppen.
Titel überspringen
Mittels der Tasten oder können Sie den nachsten bzw. den vorherigen Titel wahlen. Die Titelnummer wird im Display angezeigt.
Schneller Rück-/Vorlauf
Drücken Sie « « bzw. » wiederholt, um den Schnelllauf in mehreren Stufen zu steigern: 2X > 4X > 8X > 20X > normale Wiedergabe.
Auch mit kommen Sie zur normalen Wiedergabe zusück.
Zeitlupe (DVD, VCD, SVCD)
Drucken Sie die Taste /SLOW wiederholt, um die Zeitlupe in mehreren Stufen zu steigern: 1 / 2 > 1 / 3 > 1 / 4 > 1 / 5 > > 1 / 6 > 1 / 7.

Im DVD-Betrieb kann die Disk nicht mit der Taste auf der Fernbedienung ausgeworfen werden. Wechseln Sie in eine andere Betriebsart, bevor Sie die Disk auswerfen.
Mit kommt Sie zur normalen Wiedergabe darüber.
Wiederholen (CD, MP3, VCD, SVCD)
Drucken Sie die Taste RPT einmal. Im Display erscheint REP 1. Der aktuelle Titel wird wiederholt.
Drucken Sie die Taste REP ein zweites Mal. Bei MP3-Datenträgern erscheint im Display REP DIR. Das aktuelle Verzeichnis wird wiederholt. Bei anderen Datenträgern erscheint im Display REP ALL. Alle Titel wird wiederholt.
Drücken Sie bei MP3-Datenträgern die Taste ein drittes Mal, um alle Titel zu wiederholen (REP ALL).
Ein erneuter Tastendruck setzen die normale Wiedergabe in Gang.
Wiederholen (DVD)
Drucken Sie RPT wiederholt, um zwischen folgenden Wiederholungen zu wahlen:
- REP CHAPTER (Kapitel wiederholen) > REP TITLE (Titel wiederholen) > REP OFF (keine Wiederholung).
Wiederholung A-B (DVD)
Mit dieser Funktion konnen Sie einen selbstgewählten Abschnitt wiederholen.
Drucken Sie A-B, um den Anfang des Abschnitts festzulegen.
Drücken A-B erneut, um das Ende des Abschnitts festzulegen. Der Abschnitt wird endlos wiederholt.
Drücken Sie A-B ein weiteres Mal, um zur normalen Wiedergabezurückzukehren.
DE-38







Zufallswiedergabe aller Titel
Drucken Sie die Taste RDM. Es wird eine zufallsgesteuerte Wiedergabe gestartet.
Ein erneuter Tastendruck setzen die normale Wiedergabe in Gang.
DE
Sprachauswahl/Untertitelauswahl (DVD)
Falls die DVD mehrere Sprachen oder Untertitel hat, können Sie mit der Taste AUDIO eine andere Sprache und mit der Taste SUB-T eine andere Untertitelsprache auswahlen.
Bitte beachten Sie, dass es von der DVD abhängt, ob diese Funktionen möglich sind. Eventuell müssen Sie die Sprache über das LANGUAGE SETUP (Seite 43)ändern.
Audio-Function (VCDs/S-VCDs)
Einige Video-CDs oder Super-Video-CDs haben mehrere Audiokanäle. Bei diesen konnen Sie mit der Taste AUDIO die Kanäle wahren:
STEREO > MONO L (nur linker Kanal) > MONO R (nur rechter Kanal).
Kameraperspektiven (DVD)
Einige DVDs enthalten Szenen, die aus mehreren Perspektiven gefilmt worden sind. Bei diesen konnen Sie mit der Taste ANGLE die Perspektiven umschalten.
Bitte beachten Sie, dass es von der DVD abhängt, wie diese Funktion genau realisiert wird.
Zoomfunktion
- Drücken Sie die Taste ZOOM wiederholt, um das Bild in folgenden Stufen zu vergroßern und zu verkleinern: ZOOM2 > ZOOM3 > ZOOM4 > ZOOM1/2 > ZOOM1/3 > ZOOM1/4 > OFF (normale Bildgröße).
Beim vergroßerten Bild konnen Sie mit einen Bildausschnitt wahren.
Titelmenu (DVD)
Mit der Taste TITLE (Taste MENU am Hauptgerät) öffnen Sie das Titelmenü der DVD. Hier können Sie mit den Pfeiltasten eine Auswahl trefen und mit ENTER bestätigten.
- Falls Sie eine VCD mit PBC (Playback control) abspielen, können Sie das Menu ebenfalls mit TITLE öffnen.
Titelprogrammierung
Drücken Sie die Taste PROG während der Wiedergabe, um das Programmierungsmenu zu öffnen.
| VCD/SVCD/Audio-CD | DVD/MP3/MPEG4 |
| PROGRAM 1 [___] 5 [___] 9 [___] 13 [___] 2 [___] 6 [___] 10 [___] 14 [___] 3 [___] 7 [___] 11 [___] 15 [___] 4 [___] 8 [___] 12 [___] 16 [___] PLAY CLEAR | PROGRAM T C T C T C T C 1----5----9----13------ 2----6----10----14------ 3----7----11----15------ 4----8----12----16------ PLAY CLEAR |
Gehen Sie mit den Pfeiltasten auf den ersten Programplatz.
Geben Sie mit den Zifferntasten den gewünschten Titel ein. Bei DVDs geben Sie den Titel (,T^ ) und das Kapitel (,C^ ) , in dem sich der Titel befindet, ein.
- Wenn ihre,Listekomplettist,gehen Sie mit den Pfeiltastenauf PLAYund drucken Sie ENTER,um die Titel abzuspielen.
GOTO-Funktion
Mit der Taste GOTO können Sie eine bestimmte Stelle auf der Disk direkt anwahlen.
DVD
DVD TT (01)/12
CH(001)/001
00:00:39
VCD/CD/MP3
VCD TRK (09)/18


00:00:12
Wahlen Sie mit den Pfeiltasten die Kategorie, die Sie anwahlen möchten: TT (Titel), CH (Kapitel), TRK (Track) oder (Zeit).
Geben Sie mit den Zifferntasten den gewünschten Wert ein.
Drücken Sie dann ENTER zur Bestätigung; die Disk startet an der eingebenen Stelle.
DE-40
Wiedergabeinformationen aufrufen
Halten Sie die Taste SUB-T ein oder zweimal gedrückt, um Informationen über den aktuellen Wiedergabestatus einzublenden.
DVD

VCD/CD/MP3/JPEG

| Bedeutung der Anzeigen | ||
| 1 | DVD / VCD | Diskart |
| 2 | TT 1/3 | Aktueller Titel / Gesamtzahl der Titel |
| CH 1/1 | Aktuelles Kapitel / Gesamtzahl der Kapitel | |
| TRK 09/18 | Aktueller Track / Gesamtzahl der Tracks | |
| 3 Zeit | ® / T / C | Abgelaufene Zeit des Titels / des Kapitals |
| ® -/T- / C- | Verbleibende Zeit des Titels / des Kapitals | |
| 4 Audio | 1/1 ENG | Aktuelle Sprache / Anzahl der Sprachen |
| 5.1 CH | 5.1-Kanal | |
| 5 | 1/4 ENG | Aktuelle Untertitelsprache / Anzahl der Untertitel-sprachen |
| 6 | ### | Kameraperspektive |
| 7 | ### | Stummschaltung |
| 8 | PBC | Playbackcontrol; nur bei VCD 2.0 mit PBC |
| 9 Wieder-holung | ←1 | Ein Titel wird wiederholt |
| → | Ein Ordner wird wiederholt | |
| ←A | Die ganze Disk wird wiederholt | |
| →X | Wiederholungsmodus verlassen | |
Das DVD-Setup
Mit der Taste SETUP rufen Sie das DVD-Setup auf. Hier können Sie Einstellungen für den DVD-Betrieb vornehmen.

Das DVD-Setup wird hier in englisher Sprache wiedergegeben. Sie können aber auch eine andere Sprache wahren; siehe Seite 43.
Das DVD-Setup besteht aus vier Menüs:
□ Systemmenü
Sprachmenü
□ Audiomenü
Digitalmenü
Im DVD-Setup navigieren
- Wenn SYSTEM SETUP markiert ist, können Sie mit den Pfeiltasten ein anderes Menu wahlen.
Mit geben Sie in die Optionsliste, mit wahren Sie eine Option an.
Um die Einstellung der gewählten Option zu ändern, drücken Sie oder ENTER. Wahlen Sie wiederum mit eine Option im Untermenü aus und bestätigten Sie mit ENTER.
Um das DVD-Setup zu schließen, drucken Sie wieder SETUP.
SYSTEM SETUP: Systemeinstellungen
TV SYSTEM: Das TV-Ausgabestandard. PAL: in europäischen Ländern üblches Farbformat; NTSC: in Nordamerika üblisches Farbformat. AUTO SELECT: Das Farbformat wird automatisch erkannt.
SCREEN SAYER: Bildschirmschoner ON (aktiviert) oder OFF (nicht aktiviert). Der aktivierte Bildschirmschoner erscheint, wenn sich das Bild einzel Minuten nicht bewegt.
DE-42
TV TYPE: TV-Bildformat. Stellen Sie den Bildschirm entsprechend der DVD ein. 4:3 PS („Pan Scan“), 4:3 LB („Letterbox“) oder 16:9.
DE
PASSWORD: Passwort. Es wird für den nächsten Punkt „Elternkontrolle“ benötigt. Das werkseitige Passwort ist „0000". Um es zu ändern, geben Sie these Passwort mit den Zifferntasten ein und bestätigen Sie mit ENTER. Geben Sie dann, wenn Sie dazu aufgefordert werden, ein neues vierstelliges Passwort ein.
Notieren Sie sich ein neues Password an sicherer Stelle, weil es nicht auf die Werkeinstellung zurückgesetzt werden kann.
RATING: Elternkontrolle. Hier stellen Sie die Freigabeklasse für DVDs ein. Klasse 1: auch für keine Kinder geeignet; Klasse 8: nur für Erwachsene.
DEFAULT: Rücksetzen aller Einstellungen auf die Werkseinstellungen. Ein neuen Password und die Freigabeklasse bleiben erhalten.
LANGUAGE SETUP: Sprachmenu
OSD LANGUAGE:Die Sprache des DVD-Menüs und der anderen Bildschirmeinblendungen.
AUDIO LANG.: Voreinstellung für die gesprochene Sprache auf der DVD, sofern auf der DVD verfügbar.
SUBTITLE LANG.:Voreinstellung für die Untertitelsprache auf der DVD, sofern auf der DVD verfügbar.
MENU LANG.: Voreinstellung für die Menüsprache auf der DVD, sofern auf der DVD verfügbar.
AUDIO SETUP: Audioeinstellungen
AUDIO OUT: SPDIF OFF: Der koaxiale digitale Ausgang ist nicht aktiviert.
SPDIF RAW: Zur Ausgabe eines digitalen 2.0-Kanal-Datenstroms.
SPDIF PCM: Standardformat zur Ausgabe eines Stereoformats.
KEY: Basse (B, -4, -2) oder Höhen verständen (+2, +4, #).
DIGITAL SETUP: Digitaleinstellungen
OP MODE: LINE OUT: Der Lautstärkeunterschiede werden angepasst. RF REMOD: Der Ton wird in der Lautstärke unverändert wiedergegeben.
DYNAMIC RANGE: Hier können Sie die Dynamik des Tons in (siehe OP MODE) in einzelnen Stufen einstellen. OFF: Der Ton wird in der Lautstärke unverändert wiedergegeben. FULL: Laute Stellen werden leiser, leise Stellen lauter wiedergegeben.
DUAL MONO: Zweikanalton. STEREO: Stereo-Signal über linken und rechten Laatsprecher. L-MONO: Linker Mono-Kanal über linken Laatsprecher. R-MONO: Rechter Mono-Kanal über rechten Laatsprecher. MIX-MONO: Linker und rechte Mono-Ton über linken und rechten Laatsprecher.
Wenn Störungen auftreten
DE
| PROBLEM | MÖGLICHE URSACHE / ABHILFE |
| Das Gerätlässt sich nicht einschalten. | Die Zündung ist nicht eingeschaltet. |
| Eine der Sicherungen ist defekt. | |
| Die CD wird nicht gela-den oder ausgeworfen. | Es befindet sich bereits eine CD im Autoradio. |
| Die CD ist verkehrt herum eingelegt worden. | |
| Die CD ist verschmutzt oder defekt. | |
| Die Temperaturen im Auto sind zu hoch. Warten, bis sich die Umgebungstemperatur normalisiert hat. | |
| Kondensation. Das Autoradio einpeer Stunden aus-schalten und es dann erneut versuchen. | |
| Kein Ton. | Die Lautstärke steht auf Minimum. |
| Die Kabel sind nicht richtig angeschlossen. | |
| Funktionstasten faktio-nieren nicht. | Der eingebaute Microcomputer kann wegen Rau-schens nicht Funktionieren. Einen Reset durchführren (in die Reset-Öffnung drücken). |
| Das Bedienteil sitzt nicht korrekt. | |
| Die CD springt. | Der Einbauwinkel übersteigt 30°. |
| Die CD ist sehr schmutzig oder defekt. | |
| Fehler bei selbstgebrannten CDs. Die selbstgebrannte CD in einem anderen Abspielgerät überprüfen. | |
| Gerät am USB-Anschluss faktioniert nicht. | Der USB-Anschluss ist für Geräte, die nach der USB-Norm faktionieren, bestimmt. Nicht alle am Markt erhältliche Gerät erfüllen diese Norm. Unter Umstän-den ist ein Gerät, das nicht nach USB-Norm faktio-niert, angeschlossen. |
| Radio und/oder die auto-matische Senderspeiche-rung faktionieren nicht. | Das Antennenkabel ist nicht korrekt angeschlossen. |
| Die Sendersignale sind zu schwach. Die Sender manuell einstellen. | |
| Senderspeicher faktio-niert nicht. | Das Kabel für Dauerplus (gelb) ist nicht richtig ange-schlossen. Beachten Sie hierzu das Kapitel “Einbau”, Seite 12. |
| DVD-spezifisch | |
| Schlechetes Bild | Wurde das richtige Farbformat (PAL/NTSC) gewählt? |
| Die Disk wird nicht abge-spielt | Hat die DVD den Ländercode 2 oder 0? |
DE-45
Technische Daten
Allgemein
Betriebsspannung: DC12 V, Negative Masseverbindung
Gerät-Abmessungen: 180 × 175 × 55 ~mm(B × T × H)
TFT-LCD-Display: 3,5 Zoll (960 x 240 Pixel)
Ausgangsleistung: max. 4 × 15 Watt (RMS)
Sicherungen: 15 Ampere (blau)
Radio
UKW (FM): 87,5 bis 108 MHz
Mittelwelle (MW): 522 bis 1620 kHz
CD/MP3-Player
Laserleistung: Laser Klasse 1
Frequenzbereich: 40 Hz - 18 kHz
MPEG-Rate: 64-320k
MP3-Playback: ISO 9660 & Joliet Format of MP3
Anschluss
AV IN: 3,5 mm Klinkenstecker
Unterstützte Formate
USB-Datenträger: 1.1 und 2.0 bis 8 GB (getestet)
Speicherkarten: SD bis 1 GB
MMC bis 512 MB
SDHC bis 16 GB (getestet)


Es gibt heute viele, zum Teil nicht standardisierte CD-Aufnahme- und Kopierschutzverfahren sowie unterschiedliche CD-R und CD-RW-Rohlinge. Darum kann es in Einzelfällen zu Einsefehlern oder -Verzögerungenkommen. Dies ist kein Defekt des Geräts.
Dieses Gerät ist zugelassen nach der Richtlinie 2004/104/EG
(zuletzt geändert durch die Richtlinie 2006/28/EG) -
"Elektromagnetische Verträglichkeit" (sog. E-Zulassung).

Technische Änderungen vorbehalten!
DE-46
Entsorgungshinweise
DE
Verpackung

Nicht mehr benöttige Verpackungen und Packhilfsmittel sind recyclungfähig und sollenn grundsätzlich der Wiederverwertung zugeführrt werden.
Gerät

Werfen Sie das Autoradio am Ende seiner Lebenszeit keinesfalls in den normalen Hausmull. Erkundigen Sie sichnach Möglichkeiten einer umwelt- und sachgerechten Entsorgung.
Batterien

Verbrauchte Batterien gehören nicht in den Hausmüll. Die Batterien müssen bei einer Sammelstelle für Altbatterien abgegeben werden.



DE-47




Content
EN
Overview 3
Ralenti (DVD, VCD, SVCD)
Technische gegevens 47
- PROG: Titelprogramming;
KEY: Lage tonen versterken (B, -4, -2) of hoge tonen versterken (+2, +4, #)
DIGITAL SETUP: Digitale instellingen
4:3 PS ( „Pan Scan“), 4:3 LB ( „Letterbox“) nebo 16:9.
Garantiebedingungen Deutschland 2
Garantiebedingungen Osterreich 6
Garantiebedingungen Schweiz 15
Garantiebedingungen Deutschland
Eingeschränkte Garantie
I. Allgemeine Garantiebedingungen
1. Allgemeines
Die Garantie beginnnt immer am Tag des Einkaufs des MEDION Gerätes von der MEDION oder einem offiziellen Handelspartner der MEDION und bezieht sich auf Material- und Produktionschädern aller Art, die bei normaler Verwendung auftreten können. Die Garantiezeit ergibt sich aus der dem Gerät anliegenden Garantiekarte in Zusammenhang mit dem Kaufbeleg des autorisierten MEDION-Handelspartners. Liegt den Geräten keine Garantiekarte bei, besteht für diese Geräte keine Garantie. Neue Geräte unterliegen den gesetzlichen Gewährleistungsfristen von 24 Monaten. Bei gebrauchten Geräten (B-Ware) unterliegt die Ware der eingeschränkten Gewährleistungsfrist von 12 Monaten.
Bitte bewahren Sie den original Kaufnachweis und die Garantiekarte gut auf. MEDION und sein autorisierter Servicepartner behalten sich vor, eine Garantiereparatur oder eine Garantiebestätigung zu verweigern, wenn dieser Nachweis nicht erbracht werden kann.
Bitte stellen Sie sicher, dass Ihr Gerät im Falle einer notwendigen Einsatzung transportsicher verpackt ist. Sofern nichts andes auf ihrer Garantiekarte vermerkt,TRAgen sie die Kosten der Einsatzung sowie das Transportrisiko. Für zusätzlich eingesendete Materialien, die nicht zum ursprünglichen Lieferumfang des MEDION Gerätes gehoren, übernimmt MEDION keine Haftung.
Bitte überlassen Sie uns mit dem Gerät eine möglichst detaillierte Fehlerbeschreibung. Zur Geltendmachung ihrer Ansprüche bzw. vor Einsendung, kontaktieren sieitte die MEDION Hotline. Sie erhalten Dort eine Referenznummer (RMA Nr.), die sieitte außen auf dem Paket, gut sightbar anbringen.
These Garantie hat keine Auswirkungen auf ihre gesetzlichen Ansprüche und unterliegt dem geltenden Recht des Landes, in dem der Ersterwerb des Gerätes durch den Endkunden vom autorisierten Handler der MEDION erfolgte
2. Umfang
Im Falle eines durch diese Garantie abgedeckten Defekts an ihrem MEDION Gerät gewährleistet die MEDION mit dieser Garantie die Reparatur oder den Ersatz des MEDION Gerätes. Die Entscheidung zwischen Reparatur oder Ersatz der Geräte obliegt MEDION. Insoweit kann MEDION nach eigenen Ermessen entscheiden, das zur Garantiereparatur eingesendet Gerät durch ein generalüberholtes Gerät gleicher Qualität zu ersetzen.
Für Batterien oder Akkus wird keine Garantie übernommen, gleiches gilt für Verbrauchsmaterialien, d.h. Teile, die bei der Nutzung des Gerätes in regelmäßigen Abständen ersetzt werden müssen, wie z.B. Projekteslampe in Beamer.
DE-AT-NL-CH-2
Ein Pixelfehler (dauerhaft farbiger, heller oder dunkler Bildpunkt) ist nicht grundsatzlich als Mangel zu betrachten. Die genaue Anzahl zulässiger defekter Bildpunkte entnehmer Sieitte der Beschreibung im Handbuch fur diesen Produkt.
Für eingebrannte Bilder bei Plasma oder LCD-Geräten, die durch unsachgemäß Verwendung des Gerätes entstanden sind, übernimmt MEDION keine Garantie.
Die genaue Vorgehensweise zum Betrieb Ihres Plasmas bzw. LCD- Gerätes entnehmer Sieitte der Beschreibung im Handbuch fur diesen Produkt.
Die Garantie erstreckt sich nicht auf Wiedergabefehler von Datenträgern, die in einem nicht kompatiblen Format oder mit ungeeigneter Software erstellt wurden.
Sollte sich bei der Reparatur Herausstellen, dass es sich um einen Fehler handelt, der von der Garantie nicht gedeckt ist, besteht sich MEDION das Recht vor, die anfallenden Kosten in Form einer Handling Pauschale sowie die kostenpflichtige Reparatur für Material und Arbeit nach einem Kostenvoranschlag dem Kunden in Rechnung zu stellen.
3. Ausschluss
Für Versagen und Schäden, die durch äußere Einflüsse, versehentliche Beschädigungen, unsachgemäß Verwendung, am MEDION Gerät vorgenommene Veränderungen, Umbauten, Erweiterungen, Verwendung von Fremdteilen, Vernachlüssigung, Viren oder Softwarefehler, unsachgemäß Transport, unsachgemäß Verpackung oder Verlust bei Rücksendsung des Gerätes an MEDION entstanden sind, übernimmt MEDION keine Garantie.
Die Garantie erlischt, wenn der Fehler am Gerät durch Wartung oder Reparatur entstanden ist, die durch jedernd anderen als durch MEDION oder einen durch MEDION für diese Gerät autorisierten Servicepartner durchgeführt wurde. Die Garantie erlischt auch, wenn Aufkleber oder Seriennnummern des Gerätes oder eines Bestandteils des Gerätes verändert oder unleserlich gemacht wurden.
4. Service Hotline
Vor Einsendung des Gerätes an MEDION führen Sie sich über die Service Hotline oder das MEDION Service Portal an uns wenden. Sie erhalten insoweit weitergehende Informationen, wie Sie ihren Garantieanspruch geltend machen können.
Die Inanspruchnahme der Hotline ist kostenpflichtig.
Die Service Hotline ersetzt auf keinen Fall eine Anwenderschulung für Soft- bzw. Hardware, das Nachschlagen im Handbuch oder die Betreuung von Fremdprodukten.
Zusätzlich bietet MEDION eine kostenpflichtige Hotline für über die Garantie hinaus gehende Anfrage.
II. Besondere Garantiebedingungen für MEDION PC, Notebook, Pocket PC (PDA) und Geräten mit Navigationsfunktion (PNA)
Hat eine der mitgelieferten Optionen (z.B. Speicherkarten, Modems etc.) einen Defekt, so haben Sie auch einen Anspruch auf Reparatur oder Ersatz. Die Garantiedeckt Material- und Arbeitskosten für die Wiederherstellung der Funktionsfähigkeit für das betroffene MEDION Gerät.
Hardware zu Ihr Gemütung, die nicht von MEDION produziert oder vertrieben wurde, kann die Garantie zum Erlösenheiten bringen, wenn dadurch ein Schaden am MEDION Gerät oder den mitgelieferten Optionen entstanden ist.
Für mitgelieferte Software wird eine eingeschränkte Garantie übernommen. Dies gilt für ein vorinstalliertes Betriebssystem, aber auch für mitgelieferte Programme. Bei der von MEDION mitgelieferten Software garantiert MEDION für die Datenträger, z.B. Disketten und CD-ROMs, auf denen diese Software gefelwert wird, die Freiheit von Material- und Verarbeitungsfehlern für eine Frist von 90 Tagen nach Einkauf des MEDION Gerätes von der MEDION oder einem officiellen Handelspartner der MEDION. Bei Lieferung defekter Datenträger ersetzt MEDION die defekten Datenträger kostenfrei; darüber hinausgehende Ansprüche sind ausgeschlossen. Mit Ausnahme der Garantie für die Datenträger wird jeder Software ohne Mängelgewähr gefelwert. MEDION sichert nicht zu, dass diese Software ohne Unterbrechnungen oder fehlerfrei Funktioniert oder ihren Anforderungen genutzt. Für mitgeliefertes Kartenmaterial bei Geräten mit Navigationsfunktion wird keine Garantie für die Vollständigkeit übernommen.
Bei der Reparatur des MEDION Gerätes kann es notwendig sein, alle Daten vom Gerät zu löschen. Stellen Sie vor dem Versand des Gerätes sicher, dass Sie von allen auf dem Gerät befindlichen Daten eine Sicherungskopie besitzen. Es wird ausdrücklich darauf fingewiesen, dass im Falle einer Reparatur der Auslieferzustand wiederhergestellt wird. Für die Kosten einer Softwarekonfiguration, für entgangene Einnahmen, den Verlust von Daten bzw. Software oder sonstige Folgeschäden übernimmt MEDION keine Haftung.
III. Besondere Garantiebedingungen für die Vorort Reparatur bzw. den Vorort Austausch
Soweit sich aus der dem Gerät anliegenden Garantiekarte ein Anspruch auf Vorort Reparatur bzw. Vorort Austausch ergibt, gelten die besonderen Garantiebedingungen für die Vorort Reparatur bzw. Vorort Austausch für Ihr MEDION Gerät.
Zur Durchführung der Vorort Reparatur bzw. des Vorort Austauschs muss von ihrer Seite Folgenden sichergestellt werden:
Mitarbeitern der MEDION muss uneingeschränkter, sicherer und unverzüglicher Zugang zu den Geräten gewährt werden.
Telekommunikationseinrichtungen, die von Mitarbeitern von MEDION zur ordnungsgemäßen Ausführung Ihres Auftrages, für Test- und Diagnosezwecke sowie zur Fehlerbehebung besteht werden, müssen von Ihnen auf eigene Kosten zur Verfugung gestellt werden.
- Sie sind für die Wiederherstellung der eigenen Anwendungssoftware nach der Inanspruchnahme der Dienstleistungen durch MEDION selbst verantwortlich.
- Sie haben alle sonstigen Maßnahmen zu ergreifen, die von MEDION zu einer ordnungsgemäßen Ausführung des Auftrags bestehtigt werden.
- Sie sind für die Konfiguration und Verbindung ggf. vorhandener, externer Geräte nach der Inanspruchnahme der Dienstleistung durch MEDION selbst verantwortlich.
- Der kostenfreie Storno-Zeitraum für die Vorort Reparatur bzw. den Vorort Austausch beträgt mind. 48 Stunden, danach müssen die uns durch den verspäten oder nicht erfolgten Storno entstandenen Kosten in Rechnung gestellt werden.
Garantiebedingungen Österreich
Eingeschränkte Garantie
I. Allgemeine Garantiebedingungen
Name und Anschrift des Garanten:
1. Allgemeines
These allgemeinen Garantiebedingungen gelten nur in Verbindung mit dem zum Zeitpunkt des Einkaufs des Gerätes geltenden Allgemeinen Verkaufs- und Geschäftsbedingungen ("AGB") der MEDION Austria GmbH. Die geltende Fassung der AGB ist auf der Homepage der MEDION Austria ( http://www.MEDION.at ) einsichtbar.
Die Garantie beginnnt immer am Tag der Übergabe des gekauften MEDION Gerätes von der MEDION oder einem officiellen Handelspartner der MEDION und bezieht sich auf Material- und Produktionschäden aller Art, die bei normaler Verwendung auftreten konnen. Die Garantiezeit ergibt sich aus der dem Gerät anliegenden Garantiekarte in Zusammenhang mit dem Kaufbeleg des autorisierten MEDION-Handelspartners.
Bitte bewahren Sie den original Kaufnachweis und die Garantiekarte gut auf. ME-DION und sein autorisierter Servicepartner gehalten sich vor, eine Garantiereparatur oder eine Garantiebestätigung zu verweigern, wenn dieser Nachweis nicht er-bracht werden kann.
Bitte stellen Sie sicher, dass Ihr Gerät im Falle einer notwendigen Einsendung, transportsicher verpackt ist.
Bitte überlassen Sie uns mit dem Gerät eine möglichst detaillierte Fehlerbeschreibung. Zur Geltendmachung ihrer Ansprüche, bzw. vor Einsendung, kontaktieren sieitte die MEDION Hotline. Sie erhalten Dort eine Referenznummer (RMA Nr.), die sieitte außen auf dem Paket, gut sightbar anbringen.
Das Gerät muss grundsätzlich komplett, d. h. mit allen im Lieferumfang enthalten den Teilen, eingesendet werden. Ein nicht kompletter Erhalt der Sendung führt zur Verzögerung der Reparatur / des Austausches. Für zusätzlich eingesendete Materialien, die nicht zum ursprünglichen Lieferumfang des MEDION Gerätes gehären, übernimmt MEDION keine Haftung.
These Garantie hat keine Auswirkungen auf ihre bestehenden, gesetzlichen Gewährleistungsansprüche und unterliegt dem geltenden Recht des Landes, in dem der Ersterwerb des Gerätes durch den Endkunden vom autorisierten Handler der MEDION erfolgte und gilt nur für diese Land.
2. Umfang
Im Falle eines durch diese Garantie abgedeckten Defekts an ihrem MEDION Gerät gewährleistet die MEDION mit dieser Garantie die Reparatur oder den Ersatz des MEDION Gerätes. Die Entscheidung zwischen Reparatur oder Ersatz der Geräte obliegt MEDION. Insoweit kann MEDION nach eigenen Ermessen entscheiden das zur Garantiereparatur eingesendet Gerät durch ein Gerät gleicher Qualität zu ersetzen.
Für Batterien oder Akkus wird keine Garantie übernommen, gleiches gilt für Verbrauchsmaterialien, d.h. Teile, die bei der Nutzung des Gerätes in regelmäßigen Abständen ersetzt werden müssen, wie z.B. Projektklaspe in Beamer.
Ein Pixelfehler (dauerhaft Farbiger, heller oder dunkler Bildpunkt) ist nicht grundsatzlich als Mangel zu betrachten. Die genaue Anzahl zulässiger defekter Bild-
punkte entnehmer Sieitte der Beschreibung im Handbuch fur这点es Produkt. Für eingebrannte Bilder bei Plasma oder LCD-Geräten, die durch unsachgemäß Verwendung des Gerätes entstanden sind, übernimmt MEDION keine Garantie.
Die genaue Vorgehensweise zum Betrieb Ihres Plasma bzw. LCD- Gerätes entnehmer Sieitte der Beschreibung im Handbuch fur diesen Produkt.
Die Garantie erstreckt sich nicht auf Wiedergabefehler von Datenträgern, die in einem nicht kompatiblen Format oder mit ungeeigneter Software erstellt wurden.
Sollte sich bei der Reparatur Herausstellen, dass es sich um einen Fehler handelt, der von der Garantie nicht gedeckt ist, besteht sich MEDION das Recht vor, die anfallenden Kosten in Form einer Handling Pauschale, sowie die kostenpflichtige Reparatur für Material und Arbeit nach einem Kostenvoranschlag und Zustimmung des Kunden dem Kunden in Rechnung zu stellen.
3. Ausschluss
Für Versagen und Schäden, die durch äußere Einflüsse, versehentliche Beschädigungen, unsachgemäß Verwendung, am MEDION Gerät vorgenommene Veränderungen, Umbauten, Erweiterungen, Verwendung von Fremdteilen, Vernachlüssigung, Viren oder Softwarefehler, unsachgemäß Transport, unsachgemäß Verpackung oder Verlust bei Rücksendung des Gerätes an MEDION entstanden sind, übernimmt MEDION keine Garantie.
Der Garantieanspruch erlischt, wenn der Fehler am Gerät durch Wartung oder Reparatur entstanden ist, die durch jedernd anderen als durch MEDION für diese Gerät oder einen durch MEDION für diese Gerät autorisierten Servicepartner durchgeführt wurde. Die Garantie erlischt auch, wenn Aufkleber oder Seriennummern des Gerätes oder eines Bestandteils des Gerätes verändert oder unleserlich gemacht wurden.
4. Service Hotline
Vor Einsendung des Gerätes an die MEDION empfehlen wir Ihnen sich über die Service Hotline an uns zu wenden. Sie erhalten insoweit weitergehende Informationen, wie Sie ihren Garantieanspruch geltend machen können.
Die Service Hotline steht Ihnen 365 Tage im Jahr zum Ortstarif zur Verfügung.
Die Service Hotline ersetzt auf keinen Fall eine Anwenderschulung für Soft-, bzw. Hardware, das Nachschlagen im Handbuch, oder die Betreuung von Fremdprodukten.
II. Besondere Garantiebedingungen für MEDION PC, Notebook, Pocket PC (PDA) und Geräten mit Navigationsfunktion (PNA)
Hat ein Teil der mitgelieferten Ware einen Defekt, so haben Sie auch einen Anspruch auf Reparatur oder Ersatz. Die Garantiedeckt Material- und Arbeitskosten für die Wiederherstellung der Funktionsfähigkeit für das betroffene MEDION Gerät. Hardware zu Ihr Gemät, die nicht von MEDION produziert oder vertrieben wurde, kann die Garantie zum Erlösenchen bringen, wenn dadurch nachweislich ein Schaden am MEDION Gerät oder an einem Teil der mitgelieferten Ware entwickelten ist.
Für mitgelieferte Software wird eine eingeschränkte Garantie übernommen. Dies gilt für ein vorinstalliertes Betriebssystem aber auch für mitgelieferte Programme. Bei der von MEDION mitgelieferten Software garantiert MEDION für die Datenträger, z. B. Disketten und CD-ROMs, auf denen diese Software geliefert wird, die Freiheit von Material- und Verarbeitungsfehlern für eine Frist von 90 Tagen nach Einkauf des MEDION Gerätes von der MEDION oder einem officiellen Handelspartner der MEDION. Bei Lieferung defekter Datenträger ersetzt MEDION die defekten Datenträger kostenfrei; darüber hinausgehende Ansprüche sind ausgeschlossen. Mit Ausnahme der Garantie für die Datenträger wird jeder Software ohne Mängelgewähr gefelcfert. MEDION sichert nicht zu, dass diese Software ohne Unterbrechungen oder fehlerfrei Funktioniert oder ihren Anforderungen genutzt. Für mitgeliefertes Kartenmaterial bei Geräten mit Navigationsfunktion wird keine Garantie für die Vollständigkeit übernommen.
Wie auch in der AGB angeführht kann es sein, dass bei der Reparatur des MEDION Gerätes alle Daten vom Gerät gelöscht werden müssen. Stellen Sie vor dem Versand des Gerätes sichere, das Sie von allen auf dem Gerät befindlichen Daten eine Sicherungskopie besitzen. Es wird ausdrücklich daraufhin hingewiesen, dass im Falle einer Reparatur der Auslieferzustand wiederhergestellt wird. Für die Kosten einer Softwarekonfiguration, für entgangene Einnahmen, den Verlust von Daten bzw. Software, oder sonstige Folgeschäden übernimmt MEDION keine Haftung.

III. Besondere Garantiebedingungen für die Vorort Reparatur bzw. den Vorort Austausch
Soweit sich aus der dem Gerät anliegenden Garantiekarte ein Anspruch auf Vorort Reparatur bzw. den Vorort Austausch ergibt, gelten die besonderen Garantiebedingungen für die Vorort Reparatur bzw. Vorot Austausch für Ihr MEDION Gerät.
Zur Durchführung der Vorort Reparatur bzw. den Vorort Austausch muss von ihrer Seite folgenden sichergestellt werden:
□ Mitarbeiter der MEDION muss uneingeschränkter, sicherer und unverzüglicher Zugang zu den Geräten gewährt werden.
Telekommunikationseinrichtungen, die von Mitarbeitern von MEDION zur ordnungsgemäßen Ausführung Ihres Auftrages, für Test- und Diagnosezwecke sowie zur Fehlerbehebung benötigt werden, müssen von Ihnen auf eigene Kosten zur Verfugung gestellt werden.
- Sie sind für die Wiederherstellung der eigenen Anwendungssoftware nach der Inanspruchnahme der Dienstleistungen durch MEDION selbst verantwortlich.
- Sie haben alle sonstigen Maßnahmen zu ergreifen, die von MEDION zu einer ordnungsgemäßen Ausführung des Auftrags bestehtigt werden.
- Sie sind für die Konfiguration und Verbindung ggf. vorhandener, externer Geräte nach der Inanspruchnahme der Dienstleistung durch MEDION selbst verantwortlich.
- Der kostenfreie Storno-Zeitraum für die Vorort Reparatur bzw. den Vorort Austausch beträgt mind. 24 Stunden, danach müssen die uns durch den verspäten oder nicht erfolgten Storno entstandenen Kosten in Rechnung gestellt werden.
Garantiebedingungen Schweiz
Eingeschränkte Garantie
I. Allgemeine Garantiebedingungen
1. Allgemeines
MEDION Produkte sind technisch hochstehende elektronische Geräte. Die Auseinandersetzung mit dem Benutzerhandbuch und den Anleitungen, welche für und zusammen mit dem Produkt übergeben werden, ist unerlässlich.itte beachten Sie zudem, dass das Produkt Hochprazisions-Komponenten enthalt, die bei unsachgemäßer Handhabung verkratzt oder beschädigt werden konnen.
Die Garantie beginnnt immer am Tag des Einkaufs des MEDION Gerätes von der MEDION oder einem officiellen Handelspartner der MEDION und bezieht sich auf Material- und Produktionsschäden aller Art, die bei normaler Verwendung auftreten können.
Die Garantiezeit ergibt sich aus der dem Gerät anliegenden Garantiekarte in Zusammenhang mit dem Kaufbeleg des autorisierten MEDION-Handelspartners. Für jeder Geltendmachung von Ansprüchen nach dieser eingeschränkten Garantie müssen Sie MEDION oder den autorisierten Servicepartner innerhalb einer angemessenen Frist nach Entdeckung des angeblichen Mangels, jeder falls aber innerhalb der Garantiezeit gemäß der anliegenden Garantiekarte, informieren.
Bitte bewahren Sie den original Kaufnachweis und die Garantiekarte gut auf. MEDION und sein autorisierter Servicepartner behalten sich vor, eine Garantiereparatur oder eine Garantiebestätigung zu verweigern, wenn dieser Nachweis nicht erbracht werden kann.
Bitte stellen Sie sicher, dass Ihr Gerät im Falle einer notwendigen Einsatz, transportsicher verpackt ist. Sofern nicht anders auf ihrer Garantiekarte vermerkt, tragen sie die Kosten der Einsatz, sowie das Transportrisiko.
Bitte überlassen Sie uns mit dem Geräte eine möglichst detaillierte Fehlerbeschreibung. Zur Geltendmachung ihrer Ansprüche, bzw. vor Einsendung, kontaktieren sieitte die MEDION Hotline. Sie erhalten Dort eine Referenznummer (RMA Nr.), die sieitte außen auf dem Paket, gut sightbar anbringen.
Das Gerät muss grundsätzlich komplett, d. h. mit allen im Lieferumfang enthalten den Teilen, eingesendet werden. Ein nicht kompletter Erhalt der Sendung führt zur Verzögerung der Reparatur / des Austausches. Für zusätzlich eingesendete Materialien, die nicht zum ursprünglichen Lieferumfang des MEDION Gerätes gehoren, übernimmt MEDION keine Haftung.
These Garantie hat keine Auswirkungen auf ihre gesetzlichen Ansprüche und unterliegt dem geltenden Recht des Landes, in dem der Ersterwerb des Gerätes durch den Endkunden vom autorisierten Handler der MEDION erfolgte.


2. Umfang
Im Falle eines durch diese Garantie abgedeckten Defekts an ihrem MEDION Gerät gewährleistet die MEDION mit dieser Garantie die Reparatur oder den Ersatz des MEDION Gerätes. Die Entscheidung zwischen Reparatur oder Ersatz der Geräte obliegt MEDION. Insoweit kann MEDION nach eigenen Ermessen entscheiden das zur Garantiereparatur eingesendet Gerät durch ein generalüberholtes Gerät gleicher Qualität zu ersetzen.
MEDION erworbt das Eigentum an allen Teilen des Produktes oder Ausstattungsgegenständen, welche MEDION ersetzt hat.
Batterien oder Akkus unterliegen einer Garantie von 6 Monaten. Für Verbrauchsmaterialien, d.h. Teile, die bei der Nutzung des Gerätes in regelmäßigen Abständen ersetzt werden müssen, wie z.B. Projektklammpe in Beamer, wird keine Garantie übernommen.
Ein Pixelfehler (dauerhaft Farbiger, heller oder dunkler Bildpunkt) ist nicht grundsatzlich als Mangel zu betrachten. Die genaue Anzahl zulässiger defekter Bildpunkte entnahmen Sieitte der Beschreibung im Handbuch fur diesen Produkt.
Für eingebrannte Bilder bei Plasma oder LCD-Geräten, die durch unsachgemäße Verwendung des Gerätes entstanden sind, übernimmt MEDION keine Garantie.
Die genaue Vorgehensweise zum Betrieb Ihres Plasma bzw. LCD-Gerätes entnehmer Sieitte der Beschreibung im Handbuch fur diesen Produkt.
Die Garantie erstreckt sich nicht auf Wiedergabefehler von Datenträgern, die in einem nicht kompatiblen Format oder mit ungeeigneter Software erstellt wurden.
Sollte sich bei der Reparatur Herausstellen, dass es sich um einen Fehler handelt, der von der Garantie nicht gedeckt ist, besteht sich MEDION das Recht vor, die anfallenden Kosten in Form einer Handling Pauschale, sowie die kostenpflichtige Reparatur für Material und Arbeit nach einem Kostenvoranschlag dem Kunden in Rechnung zu stellen.
3. Ausschluss / Beschränkung
Für Versagen und Schäden, die durch äußere Einflüsse, versehentliche Beschädigungen, unsachgemäß Verwendung, am MEDION Gerät vorgenommene Veränderungen, Umbauten, Erweiterungen, Verwendung von Fremdteilen, Vernachlüssigung, Viren oder Softwarefehler, unsachgemäß Transport, unsachgemäß Verpackung oder Verlust bei Rücksendsung des Gerätes an MEDION entstanden sind, übernimmt MEDION keine Garantie.
Die Garantie erlischt, wenn der Fehler am Gerät durch Wartung oder Reparatur entstanden ist, welche durch jedernd anderen als durch MEDION oder einen durch MEDION für diesen Gerät autorisierten Servicepartner durchgeführt wurde. Die Garantie erlischt auch, wenn Aufkleber oder Seriennummern des Gerätes oder eines Bestandteils des Gerätes verändert oder unleserlich gemacht wurden.
These Garantie beinhaltet ihre einzigen und ausschließlich Rechtsbehelfe gegenüber der MEDION und ist MEDIONs einzige und ausschließlich Haftung für Mängel an Ihr dem Produkt.
Theseingeschrankte Garantie ersetzt jeder anderweitige Garantie und Haftung von MEDION, unabhängig davon, ob solche mündlich, schriftlich, oder aufgrund gesetzlicher (nicht zwingender) Bestimmungen oder vertraglich eingeräumt worden sind oder aufgrund unerlaubter Handlung entstehen.
Die Haftung ist der Höhe nach auf den Anschaffungswert des Produkts begrenzt. Die vorstehenden Haftungsbeschränkungen gelten nicht für den Fall, dass ME-DION vorsätzlich oder groß fahrlösig handelt.
4. Service Hotline
Vor Einsendung des Gerätes an die MEDION mussen Sie sich über unsere Service Hotline an uns wenden. Sie erhalten insoweit weitergehende Informationen, wie Sie ihren Garantieanspruch geltend machen können.
Die Service Hotline steht Ihnen 365 Tage im Jahr, auch sonn- und feiertags zur Verfugung.
Die Service Hotline ersetzt auf keinen Fall eine Anwenderschulung für Soft-, bzw. Hardware, das Nachschlagen im Handbuch, oder die Betreuung von Fremdprodukten.
II. Besondere Garantiebedingungen für MEDION PC, Notebook, Pocket PC (PDA) und Geräten mit Navigationsfunktion (PNA)
Hat eine der mitgelieferten Optionen einen Defekt, so haben Sie auch einen Anspruch auf Reparatur oder Ersatz. Die Garantie deckt Material- und Arbeitskosten für die Wiederherstellung der Funktionsfähigkeit für das betroffene MEDION Gerät. Hardware zu Ihr Gemät, die nicht von MEDION produziert oder vertrieben wurde, kann die Garantie zum Erlösenchen bringen, wenn dadurch nachweislich ein Schaden am MEDION Gerät oder den mitgelieferten Optionen entwickelten ist.
Für mitgelieferte Software wird eine eingeschränkte Garantie übernommen. Dies gilt für ein vorinstalliertes Betriebssystem aber auch für mitgelieferte Programme. Bei der von MEDION mitgelieferten Software garantiert MEDION für die Datenträger, z. B. Disketten und CD-ROMs, auf denen diese Software geliefert wird, die Freiheit von Material- und Verarbeitungsfehlern für eine Frist von 90 Tagen nach Einkauf des MEDION Gerätes von der MEDION oder einem offiziellen Handelspartner der MEDION.
Bei Lieferung defekter Datenträger ersetzt MEDION die defekten Datenträger kostenfrei; darüber hinausgehende Ansprüche sind ausgeschlossen. Mit Ausnahme der Garantie für die Datenträger wird jeder Software ohne Mängelgewähr gefeliefert. MEDION sichert nicht zu, dass diese Software ohne Unterbrechungen oder fehlerfrei Funktioniert oder ihren Anforderungen genugt. Für mitgeliefertes Kartenmaterial bei Geräten mit Navigationsfunktion wird keine Garantie für die Vollständigkeit übernommen.
Bei der Reparatur des MEDION Gerätes kann es notwendig sein, alle Daten vom Gerät zu löschen. Stellen Sie vor dem Versand des Gerätes safer, das Sie von allen auf dem Gerät befindlichen Daten eine Sicherungskopie besitzen.
Es wird ausdrücklich darauf hingewiesen, dass im Falle einer Reparatur der Auslieferzustand wiederhergestellt wird. Für die Kosten einer Softwarekonfiguration, für entgangene Einnahmen, den Verlust von Daten bzw. Software, oder sonstige Folgeschäden übernimmt MEDION keine Haftung.
III. Besondere Garantiebedingungen für die Vorort Reparatur bzw. den Vorort Austausch
Soweit sich aus der dem Gerät anliegenden Garantiekarte ein Anspruch auf Vorort Reparatur bzw. den Vorort Austausch ergibt, gelten die besonderen Garantiebedingungen für die Vorort Reparatur bzw. Vorort Austausch für Ihr MEDION Gerät. Zur Durchführung der Vorort Reparatur bzw. den Vorort Austausch muss von ihrer Seite folgenden sichergestellt werden:
Mitarbeiter der MEDION muss uneingeschränkter, sicherer und unverzüglicher Zugang zu den Geräten gewährt werden.
Telekommunikationseinrichtungen, die von Mitarbeitern von MEDION zur ordnungsgemänen Ausführung Ihres Auftrages, für Test- und Diagnosezwecke sowie zur Fehlerbehebung benötigt werden, müssen von Ihnen auf eigene Kosten zu Verfugung gestellt werden.
- Sie sind für die Wiederherstellung der eigenen Anwendungssoftware nach der Inanspruchnahme den Dienstleistungen durch MEDION selbst verantwortlich.
- Sie haben alle sonstigen Maßnahmen zu ergreifen, die von MEDION zu einer ordnungsgemäßen Ausführung des Auftrags besteht.
- Sie sind für die Konfiguration und Verbindung ggf. vorhandener, externer Geräte nach der Inanspruchnahme der Dienstleistung durch MEDION selbst verantwortlich.
Der kostenfreie Storno-Zeitraum für den Vorort Reparatur bzw. den Vorort Aus-tausch beträgt mind. 24 Stunden, danach müssen die uns durch die verspatete oder nicht erfolgten Storno entstandenen Kosten in Rechnung gestellt werden.
□ Soweit der zwischen Ihnen und dem zuständigen Techniker von MEDION vereinbarte Termin zur Durchführung der Vorort Reparatur bzw. des Vorort Austauschs nicht eingehalten werden kann und von ihrer Seite auch nicht früherzeitig (mindestens 12 Stunden vorher) abgesagt wurde, so ist die MEDION berechtigt Ihnen die angefallenen Kosten hierfür in Rechnung zu stellen.
Notice-Facile