KX-HNS104EX2 - Capteur de sécurité PANASONIC - Notice d'utilisation et mode d'emploi gratuit
Retrouvez gratuitement la notice de l'appareil KX-HNS104EX2 PANASONIC au format PDF.
| Type de produit | Détecteur de mouvement sans fil |
| Caractéristiques techniques principales | Technologie sans fil, détection de mouvement, compatibilité avec les systèmes de sécurité Panasonic |
| Alimentation électrique | Piles AA (non incluses) |
| Dimensions approximatives | Environ 10 x 7 x 4 cm |
| Poids | Environ 150 g |
| Compatibilités | Compatible avec les systèmes de sécurité Panasonic KX-HN série |
| Type de batterie | Piles alcalines AA |
| Tension | 1,5 V par pile |
| Fonctions principales | Détection de mouvement, notifications d'alerte, intégration avec d'autres appareils de sécurité |
| Entretien et nettoyage | Nettoyer avec un chiffon doux, éviter les produits chimiques agressifs |
| Pièces détachées et réparabilité | Réparabilité limitée, pièces disponibles via le service client Panasonic |
| Sécurité | Conforme aux normes de sécurité électrique, installation sécurisée recommandée |
| Informations générales utiles | Installation facile, nécessite une connexion à un hub Panasonic pour le fonctionnement |
FOIRE AUX QUESTIONS - KX-HNS104EX2 PANASONIC
Questions des utilisateurs sur KX-HNS104EX2 PANASONIC
0 question sur cet appareil. Repondez a celles que vous connaissez ou posez la votre.
Poser une nouvelle question sur cet appareil
Téléchargez la notice de votre Capteur de sécurité au format PDF gratuitement ! Retrouvez votre notice KX-HNS104EX2 - PANASONIC et reprennez votre appareil électronique en main. Sur cette page sont publiés tous les documents nécessaires à l'utilisation de votre appareil KX-HNS104EX2 de la marque PANASONIC.
MODE D'EMPLOI KX-HNS104EX2 PANASONIC
Guide d'installation
Système de réseau privé
Capteur de bris de vitre
Modèle
KX-HNS104EX2

Vou venez d'acquérir un produit Panasonic et nous vous en remercions.
Le present document vous indique comment installer le capteur de bris de vitre de manière correcte.
Pour plus de détails concernant l'utilisation du système, reportez-vous au Guide de l'utilisateur (page 18).
Veuillez lore le present document avant d'utiliser l'appareil et le conserver pour reférence ultérieure.
Sommaire
Introduction
Informations sur les accessoires ....3
Informations importantes
Avis de non-responsabilité 4
A propos de ce système 4
Pour notre sécurité 4
Consignes de sécurité
importantes 5
Pour des performances
optimales 5
Autres informations 6
Configuration
Pièces et fonctions 8
Voyant LED 8
Vue d'ensemble de la
configuration 8
Introduction des piles 9
Enregistrement du détecteur 10
Vérification de la zone
d'utilisation 11
fonctionnalités du détecteur 12
Montage mural 14
Annexe
Réglage de la sensibilité du
detector 17
Fonctionnalités disponibles lors de
l'utilisation de l'application [Home
Network] 17
Accès au Guide de l'utilisateur ....18
Charactéristiques 18
Informations sur les accessoires
Accessoires fournis
| N° | Accessoire/Référence | Quantité |
| ① | Piles*1 | 2 |
| ② | Adaptateur de montage mural*2 | 1 |
| ③ | Vis de montage mural (25 mm) | 2 |
1 Lors du remplacement des piles, reportez-vous à la section "Alimentation électrique" du chapitre "Caracteristiques", page 18 pour obtenir des informations concernant les piles.
2 Le capteur peut être installé au mur avec ou sans adaptateur de montage mural (page 14).
①

(2)

(3)

Autres informations
- La conception et les caractéristiques peuvent être modifiées sans préavis.
- Les illustrations figurant dans ce manuel peuvent différer légarement du produit réel.
Marques commerciales
- iPhone and iPad sont des marques commerciales de Apple Inc., déposées aux Etats-Unis et dans d'autres pays.
- Android est une marque de Google Inc.
- Microsoft, Windows et Internet Explorer sont des marques commerciales, déposées ou non, de Microsoft Corporation aux États-Unis et/ou dans d'autres pays.
- Les autres marques commerciales mentionnées ici sont la propriété de leurs détenteurs respectifs.
Informations importantes
Avis de non-responsabilité
À condition qu'il soit installé et entretenu correctement, ce produit est destiné à fournir un moyen complémentaire d'information en cas de bris de verre. Panasonic ne déclare et ne garantit pas qu'il pourrait en tout temps et en toutes circonstances ni même dans une circonstance particulière donnée détector le bris de verre ou fonctionner avec tous les types de verre, ni qu'il préviendra les pertes ou les dommages aux biens ou aux personnes. Panasonic n'assume en peu cas une qualconque responsabilité en cas de blessure corporelle, de dommages à des biens ou d'autres pertes de chaque sorte que ce soit si le produit manque de fournir un avertissement ou une notification.
À propos de ce système
- Ce système est un système auxiliaire, il n'est pas conscience pour assurer une protection complète contre le vol. Panasonic décline toute responsabilité en cas de vol lors de l'utilisation de ce système.
- Les fonctionnalités sans fil du système sont soumises à des interférences, le fonctionnement ne peut donc être garanti dans toutes les situations. Panasonic décline toute responsabilité en cas de blessures ou de dommages suite à une panne ou une erreur de communication sans fil.
Pour vous sécurité
Pour éviter tout risque de dommages corporels ou matériels, voir d'accident mortel, lisze attentivement cette section avant d'utiliser l'appareil, de manière à être assure que vous l'utilisez d'une façon appropriée et suture.

AVERTISSEMENT
Connexionélectrique
- Utilisez uniquement l'alimentation électriche indiquée sur le produit.
- Ne connectez pas de dispositifs autres que ceux spécifiés.
Installation
Pour éviter tout risque d'incendie ou de décharge électrique, n'exposez jamais cet apparèil à la pluie ou à une source d'humidité.
- Ne placez pas ou n'utilise pas ce produit à proximé d'appareils à contrôle automatique, tels que des portes automatiques ou des alarmes incendie. Les ondes radio émises par ce produit peuvent entraîner des dysfonctionnements de ces appareils et provoquer un accident.
- Installez l'appareil sur une surface verticale uniquement. N'installez pas l'appareil au plafond, il pourrait tomber et causer des dommages ou des blessures.
- Conservez les petites pièces (vis, etc.) hors de portée des enfants. Il y a un risque d'ingestion. En cas d'ingestion, consultez immédiatement un médecin.
Mesures de précaution
- Ne démonze pas le produit.
Informations importantes
Précautions Médicales
- Consultez le fabricant de tout apparéil Médicinal personnel (par exemple stimulateurs cardiaques ou aides auditives) pour vous assurer qu'ils sont correctement protégés contre l'énergie radioélectrique extrema. Les fonctionnalités DECT utilisent une fréquence comprise entre 1,88 GHz et 1,90 GHz, avec une puissance de transmission maximaile de 250 mW.
- N'utilise pas ce produit dans les établissements de santé si la réglementation affichée dans ces zones vous interd it de le faire. Il est possible que les hopitaux ou les établissements de santé utilisent des équipements potentiellément sensibles à l'énergie radioélectrique externe.

ATTENTION
Files
- Les piles doivent être utilisées correctement, faute de quoi l'appareil peut être endommagé par des fuites des piles.
- Ne rechargez, ne court-circuitez, ne démontez et ne chauffez pas les piles.
- N'incinérez pas les piles.
- Remplacez toutes les piles en même temps.
N'utilise pas des piles neues et usages ou de différents types en même temps. - Nous vous recommendons de remplaner les piles chaque année.
Garder hors de portée des jeunes enfants. Il y a un risque d'ingestion. En cas d'ingestion de la pile, consultez immidiatement un medecin. - Retirez les piles si elles ne fonctionnent plus. Il y a un risque de fuite, de
surchauffe ou d'éclatement. Ne tentez pas d'utiliser une pile qui fuit.
- Ne versez pas intentionnellement de l'eau sur la pile et voirlez à ne pas la mouiller. Il y a un risque d'incendie et de fumée. Si la pile est mouillée, retirez-la immédiametèment et contactez un centre de réparation/agréé.
Consignes de sécurité importantes
Lorsque vous utilisez votre produit, observez toutes des précautions de sécurité élémentaires afin de réduire le risque d'incendie, de décharge électrique et de blessure, notamment :
- N'utilise pas ce produit à proximé d'eau, par exemple prés d'une baignoire, d'un lavabo, d'un évier de cuisine ou d'un bac à dessive, dans un sous-sol humide ou au bord d'une piscine.
- Utilisez uniquement les piles indiquées dans leprésent document. N'incinérez pas les piles. Elles pouraient exploser. Elles doivent être mises au rebut conformément à la réglementation locale.
CONSERVEZ CES INSTRUCTIONS
Pour des performances optimales
Emplacement du hub et prévention du bruit
Le hub et autres apparéils Panasonic compatibles utilisant des ondes radio pour communiquer les uns avec les autres.
Informations importantes
Pour bénéficier d'une zone de couverture maximal et évier les bruits parasites, it est recommendé d'inlocker le hub comme indicé ci-dessous :
- à un emplacement pratique, élevé et central, sans obstacles entre l'appareil et le hub, dans un environnement interieur ;
- loin d'appareils électroniques tels que téléviseurs, radios, ordinateurs, pérophériques sans fil ou autres téléphones ;
- loin de transmetteurs à radiofréquence (par exemple, antennes externes de stations de téléphonie mobile). (Evitez de placer le hub sur une baie vitrée ou à proximé d'une fenêtre.)
- Si la réception à l'emplacement du hub n'est pas satisfaisante, déplacez le hub vers un autre emplacement offrant une meilleure réception.
Environnement
- Maintenez le produit éloigné des apparèts générant du bruit électrique, par exemple les lampes fluorescentes et les moteurs.
- Le produit ne devrait pas etre exposé à de la fumee excessive, de la poussiere, des temperatures elevées et des vibrations.
Le produit ne devrait pas etre exposé à la lumiere directe du soleil. - Ne placez pas d'objets lourds sur le produit.
- Maintenez l'appareil éloigné de toute source de chaleur (radiateur, autocueil, etc.) et ne le laïsez pas dans une piece où la température est inférieure à 0^ ou supérieure à 40^ . Evitez également les sous-sols humides.
L'utilisation de ce produit à proximé d'appareils électriques peut cause des
interférences. Eloignez-le des apparéls électriques.
- Il est possible que le capteur effectue des déceptions incorrectes dans les lieux bruyants, lors de l'ouverture et de la fermeture de stores metalliques ou du déclenchement d'alarmes, par exemple. Evitez d'instructor le capteur dans de tels lieux.
Le son produit lors de l'ouverture et de la fermetre de portes peut entrainer des déceptions incorrectes. N'installé pas le capteur à proximité de portes. - Ne placez pas de stores ou d'écans de protection (rideaux insonorisants, par exemple) entre la vitre et le capteur. Cela peut empêcher le capteur de détecter le son des bris de vitre.
Le produit ne peut pas détecer le son d'un bris de vitre en fonction des conditions de bruit ambiantes.
Pour évier les fausses déceptions, n'installez pas le produit à un endroit où des bruits forts se font entendre ou à proximité d'appareils générant un bruit important. - Reportez-vous à la section "Plage de détéction du capteur" à la page 13 et installez le produit à portée de communication sans fil du hub.
Autres informations
ATTENTION: il existe un risque d'explosion si la pile est replacee par un type de pile incorrect. Mettez au rebut les piles usagees conformement aux instructions.
Entretien habituel
Nettoyez la surface extérieure de l'appareil avec un chiffon doux humide.
Informations importantes
N'utilisez pas de benzene, diluant ou toute poudre abrasive.
Élimination des équipements et des piles usages (uniquement en Union europeenne et dans les pays ayant mis en place des systèmes de recyclage)



Apposés sur le produit lui-même, sur son embailleage ou figurant dans la documentation qui l'accompagne, ces pictogrammes (①, ②) indiquent que les piles et les appareils électriques et électroniques usages doivent être séparés des ordures menagères.
Afin de permettre le traitement, la valorisation et le recyclage adequats des piles et des apparecs usages, veuilles les porter à l'un des points de collecte prévus, conformément à la législation nationale en vigueur.
En les éliminant conformément à la réglementation en vigueur, vous contribuez à éviter le gaspillage de ressources précieuses ainsi qu'à protéger la santé humaine et l'environnement.
Pour de plus amples renseignements sur la collecte et le recyclage, veuilliez vous renseigner auprès des collectivités locales.
Le non-respect de la réglementation relative à l'élimination des déchets est passible d'une peine d'amende.
Pour les utilisateurs professionnels au sein de l'Union Européenne
Si vous souhaitez vous débarrasser de pièces d'équipement électrique ou
electronique, veuillus you renseigner directement auprès de votre détaillant ou de votre fournisseur.
Information relative à l'élimination des déchets dans les pays extérieurs à l'Union européen
Ces symboles (1, 2) ne sont valables que dans l'Union Européenne. Pour connaître la procédure applicable dans les pays hors Union Européenne, veilliez vous renseigner auprès des autorités locales compétentes ou de leur distributeur.
Note relative au pictogramme des piles
Le pictogramme (2) peut être associé à un symbole chimique. Dans ce cas, il replifté également les exigences posées par la Directive relative au produit chimique concerné.
Note relative à la procédure de retrait des piles
Reportez-vous à la section "Introduction des piles" à la page 9.
Configuration
Pèces et fonctions

1 Microphone
Voyant LED
3 [HIGH]/[LOW] (elevé/faible)
Permet de modifier la sensibilité du détecteur (page 17).
4 Cache arrête
5 [C]
Permet de vérifier l'etat du détector ou d'enregistrer le détector au niveau du hub.
Voyant LED
Voupez appuyer sur [])C] et vérifier I'etat du détecteur a I'aide du voyant LED. Une fois I'etat du détecteur vérifie, nous you recommendons de désactiver le voyant LED en appuyant de nouveau sur [])C] dEs que possible, faute de quoi la durée de vie de la pile peut etre réduite.
| Voyant | Etat |
| Vert, allumé | Aucun bris de vitre détecté |
| Rouge, allu-mé | Bris de vitre détecté |
| Rouge, cli-gnotant | Le détecteur est hors de portée du hub |
| Vert, cligno-tant lente-ment | Mode d'enregistrement (vous avez appuyé sans relâcher sur [•])C) |
| Eteint | Pas d'alimentation sur pile |
Remarques :
- LevoyantLED n'indique I'etat du détector que si le détector a ete enregistré (page 10).
Vue d'ensemble de la configuration
1 Configuration initiale Assurez-vous de pouvoir acceder au système à l'aide de votre apparéil mobile. Pour plus de détails, reportez-vous au Guide de configuration du système fourni avec le hub.
2 Introduction des piles
Le détector fonctionne sur piles.
3 Enregistrement
L'enregistrement n'est requis que si le détector a eté achete séparation (pas dans le cadre d'un ensemble).
4 Vérification de la zone d'installation Lisez les informations du present document pour vous assurer que la zone d'installation souhaitee est adaptee au bon fonctionnement de I'appareil.
5 Installation
Installez le détecteur à l'emplacement souhaïte.
Introduction des piles
- UTILISEZ UNIQUEMENT des piles alcalines de format AA (LR6).
N'utilisez PAS de piles au manganese/ Ni-Cd/Ni-MH. - Vérifiez la polarité (, ) .
1 Retirez le cache arrêté en appuyant sur les côtes supérieurs du cache (①) et en faisant glisser le cache vers le bas (②).

2 Introduisez les piles.

3 Installez le cache arriere.
- Orientez le repère " " vers le haut et faites glisser le cache.

Remarques :
- Si le niveau de la pile du capteur est faible, un message s'affiche sur l'ecran [Capteur] de l'application [Home Network]. Nous vous recommandons de consulter régulièrement cet écran pour veiller à ce que la pile ne se décharge pas complètement. Pour plus d'informations, reportez-vous au Guide de l'utilisateur (page 18).
Configuration
Enregistrement du détecteur
Cette procedure n'est pas requise pour les apparèels inclus dans un ensemble.
Pour utiliser le détecteur, vous devez l'enregistrer au niveau du hub. Si vous avez acheté les apparciels séparément (pas dans le cadre d'un ensemble), vous devez enregistrer chaque apparéil au niveau du hub.
Vous pouvez enregistrer chaque apparéel à l'aide des boutons d'enregistrement ou de l'application [Home Network].
Remarques :
Pour plus d'informations au sujet de l'annulation de l'enregistrement des disposits, reportez-vous au Guide de l'utilisateur (page 18).
À l'aide des boutons d'enregistrement
1 Hub:
Appuyez sans relâcher sur [•])C OTHER DEVICE] jusqu'à ce que le voyant LED clignote lentement en vert.
2 Detecteur:
Appuyez sans relâcher sur [•)C] jusqu'à ce que le voyant LED clignote lentement en vert (page 8).
- Une fois l'enregistrement terminé, le hub émet un long signal sonore.
Remarques :
Pour proceder à l'annulation sans enregistrer le détector, appuyez de nouveau sur la touche [C] au niveau du hub et du détector.
- En cas d'éché de l'enregistrement, le hub émet plusieurs signaux sonores courts.
A l'aide de l'application
Lors de l'enregistrement du détecteur à l'aide de l'application [Home Network], vous pouvez attribuer un nom à vos apparèils et les regrouper par emplacement. Pour plus d'informations, reportez-vous au Guide de l'utilisateur (page 18).
Configuration
Vérification de la zone d'utilisation
Plage de communication sans fil
La plage de communication sans fil de chaque apparéil du système par rapport au hub est d'environ 50 m à l'intérieur et d'environ 300 m à l'extérieur. Il est possible que la communication sans fil ne soit pas fiable lorsque les obstacles suivants se trouvent entre le hub et les apparéils.
- Écrans ou portes en métal
Murs isolés avec des feuilles d'aluminium
Murs en beton ou en tôle ondulée - Fenêtes à double vitrage
- Plusieurs murs
Lorsque les apparéils se situent à des étages différents ou dans différentsBATIMENTS
Remarques :
- Vous pouvez vérifier le statut de communication du détector en appuyant sur [▶]C. Si levoyant LED est allumé en vert ou en rouge, le détector communique correctement avec le hub. Si levoyant LED clignote en rouge, le détector est hors de portée du hub.
Mises en garde relatives à la zone d'utilisation
L'utilisation du capteur dans les lieux suivants peut entraîner des déformations, des anomalies de fonctionnement ou des pannes.
- à la lumière directe du soleil
-
Dans des lieux exposés à la graisse ou à la vapeur (cuises, par exemple)
-
À proximé d'un feu ou d'appareils de chauffage
- A proximité de champs magnétiques (fours à micro-ondes et aimants, par exemple)
- Dans des lieux soumis à des changements de températures extrêmes (climatiseurs, par exemple)
- A proximé d'appareils qui émettent de fortes ondes radio (telephones portables, par exemple)
Configuration
Informations relatives aux fonctionnalités du détecteur
Le capteur utilise un microphone pour déctector les fréquences sonores uniques produites lors du bris de vitre.
Veuillez tire les informations suivantes avant de déscerir de l'emplacement d'installation du capteur.
Remarques :
- Les fonctionnalités de détention ne sont pas conçues pour les situations nécessitant une fiabilité élevée. Nous vous déconseillons d'utiliser les fonctionnalités de détention dans de telles situations.
- La société Panasonic ne peut être tenue responsable des blessures ou des dommages causés par l'utilisation du capteur.
- Il est possible que le capteur effectue des déctions incorrectes en raison du bruit général lors de l'ouverture et de la ferméture de stores metalliques, du déclenchement d'alarmes, etc.
- Le capteur est unconçu pour détecter le son du bris de vitre occasionné par un impact. Il ne détecte pas les autres types de bris de vitre, comme lorsque le verre est découvert ou retire, par exemple.
- En cas d'anomalie de fonctionnement du capteur, si le capteur est hors de portée ou si le niveau de la pile est trop faible, le hub émet une alerte, le voyant du hub clignote et l'application [Home Network] affiche un message. Vous pouvez annuler temporairement l'alarme en appuyant sur la touche [Wi-Fi SETUP] du hub. Une fois le problème résolu (vous avez rapproché le capteur du hub,
replaces a pile, etc.)., l'alerte n'est plus émise.
Specifications de verre applicables*1
| Type | Épaisseur |
| En feuilles | Minimum: 2 mm Maximum: 6 mm |
| Trempé | Minimum: 3 mm Maximum: 6 mm |
| Multiple*2 | Minimum: 2 mm Maximum: 6 mm |
1 Conformément à la norme UL 639.
2 Le vitrage multiple isolant n'est protégé que si les deux plaques de verre sont cassetés.
Remarques :
- La taille minimale pour tous les types est de 28~cm × 28~cm .
- Le verre doit être fixé dans un cadre et le cadre doit être installé dans un mur.
- Il est possible que le capteur ne détecte pas les bris de pouvoir pour les types de verre non mentionnés ici (verre renforcé avec un treillis métallique ou verre recouvert d'un film, par exemple).
- Installez le capteur conformément à la norme d'installation et de classification des systèmes d'alarme antivol, UL 681.
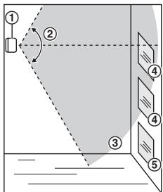
Plage de détction du capteur
La plage de détction du capteur varie en fonction de la position du commutateur de sensibilité ([HIGH]/[LOW]).
Remarques :
- Installé le capteur dans la même piece que la fenêtre à surviller. Un mur ou tout autre obstacle entre la fenêtre et le capteur peuvent empêcher le capteur de détecter le bris de vitre, même si le capteur est installé au sein d'une plage de détction décrite ici.

Vue du dessus
① Capteur
② Plage horizontally : environ 120°
③ Distance maxima: environ 4,6 m lorsque le commutateur est regle sur [HIGH] ou environ 2,3 m lorsqu'il est regle sur [LOW]
④ Verre à l'intérieur de la zone de détention
⑤ Verre à l'extérieur de la zone de détéction

Vue de côté
① Capteur
② Plage verticalie : environ 120°
③ Distance maxima : environ 4,6 m lorsque le commutateur est reglé sur [HIGH] ou environ 2,3 m lorsqu'il est reglé sur [LOW]
④ Verre à l'intérieur de la zone de détention
⑤ Verre à l'extérieur de la zone de détention
Configuration
Montage mural
Il y a deux méthodes pour le montage mural du capteur. Pour installer le détecteur à plat contre le mur, utilisez le cache arrière. Pour installer le capteur de manière à ce qu'il soit incliné de 45^ vers la gauche ou vers la droite, utilisez l'adaptateur de montage mural.
Exemples de montage*1 du cache arriere et de I'adaptateur de montage mural

① Cache arrête

② Adaptateur demontage mural
*1 Vue du dessus
Remarques :
- Installez le détecteur sur une surface stable en mesure d'en supporter le poids.
- N'installé pas le détecteur sur un matériel mou. Elle pourrait tomber, se casser ou causer des blessures.
- Ne montez pas le détecteur sur une plaque de plâtre, du béton cellulaire léger autoclave, un bloc en béton, du contreplaqué d'une épaissur inférieure à 25,4 mm, etc.
- Installez le capteur face à la fenêtre dont vous souhaitez détecter les bris de vitre. N'installé pas le capteur sur le même mur que la fenêtre.
-
Installez le capteur de manière à ce qu'il n'y ait pas d'obstacles susceptibles de bloquer le son du bris de vitre entre le capteur et la fenetre.
-
Les bruits ambiants, tels que le bruit de la vaisselle, du verre ou d'objets metalliques qui s'entrenochouant, les bruits d'explosions, les voix d'enfants, le hurlement de chiens, etc., peuvent cause derausses detections. Des detections incorpètes peuvent survenir lorsque le capteur est installé dans une cuisine, un garage, une buanderie, une cage d'escalier, une salle de bains, etc.
- N'installez pas le capteur à proximité d'un compresseur d'air, la pression d'air généree peut en effet entraîner des déetections incorpèctes.
- N'installez pas le capteur dans le souffle d'un ventilateur ou dans un courant d'air, car le déplacement de l'air pourrait provoquer de fausses déetections ou empêcher le capteur de détecter le son du bris de verre.
- De fausses déctions peuvent se produit et l'autonomie de la batterie peut être considérablement réduite si des dispositifs produits un son continu (teléviseurs, lecteurs de musique ou haut-parleurs, instruments de musique, etc.) sont placés à proximité du capteur.
Utilisation du cache arrête
1 Retirez le cache arrête en appuyant sur les côtes supérieurs du cache (①) et en faisant glisser le cache vers le bas (②).

3 Fixez le capteur au cache arrête.
- Insérez les rainures du capteur dans les 4 languettes du cache arrière, puis appuyez sur le capteur.

2 Fixez le cache arrêté au mur à l'aide de vis (A).
- Placez le cache arrêté avec le repère "UP" orienté vers le haut.
- 37 mm

Configuration
Utilisation de l'adaptateur de montage mural
1 Retirez le cache arrêté en appuyant sur les côts supérieurs du cache (1), puis faites-le glisser vers le bas (2).

Fixez l'adaptateur de montage mural au mur à l'aide de vis (A).
- Placez l'adaptateur de montage mural en orientant le repère "UP" vers le haut.
B 21mm

3 Fixez le capteur à l'adaptateur de montage mural.
- Insérez les rainures du capteur dans les 4 languettes de l'adaptateur de montage mural, puis appuyez sur le capteur.

Réglage de la sensibilité du détecteur
Vous pouvez regler la sensibilité du détecteur à l'aide du commutateur [HIGH]/[LOW] (page 8).
Sélectionnez le réglage [LOW] si le capteur effectue féquèment des détaîctions incorpètés.
Fonctionnalités disponibles lors de l'utilisation de l'application [Home Network]
Certaines des fonctionnalités du détector disponibles lors de l'utilisation de l'application [Home Network] sont répertoriées ci-dessous. Pour plus d'informations, reportez-vous au Guide de l'utilisateur (page 18).
- Systeme d'alarme
Voupeuzeutiliserl'application pour activer et déactiver le système d'alarme,verifier l'etat du détecteur et consultier le journal des événements survenus.
- Intégration du détecteur
Vouysouvez configurer le détector de manière à ce qu'il déclenché d'autres événements système, teils que l'enregistrement par uneamera, l'activation d'un apparéil électrique (une lampe, par exemple), etc. (apparéil ajusté requis).
- Alerte téléphonique
Vous pouvez configurer le système de maniere à ce qu'il compose un numero
de téléphone préprogramme lorsque le détecteur est déclenché.
Annexe
Accès au Guide de l'utilisateur
Le Guide de l'utilisateur regroupe des documents en ligne qui vous aient à profiter pleinement de l'application [Home Network].
1 iPhone/iPad
Appuyez sur : au niveau de l'écran d'accueil de l'application.
Appareils AndroidTM
Appuyez sur : ou appuyez sur le bouton de menu du dispositif mobile au niveau de l'écran d'accueil de l'application.
2 Appuyez sur [Guide de l'utilisateur].
Remarques :
- Les versions 8 et antérieures de l'application Microsoft® Windows® Internet Explorer® ne sont pas prises en charge.
- Les versions 4.1 et plus récentes de l'application Android sont recommandées.
- Vous pouvez également acceder au Guide de l'utiliser au partir de la page Web indiquée ci-dessous.

www.pcc-support/tel/homenetwork/manual/
\section*{Caracteristique}
Normes
telecommunications numériques sans fil améliorées)
- Plage de fréquences
1,88 GHz - 1,90 GHz
- Puissance de transmission de radiofrequence
Environ 10 mW (puissance moyenne par canal)
250 mW (maximum)
- Alimentation électrique
Piles alcalines AA (LR6) (2× 1,5V)
- Conditions de fonctionnement
0^ - 40^
- Méthode de détention
Capteur acoustique
- Plage de détéction du capteur
Horizontal: environ ±60°
Verticale : environ ±60°
Distance ^+1 : environ 4,6 m lorsque le commutateur de sensibilité est régé sur [HIGH], environ 2,3 m lorsqu'il est régé sur [LOW]
Autonomie assurée par la pile Jusqu'a 1 an\*2
- Dimensions (hauteur × largeur × profondeur)
- Avec le cache arrêté installé :
Environ 72mm× 73mm× 39mm
- Avec l'adaptateur de montage mural installé :
Environ 72mm× 73mm× 61mm
- Poids
- Avec le cache arrêté installé :
Environ 69 g, piles non comprises
- Avec l'adaptateur de montage mural installé :
Environ 76g piles non comprises
*1 Lorsque la temperature ambiente est d'environ 25 °C.
*2 Lorsque le capteur est déclenché une fois par mois et que la température ambiente est d'environ 25^ . Veuillez notes que la durée de vie de la pile peut être réduite dans des environnement très froids et dans des endroits où des bruits très forts ( comme une porte qui claque) se produit fréquement. Elle peut être très fortément réduite si le capteur est installé pres de dispositifs qui produit un son continu ( téléviseurs, lecteurs de musique ou haut-parfleurs, instruments de musique, etc.).
Annexe
Symboles graphiques utilisables sur l'équipement et description
| Symbole | Explication | Symbole | Explication |
| ~ | Courant alternatif (c.a.) | □ | Équipement de catégorie II (équipement dont la protection contre les décharges électriques est basée sur une isolation double ou renforcée) |
| --- | Courant continu (c.c.) | | | "Marche" (électricité) |
| ∑ | Conducteur de terre de protection | ○ | "Arrêt" (électricité) |
| = | Conducteur de terre de racordement de protection | ○ | Veille (électricité) |
| ↓ | Conducteur de terre fonctionnel | ○ | "Marche"/"Arrêt" (électricité; push-push) |
| Pour l'utilisation en interieur uniquement | ○ | Attention, risque de décharge électriche |
Notes
Notes
Notes
Références à nous communiquer lors de tout contact
Il est recommandé de garder ces informations à portée de main lors de toute demande de réparation sous garantie.
| N° de série | Date d'achat |
| (À l'intérieur du compartment des piles) | |
| Nom et adresse du vendeur |
Joignez notre ticket de caisse ici.
Panasonic Corporation
1006, Oaza Kadoma, Kadoma-shi, Osaka 571-8501, Japan
http://www.panasonic.com
Notice Facile