KX-HNS104EX2 - Veiligheidssensor PANASONIC - Gratis gebruiksaanwijzing en handleiding
Vind de handleiding van het apparaat gratis KX-HNS104EX2 PANASONIC in PDF-formaat.
Questions des utilisateurs sur KX-HNS104EX2 PANASONIC
0 question sur cet appareil. Repondez a celles que vous connaissez ou posez la votre.
Poser une nouvelle question sur cet appareil
Download de handleiding voor uw Veiligheidssensor in PDF-formaat gratis! Vind uw handleiding KX-HNS104EX2 - PANASONIC en neem uw elektronisch apparaat weer in handen. Op deze pagina staan alle documenten die nodig zijn voor het gebruik van uw apparaat. KX-HNS104EX2 van het merk PANASONIC.
GEBRUIKSAANWIJZING KX-HNS104EX2 PANASONIC
Installatiehandleiding
Thuisnetwerksystem
Glas sensor
Model KX-HNS104EX2

Bedankt dat u hebt gekozen voor een product van Panasonic.
In dit document worden uitgelegd hoe de glassensor correct要去 worden geinstalleerd.
Raadpleeg de Gebruikershandleiding (pagina 17) voor meer informatie over het gebruik van het systeme.
Lees dit document aandachtig door voordat u het apparaat in gebruik neemt enbewaar het voor latere naslag.
Inhoud
Inleiding
Aanvullende informatie 3
Belangrjke informatatie
Vrijwaring 4
Over dit system 4
Voor uwveiligheid 4
Belangrijke veiligheidsinstrumentes ....5
Voor de beste prestaties 5
Overige informatie 6
Instellen
Onderdeelnamen en functies 8
LED-indicator 8
Instellen: overzicht 8
De batterijenplaatsen 9
De sensor registrieren 10
Het gebruiksgebied bevestigen ....11
Informatie over sensorfuncties.....12
Wandmontage 14
Bijlage
De sensorgevoeligkeit aanpassen 17
Beschikbare functies bij gebruik van de app [Home Network] 17
Toegang tot de Gebruikershandlung 17
Specifications 18
Aanvullende informatatie
Meegeleverde accessoires
| Nr. | Accessoire/artikelnummer | Aantal |
| ① | Batterijen*1 | 2 |
| ② | Adapter voor wand Montage*2 | 1 |
| ③ | Schroeven voor wand Montage (25 mm) | 2 |
1 Raadpleeg voor het verrangen van batterijen "Stroomvoorziening" van "Specifications", pagina 18 voor batterijgegevens.
2 De sensor kan met of zich de adapter voor wandmontage aan de muur worden bevestigd (pagea 14).
①

(2)

(3)

Overige informatatie
- Ontwerp en specifications können zonder waarschuwing worden gewijzigd.
- Deillustraties in deze publicatie kuren iewhat afwijken van het eigenglijke product.
Handelsmerken
- iPhone en iPad+zijn handelsmerken van Apple Inc., gedeponeerd in de Verenigde Staten en andere landen.
- Android is een handelsmerk van Google Inc.
- Microsoft, Windows en Internet Explorer zijn gedeponeerde handelsmerken of handelsmerken van Microsoft Corporation in de Verenigde Staten en/of andere landen.
- Alle overige vermelde handelsmerken zijn eigendom van hun respectieve eigenaren.
Belangrijke informatie
Vrijwaring
Bij juiste installmentie en onderhoud kan dit product een extra detectielaag bieden in het geval van gebroken glas. Panasonic biedt geen garantie dat het op elk moment, of onder alle omstandigheden of in een bepaalde omstandigheid, gebroken glas deteeteert, of werkkt voor alle typen glas, of verlies van of schade aan eigendommen of personen voorkomt. Panasonic is nicht verantwoordelijk voor enig persoonlijk letsel, of schade aan eigendommen of ander verlies, van enig soort, in het geval het product geen waarschuwing of melding geeft.
Over dit system
- Dit systeme is een hulpsysteme, het is nicht ontworpen om volledige bescherming gegen materièle schade te bieden. Panasonic kan Niet aansprakelijk worden gehouden voor eventuele materièle schade die optreedt verwijl dit systeme in bedrijf is.
- De draadloze functies van het systeme kunnen last hebben van storingen, waardoor geen functionaliteit in alle situations kan worden gegarandeerd. Panasonic kan Niet aansprakelijk worden gehonden voor letsel of materiele schade in geval van fouten of storingen in de draadlozecommunicatie.
Voor uw veiligheid
Om ernstig letsel en gevaar voor uw leven/ eigendommen te voorkomen dient u dit gedeelte goed door te lezen voordat u het product in gebruik neemt.

WAARSCHUWING
Voedingsaansluiting
- Gebruik alleen de stroombron die op het apparaat worden aangegeven.
- Sluit geen apparaten aan die nicht zich gespecifieerd.
Installatie
- Vermijd ter voorkoming van vuur en elektrische schokken bootstelling van dit product aan regen of vocht.
- Plaat of gebruik dit product nicht in de buurt van automatische apparaten zoals automatische deuren en brandalarmen. De door dit product uitgezonden radiogolven kunnen storigen in dergelijkke apparaten voorzaken waardoorke opgelukken kunnen gebeuren.
- Installeer het product Niet op een plat oppervlak. Installer het product Niet aan een plafond, aangezien het product kan vallen waardoor schade of letsel kan wordenveroorzaakt.
- Houdkleine onderden (schroeven, enz.) buihen het bereik van kinderen. Deze onderden kannen worden ingeslikt. Wanner ze worden ingeslikt, moet u direct een arts raadplegen.
Veilig gebruik
Haal het apparaat Niet uit elkaar.
Medisch
-
Neem contact op met de fabrikanten van uw personlijke medische apparatuur, zoals pacemakers of gehoorapparaten, om te controleren of die apparatuur voldoende is beschermd gegen externe radiofrequente energia. DECT-functies werken:tussen 1,88 GHz en 1,90 GHz met een piekoverdrachtvermögen van 250mW
-
Gebruik dit product nicht in zorginstellungen wonneer in deze instillingen worden aangegeven dat dit nicht is toegestaan. Ziekenhuizen en zorginstellungen können apparatuur gebruiken die gevoelig is voor externe radiofrequentenergie.

LET OP
Batterij
- De batterijen要去en correct worden gebruikt, zdat het product nicht worden beschadigd als gezolg van batterijilekkage.
- U要去 de batterijen Niet opladen, kortsluiten,uit elkaar halen of verhitten.
- Gooi nooit batterijen in een open vuur.
- Verwijder alle batterijen wonneer u deze verwangt.
- Gebruik geen oude en{nieuwe, of verschillende typen batterijen door elkaar.
- Het worden aangeraden batterijen Jaarliks te verrangen.
- Houd buiten het bereik vankleine kinderen. Deze onderdelen kannen worden ingeslikt. Als de batterij worden ingeslikt,要去 un onmiddelijk medische hulp inroepen.
- Verwijder de batterij als deze nicht meer kan worden gelebruikt. Er bestaat een kans op lekkage, oververhitting en breuken. Probeer geen batterij te gelebruiken die lekt.
- U moet Niet opzettelijk water op de batterij gieten of deze nat lately worden. Er bestaat een kans op brand en rook. Als de batterij nat worden, moet u deze ommiddelijk verwijderen en contact opnemen met een goedgekeurd servicecentrum.
Belangrijke veiligheidsinstructies
Volg als u het apparataat gebrukt aktijd de veilighdevsoorrichten ter voorkoming van brand, elektrische schokken of persoonlijk letset, waaronder:
- Gebruik het apparaat Niet bij water, zoals badkuipen, wastafels, aanrechten, in een vochtige kelder of bij een zwembad, enzoovoor.
- Gebruik alleen de batterijen die in dit document worden beschreiben. Gooi nooit batterijen in een open vuur. Deze kunnen explodingeren. Houd u bij het weglooien van batterijen aan de lokale milieuvoorschriften.
BEWAAR DEZE INSTRUCTIES
Voor de beste prestaties
Locatie van hub/ruis voorkomen
De hub en andere compatibile Panasonic-apparaten gelebruiken radiogloven voor de onderlinge communicatorie.
Voor een maximaal bereik en storingsvrijne communicatie plaatst u de hub:
- op een gemakkelijk bereikbare, hoge en centrale locatie (binnenshuis) zonder obstakels:tussen het product en de hub;
buiten bereik van elektronische apparatusu, zoals televisioneystellen radio's, computers, draiaidoze apparatusu en andere telefoons;
-uit de buurt van radiofrequentiezenders, zoals
Belangrijke informatie
buitenantennes of zendmasten van mobiele telefoons. (Zet de hub nicht voor het raam of waar in de buurt.)
- Als de ontvangst met de hub op een bepaalde locatie Niet goed is, zet de hub dan ergens anders.
Omgeving
Zorg ervoor dat er geen apparaten in de buurt van het apparaat+zijn die elektrische interferente genereren, zoals Spaarlampen en motoren.
- Stel het apparaat Niet bloot aan extreem veel rook, stof, hoge temperaturen of trillingen.
- Stel het apparaat Niet bloot aan direct zonlicht.
- Plaats geen zware objeven op het product.
- Houd het product uit de buurt van warmebronnen, zoals verwarming, kooktoestellen enzovoort. Paars het product nicht in een kamer waar de temperatuur lager is dan 0^ of hoger dan 40^ . Vermijd ook vochtige kelders.
- Gebruik van het product in de buurt van elektrische apparaten kan storing veroorzaken. Ga uit de buurt van het elektrische apparaat.
- De sensor kan valse detections make op lawaierige locaties, zoals wanneer er geluid is van metalen jaloezieën die open- en dichtgaan of van de metalen bel van een wekker. Zorg dat u de sensor Niet op dergelijkke locaties installeert.
- Het geluid van open- en dichtgaande deuren kan valse detectie veroorzaken. Installer de sensor Niet in de buurt van deuren.
- Plaats geen schermen of afterscheringen (zoals geluidempende gordijnen)CUSus het glas en de sensor.Dit kan zorgen dat de sensor het geluid van brekend glas Niet kan detecteren.
- Het product kan maybe het geluid van brekend glas Niet detecteren affankelijk van de geluiden in de omgeveing.
- Voorkom valse detecties door het product Niet te installereren in gebieden met harde geluiden of in de buurt van apparaten die harde geluiden producereren.
- Raadpleeg "Detectiebereik van sensor" op pagina 13 en installeer het product binnen het draadloze-communicatiebereik van de hub.
Overige informatatie
OPGELET: er is explosiegevaar als de batterij wordt verwangen doen een batterij van het verkeerde type. Voer gebruekte batterijen af volgens de instructies.
Algemene verzorging
Veeg het oppervliak van het product schoon met een zachte,vochtige doeck.
- Gebruik geen benzine, verdunner of schuurmiddel.
Oude apparaten en batterijen afvoeren (alleen voor Europese Unie en landen met recyclingsystemen)



Deze symbolen (1, 2) op de produits, verpakkingen, en/of begeleidende documenten beteken dat gebruekte elektrische en elektronische producten en batterijen Niet met het algemene huishoudelijk afval gemengd moot worden.
Voor een correcte behandeling, recuperatie en recyclage van oude produits en gebruekte batterijen要去en zij naar de bevoegde verzamelpunten gebracht worden in overeenstemming met uw nationale wetgeving.
Door.Deze producten correct af te voeren draagt u uw steentje bij tot het beschemen van waardevolle middelen en tot depreventie van potentielle schadelijkeeffecten op de gezondheid van de mens enop het milieu.
Neem contact op met uw lokale overheid voor meer informatie over inzameling en recyclung.
Voor een Niet-correcte verwijdering van dit afval kunnen boetes opgelegd worden in overeenstemming met de nationale wetgeving.
Voor zakelijk gebruikers in de Europese Unie
Indien u elektrische en elektronische apparaten wilt afvoeren, neem dan contact op met uw dealer voor meer informatie.
Informatie over het afvoeren in andere landen buiten de Europese Unie
Deze symbolen (1, 2) zijn enkel geldig in de Europese Unie. Indien u deze producten wilt afvoeren, neem dan contact op met uw plaatelijkke autoriteiten of dealer, en vraag informatie over de correcte wijze om deze producten af te voeren.
Opmerking over het batterijensymbol
Dit symbol (2) kan geleukt worden in verbinding met een chemisch symbol. In dat geval wordt de eis, vastgelegd door de Richtlij voor de betrokken chemische producten verruld.
Opmerking over de verwijderingsprocedure voor de batterij
Raadpleeg "De batterijenplaatsen" op pagina 9.
Instellen
Onderdeelnamen en functies

1 Microfoon
2 LED-indicator
3 [HIGH]/[LOW] (hoog/laag) Wordt gebruikt om de sensorgevoeligheid te wijdige (pagina 17).
4 Achterste kap
5 [C] Wordt gebruikt om de status van de sensor te bevestigen of de sensor bij de hub te registeren.
LED-indicator
U kunt op []C drukken en de LED-indicator controlleden om de sensorstatus te bevestigen. Nadat de sensorstatus is bevestigd, raden we aan de LED-indicator uit te schaken door zo snel
mogelijk opnieuw op [ ]C] te drukken om de batterij Niet onnodig te belasten.
| Indicator | Status |
| Groen, brandt | Geen gebroken glas ge-detecteerd |
| Rood, brandt | Gebroken glas gedetec-teerd |
| Rood, knip-pert | Sensor bevindt zich bui-ten het bereik van de hub |
| Groen, knip-pert lang-zaam | Registratiemodus (u hebt [♦]C) ingedrukt gezhou-den) |
| Uit | Geen batterijvermogen |
Opmerking:
- De LED-indicator geeft de sensorstatus Niet aan als de sensor Niet is geregisteerd (pagea 10).
Instellen: overzicht
1 Eerste configuratie
Zorg dat u toegang tot het systeem hebt met uw mobiele apparaat. Raadpleeg de Instelhandleiding voor systeem bij uw hub voor meer informatie.
2 De batterijenplaatsen
De sensor werkt op batterijen.
3 Registerten
Alleen vereist als de sensor afzonderlijk is aangeschaft (niet als deel van een bundel).
4 Het installmentgebied bevestigen
Lees de informatatie in dit document om te bevestigen dat het gewenste installmentgebied geschikt is voor een juiste werkinq.
5 Installatie
Installer de sensor op de gewenste locatie.
De batterijenplaatsen
- GEBRUIK ALLEEN alkalinebatterijen AA (LR6)-formaat.
- Gebruik GEEN mangan-, Ni-Cd- of Ni-MH-batterijen.
- Controller of de batterijen correct zijn geplaatst ( ,)
1 Verwijder de achechterste kap door op de bovenkanten van de kap (3) te drukken en deze omlaag te schuiven (2).

2 Plaats de batterijen.

3 Installee de allerste kap.
- Plaats de kap met de " " -markering omhoog gezicht en schuif de kap terug.

Opmerking:
- Als de batterij van de sensor bijna leeg is, worden een bericht weergegeven op het scherm [Sensor] van de app [Home Network]. We raden aan dit scherm regelmatig te controeren om te voorkomen dat de batterij volledig ontladen worden. Raadpleeg de Gebruikershandleiding (page 17) voormeer informatie.
Instellen
De sensor registraren
Deze procedure is nicht vereist voor apparaten die zich geleverd als deel van een bundel.
Voordat u de sensor kutn gebruiken, moet\
deze worden geregistreerd bij de hub.
Als u apparaten afzonderlijk hebt gekocht\
(niet als deel van een bundel), moet u elk\
apparaat bij de hub registeren.
U kunt elk apparaat registrareren met behulp van de registratieknappen of de app [Home Network].
Opmerking:
- Raadpleeg de Gebruikershandleiding (pagea 17) voor meer informatie over het ongedaan maken van de registratie.
Registrarieknoppen gebruiken
1 Hub:
Houd [] OTHER DEVICE]
ingedrukt totdat de LED-indicator langzaam groen knippert.
2 Sensor:
Houd [ ]C] ingedrukt totat de LED-indicator langzaam groen knippert (pagea 8).
- Wanneer de registatie is voltood, speelt de hub een lange pieptoon af.
Opmerking:
- Als u wilt annuleren zonder de sensor te registrieren, drukt u nogmaals op [C] op de hub en op de sensor.
- Wonneer de registratie is mistrukt, speelt de hub verschillende korte pieptonen af.
De app gebruiken
Wanneer u de sensor registreert met behulp van de app [Home Network],ktunt u een naam toewijzen aan uw apparaten en ze groeperen op locatie. Raadpleeg de Gebruikershandleiding (pagina 17) vooreer informatie.
Instellen
Het gebruiksgebied bevestigen
Bereik van draadloze communicatie
Het bereik van de draadloze communicaie van elk apparaat in het systeme van de hub is ongeveer 50m binnenshuis en ongeveer 300m buitenshuis. Draadloze communicaie kan onbetrouwbaar zich wanner de volgende obstakelsussen de hub en andere apparaten staan.
- Metalen deuren of schermen
- Muren met isolatieplaten van aluminium
- Muren van beton of golfplaten
Ramen met dubbel glas - Meerdere muren
- Wanneer de diverse apparaten op verschilende verdiepingen of in verschilnde gebouwen worden gebruikt
Opmerking:
- U kunt de communicatiestatus van de sensor controleren door op [ )C] te drukken. Als de LED-indicator groen of rood brandt, werkt de sensor correct met de hub. Als de LED-indicator rood knippert, is de sensor buiten bereik van de hub.
Waarschuwingengebruiksgebied
Het gebruik van de sensor in de volgende gebieden kan zorgen voor verrorming, storing of onjuiste werkung.
In direct zonlicht
- Gebieden die blootstaan aan vet of stoom, zoals keukens
In de buurt van vuur of verwarmingsapparatuur
In de buurt van magnetische velden (zoals vlak bij magnetrons en magneten)
- Gebieden die bloodstaan aan extreme temperatuurwisselingen, zoals naast airconditioners
- In de buurt van apparaten die krachtige radiogolven afgeven, zoals mobiele telefoons
Instellen
Informatie over sensorfuncties
De sensor maakt gebruik van een microfoon om de unieke geluidsfrequenties te detecteren die worden geprodueerd wanner glas breek.
Lees de volgende informatie voordat u bepaalt waar de sensor要去 worden geinstalleerd.
Opmerking:
- De sensorfuncties zijn nicht bedoeld voor gebruik in situatuies die hoge betrouwbaarheid vereisen. In dergelijk situations raden we het gebruik van de sensorfuncties Niet aan.
- Panasonic aanvaardt geen verantwoordelijkheid voor hetsel of schade als gevolg van het gebruik van de sensor.
- De sensor kan valse detecties make wanner er geluid is van metalen jaloezieien die open- en dichtgaan, van de metalen bel van een wekker, enz.
- De sensor is ontworpen om het geluid van brekend glas te detecteren als gevolg van een impact. Andere soorten glasbreuk worden Niet gedetecteerd, bijvoorbeeld wanneer glas worden gesneden of verwijderd.
- Als de sensor nicht correct werkt, buiten bereik is of als de batterij bijna leeg is, speelt de hub een waarschuwing af, knippert de indicator van de hub en wordt een bericht weergegeven door de app [Home Network]. U kunte de waarschuwingijdelijk annuleren door op de knop [Wi-Fi SETUP] van de hub te drukken. Wanner u het probleem hebt opgelost (bijvoorbeeld de sensor zichter bij de hub hebt gezet, de batterij hebt verwangen, enz.), worden de waarschuwing nieter more afgespeeld.
Toepasselijeglassspecificaties*1
| Type | Dikte |
| Plaat | Minimaal: 2 mm Maximaal: 6 mm |
| Gehard | Minimaal: 3 mm Maximaal: 6 mm |
| Isolatie*2 | Minimaal: 2 mm Maximaal: 6 mm |
1 In overeenstemming met UL 639.
2 Verzegelde isolatieglastypen worden allen beschermd als bereits glasplaten gebroken zijn.
Opmerking:
- Minimaal formaat voor alle typen is 28cm× 28cm
- Het glas moet in een kozijn zijn bevestigd en het kozijn moet in een muur�ige geinstalleerd.
- De sensor detecteert möglich geen gebroeken glas voor glastypen die hier Niet worden vermeld,zoals glas dat is versterkt met draadgaas en gecoat glas.
- Installeer de sensor in overeenstemming met UL 681, de standard voor installmentie en classificatie van alarmsystemen gegen inbraigak en overvallen.
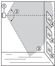
Detectiebereik van sensor
Het detectiebereik van de sensor schift ahfankelijk van de positie van de gevoeligheidschakelaar ([HIGH]/[LOW]).
Opmerking:
- Installeer de sensor indezelfde ruimte als het raam dat u wilt controeren. Muren of andere obstkelsussen het raam en de sensor kannen voorkomenDat se de sensor brekend glas detecteert, zelfs wonneer de sensor binnen de hiervermelde bereiken worden geinstalleerd.

Bij weergave van bovenaf
① Sensor
② Horizontaal bereik: circa 120^
③ Max. afstand: circa 4,6 m bij installing op [HIGH] of circa 2,3 m bij installing op [LOW]
④ Detectiegebied voor glas binnen
⑤ Detectiegebied voor glas buiten

Bij weergave van de zijkant
① Sensor
② Vertical bereik: circa 120^
③ Max. afstand: circa 4,6 m bij installing op [HIGH] of circa 2,3 m bij installing op [LOW]
④ Detectiegebied voor glas binnen
⑤ Detectiegebied voor glas buiten
Instellen
Wandmontage
Er zich twee methoden om de sensor aan de muur te monteren. Gebruik de achefterste kap om de sensor plat gegen de muur te bevestigen. Gebruik de adapter voor wandimontage als u de sensor zo wilt bevestigen dat deze links en rechts in een hoek van 45^ staat.
Montagevoorbeelden*1 van de achterste kap en de adapter voor wandmontage

① Achterste kap

② Adapter voor wandmontage
*1 Weergave van bovenaf.
Opmerking:
- Bevestig de sensor op een stabile locatie waar de sensor voldoende kan worden ondersteund bij bevestig.
- Bevestig de sensor nicht aan een zicht materiaal. Deze kan vallen en kapotgaan of letsel veroorzaken.
- Bevestig de sensor Niet aan de volgende materialen: gipsplaten, ALC (lichtgewicht autoclaafgehard cellenbeton), betonbloken, multiplex dat dummer is dan 25,4 mm, enz.
-
Installeer de sensor gegenover het raam dat u wilt bewaken op glasbreuk.
Installerer de sensor Niet aan bezelfde muur als het raam.
Zorg bij het installereren van de sensor dat er geen obstakels zijn tussen de sensor en het raam die het geluid van brekend glas+kennenblokkeren. -
Omgevingsgeluiden, zoals het geluid van servies, glas of metalen voorwerpen die elkaar raken, harde geluiden, kinderstemmen, jankende honden, enz., kuren valse detecties verroorzaken. Een geactiveerde sensor kan valse detecties geen als deze is geinstalleerd in een keuken, garage, onderhoudsruimte, trappenhuis, badkamer, enz.
- Installeer de sensor nicht in de buurt van een luchtcompressor, aangezieien de gegenererde luchtdruk valse detecties kanveroorzaken.
- Installer de sensor Niet op plekken waar luchtstromen of wind van een ventilator op de sensor kan blazen, aangezien dit valse detectives kan veroorzaken of kan verhinderen dat de sensor het geluid van brekend glas detecteert.
- Er kuren valse detections voorkomen en de batterijduur kan aanzienlijk worden verkort wanneer apparaten die voordturd geluid produceren (tv's, muziekspelers of luidsprekers, muziekinstrumenten, enz.) in de buurt van de sensor staan.
De achefterste kap gebruiken
1 Verwijder de achechterste kap door op de bovenkanten van de kap (3) te drukken en deze omlaag te schuiven (2).

2 Bevestig de achefterste kap aan de muur met behulp van schroeven (A).
- Plaats deijkenste kap met de "UP"-markering omhoog.
- 37 mm

3 Bevestig de sensor aan de achechterste kap.
- Plaats de groeven op de sensor op 4 tabjes van deijkenste kap en drukervoigens de sensor omlaag.

Instellen
Deadaptervoorwandmontagegebruiken
1 Verwijder de achechterste kap door op de bovenkanten van de kap (O) te drukken en deze omlaag te schuiven (2).

2 Bevestig de adapter voor wandmontage aan de muur met behulp van schroeven (A).
- Plaats de adapter voor wandmontage met de "UP"-markering omhoog.
B 21 mm

3 Bevestig de sensor aan de adapter voor wandmontage.
- Plaats de groeven op de sensor op de 4 tabjes van de adapter voor wandmontage en druk verrolgens de sensor omaag.

De sensorgevoeligkeit aanpassen
U kunt de [HIGH]/[LOW]-schakelaar (pagina 8) begruiken om de sensorgevoeligheid aan te passen. Stel.Deze in op [LOW] als de sensor frequent valse detections maakt.
Beschikbare functies bij gebruik van de app [Home Network]
Enkele sensorfuncties die beschikbaar zijn bij gebruik van de app [Home Network] worden hieronder weergegeven. Raadpleeg de Gebruikershandeiding (pagea 17) voormeer informatie.
- Alarmsysteme
U kunt de app gebruiken om het alarmsysteme te activeren of deactiveren, de huidige status van de sensor te bevestigen en een logboek van eerdere gebeurtenissen te bekijken.
Sensorintegratie U kunt de sensor configureren om andere systeemgebruartenissen te triggeren, zoals cameraopname, het inschaken van een elektrisch apparaat (zoals een lamp), enzovoort. (Geschikt apparaat vereist.)
Telefonische waarschuwing U kunt het systeme configureren om een voorgeprogrammeerd telefoonnummer te bellen wonneer de sensor worden getriggerd.
Toegang tot de Gebruikershandleiding
De Gebruikershandleiding is een verzameling online documentation wiearmee u optimaal gebruikmaakt van de app [Home Network].
1 iPhone/iPad
Tik op :in het beginschem van de app.
Android™-apparaten
Tik op of druk op de menuknop van uw mobiele apparaat in het beginschemr van de app.
2 Tik op [Gebruikershandleiding].
Opmerking:
- Microsoft® Windows® Internet Explorer® 8 en eerdere versies worden nicht ondersteund.
Android 4.1 of hogere versies worden aanbevolen. - U kunt de Gebruikershandleiding ook bekijken op de hieronder vermelde webpagina.

www.pcc-support/ tel/ homenetwork/manual/
Bijlage
Specifications
- Standaarden
DECT (Digital Enhanced Cordless Telecommunications: digitale draadloze telecommunicatione)
Frequentiebereik
1,88 GHz - 1,90 GHz
RF-overdrachtvermogen
Circa: 10 mW (gemiddeld vermogen per kanaal)
max. 250mW
Stroomvoorziening
AA (LR6) alkalinebatterij (2× 1,5V)
Bedrijfsomstandigheden
0^ - 40^
- Detectiemethode
Akoestische sensor
- Detectiebereik van sensor
Afstand*1: circa 4,6 m wanner de gevoeligheidsschakelaar is ingesteld op
[HIGH]: circa 2,3 m bij instilling op [LOW]
Levensduur batterijen
Tot 1 jaar*2
-
Afmetingen (hoogte × bredte × diepte)
-
Met dechychterste kap bevestigd:
Circa 72mm× 73mm× 39mm
- Met de adapter voor wandmontage bevestigd:
Circa 72mm× 73mm× 61mm
Gewicht
- Met de weiterste kap bevestigd:
Circa 69 g, de batterijen nicht meegerekend
- Met de adapter voor wandmontage bevestigd:
Circa 76 g, de batterijen nicht meegerekend
*1 Wonneer de omgevingstempoatuur circa 25 °C is.
*2 Wanner de sensor eenmaal per maand worden gettrigerd en de omgevingsttemperatuur circa 25^ is. De levendsduur van de batterij kan worden verminderd in zeer koude omgeveingen en in gebieden waar vaak harde geluiden (zoals dichtslaande deuren) juices, en worden drasticisch verminder wanner de sensor worden geinstalleerd in de buurt van apparaten die voordurdend geluid produceren (tv's, muziekspeler of luidsprekers, muziekinstrumenten, enz.).
Grafische symbolen voor gebruik op apparatuur en hun beschrijvingen
| Picto-gram | Uitleg | Picto-gram | Uitleg |
| ~ | Wisselstroom (AC) | □ | Klasse II-apparatuur (appa-ratuur waaroor bescherming tegen elektrische schokken worden geboden door dubbele isolatie of versterkte isolatie.) |
| --- | Gelijkstroom (DC) | | | "AAN" (stroom) |
| Randaarde | ○ | "UIT" (stroom) | |
| = | Beschemende aardverbin-ding | ○ | Stand-by (stroom) |
| Functionele aarde | ○ | "AAN"/"UIT" (stroom; druk-druk) | |
| Alleen voor binnengebruik | ○ | Waarschuwing: risico op elektrische schok |
Voor naslag
Wij raden u aan om de volgende gegevens te noteren. Dit is handig voor reparaties die vallen onder de garantie.
| Seriennummer | Aankoopdatum |
| (zie de binnenkant van het batterijcompartment) | |
| Naam en adres dealer | |
Bevestig hier uw aankoopbon.
Panasonic Corporation
1006, Oaza Kadoma, Kadoma-shi, Osaka 571-8501, Japan
http://www.panasonic.com
SimpelGids