RDVI342 - Plaque de cuisson ROSIERES - Notice d'utilisation et mode d'emploi gratuit
Retrouvez gratuitement la notice de l'appareil RDVI342 ROSIERES au format PDF.
| Type de plaque | Vitrocéramique |
| Nombre de foyers | 4 |
| Commande | Manuelle ou tactile |
| Puissance maximale | Non précisé |
| Dimensions (L x P) | Non précisées |
| Couleur | Noir |
| Matériau de surface | Verre vitrocéramique |
| Sécurité enfants | Oui |
| Minuterie | Oui |
| Indicateur de chaleur résiduelle | Oui |
| Type d'installation | Encastrable |
| Compatible avec batterie de cuisine | Compatible avec ustensiles adaptés |
| Fonction booster | Non précisé |
| Alimentation | Électrique |
| Nettoyage | Facile, surface lisse |
FOIRE AUX QUESTIONS - RDVI342 ROSIERES
Questions des utilisateurs sur RDVI342 ROSIERES
0 question sur cet appareil. Repondez a celles que vous connaissez ou posez la votre.
Poser une nouvelle question sur cet appareil
Téléchargez la notice de votre Plaque de cuisson au format PDF gratuitement ! Retrouvez votre notice RDVI342 - ROSIERES et reprennez votre appareil électronique en main. Sur cette page sont publiés tous les documents nécessaires à l'utilisation de votre appareil RDVI342 de la marque ROSIERES.
MODE D'EMPLOI RDVI342 ROSIERES
Avertissements et conseils importants pour l'utilisation
- IMPORTANT! Ce manuel fait partie intégrante de l'appareil. Il faut le conserver en bon état et à portée de la main pour tout le cycle de vie de la table de cuisson. Lire attentivement ce manuel et toutes les indications qu'il contient avant l'utilisation de l'appareil. Conserver les pieces de rechange eventuelles fournies.
L'installation et tous les branchements doivent être exécutés par du personnel qualifié, conformément aux normes de sécurité et aux lois en vigueur, sur la base des indications fournies par le fabricant Cet apparéil est prévu pour un usage domestique et est fabriqué pour replir la fonction suivante: cuisson et rechauffage des alimentés. Tout autre usage est considéré improupre
Le fabricant décline toute responsabilité pour une mauvaise installation, pour toute modification, incapacité d'utilisation et des utilisations différentes de celles individues
L'emballage est constitué de matériel recyclable et porte le symbole

Ne pas disperser dans l'environnement
- Vérifier que le produit n'ait pas eté endommagé pendant le transport
- Les éléments de l'emballage (sacs en plastique, mousse de polystyrene, nylon, etc.) ne doivent pas'être laissés à la portée des enfants car ce sont des sources de danger potentielles
- Cet apparéil n'est pas destiné à être utilisé par des personnes (notamment les enfants) incapables, irresponsables ou sans许可证 sur l'utilisation du produit, à moins qu'elles ne soient surveillées, ou instruites sur l'utilisation de l' apparéil, par une personne responsable de leur sécurité. Surveillez les enfants pour être sur qu'ils ne jouent pas avec l' apparéil
- La sécurité électriche n'est assurée que lorsque le produit est raccordé à une installation de mise à terre
- Il est dangereux de modifier ou d'essayer de modifier l'appareil. En cas de dysfonctionnement ne pas tenter de réparer seuls l'appareil mais demander l'assistance d'un technicien qualifié
- Àprous avoir utilisé l'appareil, s'assurer que l'index soit en position de "0" - fermeture
- Si l'on decide de ne plus utiliser cet apparéil, avant de l'éliminer, il est recommendé de le rendre inopérant comme prévu par les lois en vigueur en matière de santé et de protection de l'environnement, en rendant inoffensives les parties qui pourrait constituer un danger pour les enfants.
- Attention: En cas de démontage, entretien et nettoyage de l'appareil, faire attention, on recommende d'utiliser des instruments de prévention et de protection adequats
- La plaque d'identification, avec les données techniques, se trouve visiblement positionnée sous le carter et annexée à ce manuel. La plaquette sous le carter ne doit jamais être enlevée
- Ne jamais poser d'objets inflammables sur la plaque de cuisson. RISQUE D'INCENDIE
- Ne pas toucher les plaques chauffantes. RISQUE DE BRULURES! Les enfants doivent rester à une distance de sécurité de l'appareil. L'indicateur de chaleur résiduelle vous signale que les plaques sont chaudes. Le papier sulfurisé ou les recipients en plastique n'est pas ajusté pour cette table de cuisson
- Ne jamais stocker de produits combustibles ou bombes aérosols dans des tiroirs sous la table de cuisson
- Les câbles de branchement provenant d'appareils électriques ne doivent pas toucher les plaques chauffantes. Cela pourrait endommager la table de cuisson et l'isolement des câbles.
- La plaque chauffante et le dessous des casseroles doivent toujours être secs
- En cas de cassures, fissures ou fêtres du verre céramique, il y a risque de courtcircuit. Si la plaque chauffante surchauffe et l'afficheur est défectieux, si l'appareil s'estint toute seule et ne peut pas être utilisée. Débranchez-la immédiatement du secteur et contactez le service après-vente.
- Ces instructions ne sont valables que pour les pays dedestination dont les symboles d'identification figurent sur la plaquette reportée dans le manuel d'instructions et sur l'appareil
- Les illustrations pour l'utilisation de l'appareil sont regroupées dans la partie finale de ce manuel
Déclaration de conformité
Cet apparéil est conforme aux directives CE suivantes:
93/68/CEE : Normes Générales
2006/95/CEE:Basse tension
2004/108/CEE:Compatibilitéelectromagnétique
Règlement CE n° 1935/2004 : Aptitude des matérielles en contact avec les alimentés
CUISSON
TOUT RÉGLAGE, TRAVAIL DE MAINTENANCE, ETC. DOIT ÉTRÉ EFFECTUE SUR UNE TABLE DE CUISSON DEBRANCHÉE DU SECTEUR.
La caractéristique de la table en vitrocéramique est de permettre une transmission rapide de la chaleur dans les sens vertical, par les éléments chauffants placés sous la table de cuisson, aux casseroles posées sur celle-ci.
La chaleur ne se propage pas en mode horizontal et donc le verre reste "froid" à quelques centimétres de la zone
Avant la première utilisation, il est nécessaire de nettoyer la surface de la table de cuisson. Cette opération doit être effectue uniquement avec des produits de nettoyage pour plaques vitrocéramiques.
Après ce nettoyage, enlever tout résidu ou trace d'humidité eventuellement present.
Avant d'allumer, vérifier qu'elle est le commande qui contrôle la zone désirée.
ll est conseilé de poser le reipient sur la zone radiante avant l'allumage et de le retirer après l'extinction.
Ne jamais cuisine les alimentes directement sur la table en vitrocéramique, mais dans des casseroles appropriées.
Ne pas fixer intensément les lampes halogènes de la table de cuisson.
Éviter absolutement le fonctionnement sans récipiens. L'utilisation à vide de la plaque,
surtout si elle est prolongée, peut être la cause d'incendies.
Pour allumer la table, tourner la manette ou toucher le Touch-control à la potentence desiree.
Numéro 1 à 6-10 (dépendamment de le modèle de'article) regulez la chaleur selon la table suivante:
| Manettes | Touch control | Opération de cuisson | ||
| 1-6 | 1-8 | 1-10 | ||
| 0 | 0 | 0 | 0 | ÉteintPour faire fondre les alimentes (beurre ou chocolat)Garder les plats chauds et réchauffer de petites quantités de liquides |
| 1 | 1 | 1-2 | 1 - 2 | |
| 2 | 2 | 2-3 | 2 - 3 | |
| 3 | 3 | 3-4 | 3 - 4 | Réchauffer grandes quantités; cuisiner des crèmes et sauscesEbullition lente, adaptée aux soupes, aux pâtes et aux risottos,ainsi qu'à la cuisson des steaks et des alimentés frits en général |
| 4 | 4 | 5 | 5 | |
| 5 | 5 | 6 | 6 | |
| 6 | 7-8 | 7 | Faire dorer des viandes, des pommes de terre sautées, frire dupoisson et pour porter à ébullition de grandes quantités d'eauPour fructures rapides, steaks grillés, etc.. | |
| 6 | 7 | 9 | 8 | |
| 8 | 10 | 9 | ||
A la fin de la cuisson, eteindre l'appareil.
INDICATEUR DE CHALEUR RÉSIDUELLE
Cette lumière alerte l'usage que le verre a atteint une température qui pourrait etre dangereuse
en cas de contact avec toute la zone au-dessus de la plaque chauffante.
Dans les modeles avec manettes, chaque element chauffante a une correspondent lumiere.
Dans les modeles avec touch control le chaleur résiduelle est indiquée par un "H" dans l'ecran.
La chaleur résiduelle persiste pendant un temps très long après l'extinction de la zone chauffante
jusqu' a ce que la température ne descende sous le niveau critique.
Pendant ce temps il faudra éviter de toucher la zone radiante ; faire très attention surtout aux enfants.
USAGE
MANETTES
Dans ces tettes appareils les plates de cuisson sont allumée par les manettes.
Les numéroes indiquent les positions de fonctionnement à températe croissante, où n°1 est le minimum.
Nombre "0" est la position de eteint. Les plates extensibles , où prevu, sont allumée après la position max.
Pour activer la zone extensible, tourner la manette au-delà de la position max. jusqu'à entendre un déclic, puis la remettre dans la position désirée, comprise entre 1 et le position max.
Les zones controlled par les manettes sont indiquée par les symboles dans le bandeau des commandes.
Examples:



TOUCH CONTROL
Dans ces ttes apparéils les plates de cuisson sont allumée par la Touch-control bandeau.
SeIon de le modele de votre apparéil, il peut être dotée de tout ou partes de le commandes suivantes ci-dessous.
Les estatiques des commandes peuvent changer selon le tapes de apparéil, mais le fonctionnement
estle même.

Touché de marché/arrêt (ON-OFF)

Marche/arrêt du double circuit (option)

Puisance de la plaque

Marche/arrêt du plaque extensible (opt)

Indicateur plaque chauffante

Témoin de double circuit activé (option)

Augmenter la puissance

Affichage du minuteur (option)

Témoin de minuteur activé (option)

Diminuer la puissance

Fonction de verrouillage (option)

Marche/arrêt minuteur (option)
Témoin de verrouillage activé (option)

Fonction pause (option)

Fonction booster (option)
Marche/arrêt du Touch Control
Après la mise sous tension, il faut 1 seconde à l'unité de commande pour être prête à fonctionner. L'unité de commande peut ensuite être allumée en appuyant sur la touche de MARCHE/ARRÉT. Le systèmelectronique resté activé pendant 20 secondes. Si entre temps aucune fonction ou aucun temps de cisson ne sont sclectionnés, le systèmelectronique se remet automatiquement en mode STAND-BY, en émettant un signal sonore. L'unité de commande ne s'allume que si la pression exercée sur la touche d'allumage a lieu quand le systèmelectronique est activé. Si la fonction de verrouillage infant est active lors de l'allumage de la plaque, tous les foyers indiquent "L" (locked/verrouillé). Si les foyers sont chauds, l'afficheur indique "H" (hot/chaud). Le Touch Control peut être étant à tout moment, en appuyant sur la touche MARCHE/ARRÉT de l'unité de commande. Ceci est le même pour le verrouillage de l'unité de commande (verrouillage infant activé)
Marche de les foyers
Si l'unité de commande est ALLUMÉE, un foyer peut être sélectionné en appuyant sur la touche de sélection du foyer correspondant. Sur l'afficheur du foyer sélectionné, un témoin fixe s'allume, et "0" est remplace par "H" si le foyer est chaud. Le témoin s'éteint sur les afficheurs de tous les autres foyer. Pour sélectionner la puissance de chauffe, appuyer à nouveau sur la touche de sélection du foyer plus ou moins.
Le niveau 9 est le niveau maximum de puissance que l'on peut obtenir.
Si la zone de cuisson est selectionnée à l'aide de la touche "-", le premier niveau de puissance est 9 (niveau maximum). Maintenez enconcée la touche pour diminuer le niveau actif de puissance d'une unité.
Arrêt de les foyers
Pour eteindre un seul foyer a la fois, appuyer tout d'abord sur la touche de selection du foyer correspondant. Un témoin s'allume sur l'afficheur en indiquant le foyer sélectionné. En appuyant simultanément sur + plus (la touche + des fonctions de selection du foyer) et sur le - moins, la puissance de chauffe du foyer sélectionné returne à "0". En alternative, la puissance de chauffe peut etre baissee progressivement jusqu'à "0" en utilisant la touche - moins. Pour obtenir l'arrêt immédiat de tous les foyers, appuyer sur la touche MARCHE/ARRÉT. En mode stand-by, le symbole "H" apparait sur l'afficheur de tous les foyers chauds.
Préciisson automatique (seLECTIONnable)
Cette fonction permet de préchauffer rapidement une plaque chauffante pendant un temps établi. La fonction est désactivée automatiquement quand le temps s'est écoulé ou manuellement quand l'usage en decide. Procédure de démarrage de la Préciusson automatique:
- Allumer l'unité de commande et sélecxtionner un foyer.
- Àprous avoirprogrammé la puissance de chauffe sur "9", activer la Précuisson automatique en appuyant à nouveau sur la touche + plus. Le symbole "A" apparait sur l'afficheur.
Une fois que la précuisson est terminée, seule la puissance de chauffe est indiquée sur l'afficheur. Utilisez la touche "-" sur la plaque pour désactiver à tout moment la fonction.
Arrêt automatique (limiter de temps de marche)
Selon la puissance de chauffe selectionnee, chaque foyer est eteint separement après un certain temps de marche, s'il n'a pas eteuse utilise entre temps. Toute intervention sur les touches afferentes au foyer (touches "+""-ou le mise en marche du double circuit) entraîne la remise a zéro du temps de marche maximum.
Le limitateur de temps de marche est automatiquement désactivé par la programmation du minuteur sur l'un des foyer. Dans ce cas, c'est le minuteur qui contrôle l'arrêt du foyer.
Mécanisme de verrouillage - fonction de verrouillage infant (ou prevu):
Ou est prevu la touche de verrouillage, l'appuyer pour verrouiller. Pour déverrouiller, l'appuyer encore une fois. Autrement, pour verrouiller appuyer simultanément sur la touche de scélection du foyer à la droite en bas et sur la touche moins, puis à noveau sur la touche de scélection du foyer. Tous les afficheurs indiquent "L" (locked/verrouillé). Cette procédure doit avoir lieu sous 10 secondes et aucune autre touche, en dehors de celles induées ci-dessus, ne doit être scélectionnée. Le système électronique reste verrouillé jusqu'à son déblocage, même si l'unité de commande est étente et rallumée entre temps. Pour déverrouiller, appuyer simultanément sur la touche de scélection du foyer et sur la touche moins. Àpres avoir suivi toutes ces étapes dans l'ordre indiqué et sous 10 secondes, le verrouillage est désactifé et l'unité de commande est en mode STAND-BY. Si l'unité de commande est à nouveau allumée en appuyant sur la touche MARCHE/ARRÉT, tous les afficheurs indiquent "0", le témoin de l'afficheur continue de clignoter et l'unité de commande est prête à fonctionner.
Protection thermique du panneau de commande
Quand le panneau de commande detecte une température de plus de 95^ (+ - 5%) , il estient les éléments.
Ils peuvent être reactifs quand la température est descendue au-dessous de 95^ (+ - 5%) .
Usage des circuits multiples - doubles ou triples (option)
Selon le modele, l'unité peut contrcler des circuits doubles ou triples.
En appuyant sur la touche circuit multiple d'un foyer activé (c'est-à-dire à la puissance de chauffe "0"), le circuit externe correspondant peut être coupé à tout moment. Les circuits externes actifs sont indiqués par une LED supplémentaire. En appuyant à nouveau sur la touche circuit multiple, les circuits externes peuvent être actifs à tout moment; les LEDs correspondantes s'allument alors à nouveau (fonction réversible). Si le foyer sélectionné diffère de celui qui accueille le circuit multiple, appuyer sur la touche circuit multiple après avoir désélectionné tous les foyer (le témoin s'éteint). Cette fonction n'est valable que si un seul circuit multiple est disponible sur l'unité de commande. En présence de deux circuits multiples ou plus sur une unité de commande, le foyer correspondant doit être sélectionné pour pouvoir répondre à la commande donnée par la touche. Les reliais du double circuit sont coupés du circuit interne dans un déliais de 300 msec, mais ils restent allumés en synchronie avec le circuit Si l'élement chauffant à contrôle est un élément radiant à circuit triple, la Procedure est la suivante:
- Une première pression sur la touche circuit multiple coupe le circuit externe et la LED supérieure s'eteint.
- Une deuxieme pression sur la touche circuit multiple coupe le circuit central (la LED inférieure s'eteint).
- Une troisième pression réactive le circuit central, alors qu'une pression supplémentaire réACTIVE le troisième circuit ; les LEDs correspondantes sont rallumées.
Fonction minuteur (option)
Minuteur autonome 1-99 minutes, avec signal sonore indiquant que le temps programme est ecoulé. Cette fonction est disponible uniquement hors fonctionnement, c'est-à-dire lorsque aucune cuisson n'est programme sur le foyer.
Minuteur autonome (option)
- Si l'unité de commande est allumée, le minuteur autonome peut être activé en appuyant sur la touche de sélection du minuteur. L'afficheur du minuteur indique "00". Le témoin présente sur l'afficheur clignote. Si aucun autre réglage n'est fait, le minuteur est désactivié au bout de 10 secondes (afficheur étéint). En cas de réglage du minutes sans qu'aucun foyer ne soit activé sous 10 secondes, les afficheurs des foyer s'éteignant.
- Tant que le minuteur est sélectionné il est possible de le régler. Le délambda de désélection de 10 secondes commence dés que la touche du minuteur est relachée et repart à zéro à chaque pression exercée sur la touche du minuteur, sur la touche "--" moins ou sur la touche "+" plus.
- Le réglage se fait par pression continue des touches + plus ou - moins, ou bien par pressions successives.
- Le compte à rebours commence à partir du dernier réglage du minuteur. La touche du minuteur est automatiquement déslectionnée au bout de 10 secondes et l'afficheur n'indique plus que la durée programmée. Àpres écoulement de la durée programmée, un signal sonore est émis et l'afficheur clignote en indiquant „00".
Le signal sonore s'interrompt automatiquement au bout de 2 minutes et/ou en appuyant sur une touche qualconque
Eteindre/Régler le minuteur
- Le minuteur peut être régle ou être en appuyant simultanément sur les touches "+" plus ou "-" moins.
- Le minuteur peut aussi être éteint en appuyant deux fois sur La sur La touche MARCHÉ/ARRÊT (1ère pression: réactivation de l'unité de commande; 2ème pression: coupure de l'unité de commande et du minutesur).
Fonction de fin de cuisson
En appuyant sur la touche de sélection d'un foyer et en sélectionnant une puissance de chauffe, le minuteur peut êtreprogrammé avec fonction de coupure sur un seul foyer, à condition d'appuyer ensuite sur la touche de sélection du minutesur. L'afficheur du minutesur est entouré de quatre LEDs, servant à indiquer le foyer sur lequel le minutesur a été activé. Dès l'activation du minutesur, la LED correspondante clignote et le témoin s'allume sur l'afficheur du minutesur. Lorsqu'un foyer est sélectionné, le témoin disparaît de l'afficheur du minutesur, et la LED cesse de clignoter. En sélectionnant l'un après l'autre les différents foyers, l'afficheur du minutesur indique la durée programmée correspondant au foyer sélectionné. Les minutesurs programmes pour les autres foyers restent en tous les cas actifs. Les réglages suivants coïncident avec ceux du minutesur AUTONOME. Pour augmenter la durée programmée, appuyer sur la touche + plus du foyer correspondant. Au cas où plus d'un minutesur aurait été activé, la durée la plus brève est automatiquement indiquée au bout de 10 secondes (temps de déslection). Dès l'écoulement du compte à rebours, un signal sonore est émis et l'afficheur du minutesur clignote en indiquant le symbole "00"; la LED du foyer correspondant clignote elle aussi. Le foyer programmé s'éteint et le symbole "0" apparait sur l'afficheur. Le foyer éteint est automatiquement sélectionné et indiqué par un témoin fixe, qui s'allume sur l'afficheur du foyer. Au bout de 10 secondes (temps de déslection), les foyers chauds sont signalés par un "H" fixe sur l'afficheur. Dans le cas contraire, l'afficheur indique "0". Le signal sonore et le clignotement de la LED minutesur du foyer s'interrompent - automatiquement, au bout de 2 minutes et/ou – en appuyant sur une touche quelconque. Le foyer est déslectionné et l'afficheur du minutesur s'éteint.
INDUCTION
Important:
La "Induction" est conforme aux normes EMC applicables. De plus,aucun autre appareil electronique ne doit provoquer d'interfrences.Les utilisateurs portant un stimulateur cardiaque ou tout autre implant electroniquedoivent contrcler avec le fabricant de l'appareil electronique ou leur medecin si leur appeareil est conforme aux normes EMC.La surface du foyer peut chauffer meme par induction sans chauffage direct du foyer. Mais la surface est chauffee par la casserole au-dessus du foyer qui rechauffe la surface. La protection thermique des casseroles depend de la planarite du recipient.Dans le cas d'un exces d'entrefer au centre du foyer, la protection thermique (casserole vide, huile s'embrasant) peut etre affectee. Une batterie de cuisine, ou d'autres ustensiles metalliques, ne doivent pas etre poses sur la table de cuisson car ils pourraient se rechauffer.
Récipients
Nous conseillons des écipients au fond plat dont le diamètre est identique ou légèrement supérieur à celui de la zone chauffante. Le fond des écipients ne doit pas être rugieux afin d'éviter de rayer la surface chauffante. Utiliser uniquement des casseroles et poëles dont le fond est solide et épais de préférence. Ceci est particulièrement important lors de la préparation de denrées nécessitant des températures de cuisson élevées, telles que les alimentés frits. Si le fond du écipient n'est pas parfaitement plat, la nourriture est plus longue à cuire et utilise plus d'énergie. Le transfert optimal de chaleur est obtenu lorsque la casserole et le brûleur sont de la
meme taille. La méthode de cuisson par induction transfère rapidement l'énergie nécessaire à la cuisson directement au réseau si bien que la surface de la plaque de cuisson reste froide mais le réseau chauffe. On obtient ainsi une méthode de cuisson rapide, rentable et précise.
Ce type de plaque de cuisson est adapté à des recipients en acier émaille ou en inox;
il ne convient pas pour les casseroles en verre, en céramique ou en aluminium (à moins d'utiliser un socle magnétique spécial).

Limites de la fonction de détction des recipients
Le tableau suivant indique les limites de détction des recipients lorsqu'ils sont testés avec des ustensiles en fonte:
| Diamètre nominal de la bobine | Limits de détction des recipients (interrupteurs actifs) | |
| Min. | Max. | |
| Ø 160 mm | Ø 90 mm | Ø 160 mm |
| Ø 200 mm | Ø 120 mm | Ø 200 mm |
Détection intégrée des recipients
Chaque zone de cuisson est munie d'une fonction de détction des reçipients. La détction des reçipients évite qu'une zone de cuisson ne se mette en marche sans qu'un récipient soit posé dessus. De même, la zone de cuisson s'éteintès que le récipient est retire. La zone de cuisson est éteinte automatiquement au bout d'un certain temps si un niveau de cuisson est définis mais qu'il n'y a pas de récipient posé dessus.
Le récipient doit être composé de matérielux magnétisables.
La détention des recipients du module à induction dépend du écipient et de sa matière.
Protection contre les températures excessives
Le générateur ainsi que les bobines sont équipés de fonctions intégrées contre les températures excessives.
Salissures sur la surface vitrocéramique
Les salissures, habituellesment des résidus alimentaires et/ou de I'eau, peuvent eventuellesment etre confondues avec une commande sensitive. Aussi, l'humidite en couches fines (film, trainées) pourrait produire cet effet.
Pour de grandes quantités en particulier, il se peut qu'aucune, une, plusieurs ou toutes les touches puissant donc être confondues et activées brièvement ou de manière permanente. À cet égard, les salissures peuvent entrainer des modifications à court terme des réglages qui pouraient aussi bien être définis par un opérateur. Dans le cas d'une modification telle que l'activation d'une zone de cuisson, toute la Commande sensitive est déconnectée au bout de 10 sec au maximum (en raison de la détction permanente de fonctionnement). Ceci implique que l'effect « d'activation » sur les capteurs dû aux salissures demeure fondamentalement inchangé pendant 10 secondes.
Contrôle de la surchauffe des foyers à induction
En principe, l'induction fonctionne en sécurité. Le système d'induction fournit des capteurs de température à chaque foyer, placés sous la vitrocérample pour contrôler les Températures. Les capteurs de température le long du dissipateur thermique protégent le système électronique contre les surchauffes.
Le logiciel peut réduire la puissance ou éteindre tous les foyer en cas de température mesure tropéevee
Fonction pause
Lorsqu'un ou plusieurs foyers sont en marche, le processus de chauffe peut etre interrormpu en appuyant sur la touche pause. Le voyant voisinde la touche pause s'allume. Si un décomptage est en cours, il sera egallement interrompdu.Si le prechauffage automatique est en cours, il sera interrompdu.Importante,le décomptage du temps de préchauffage se poursuit lorsque la table est en mode pause. La fonction pause reste active pendant une durée maximale de 10 minutes au bout de laquelle la table quitterle mode pause. Pour sortir du mode pause, appuyez a nouveau sur la touche pause puis sur n'importe quelle touche de la table
Fonction rappel
Si vous ave z eint la table par inadventance en appuyant sur la touche marche/arrêt, vous avez la possibité de rappeler ensuite, pendant une courte période, les puissances et les foyers que vous étiez en train d'utiliser en vous servant de la fonction de rappel. Rallumez la table en appuyant sur la touche marche/arrêt. S'il est possible d'utiliser la fonction rappel, le voyant adjacent à la touche rappel clignote. o Appuyez sur la touche rappel, les réglages precedents seront récapérés (y compris les éventuelles fonctions de préchauffage automatique ou de décomptage de temps qui étaient en cours).
Fonction Booster
Après la sélection d'un foyer, la fonction booster peut être sélectionnée directement à l'aide de la touche correspondante. Si le foyer désisi peut receivevoir cette puissance, l'afficheur affiche le symbole “P”. Si cette puissance n'est pas admise, l'afficheur du foyer clignote pendant 3 secondes pour le foyer qui a besoin d'être réduit et d'un réglage automatique. Le temps du booster est limité à 10 min. ÀpRES que le booster s'éteint automatiquement, le foyer continue son fonctionnement à la puissance nominale. Le booster peut être réactivé pourvu que les capteurs de température dans le système électronique et les spirales en aient la capacité. Si la casserole est retiree du foyer pendant le fonctionnement du booster, cette fonction reste active et le temps de booster continue. Si la limite de temperature du booster dans le système électronique ou les spirales d'un foyer est dépassée, le booster s'éteint automatiquement et le foyer revient à la puissance nominale.
Contrôle du ventilateur (refroidissement du générateur)
Le refroidissement est intégré dans le logement en plastique de l'élement chauffant de l'inducteur.
Le fonctionnement du ventilateur est contrôle par la températe mesurée sur le dissipateur thermique.
Le ventilateur s'allume quand une certaine températe est atteinte et il passé à une vitesse supérieure quand la deuxième limite de températe est atteinte.
Démarrage basse vitesse 45^ Démarrage grande vitesse 55^

Générateur
Casserole avec fond en matériel ferromagnétique
Champ magnétique
A feu dox avec vitrocéramique
Bobine de spirale d'Archimène
INSTALLATION
Attention:
- Toutes les opérations devraient être effectuees par du personnel qualifie
- L'installation doit être effectue conformément aux normes en vigueur
- Avant toute opération débrancher la plaque de cuisson du secteur
Positionnement (fig.1)
L'appareil est conçu pour être intégré sur un plan de travail. Les dimensions de la découpe dans le meuble et les distances minimums entre les parois arrêté, latères et celles situées au-dessus de l'appareil sont indiquées sur la figure n°1. La table de cuisson est fournie avec un joint, afin d'empêcher toute infiltration dans l'unité.
Les matériaux et les colles utilisés pour les éléments de cuisine doivent résister à la température de 100^ min.
Isolation (fig.4):
- Si la table de cuisson est installée sans four au dessous, il est obligatoire d'utiliser un panneau divisur entre le dessous de la table de cuisson et le meuble sous-jacent, à une distance minimum de 10mm .
- En cas d'accoupling table/four, interposer un séparateur à une distance minimum de 15 mm en conservant quoiqu'il en soit une aération (voir fig.4).
La chaleur produit par le four, misuree à la droite du fond du le appeareil, doit etre inferieur de 60^
Autrement, la chaleur peut endommager les manettes ou la Touch-Control système.
Le branchement électrique des deux appeareils doit être réalisé séparation, aussi bien pour des raisons
électriques que pour une extraction plus facile. On raccomande d'utiliser un four équipé d'un ventilateurforcé.
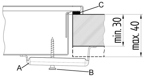
Fixation de la table (fig.2):
La fixation du plan de cuisson au meuble doit être effectuee comme il est indiqued ci-dessus:
- Positionner la garniture étanche fournie [C] avec l'appareil le long du périmètre extérieur du trou pratique dans le meuble en suivant le schéma indiqué sur la fig.2, de façon à ce que les extrémités des bandes soient parfaitement unies l'une à l'autre sans se superposer;
- Installer le plan dans le trou du meuble en veillant à bien le centerer;
- Fixer le plan au meuble avec les brides fournies à cet effet, comme il est indiqué sur la fig.2.
Une bonne installation de la garniture étanche offre une garantie absolue contre les infiltrations de liquides.
Branchement électrique (fig.6)
Avant tout branchement électrique, s'assurer que:
- les caractéristiques du système électrique soient conformes aux specifications indiquée sur la plaque donnée
- le système dispose d'une mise à la terre efficace (obligatoire conformément à la loi)
- si l'appareil est branché directement au secteur, il faut intercaler entre celui -ci et le secteur un interrupteur omnipolaire ayant une ouverture minimum entre les contacts de 3 mm, dimensionné pour la char ge et conforme aux normes en la matière. Le cable de terre jaune-ver ne doit pas être interrompu
- La prise ou le cable utilisée pour le branchement doit être facilement accessible après l'installation
- Ne pas utiliser de réductions, adaptateurs ou déviateurs pour le raccordement au réseau, car ils pourraient chauffer et provoquer des brûlures.
- Au cas où il serait nécessaire de remplacer le cable d'alimentation,
assurez vous de respecter les codes-couleur suivants dans le branchement de chacun des fils:
BLEU NEUTRE (N)
MARRON PHASE (L)
VERT-JAUNE TERRE (12)
- Si le cable de branchement est endommagé, il faut le faire replacer par le service d'assistance clientèle
Entretien
- Ne cuire pas à vide, ne utiliser pas des casseroles émaillées ou en aluminium. Utiliser uniquement des casseroles en acier, avec fond plat et une surface régulière. Les casseroles avec fond irréguliers peuvent rayer la surface. Le diamètre des casseroles doit couvir toute la zone de cisson (fig.5)
- En cas de fissures du verre céramique, débrancher immédiatement du secteur et de contacter le assistance
- Ne jamais poser de casseroles chaudes sur le pupitre de commande, la zone d'affichage ou le cadre
- N'utiliser que de l'eau tiède, adiSSIONné d'un produit alcalin. Ne pas utiliser de produits corrosifs ou abrasifs, Ne pas utiliser nettoyeurs à vapeur et à pression.
- Les alimentés débordé peuvent endommager la plaque. Enlever immédiatement les alimentés à l'aide racloir. ATTENTION !!! Le racloir à verre livre en option a une lame aiguisée (fig.3)
| Erreur | Description | Cause possible | Error clearing |
| E2 | Surchauffage des spirales | / | Refroidissement nécessaire |
| ER03 & permanent tone | Pression continue sur les touches Coupure de l'unité au bout de 10 sec | Présence d'eau ou d'estensils de cuisine sur le verre de l'unité de commande | Nettoyage de la surface de travail |
| E5 | Erreur sur le filtre de signaux | / | Remplacer le filtre de signaux |
| E6 | Erreur sur l'unité de puissance | Courcircuit de 5V avec la platine d'aliment. 12 V trop bas pour la platine d'alimentation Capteur de température défectueux Maintien de l'impulsion défectueux | Remplacer l'unité de puissance |
| E7 | Maintien défectueux de l'impulsion du réseau d'alimentation | débrancher et contacter le assistance | |
| E9 | Capteur de température de la spirale défectueux | Remp. le capteur de température | |
| ER12 | Coupure de l'unité de commande au bout de 10 secondes | Court-circuit dans le relais de 5V ou de terre | Remplacer l'unité de commande |
| ER13 | Coupure de l'unité de commande sous 60 secondes | Composant défectueux | Remplacer l'unité de commande |
| ER16 | Coupure de l'unité de commande | Court-circuit ou capteur PAN / alimentation débranché/e | Eliminer la cause (service client) |
| ER20 | Blocage | μC-erreur | Remplacer l'unité de commande |
| ER21 | Coupure de l'unité de commande due à surchauffe, afin d'éviter tout endommagement du système | L'algorithmiste standard atteint la limite long qu'il surchauffe. Température ambiente du système électronique toujours trop élevé | Laisser refroidir la cavité. Contrôler la résistance à la chaleur de l'unité de commande. |
| ER22 | Evaluation touches défectueuses; Coupure de l'unité de commande au bout de 3,5 - 7,5 secondes | Court-circuit ou interruption dans l'évaluation des touches | Remplacer l'unité de commande |
| ER25 | Tension secondaire de l'unité d'alimentation trop élevé (tension primaire>300V). Coupure de l'unité de commande au bout d'une seconde, accompagnée d'un signal sonore continu. Commande mal branchée | Brancher sur la tension de secteur correctee | |
| ER26 | Tension de relais trop élevé à apparilé étient (nominale : 0 Volt) | Court-circuit dans le contrôleur de tension du relais | Remplacer le contrôleur |
| ER31 | Configuration de données incorrente | Configuration de données incorrente | Configuration nécessaire |
| ER33 | Présence d'eau sur la vitre de la carte de commande | Essuyer | |
| ER36 | La valeur produit par le capteur de température est hors de la plage prévue (valeur < 200mV ou >4,9V); coupure de l'unité de commande | Court-circuit ou interruption au niveau du capteur de température | Remplacer l'unité de commande |
| ER37 | Rétroact.défectueuse des signaux de mémoire temporisée en raison de l'activation de segments | débrancher et contacter le assistance | |
| ER39 | Faux options de programmation | ||
| ER40 | La tension de fonctionnement secondaire est trop BASSE par rapport à la sous-tension identifiée | PTC primaire trop chaud | Débrancher l'unité de commande du secteur |
| ER42 | Le voltage d'operation est trop différent de le valeur reglé | le voltage est excédent de le valides limites ou il y a trop de variation | débrancher et contacter le assistance |
| ER47 | Erreur dans l'échange d'information entre TC et induction | Aucun échange d'information ou échange d'information erroné | Vérifier que le cable de connexion soit branché correctement |
| U400 | Tension secondaire de d'aliment. trop élevé (tension primaire >300V). Coupure de l'unité de commande au bout de 1sec. | L'unité de commande est mal branchée. | Brancher sur la tension de secteur correcte |
| "H" Flashes | Présence d'une casserole chaude sur la carte de commande ; fuite du foyer radiant | Attendre que la température retourné tiège |
SERVICE D ASSISTANCE à LA CLIENTÉLE
Si vous ne pouvez pas identifier la cause d'une anomalie :
éteindre l'appareil (ne pas le manipuler) et contacter le Service d Assistance.
NUMERO DE SÉRIE DU PRODUIT. Où le trouver ?
Il est important que vous communiquiez au Service d Assistance le code
de votre produit et le nombre de série (un code de 16 caractères qui
commence avec le numero 3) ; celui-ci se trouve sur le certificat de garantie
ou la plaque signalétique située sur I appeareil.
Ceci évitera des voyages inutilles des techniciens et permettra (ce qui
est très important) d'économiser sur les frais de déplacement.
RDVE342MPN - 33801060
RDVE342MRB - 33801061
RDVI342B - 33801059
RDVE342 - 33801058



Fig.-Abb.-Rys.:
Abra-Obr.
| 1 | mono-circuit vitroceramic plate Ø140mm - 1.2kW |
| 2 | mono-circuit vitroceramic plate Ø180mm - 1.8kW |
| 3 | double-circuit vitroceramic plate Ø120/180mm - 0.7/1.7kW |
| 4 | mono-circuit induction plate Ø160mm - 1.4kW |
| 5 | mono-circuit induction plate Ø200mm - 2.3/3.0kW |

A (mm) = (340^*N) - 70
N =
Nombre de apparèils à mettre côte à côte

Fig-Abb-Rys-Ábra-Obr.2

Fig-Abb-Rys-Abra-Obr.3

Fig-Abb-Rys-Abra-Obr.4
FR Ce symbole figure sur le produit ou sur son emballage en application de la directive europeenne 2002/96/CE sur les Déchets d'Équipement Électrique et Électronique (DEEE). Cette directive sert de règlement cadre à la reprise, au recyclage et à la valorisation des apparéels usages dans toute l'Europe. Ce produit doit donc faire l'objet d'une collecte sélective. Lorsque vous ne l'utiliserez plus, remèttez-le à un service de ramassage spécialisé ou à une déchéterie qui triate les DEEE ; vous contribuèrez ainsi à éviter des conséquences néfastes pour la santé et l'environnement. Pour tout renseignement sur la mise au rebut et le recyclage de ce produit, veuillez contacter la mairie ou le service de la propriété de votre commune, ou encore le magasin dans lequel vous l'avez acheté.
Notice Facile