HCF 82 - Thermostat HONEYWELL - Notice d'utilisation et mode d'emploi gratuit
Retrouvez gratuitement la notice de l'appareil HCF 82 HONEYWELL au format PDF.
| Type d'appareil | Thermostat / Capteur de température |
| Fonction principale | Réglage de la température ambiante |
| Installation | Murale |
| Mode de réglage | Manuel avec molette |
| Alimentation | Non précisé |
| Plage de température | Non précisé |
| Type de capteur | Capteur de température ambiante |
| Utilisation | Contrôle de la température intérieure |
| Compatibilité | Non précisé |
| Dimensions | Non précisé |
| Poids | Non précisé |
| Matériau | Plastique |
| Indicateur | LED de fonctionnement |
| Langues du manuel | Multilingue (FR, EN, DE, ES, IT, NL, NO) |
| Montage | Fixation murale avec vis |
FOIRE AUX QUESTIONS - HCF 82 HONEYWELL
Téléchargez la notice de votre Thermostat au format PDF gratuitement ! Retrouvez votre notice HCF 82 - HONEYWELL et reprennez votre appareil électronique en main. Sur cette page sont publiés tous les documents nécessaires à l'utilisation de votre appareil HCF 82 de la marque HONEYWELL.
MODE D'EMPLOI HCF 82 HONEYWELL
Combiné d'ambiance HCW 82/ Sonde de température ambiente HCF 82
Installation et Utilisation
Modulo ambiente HCW 82/HCF 82
Montage en bediening
Fjernregulering HCW 82/ Rumtemperaturføler HCF 82 Montering og betjening


Inhalt
- Vue d'ensemble 11
1.1. Utilisation 11
1.2. Differences HCW 82/HCF 82 11
1.3. Contenu 11 - Mise en service 11
2.1. Reconnaissance 12
2.1.1. Affection au régulateur de zones 12
2.1.2. Affection au Hometronic Manager HCM 200D . 12
2.1.3. Affector le HCF 82 pour la protection anti-gel.... 12
2.1.4. Echec de la reconnaissance 12
2.2. Montage 12 - Particularités du HCW 82 13
3.1. Commande 13
3.2. Limiter la plage de réglage 13
3.3. Fonctionnement avec source de courant externe 13
3.4. Installer le contact de fenetre 14 - Changement de piles 14
- Contrller la transmission radio 14
- Aide en cas de problème 14
- Caracteristiques techniques 14
- Directive 2002/96/CE relative aux déchets d'équipements électriques et électroniques (DEEE) 14
1. Vue d'ensemble
Pour la régulation intelligente de température ambiente, on utilise les apparèils d'ambiance HCW 82/HCF 82. La sonde de température HCF 82 mesure la température ambiente et l'envoie à d'autres apparèils.
Le HCW 82 mesure la température ambiente et offre en outre la possibilité de modifier la consigne de température ambiente.
1.1. Utilisation
Les apparêils d'ambiance transmettent les données à la fréquence de 868,3 MHz. Les données peuvent être reçues par d'autres apparêils tels que le régulateur d'étage HCE 80/HCC 80/HCE 80R/HCC 80R ou le Hometronic Manager HCM 200D.
On peut ainsi couvirir une large gamme d'applications – de la régulation individuelle de zone à la commande de la protection anti-gel.
1.2. Differences HCW 82/HCF 82
En plus du HCF 82, le HCW 82 possède les fonctions suivantes:
- Possibilité de raccordement pour un bloc d'alimentation externe (voir "Fonctionnement avec source de courant externe", Page 5).
- Possibilité de raccordement pour un contact de fenêtre (voir "Installer le contact de fenêtre", Page 14).
- Molette de réglage vous permettant de modifier directement la consigne de température ambiente. La plage de réglage est de ± 12^ , à partir de la valeur de base de 20^ (en position 0).
1.3. Contenu
1 HCW 82/HCF 82
2 piles Mignon
2. Mise en service
AVERTISSEMENT

Transmission des données insuffisante!
Perturbation du récepteur radio de l'appareil par des objets métalliques ou d'autres apparèils radio.
Veillez à une distance suffisante par rapport aux objets métalliques.
Montez l'appareil à au moins 1 m de distance d'appareils radio tels que des écouteurs radio sans fil, téléphones sans fil suivant standard DECT etc.
En cas de parasites radio impossibles à éliminer,CHOISSEZ un autre emplacement de montage.

Figure 1: Enlever le couvercle du boitier
Enlevez le couvercle du boîtier de la sonde de température ambiente (voir Figure 1).

Figure 2: Polarité des piles et bouton d'émission
- Mettez en place les piles Mignon fournies en respectant la polarité (voir Figure 2). Lorsque la LED rouge du HCW 82/HCF 82 clignote, les piles doivent être remplacées (voir "Changement de piles", Page 14).
i
A la place des piles, la télécommande HCW 82 peut également fonctionner sur une source de courant externe. Vous trouvrez des indications à ce sujet dans la section "Fonctionnement avec source de courant externe", Page 5.
- Placez la sonde de température ambiente à l'emplacement de montage prévu, mais ne la cablez pas tout de suite.
Affectez au HCW 82/HCF 82 la plage de température correspondante (voir "Apprentissage").
2.1. Reconnaissance
2.1.1. Affection au régulateur de zones
Pour affecter le HCW 82/HCF 82 à une plage de température, suivez les instructions du chapitre "Mise en service" des instructions de montage "Régulateur de zones HCE 80/HCE 80R/HCC 80/HCC 80R".
2.1.2. Affection au Hometronic Manager HCM 200D
Pour affecter le HCW 82/HCF 82 à une plage de température, suivez les instructions du chapitre "Installer le HCW 82/HCF 82 et l'affector à une zone" du mode d'emploi du Hometronic Manager HCM 200D.
2.1.3. Affector le HCF 82 pour la protection anti-gel

Le HCW 82/HCF 82 peut uniquement etre affecte au Hometronic Manager comme sonde de protection anti- gel si l'interrupteur d'appareil HS 30 est utilise pour la demande de la chaudiere.
Pour affecter le HCF 82 comme sonde de protection antigel, procedede comme suit:
Appuyez sur le bouton "Pousser / Tourner".
Le Hometronic Manager affiche le menu "Réglages".
INSTALLATION DES-INSTALLATION HEURE D'ETE FONCTION SONDE
Appuyez sur le bouton "Pousser / Tourner".
Allez dans le menu "Installation".
Allez dans le menu "Demande chaudiere".
Tournez le bouton "Pousser / Tourner" jusqu'à ce que "Sonde antigel" soit affichée.
MODULE DE COMMUT. SONDE ANTIGEL
Le curseur clignote a cotoé de "Sonde antigel". Le Hometronic Manager est pret pour la réception des données de la sonde.
Activez la reconnaissance dans les 4 min en appuyant sur le bouton d'émission de la sonde de température ambiente (voir Figure 2, bouton d'émission).
Après la reconnaissance réussi, un * apparait à l'écran du Hometronic Manager à côté de "Sonde antigel". La sonde de température ambiente est affectée au Hometronic Manager pour la protection anti-gel.

Vous trouvrez dans le mode d'emploi du Hometronic Manager comment dire les mesures de la sonde de température ambiente sur le Hometronic Manager ou adapter la valeur de seuil pour la protection anti-gel.
2.1.4. Echec de la reconnaissance
Si la reconnaissance a échoué:
Améliorez la transmission (voir ci-dessous).
Répétez la reconnaissance.
Améliorer la transmission
Lors du besoin de l'emplacement de chaque apparéil, veillez à garde une distance d'au moins 1 m par rapport aux apparéils radio tels que les écouteurs radio sans fil, téléphones sans fil suivant standard DECT etc.
- N'installez pas les apparèils sur des prises murales métalliques et installez-les au moins à 30 cm d'un apparéil générant de la chaleur.
Modifiez le cas échéant le lieu de montage de la sonde de température ambiente.
2.2. Montage
Enlevez les piles.
- Marquez les trous de perçage suivant le schéma de montage (voir Figure 3).

Figure 3: Schéma de montage (indications en mm)
Percer les troux.
- Vissez au mur la sonde de température ambiente.
Installles les piles.
Replace the couvercle du boiter par le haut puis verrouillez le par le bas (voir Figure 4).

Figure 4:
Replacez le couvercle du boftier
3. Particularités du HCW 82
3.1. Commande
La molette de réglage du combiné d'ambiance HCW 82 permet de régler simplement la consigne de température ambiente.
La plage de réglage est de ± 12^ , à partir de la valeur de base de 20^ (en position 0).

Figure 5: Hcw 82
Sélectionnez avec la molette de réglage (1) (voir Figure 5) le décalage de la température désirée (indications de l'échelle graduée en °C).
3.2. Limiter la plage de réglage
You pouvez limiter la plage de réglage de la molette.
Enlevez le couvercle du boftier (voir Figure 1, Page 11).

Figure 6: Limiter la plage de réglage
Déplacez les deux petites goupilles pour limiter la plage de réglage (voir Figure 6). Pour cela, aidez-vous de l'échelle interieure: à la Figure 6, les goupilles sont régles de façon à ce que la molette de réglage ne puisse être régée que de ± 3^ autour du point d'origine.
Tournez la molette de réglage dans le sens des aiguilles d'une montre jusqu'à la butée.
Contrôlez si la molette de réglage se trouve dans la position montré à la Figure 5.
Le cas échéant, replacez la molette de réglage tournée de 180^ afin qu'elle ait la position indiquée.
Tournez la molette de réglage en position 0.
Replacez le couvercle du boiter par le haut puis verrouillez le par le bas (voir Figure 4).
3.3. Fonctionnement avec source de courant externe
A la place des piles, la télécommande HCW 82 est également prévue pour le fonctionnement sur une source de courant externe.
AVERTISSEMENT

Détérioration de l'appareil!
Utilisation d'un bloc d'alimentation inapproprié.
Utilisez un bloc d'alimentation avec 3 VDC ± 10 %, min. 25 mA.
Lors du raccordement, veillez à ce que le bloc d'alimentation soit hors tension.
Tenez compte du schéma de raccordement indiqué à côté des bornes de cable.
Prenez votre bloc d'alimentation de 3 VDC ± 10%, 25 mA.
- Mettez le bloc d'alimentation hors tension.
Enlevez le couvercle du boftier du HCW 82 (voir Figure 1, Page 11).
Enlevez les piles.

Mettre à la poubelle, les piles conformément aux stipulations légales et pas avec les ordures domestiques.
Devissez la télécommande HCW 82.

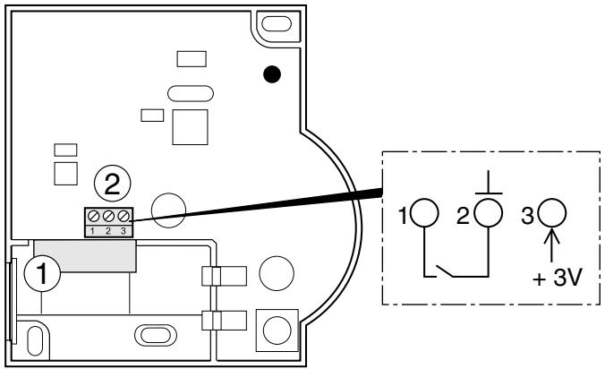
Figure 7: Raccordement de la source de courant exter (uniquement HCW 82)
i
La longueur de cable maximale admissible entre le bloc d'alimentation et l'appareil est de 100m Utilisez si possible un cable de type JE-Y (ST)Y 2× 2× 0,8 mm ou JE-LIICY 2× 2× 0,5mm^2
Introduisez le cable de sortie du bloc d'alimentation à travers l'ouverture du boîtier (1) (voir Figure 7) vers l'intérieur.
Raccordezle cable de sortie à la borne (2) (voir Figure 7).
Revissez la télécommande HCW 82.
Replacez le couvercle du boiter par le haut puis verrouillez le par le bas (voir Figure 4).
3.4. Installer le contact de fenêtre
Raccordez une sonde de détéction avec contact libre de potentiel au HCW 82 (installation au raccordement 1 et au raccordement 2, voir Figure 7 (2), Page 13).
- Affectez le HCW 82 au Hometronic Manager HCM 200D comme sonde (voir mode d'emploi HCM 200D "Affecter le régulateur à une sonde").
i
Si on utilise plusieurs contacts libres de potentiel, ceux-ci doivent etre branchés en série.
4. Changement de piles
Changez les piles lorsque la LED rouge de la sonde de température ambiente clignote et que l'appareil ne se trouve pas en mode de test.
Enlevez le couvercle du boitier du HCW 82/HCF 82 (voir Figure 1).
Enlevez les piles.
Mettre à la poubelle, les piles conformément aux stipulations legales.

Mettre à la poubelle, les piles conformément aux stipulations légales et pas avec les ordures domestiques.
i
Remplacez toujours en même temps deux piles. Utilisez uniquement des piles 1,5-V-mignon de type LR06, AA.
- Mettez les piles en place en respectant la polarité (voir Figure 2).
Replacez le couvercle du boiter par le haut puis verrouillez le par le bas (voir Figure 3).
5. Contrôler la transmission radio
Le HCW 82/HCF 82 peut envoyer au récepteur affecté (p. ex. un régulateur de zones) un signal de test pour le contrôle de l'intensité du signal.
- Maintenez la touche de reconnaissance enforcée pendant au moins 30 s jusqu'à ce que la LED rouge s'éteigne.
L'appareil se trouve maintainant en mode de test et émet toutes les 5 s un signal de test.
La LED s'allume brievement a chaque signal de test. - Vérifie la transmission radio au récepteur. Vous trouvez dans le mode d'emploi respectif comment receivevoir et interpréter les signaux de test.
i
Le mode de test se termine automatiquement après 5 minutes. On peut égalementmettre fin au mode de test en enlevant les piles, en coupant la liaison reseau ou en appuyant sur la touche de reconnaissance.
6. Aide en cas de problème
| Problème | Cause | Solution |
| La reconnais-sance a échoué | Piles mal installées | ► Replacer correctement les piles. |
| Liaison radio défectueuse | ► Eliminer les sources de parasites (métal, apparéil radio).► Changer le lieu de montage.► Répéter la reconnais-sance. | |
| Pas de données de mesure au Hometronic Manager | Piles mal installées | ► Replacer correctement les piles. |
| Liaison radio défectueuse | ► Eliminer les sources de parasites (métal, apparéil radio).► Répéter la reconnais-sance. | |
| Module non affecté ou mal affecté | ► Répéter la reconnais-sance.► Contröler l'affection, le cas échéant répéter. | |
| Le contact de fenêtre n'est pas pris en compte | Le contact de fenêtre n'est pas affecté | ► Répéter la reconnais-sance pour le contact de fenêtre. |
7. Caractéristiques techniques
| Piles | 1,5 V Mignon, type LR06, AA |
| Bloc d'alimentation | 3 VDC ± 10 %, min. 25 mA |
| Câble pour bloc d'alimentation/contact de fenêtre | Ø 2x0,8 mm; 2x0,5 mm²Longueur max. 100 m |
| Fréquence | 868,3 MHz (émetteur) |
8. Directive 2002/96/CE relative aux déchets d'équipements électriques et électroniques (DEEE)

- Mettre à la poubelle, l'emballage et le produit dans un centre de recyclage approprié à la fin de la durée de vie du produit.
Ne jetez pas le produit avec les ordures menagères normales.
N'incinérez pas le produit.
Notice Facile