HCF 82 - Termostato HONEYWELL - Manual de uso y guía de instrucciones gratis
Encuentra gratis el manual del aparato HCF 82 HONEYWELL en formato PDF.
| Tipo de dispositivo | Termostato / Sensor de temperatura ambiente |
| Función principal | Ajuste de la temperatura ambiente |
| Instalación | Montaje en pared |
| Modo de ajuste | Manual con rueda |
| Alimentación | No especificado |
| Rango de temperatura | No especificado |
| Tipo de sensor | Sensor de temperatura ambiente |
| Uso | Control de la temperatura interior |
| Compatibilidad | No especificado |
| Dimensiones | No especificado |
| Peso | No especificado |
| Material | Plástico |
| Indicador | LED de funcionamiento |
| Idiomas del manual | Multilingüe (FR, EN, DE, ES, IT, NL, NO) |
| Montaje | Fijación en pared con tornillos |
Preguntas frecuentes - HCF 82 HONEYWELL
Descarga las instrucciones para tu Termostato en formato PDF gratis! Encuentra tus instrucciones HCF 82 - HONEYWELL y toma tu dispositivo electrónico nuevamente en la mano. En esta página están publicados todos los documentos necesarios para el uso de su dispositivo. HCF 82 de la marca HONEYWELL.
MANUAL DE USUARIO HCF 82 HONEYWELL
Sensor a distancia HCW 82/ Sensor de temperatura ambiente HCF 82
Montaje y funcionaimiento
- Presentación 19
1.1. Uso 19
1.2. Diferencia enter HCW 82/ HCF 82.... 19
1.3. Suministro 19 - Puesta en marcha 19
2.1. Sincronizacion 20
2.1.1. Asignación al controlador de sueño radiante...... 20
2.1.2. Asignación del Hometronic Manager
HCM 200D 20
2.1.3. Asignación del HCF 82 para protección contra heladas 20
2.1.4. Sincronizacion fallida 20
2.2. Montaje 20 - Particularidades de HCW 82 21
3.1. Funcionamento 21
3.2. Limitación del rango de ajuste de T^a 21
3.3. Funcioncimiento con fuente de energia externa..21
3.4. Instalación del contacto de planta 22 - Ambidepilas 22
- Comprobación de la radiotransmisión 22
- Apuda en caso de problemas 22
- Characteristica tceicas 22
- Directiva WEEE 2002/96/CE Ley de Electrotecnia y Electrónica 22
1. Presentación
Los dispositivos HCW 82/HCF 82 se utilizen para la regulacion inteligente de la energia ambiente. El sensor de temperatura ambiente HCF 82 mide la energia ambiente y envia los values medidos aOthers aparatos.
El HCW 82 mide la temperatura ambiente y offre además la posibiliidad de reajustar el valor prescrito de la misma.
1.1. Uso
Los dispositivos de ambiente transmiten los datos con una Frequencia de 868,3 MHz. Los datos ser recibidos por otros aparatos, como el controlador HCE 80/HCC 80/HCE 80R/HCC 80R o el Hometronic Manager HCM 200D.
Por lo tanto puede cubrirse un amplio abanico de aplicaciones – desde la regulacion individual de T^a ambientes hasta el control de proteccion contra heladas.
1.2. Diferencia enter HCW 82/HCF 82
A diferencia del HCF 82, el HCW 82 tiene las siguientesustralianas:
- Posibiliad de connexion a un equipo de alimentacion de red externa (vease "Funcionamento con fuente de energia externa",頁ina 21).
- Posibiliad de connexion de un contacto de planta (vexe "Instalacion del contacto de planta", page 22).
- Mando, que le permite cambiar directamente el valor de temperatura ambiente prescrito.
El margen de graduación es ± 12 °C, partirendo del valor base de 20 °C (en posición 0).
1.3. Suministro
1 HCW 82/HCF 82
2 pilas Mignon/AA
2. Puesta en marcha
ADVERTENCIA

jTransmisión de datos deficiente!
Interferencias debidas a objetos metálicos u otros aparatos de radio.
Asegurese de que la distancia a los objetos metálicos sea suficientemente grande.
Monte el dispositivo a una distancia minima de 1 m a aparatos inalámbricos, como auriculas o Telefonos que cumplan la norma DECT, etc.
En presencia de interferencias imposibles de eliminar, elija除外. montaje.

Figura 1: Quitar la tapa de la caja
- Quite la tapa de la caja del sensor de temperatura ambiente (vexe Figura 1).

Figura 2: Polaridad de las pilas y el botón de emisión
Ponga las pilas Mignon incluidas con la polaridad correcta (vexe Sgura 2). Si en el HCw 82/HCF 82 el LED rojo parpadea, estaran sustituirse las pilas (vase "Cambio de pilas", pagina 22).
i
El regulatorremoto HCW 82couldeutilizarse también con una fuente de energia externa en lugarde la alimentacionapilas.Puedeencartrininstruccionesalrespectroenla seccion "Funcionamento con fuente de energia externa", pagina 21.
Coloque el sensor de temperatura ambiente en el lugar de montaje previsto, pero no la monte todavía.
- Asigne al HCW 82/HCF 82 la zona de temperatura deseada (vexe "Sincronizacion").
2.1. Sincronización
2.1.1. Asignación al controlador de sueño radiante
Para asignar el HCW 82/HCF 82 a una zona de tempera
tura, lleve a cabo los+puntos expuestos en el capitulo "Puesta en marcha"de las instrucciones de montaje "Controlador de suejo radiante HCE 80/HCE 80R/HCC 80/
HCC 80R".
2.1.2. Asignación del Hometronic Manager HCM 200D
Para asignar el HCW 82/HCF 82 a una zona de tempera-tura, lleve a cabo los+puntos expuestos en el capitulo "Instalacion del HCW 82/HCF 82 y asignacion a una habitacion" del manual de instrucciones del Hometronic Manager HCM 200D.
2.1.3. Asignación del HCF 82 para protección contra heladas

El HCW 82/HCF 82 pueda asignarse al Hometronic Manager como sensor antihielo, cuando el interruptor del aparato HS 30 se utilizes para la demanda de caldera.
Proceda como sigue para asignar el HCF 82 a sensor antihielo:
▶ Pulse el botón selector. El Hometronic Manage®, encuentra en el menu "Ajustes".
Pase al menu "Instalacion".
Pase al menu "Demanda de caldera".
Gire el botón selector hasta selecciónar "Sensor antihielo".
INSTALACIEN
DESINSTALACIEN
HORA VERANO
FUNCION SENSOR
▶ Pulse el botón selector.
El cursor parpadea jusqu a "Sensor antihielo". El Hometronic Manager está lista para recibir los datos del sensor.
Active la sincronizacion durante 4 min, pulsando el boton de emisión del sensor de temperatura ambiente (vease Figura 2, boton de emisión).
Una vez activada la sincronizacion en el display del Hometronic Manager aparece un * junto a "Sensor antihielo". El sensor de temperatura ambiente está asignado al Hometronic Manager para la proteccion contra heladas.

En el manual de instrucciones del Hometronic Manager pueda ver la forma como seleen los datos medidos del sensor de energia ambiente en el Hometronic Manager, o como adaptar el valor de temperamental para la proteccion contra heladas.
2.1.4. Sincronizacion fallida
Si está fallida la sincronizacion:
Mejore la transmisión (véase abajo).
Repita la sincronizacion.
Mejora de la transmisión
- Asegürese al elegir el lugar de instalación que seswana a una distancia minima de 1 m a aparatos inalábricos, como auriculares o Telefonos que cumplan la norma DECT, etc.
No instale los dispositivos a工程技术 de cajas de enchufe ni en pared metálicas, y a un minimo 30 cm de la caldera. - Llegado casoazo el lugar de montaje del sensor de temperatura ambiente.
2.2. Montaje
Quite las pilas.
Marque los agujeros de taladros conforme al diagrama de taladrado (vexe Figura 3).

Figura 3: Diagrama de taladrado (medidas en mm)
Taladre los agujeros.
Atornille el sensor de temperatura ambiente.
Coloque de nuevo las pilas.
Ponga la tapa en la parte superior de la caja y antes en la parte inferior (vexe Figura 4).

Figura 4:
Colocar la tapa de la caja
3. Particularidades de HCW 82
3.1. Funcionamento
El valor predefinido de la temperatura ambiente puede ajustarse fácilmente con el mando del sensor remot HCW 82.
El margen de regulación es ± 12 °C, partirando del valor predefinido de 20 °C (en posición 0).

Figura 5: HCW 82
- Asigne con el mando (1) (véase Figura 5) el cambio deseo para la temperatura predefinida (graduacion de la escala en ^ C ).
3.2. Limitación del rango de ajuste de T^a
Con el mando puede limitar el rango de ajuste.
Quite la tapa de la caja (vease Figura 1, paging 19).

Figura 6: Limitación del rango de ajuste
- Desplace los dos��imientos pasadores en los agujeros del mando, para limitar el rango de ajuste (vease Figura 6). Tome el interior de la escala como punto de orientacion: En la Figura 6, los pasadores estan colocados deforma que la ruedecilla permita ajustarse ± 3^ en torno al punto cero.
Gire el mando en el sentido de las agujas del reloj, hasta el tope. - Verifique si el mando se oculta en la posicion做不到 en la Figura 5.
Gire el mando 180^ , hasta que está en la posicion做不到.
Gire el mondo en posicion 0.
Ponga la tapa en la parte superior de la caja y apriete en la parte inferior (vexe Figura 4).
3.3. Funcióncimiento con fuente de energia externa
El regulatorremoto HCW 82,adelmas del configuraciona por pilas,puede configurar conuna fuente de energia externa.
ADVERTENCIA

Malfunción del dispositivo!
Empleo de un equipo de alimentacion de red inadequado.
Utilice un equipo de alimentacion de red con 3VCC± 10% ,min.25mA.
- Mantenga el equipo de alimentación de red aislado de la corriente durante la conexión.
Observe el diagrama de connexion做不到 alundo dellos bornes de cable.
Tenga preparado un equipo de alimentacion de red con 3VCC± 10% ,min.25mA.
Aisle el equipo de alimentacion de red de la corrente.
- Quite la tapa de la caja del HCW 82 (vexe Figura 1,頁a 19).
Quite las pilas.

Deposite las pilas en los lugares adequados de acuerdo con las normativas legales al respecto, y no junto con la basura domestica.
Destornille el regulator remoto HCW 82.

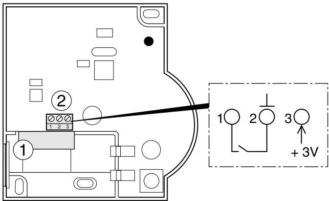
Figura 7: Conexión de la fuente de energia externa (sólo HCW 82)
i
La longitud del cable maxima admita entre el equipo de alimentacion de red y el dispositivo es 100 m. Utilice en lo possible cables del tipo JE-Y (ST)Y 2x2x0,8 mm o JE-LIICY 2x2x0,5 mm².
Introduzca el cable del equipo de alimentacion de redancia el interior, a trovés del agujero de la caja (1) (vease Figura 7).
Conecte el cable de salute al borne (2) (vexe Figura 7).
-
Conexión 2: masa
-
Conexión 3: tension
Atomille de nuevo el regulatorremoto HCW 82.
Ponga la tapa en la parte superior de la caja y apriete en la parte inferior (vexe Figura 4).
3.4. Instalación del contacto de planta
- Conecte un sensor con contacto libre de potencial al HCW 82 (instalación en la conexión 1 y conexión 2, xvase Figura 7 (2), págin 21).
- Asigne el HCW 82 al Hometronic Manager HCM 200D como sensor (véase instrucción HCM 200D "Asignar una habitación a un sensor").

Si se utilizes variedos contactos libres de tension,
estos deben conectarse en serie.
4. Cambio de pilas
Cambie las pilas cuando el LED del sensor de temperatura ambiente parpadea y el dispositivo no está en el modo de test.
Quite la tapa de la caja del HCW 82/HCF 82 (vexe Figura 1).
Retire las pilas.

Deposite las pilas en los lugares adequados de acuerdo con las normativas legales al respecto, y no junto con la basura domestica.

Sustituya siempre las dos pilas. Utilice unicamente pilas Mignon de 1,5 V del tipo LR06, AA.
Ponga las pilas con la polaridad correcta en el compartmentimiento para pilas (vexe Figura 2).
Ponga la taps en la parte superior de la caja y apriete en la parte inferior (vexe Figura 4).
5. Comprobación de la radiotransmisión
El HCW 82/HCF 82 puede enviar al receptor asignado (p.ej. a un termostato de pisos) una seals de prueba para comprobar la intensidad de la seals.
- Mantenga el botón Sincronización pulsado durante 30 sg, hasta que el LED se apague.
El dispositivo está ahora en el modo de test y envía cada 5 sg una señal de prueba.
El LED se enciende brevemente con cadabral de prueba.
- Verifique la radiotransmisión al receptor. Vea en la responsa instrucciones la forma como se reciben y evaluan lasseyales de test.

El modo de testtera automatamente
despues de 5 Minutes. Este peut también finalizarse quitando las pilas, desconectando el enlace de red o pulsando el boton Sincronizacion.
6. Ayuda en caso de problemas
| Problema | Causa | Soluciones |
| Sincronizacion fallida | Pilas mal puestos | ▶ Ponga correctamente las pilas. |
| Radioenlace interruptido | ▶ Elimine las fuentes perturbadoras (metal, aparatos de radio). ▶ Corrijea el lugar de montaje. ▶ Repita el proceso de sincronizacion. | |
| Ningún dato medido en el Hometronic Manager | Pilas mal puestos | ▶ Ponga correctamente las pilas. |
| Radioenlace interruptido | ▶ Elimine las fuentes perturbadoras (metal, aparatos de radio). ▶ Repita el proceso de sincronizacion. | |
| Módulo no o mal asignado | ▶ Repita el proceso de sincronizacion. ▶ Compruebe la asignacion, dato el caso repetir. | |
| Contacto de ventsana no se Tiene en cuenta | Contacto de ventsana no asignado | ▶ Repita la sincronizacion para el contacto de ventsana. |
7. Characteristicas先进技术
| Pilas | 1,5 V Mignon, tipo LR06, AA |
| Equipo de alimentación de red | 3 VDC ± 10%, min. 25 mA |
| Cable para equipo de alimentación de red/contacto de ventsa | Ø 2x0,8 mm; 2x0,5 mm² Longitudín x. 100 m |
| Frecuencia | 868,3 MHz (emisor) |
8. Directiva WEEE 2002/96/CE Ley de Electrotecnia y Electrónica

Al final de la vidautil del productodeposite el embalaje y el producto en uncentro de reciclaje apropiado.
No tiré el producto a la basura domestica.
No queme el producto.
ManualFacil