HDS - Électronique marine LOWRANCE - Notice d'utilisation et mode d'emploi gratuit
Retrouvez gratuitement la notice de l'appareil HDS LOWRANCE au format PDF.
| Type de produit | Sondeur GPS multifonction |
| Écran | Affichage couleur, tactile, haute résolution |
| Dimensions approximatives | Variable selon le modèle (ex. 12 pouces, 9 pouces) |
| Poids | Environ 1,5 kg (selon le modèle) |
| Alimentation électrique | 12 V DC |
| Consommation d'énergie | Environ 1,5 A à 12 V |
| Type de batterie | Batterie plomb-acide ou lithium compatible |
| Fonctions principales | Cartographie, sondeur, navigation, enregistrement de données |
| Compatibilités | Compatible avec divers capteurs et accessoires Lowrance |
| Connectivité | Wi-Fi, Bluetooth, NMEA 2000 |
| Entretien et nettoyage | Nettoyer avec un chiffon doux, éviter les produits abrasifs |
| Pièces détachées et réparabilité | Disponibilité de pièces détachées via le service après-vente Lowrance |
| Sécurité | Utiliser uniquement avec une alimentation appropriée, éviter l'exposition prolongée à l'eau |
| Informations générales | Vérifier la compatibilité avec votre bateau et vos équipements avant l'achat |
FOIRE AUX QUESTIONS - HDS LOWRANCE
Questions des utilisateurs sur HDS LOWRANCE
0 question sur cet appareil. Repondez a celles que vous connaissez ou posez la votre.
Poser une nouvelle question sur cet appareil
Téléchargez la notice de votre Électronique marine au format PDF gratuitement ! Retrouvez votre notice HDS - LOWRANCE et reprennez votre appareil électronique en main. Sur cette page sont publiés tous les documents nécessaires à l'utilisation de votre appareil HDS de la marque LOWRANCE.
MODE D'EMPLOI HDS LOWRANCE
Instructions d'installation de l'unité HDS




Veuillez lire attentivement ces instructions avant toute tentative d'installation.
Outils et matérieliaux recommendés pour l'installation du transducteur (non fournis)
Si vous avez prévu de passer le cable du transducteur au travers du tableau arrrière, vous aurez besoin d'une mèche de 1" ou de 5/8" , selon la taille du connecteur. Tout montage au travers du tableau arrrière exige l'utilisation d'un produit d'étanchéité marin. Les installations suivantes exigent également les outils et matérielux recommendés suivants.
Installation sur le tableau arrêté de l'étrier en une piece :
Outils : deux clés réglables ou clés à douilles, perceuse, mèche #29 (0,136"), tournevis. Matériaux : aucun.
Installation sur le tableau arrêté de l'étrier en deux pieces :
Outils : deux clés régables ou clés à douilles, perceuse, mèche #20 (0,161"), tournevis. Matériaux : quatre vis à bois #12 en acier inoxydable de 1" de long.
Installation à l'aide de l'étrier TMB-S sur moteur de traine :
Outils : deux clés réglables ou clés à douilles, tournevis. Matériaux : serre-câbles en plastique.
Installation d'un transducteur du type Skimmer pour balayage au travers de la coque :
Matériaux: serviettes imbibées d'alcool, papier de verre grain 60 et 160, Adhésif époxy marin d'étanchéité.
Installation d'un transducteur du type Pod pour balayage au travers de la coque :
Matériaux: serviettes imbibées d'alcool, papier de verre grain 60 et 160, Adhésif époxy marin d'étanchéité.
Instructions d'installation du transducteur du type Skimmer
L'emplacement et l'installation du transducteur sont deux des étapes les plus importantes de l'installation d'un sonar.
1. Sélectionnez un emplacement pour le transducteur
Pour qu'il puisse fonctionner correctement, le transducteur doit être immergé à tout instant et doit se trouver à un endroit où le flux d'eau sera uniforme lorsque le bateau se déplace.

Les bateaux en aluminium avec des virules ou des nervvres sur la coque peuvent creer d'importantes turbulences à grande vitesse. Pour ce type de bateaux, un bon emplacement pour le transducteur serait entre les nervvres, pres du moteur.
Si le transducteur n'est pas installé à un endroit où le flux d'eau est uniforme, des interférences occasionnées par des bulles et des turbulences, pouraient apparaitre à l'écran sous forme de lignes et de points aléatoires, L'unité pourrait également perdre le signal du fond lorsque le bateau « plane »

Lorsque vous montez le transducteur, assurez-vous qu'il ne formera pas un obstacle pour le levage du bateau.
2. Alignment des roues à rochet sur l'étrier du transducteur
Alignement des roues à rochet sur l'étrier en une piece :
L'ensemble de l'étrier en une piece comprend deux roues à rochet noires en matière synthétique. Ces roues à rochet sont utilisées pour aligner le transducteur avec la coque du bateau. Chaque roue à rochet comporte les lettres de A à E.

- Glissez le transducteur dans l'étrier et glissez temporairement l'écrou dans l'étrier du transducteur, comme illustré à droite.


- Tenez l'ensemble du transducteur contre le tableau arrière. Regardez le transducteur depuis le côté. Essayez de tener le transducteur de façon que sa face soit parallèle au sol. Si c'est la cas, la position « A » est correcte.
Si vous n'arrivez pas à aligner la face du transducteur en parallèle au sol, retirez le transducteur et les roues à rochet de l'étrier. Replacez les roues à rochet dans l'étrier, mais cette fois en alignant la lecture « B » avec le point d'alignement. Réassemblez le transducteur et l'étrier et placez l'ensemble contre le tableau arrière. Vérifiez une nouvelle fois si la face du transducteur est parallèle au sol. Repétez cette procédure jusqu'à ce que la face du transducteur soit parallèle au sol.
Alignement des roues à rochet sur l'étrier en deux pieces :
L'ensemble de l'étrier en deux pieces comprend quatre roues à rochet noires en matière synthétique. Ces roues à rochet sont utilisées pour aligner le transducteur avec la coque du bateau. Chaque roue à rochet comporte les lettres de A à F.

Roue a rochet

Si vous n'arrivez pas à aligner la face du transducteur en parallèle au sol, retireze le transducteur et les roues à rochet de l'étrier. Replacez les roues à rochet dans l'étrier, mais cette fois en alignant la lecture « B » avec le point d'alignement. Réassemblez le transdu
teur et l'étrier et placez l'ensemble contre le tableau arrière. Vérifiez une nouvelle fois si la face du transducteur est parallèle au sol. Répétez cette procédure jusqu'à ce que la face du transducteur soit parallèe au sol.
3. Assemblage de l'étrier du transducteur
Après avoir déterminé la position correcte des roues à rochet, assemblez le transducteur et l'ensemble de l'étrier comme indiqué par les deux illustrations ci-dessous.
Assemblage de I'étrier en une piece :

Ne serrez pas l'étrier du transducteur avant d'avoir aligné le transducteur et l'étrier avec le tableau arrêté.
Assemblage de I'etrier en deux pieces :

Ne serrez pas l'étrier du transducteur avant d'avoir aligné le transducteur et l'étrier avec le tableau arrêté.
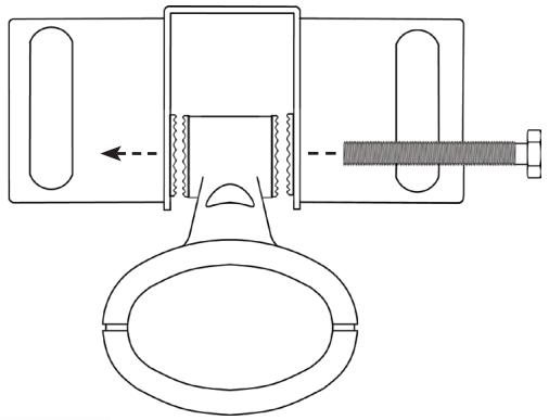
4. Alignment et fixation du transducteur sur le tableau arrête
Ajustez le transducteur pour que sa « face » soit parallèle au sol et que sa ligne centrale soit alignée avec la face inférieure de la coque du bateau.
Étrier de transducteur monté trop bas.

Face inférieure de la coque.
Étrier de transducteur monté trop haut.

Face inférieure de la coque.
Deux cas extrêmes doivent être évités pour le montage du transducteur sur le tableau arrêté ; d'abord, ne permettez pas que le bord de l'étrier de montage ne dépasse de la face inférieure de la coque (figure de gauche, ci-dessus). Ensuite, ne permettez pas que la face inférieure du transducteur ne soit placée plus haut que la face inférieure de la coque (figure de droite, ci-dessus).

Ne serrez pas excessivement le boulon-frein de I'etrier du transducteur. Sinon, le transducteur ne pourrait pas se déplacer vers le haut en cas d'impacts sur des objets dans l'eau.

Pour les transducteurs à fréquence unique, avec un étrier en une seule piece, assemblez-les en passant le cable pardessus du boulon et au travers de l'étrier, comme illustré.
- Tenez l'ensemble du transducteur et de l'étrier contre le tableau arrrière. Une fois que le transducteur et son étrier sont correctement alignés, marquez la position sur la coque.
- Percez les trouss de montage pour l'étrier du transducteur. Utilisez une mèche #29 pour l'étrier en une piece (pour les vis #10). Utilisez une mèche #20 pour l'étrier en deux pieces (pour les vis #12).

Utilisez les vis fournies pour fixer l'assemblage du transducteur sur le tableau arrêté.

Assurez-vous d'appliquer un produit d'étanchéité marin sur tous les trous de vis de l'étrier du transducteur.
Si vous allez monter un transducteur sur un bateau avec une coque en V, assurez-vous que la ligne centrale du transducteur soit alignée avec la face inférieure de la coque, comme indiqué ici.

Si vous allez pearcher un trou dans le tableau arrirée pour le cable du transducteur, assurez-vous que celui-ci soit situé au-dessus de la ligne de flottaison. Scellez le trou à l'aide d'un produit d'etanchéité pour applications marines. Acheminez le cable du transducteur vers l'unité sonar. Assurez-vous de laisser du jeu sur le cable à proximité du transducteur.
Acheminez soigneusement le cable du transducteur en évitant de le passer pres d'autres cables. Si vous devezencer un trou dans le tableau arrêté pour y passer le connecteur du cable, laaille du trou doit correspondre à la taille du connecteur.
5. Faites un essai pour déterminer les résultats
Parfois, il se peut que vous deviez monter le transducteur plus haut ou plus bas. Les rainures dans les étriers de montage vous permettent de desserrer les vis et de modifier la hauteur du transducteur.
Si l'écran du sonar affiche des échos de poissons partiels, comme dans les deux figures ci-

dessus, l'angle du transducteur pourrait être incorrect. Vérifiez la position du transducteur et assurez-vous que sa face soit parallèle avec le fond, comme indiqué par l'illustration ci-dessous. Si vous perdez régulièrement le signal du fond, il se pourrait que le transducteur ne reste pas toujours immergé (par exemple, lorsque vous passez sur une vague ou un sillage).
Descendez légèrement le transducteur dans l'eau, pour voir si cela améliore les performances du sonar. Si vous pêchez pres de structures submerges, le transducteur pourrait être soumis à des impacts verticaux. Si cela arrive trop féquement, essayez de le placer légèrement plus haut, pour qu'il soit mistréx protégé.
Installation de l'étrier TMB-S sur moteur de traine
L'étrier TMB-S a été concu pour des transducteurs à étriers en une seule piece uniquement.
L'étrier pour moteur de traine TMB-S (N° d'article 51-45 est un accessoire optionnel qui est disponible chez LEI Extras au travers du site Web www.lei-extras.com. L'étrier TMB-S a été créé pour attacher des transducteurs à étriers en une seule piece sur un moteur de traine. Si vous pêchez régulièrement dans des eaux avec un grand nombre d'obstacles submergés, tels que des rochers, des trons d'arbre, etc., vous devriez envisager d'utiliser un transducteur du type Pod pour l'installer avec un moteur de traine. Les transducteurs du type Pod sont totalement protégés des impacts verticaux d'obstacles submergés.

Attachez l'étrier TMB-S sur le transducteur à l'aide des accessoires fournis (bride régable, rondelle dentée interne et étrier en matière synthétique), comme l'indique l'illustration ci-dessus.

Gillesz la bride régiable dans l'étrier en matière synthétique, comme indiqué ci-dessus à gauche, puis passez la bride autour du moteur de traine, comme l'indique l'illustration à droite. Placez le transducteur de façon que sa « face » soit dirigée verticalement vers le fond lorsque le moteur de traine est immergé. Serrez fermement la bride régable sur le moteur de traine. Assurez-vous de laisser du jeu sur le cable à proximité du transducteur, pour que vous puissiez tourner librement le moteur de traine.
Installation d'un transducteur du type Skimmer
pour balayage au travers de la coque
Consultez le fabricant de l'embarcation avant d'entrepreneire l'installation sur des bateaux avec des matériaux de flottabilité intégrés dans la coque. Dans les installations à balayage au travers de la coque, le transducteur doit être fixé à l'aide d'époxy à l'intérieur de la coque du bateau.

AVERTISSEMENT: Ne réduisez jamais l'épaissur de l'intérieur de la coque. Couper ou limer la coque pourrait endomager son intégrité. Consultez le concessionnaire ou le fabricant du bateau pour confirmer les spécifications de la coque.

L'illustration précédente montre un transducteur du type Skimmer fixé à l'aide d'époxy sur une section plate de la coque, à proximité du tableau arrêté. L'illustration dans le cercle est un gros plan du transducteur, fixé sur la coque à l'aide d'époxyv.


REMARQUE: Bien que vous puissiez coller les transducteurs du type Skimmer à l'aide d'époxy sur l'intérieur de la coque, nous recommendons d'utiliser un transducteur du type Pod pour ce genre d'installations. Travailliez très soignement lorsque vous collez un transducteur à l'intérieur de la coque. Une fois que le transducteur est collé en position avec de l'époxy, il sera très difficile à enlever.
Un transducteur ne peut balayer au travers de coques en bois ou en métal. Les coques en bois ou en métal exigent un montage sur le tableau arrêté ou une installation au travers de la coque. Pour les applications à balayage au travers de la coque, de nombreux bateaux disposant d'une section plate sur la quille qui formera une belle surface d'installation pour le transducteur.
Si vous allez utiliser un transducteur du type Skimmer au lieu du type Pod pour une telle installation, assurez-vous que le transducteur du type Skimmer soit orienté correctement ; c.-à-d. le « nez » du transducteur dirigé vers la proue (l'avant) du bateau. Remarquez également, que si le transducteur a un capteur de température intégré, celui-ci ne donnera que la température de la coque, pas la température de l'eau.
Avant de fixer le transducteur sur la coque à l'aide d'époxy, assurez-vous que la surface de fixation est propre et totalement libre d'huile ou de graisse. La surface d'application sur la coque doit être plate pour que toute la face du transducteur soit en contact avec la coque. Assurez-vous également que le cable est assez long pour atteindre l'unité sonar.



3. Collez le transducteur sur la coque
Passez du papier de verre sur la surface de la coque où le transducteur doit être fixé à l'aide d'époxy et la face du transducteur.
Commencez avec un papier de verre plus rugueux, par ex. de grain 60 et finissez avec du papier de verre plus lisse, par ex. de grain 160. Passez le papier de verre sur l'intérieur de la coque jusqu'à ce qu'elle soit lisse au toucher.
La surface traitée devrait avoir un diamètre d'environ 1-1/2 fois le diamètre du transducteur. Àpres le traitement au papier de verre, nettoyez la coque et la face du transducteur avec une serviette imbibée d'alcool pour éliminer la poussière et les débris du papier de verre.
Appliquez une fine couche d'époxy (environ 1-16SDSq ou 1,5mm ) sur la face du transducteur et sur la partie traitée de la coque. Assurez-vous qu'il n'y ait pas de bulles dans les couches d'époxy.
Poussez le transducteur dans l'époxy, en tournant et en pivotant le transducteur, afin d'éliminer toutes les bulles d'air sous la face du transducteur. Arrétez de pousser lorsque le transducteur touche la coque.
Appliquez de la pression sur le transducteur pour le maintainir en place pendant que l'époxy durcit. Faites attention de ne pas bouger le transducteur pendant que l'époxy durcit et ne déplacez pas l'embarcation. Une fois terminé, la face du transducteur devrait être en parallèle avec la coque, avec une quantité minimale d'époxy entre la coque et le transducteur. Une fois que l'époxy ait durci, acheminez le cable du transducteur vers l'unité sonar.
Instructions d'installation du transducteur du type Pod
Les instructions suivantes expliquent comment installer un transducteur du type Pod à l'intérieur de la coque ou sur un moteur de traine. Veuillez lire attentivement ces instructions avant toute tentative d'installation. Soyez extrémement attentifs si vous allez monter le transducteur à l'intérieur de la coque ; une fois que le transducteur est fixé par l'époxy, il pourrait être très difficile de l'enlever.

REMARQUE: L'emplacement et l'installation du transducteur sont deux des étapes les plus importantes de l'installation d'un sonar.
Installation d'un transducteur du type Pod pour balayage au travers de la coque
Consultez le fabricant de l'embarcation avant d'entrepreneire l'installation sur des bateaux avec des materiaux de flottabilité intégrés dans la coque.

AVERTISSEMENT: Ne réduisez jamais l'épaisseur de l'intérieur de la coque. Couper ou limer la coque pourrait endommager son intégrité. Consultez le concessionnaire ou le fabricant du bateau pour confirmer les specifications de la coque.
Un transducteur ne peut balayer au travers de coques en bois ou en métal. Les coques en bois ou en métal exigent un montage sur le tableau arrêté ou une installation au travers de la coque. Pour les applications à balayage au travers de la coque, de nombreux bateaux disposant d'une section plate sur la quille qui formera une belle surface d'installation pour le transducteur.

L'illustration précédente montre un transducteur du type Pod fixe à l'aide d'époxy sur une section plate de la coque, à proximité du tableau arrêté. Le transducteur devrait être installé le plus pres possible du tableau arrêté et à proximité du centre de l'embarcation.
Avant de fixer le transducteur sur la coque à l'aide d'époxy, assurez-vous que la surface de fixation est propre et totalement libre d'huile ou de graisse. La surface d'application sur la coque doit être plate pour que toute la face du transducteur soit en contact avec la coque.




3. Collez le transducteur sur la coque
Une fois que I'époxy ait durci, achemieze le cable du transducteur vers l'unité sonar.
Passez du papier de verre sur la surface de la coque où le transducteur doit être fixé à l'aide d'époxy et la face du transducteur.
Commencez avec un papier de verre plus rugueux, par ex. de grain 60 et finissez avec du papier de verre plus lisse, par ex. de grain 160. Passez le papier de verre sur l'intérieur de la coque jusqu'à ce qu'elle soit lisse au toucher.
La surface traitée devrait avoir un diamètre d'environ 1-1/2 fois le diamètre du transducteur. Àpres le traitement au papier de verre, nettoyez la coque et la face du transducteur avec une serviette imbibée d'alcool pour éliminer la poussière et les débris du papier de verre.
Appliquez une fine couche d'époxy (environ 1-16SDSq ou 1,5mm ) sur la face du transducteur et sur la partie traitée de la coque. Assurez-vous qu'il n'y ait pas de bulles dans les couches d'époxy.
Poussez le transducteur dans l'époxy, en tournant et en pivotant le transducteur, afin d'éliminer toutes les bulles d'air sous la face du transducteur. Arrêtez de pousser lorsque le transducteur touche la coque.
Appliquez de la pression sur le transducteur pour le maintainir en place pendant que l'époxy durcit. Faites attention de ne pas bouger le transducteur pendant que l'époxy durcit et ne déplacez pas l'embarcation.
Une fois terminé, la face du transducteur devrait être en parallèle avec la coque, avec une quantité minimale d'époxy entre la coque et le transducteur.
Installation d'un transducteur du type Pod sur un moteur de traine

La face supérieure du transducteur est recoubee pour s'adapter au contour du moteur de traine.
La bride régliable doit être suffisamment grande pour la passer ajust du moteur de traine. La bride régliable n'est PAS fournie avec le transducteur du type Pod.
Assurez-vous de laisser du jeu sur le cable à proximé du transducteur, pour que vous puissez tournier librement le moteur de traine.
-
Glissez la bride dans les étriers du transducteur du type Pod, comme indiqué ci-dessous.
-
Glissez la bride autour du moteur de traine, comme indiqué ci-dessous. Serrez fermement la bride régiable sur le moteur de traine.


Le transducteur devrait être monté en amont de l'ailette du moteur de traine. Placez le transducteur de façon que sa « face » soit dirigée verticalément vers le fond lorsque le moteur de traine est immergé.

Acheminez le cable du transducteur le long de l'arbre du moteur. Utilisez des serre-cables en plastique (non fournis) pour attacher le cable à l'arbre.
Maintenance du transducteur
Assurez-vous également que le cable est assez long pour atteindre l'unité sonar, avant de fixer le transducteur avec l'époxy.
De l'huile ou d'autres contaminants peuvent se déposer sur la face du transducteur et déterminer ses performances ; pour les éliminer, nettoyez périodiquement la face du transducteur avec du savon et de l'eau. Ce nettoyage régulier assurera la longévité et les bonnes performances de l'appareil.

Montage de l'unité : sur étrier ou encastré
L'unité est fournie avec un étrier qui permet de le monter sur une cloison. Un gabarit et quatre vis pour montage encastré sont également fournis. D'éterminez l'emplacement de montage de l'unité. Les vis pour fixer l'étrier sur une cloison ne sont pas fournies avec l'unité.
Installation de l'étrier

REMARQUE: Avant d'entamer l'installation, lisez attentivement les instructions suivantes et vérifie soigneusement toutes les longueurs des cables en vous assurant qu'il s pourront atteindre la source d'alimentation, l'unité sonar, le module de réception GPS, le transducteur, etc.
Les trou dans la base de l'étrier permettent de le fixer sur une cloison à l'aide de vis à bois ou d'écrous passants. Lorsque vous allez utiliser l'étrier pour le montage de l'unité, assurez-vous qu'il y ait assez d'espace derrière l'unité pour pouvoir l'incliner et connecter les différents cables.

- Percez un trou de 1 pouce (25,4 mm) pour les câbles du sonar, d'alimentation/ données, d'Ethernet et de réseau. Le grand trou au centre de l'étrier sera utilisé pour y passer ces câbles.

3. Utilisez des vis ou des écrous pour fixer l'étrier sur la surface de montage.

4. Passez tous les connecteurs des cables dans le grand trou central de l'étrier. Assurez-vous également laisser du jeu sur les cables pour pouvoir incliner l'unité.

4. Fixez l'unité dans l'étrier à l'aide des roues à molettes.

5. Branchez les connecteurs des cables dans les prises correspondantes à l'arrière de l'unité. Tous les cables et prises portent une étiquette. Branchez les connecteurs dans les prises correspondantes. Allumez l'unité pour vous assurer que tous les connecteurs sont fermement branchés dans la prise correspondante.
Installation encastrée
L'unité est livrée avec un gabarit de montage encastré et quatre vis #6 - 20 X 1-1/2". Avant de percer des trous dans la surface de montage, assurez-vous qu'il y ait assez d'espace pour brancher les connecteurs des cables derrière l'unité. Fixez le gabarit sur la surface de montage à l'aide de bande adhéasive.

Le gabarit livre avec votre unité compte les mesures exactes, y compris la taille des mèches à utiliser pour le perçage des trous de coin à l'étape suivante. Ne découpez que la zone indiquée par les lignes pointillées du gabarit.

Utilisez une mèche à bois pour percer les quatre trous de coin indiqués par les zones grisées du gabarit ci-dessus. L'utilisation d'une mèche pour bois donnaera des coins plus arrondis pour le montage encastré.

Après avoir percé les quatre trous de coin, utilisez une scie pour couper le long des lignes pointillées, d'un trou à un autre. Assurez-vous de couper le long de la ligne pointillée interieure. Ne coupez pas le long de la ligne pleine extérieure.
L'illustration montre la série de montage de l'unité dans la surface de montage. 1) Placez l'unité dans le trou découvert dans la surface de montage. 2) Utilisez les vis fournies pour fixer l'unité dans la surface de montage.


3) La face de l'unité pourrait avoir des bandes adhésvises de protection. Si tel est le cas, retirez les bandes adhésvises avant d'appliquer le cache sur l'unité. 4) Appliqué le cache sur l'unité.
S'il y a danger de pénetration d'eau, utilisez un produit d'étanchéité marin entre l'unité et la surface de montage.

Combination d'unités de sonar/GPS

Unités GPS uniquement
Diagramme de connexion du cable Alimentation/Données


Le diagramme ci-dessus montre comment connecter le cable Alimentation/ Données à l'alimentation.
Diagramme de connexion de plusieurs unités avec apparéils

Le diagramme ci-dessus montre deux unités HDS et un LBS-1, connectés à l'aide d'un NEP-1. Le cable d'alimentation de chaque appareil comporte un brin jaune. Ce brin jaune est la ligne de réveil accessoire. Connectez ensemble les brins jaunes. Lorsque la ligne de réveil accessoire est utilisé pour connecter des unités avec la fonction réveil, vous pourrez allumer certains appareils connectés, tels que améliorateurs numériques de sonar et ports d'extension, à partir d'un emplacement central.
Diagramme de connexion du cable de données : unités HDS-8 & HDS-10
Câblage NMEA 0183 (câble de données)
Pour l'échange de données NMEA 0183, les unités HDS-8 et HDS-10 disposent d'un port de communication NMEA 0183 version 2.0 (RS-422). Le port de communication sériel un (Com 1) peut être utilisé pour transmettre ou receivevoir des données de format NMEA. Deux ports RS-232 (Com 1 et Com 2) sont également disponibles par l'intémédiaire de selection logicielle. Ces ports transmettent ou reçoivent des données NMEA.
Les cinq cables des ports de communication sérielle (cable de données) sont combinés aux cables d'alimentation pour former le cable Alimentation/Données.
Com 1 (RS-422) utilise les câbles jaune et bleu pour la transmission, les câbles orange et vert pour la réception et le blindage (brin nu) pour le neutre des signaux.

Diagramme de connexion du cable de données : unités HDS-8 & HDS-10
Câblage NMEA 0183 (câble de données)
Com 1 (RS-232) utilise le cable jaune pour la transmission, le cable orange pour la réception et le blindinge (brin nu) pour le neutre des signaux.
- Com 2 (RS-232) utilise le cable bleu pour la transmission, le cable vert pour la réception et le blindage (brin nu) pour le neutre des signaux.

Diagramme de connexion du cable de données : unités HDS-5 & HDS-7
Câblage NMEA 0183 (câble de données)
Pour l'échange de données NMEA 0183, les unités HDS-5 et HDS-7 disposent d'un port de communication NMEA 0183 version 2.0 (RS-422). Le port de communication sériel un (Com 1) peut être utilisé pour transmettre ou receivevoir des données de format NMEA. Les cinq cables des ports de communication sérielle (cable de données) sont combinés aux cables d'alimentation pour former le cable Alimentation/Données.
Com 1 (RS-422) utilise les câbles jaune et bleu pour la transmission, les câbles orange et vert pour la réception et le blindage (brin nu) pour le neutre des signaux.

Page vide
Visitez notre site Web :
www.lowrance.com

Copyright 2008
Tous droits réservés
Notice Facile