SHG 88 WF1 - Hotte SAUTER - Notice d'utilisation et mode d'emploi gratuit
Retrouvez gratuitement la notice de l'appareil SHG 88 WF1 SAUTER au format PDF.
| Type d'appareil | Hotte de cuisine |
| Mode d'extraction | Extraction ou recyclage |
| Nombre de vitesses | 3 |
| Type de commande | Touches mécaniques |
| Éclairage | Lampe halogène |
| Puissance d'éclairage | Non précisé |
| Débit d'air maximal | Non précisé |
| Niveau sonore | Non précisé |
| Filtre à graisse | Aluminium lavable |
| Filtre à charbon | Optionnel |
| Dimensions (L x P x H) | Non précisé |
| Matériau | Acier inoxydable |
| Installation | Murale |
| Consommation électrique | Non précisé |
| Poids | Non précisé |
| Garantie | Non précisé |
FOIRE AUX QUESTIONS - SHG 88 WF1 SAUTER
Questions des utilisateurs sur SHG 88 WF1 SAUTER
0 question sur cet appareil. Repondez a celles que vous connaissez ou posez la votre.
Poser une nouvelle question sur cet appareil
Téléchargez la notice de votre Hotte au format PDF gratuitement ! Retrouvez votre notice SHG 88 WF1 - SAUTER et reprennez votre appareil électronique en main. Sur cette page sont publiés tous les documents nécessaires à l'utilisation de votre appareil SHG 88 WF1 de la marque SAUTER.
MODE D'EMPLOI SHG 88 WF1 SAUTER
Vous venez d'acquérir une hotte SAUTER et nous vous en remercions.
C'est pour vous que nous avons conçu cette nouvelle génération d'appareils pour vous permettre jour après jour d'exercer sans retenue vos talents de chef et votre créativité, pour vous faire plaisir et faire plaisir à vos amis et votre famille.
Votre nouvelle hotte SAUTER s'intègrera harmonieusement dans votre cuisine et alliera parfaitement facilité d'utilisation et performances d'aspiration.
Vous trouverez également dans la gamme des produits SAUTER, un vaste choix de fours, de fours à micro-ondes, de tables de cuisson, de lave-vaisselle, et de réfrigérateurs intégrables, que vous pourrez coordonner à votre nouvelle hotte SAUTER.
Bien entendu, dans un souci permanent de satisfaire au possible vos exigences vis-à-vis de nos produits, notre service consommateurs est à votre disposition et à votre écoute pour répondre à toutes vos questions ou suggestions (coordonnées à la fin de ce livre).
Et connectez-vous aussi sur notre site www.sauter-electromenager.com où vous trouverez nos dernières innovations ainsi que des informations utiles et complémentaires.
SAUTER
Nous cuisinons si bien Ensemble
Dans le souci d'une amélioration constante de nos produits, nous nous réservons le droit d'apporter à leurs caractéristiques techniques, fonctionnelles ou esthétiques toutes modifications liées à leur évolution.
Important : Avant de mesurer votre appareil en marche, veuillez lire attentivement ce guide d'installation et d'utilisation afin de vous familiariser plus rapidement avec son fonctionnement.
1 / À l'attention de l'utilisateur
- Consignes de sécurité 03
- Respect de l'environnement 04 Description de votre appareil 05
2 / Installation de votre appareil
- Utilisation en version évacuation 06 Utilisation en version recyclage 06 Raccordement électrique 07 Montage de la hotte 08
Recyclage 08 Evacuation extérieure 09
3 / Utilisation de votre appareil
Description des commandes 11
4 / Entretien et nettoyage de votre appareil
Nettoyage des filtres à graisse 12 Changement du filtre charbon 12 - Nettoyage et entretien de la carrosserie 13 Changement de lampe 13 Démontage de l'appareil 14 - Entretien de votre appareil 15
6 / Service apres-vente
Interventions 17 - Relations avec les consommateurs 17
Important
Conservez cette notice d'utilisation avec votre appareil. Si l'appareil devait être vendu ou cédé à une autre personne, assurez-vous que la notice d'utilisation l'accompagne. Merci de prendre connaissance de ces conseils avant d'instructior et d'utiliser votre appareil. Ils ont été rédigés pour leur sécurité et celle d'autrui.
Consignes de sécurité
- Cet appareil a été conçu pour être utilisé par des particuliers dans leur lieu d'habitation.
- Cet appareil doit être utilisé par des adultes. Veillez à ce que les enfants n'y touchent pas et ne l'utilisent pas comme un jouet. Assurez-vous qu'ils ne manipulent pas les commandes de l'appareil.
- À la réception de l'appareil, déballez-le ou faites-le déballer immédiatement. Vérifiez son aspect général. Faites les éventuelles réserves par écrit sur le bon de livraison dont vous gardez un exemplaire.
- Notre appareil est destiné à un usage domestique normal. Ne l'utilise pas à des fins commerciales ou industrielles ou pour d'autres buts que celui pour lequel il a été consu.
- Ne modifiez pas ou n'essayez pas de modifier les caractéristiques de cet appareil. Cela représente un danger pour vous.
- Les réparations doivent être exclusivement effectuées par un spécialiste agréé.
- Débranche toujours la hotte avant de procéder à son nettoyage ou à son entretien.
- Aérez convenablement la pièce en cas de fonctionnement simultané de la hotte et d'autres appareils alimentés par une source d'énergie différente de l'énergie électrique. Ceci afin que la hotte n'aspire pas les gaz de combustion.
- Il est interdit de flamber des mets ou de faire fonctionner des foyers gaz sans récipients de cuisson, au-dessous de la hotte (les flammes aspirées risqueraient de déterminer l'appareil).
- Les fritures effectuées sous l'appareil doivent faire l'objet d'une surveillance constante. Les huiles et graisses portées à très haute température peuvent prendre feu.
- graisse risque d'occasionner un incendie.
- Le fonctionnement au-dessus d'un foyer à combustible (bois, charbon...) n'est pas autorisé.
- N'utilise jamais d'appareils à vapeur ou à haute pression pour nettoyer votre appareil (exigences relatives à la sécurité électrique).
- Dans le souci d'une amélioration constante de nos produits, nous nous réservons le droit d'apporter à leurs caractéristiques techniques, fonctionnelles ou esthétiques, toutes modifications liées à l'évolution technique.
- Afin de retrouver aisément à l'avenir les références de votre appareil, nous vous conseillons de les noter en page "Service Après-Vente et Relations Consommateurs". (Cette page vous explique également où les trouver sur votre appareil).
- Suivre impérativement les instructions de cette notice. Le constructeur décline toute responsabilité pour tous les inconvénients, dommages ou incendies provoqués à l'appareil et dus à la non-observation des instructions de la présente notice.
Attention dans le cas
en approch raccorde à une chiffre (ex: poêle), il faut installer la hotte en version recyclage. Ne pas utiliser la hotte sans les filtres à GRAISSE.
Une ventilation convenable de la pièce doit être prévue lorsqu'une hotte de cuisine est utilisée simultanément avec des appareils utilisant du gaz ou un autre combustible.
Respect de l'environnement
- Les matériaux d'emballage de cet appareil sont recyclables. Participez à leur recyclage et contribuez ainsi à la protection de l'environnement en les déposant dans les conteneurs municipaux prévus à cet effet.
- Notre appare eils usagés ne doivent pas être mélangés avec d'autres déchets. Le recyclage des appareils qu'organise votre fabricant sera ainsi réalisé dans les conditions, conformément à la directive européenne 2002/96/CE sur les déchets d'équipements électriques et électroniques. Adressez-vous à votre mairie ou à votre revendeur pour connaître les points de collecte des appareils usagés les plus proches de votre domicile.
- Nous vous remercions pour votre collaboration à la protection de l'environnement.

Attention
L'installation est réservée aux installateurs et techniciens qualifiés.

Attention
Avant la première utilisation du filtre à graisse, retirez le film de protection.
Description de votre appareil

- L'appareil doit être débranché pendant l'installation ou dans l'éventualité d'une intervention.
- Vérifiez que la tension du réseau correspond à la tension mentionnée sur la plaque signalétique située à l'intérieur de la hotte.
- Si l'installation électrique de votre habitation nécessite une modification pour le branchement de votre appareil, faites appel à un électricien qualifié.
- Si la hotte est utilisée en version évacuation, ne raccordez pas l'appareil à un conduit d'évacuation de fumées de combustion (chaudière, cheminée, etc…) ou à une VMC (ventilation mécanique contrôlée).
- Le conduit d'évacuation, quel qu'il soit, ne doit pas déboucher dans les combles.
- Installez la hotte à une distance de sécurité d'au moins 65 cm d'un plan de cuisson.
L'appareil peut être utilisé soit en version à évacuation extérieure, soit en version à recyclage.
L'appareil est livré pour fonctionner en recyclage, les filtres à charbon actif sont montés d'origine (Option Ref. SHK25AF1 pour les modèles SHG86, SHG88, SHG89; option Ref. SHK57AF1 pour le modèle SHG879).
Vous possédez une sortie vers l'extérieur (fig. 1)
Votre hotte peut être raccordée sur celle-ci par l'intermédiaire d'une gaine d'évacuation (minimum 125mm, émaillée, en alu, flexible ou en matière inflammable).
Votre hotte étant livrée en version recyclage, vous devez préalablement retirer le/les filtre(s) à charbon actifs.
Vous ne possédez pas de sortie vers l'extérieur (fig. 2)
Tous nos appareils ont la possibilité de fonctionner en mode recyclage.
L'air et les vapeurs entrainées par l'appareil sont purifiées par les filtres à charbon, puis remises en circulation dans le volume de la pièce.


Raccordement electrique
Lors de l'installation et des opérations d'entretien, l'appareil doit être débranché du réseau électrique, les fusibles doivent être coupés ou retirés.
Le raccordement électrique est à réaliser avant la mise en place de l'appareil dans le meuble.
Vérifiez que :
- la puissance de l'installation est suffisante,
- les lignes d'alimentation sont en bon état
- le diamètre des fils est conforme aux règles d'installation.

Attention
Si l'installation électrique de votre habitation nécessite une modification pour le branchement de votre appareil, faites appel à un électricien qualifié.

Attention
Si la hotte présente une quelconque anomalie, débranchez l'appareil ou enlevez le fusible correspondant à la ligne de branchement de l'appareil.
Modèles SHG88, SHG89, SHG879:

Attention
Cet appareil doit être relié à la terre.
Notre responsabilité ne saurait être engagée en cas d'accident consécutif à une mise à la terre inexistante ou incorrecte.
Si votre appareil n'a pas de câble flexible qui ne peut pas être séparé ni de prise, ou bien d'autre dispositif qui garantisse le débranchement de tous les pôles du réseau, avec une distance d'ouverture entre les contacts d'au moins 3 mm, ces dispositifs de séparation du réseau doivent alors être prévus dans l'installation fixe.
Cet appareil est livré avec un câble d'alimentation H 05 VVF à 3 conducteurs de 0,75 mm² (neutre, phase et terre). Il doit être branché sur réseau 230-240 V monophasé par l'intérimédiaire d'une prise de courant normalisée CEI 60083 qui doit rester accessible après installation, conformément aux règles d'installation.
Si le câble d'alimentation est endommagé, faites appel au service après-vente afin d'éviter un danger.
Modèle SHG86:

Attention
Cet appareil est construit de façon à appartenir à la classe d'isolement II ; il ne doit donc pas être relié à la terre.
Si votre appareil n'a pas de câble flexible qui ne peut pas être séparé ni de prise, ou bien d'autre dispositif qui garantisse le débranchement de tous les pôles du réseau, avec une distance d'ouverture entre les contacts d'au moins 3 mm, ces dispositifs de séparation du réseau doivent alors être prévus dans l'installation fixe.
Cet appareil est livré avec un câble d'alimentation H 05 VVF à 2 conducteurs de 0,75 mm² (neutre et phase). Il doit être branché sur réseau 230-240 V monophasé par l'intermédiaire d'une prise de courant normalisée CEI 60083 qui doit rester accessible après installation, conformément aux règles d'installation.
Si le câble d'alimentation est endommagé, faites appel au service après-vente afin d'éviter un danger.
Attention
L'installation doit être conforme aux règlements en vigueur pour la ventilation des locaux. En France, ces règlements sont indiqués dans le DTU 61.1 du CSTB. En particulier, l'air évacué ne doit pas être envoyé dans un conduit utilisé pour évacuer les fumées d'appareils utilisant du gaz ou autre combustible. L'utilisation de conduits désaffectés ne peut se faire qu'après accord d'un spécialiste compétent.
La distance minimum entre la surface de support des casseroles sur le plan de cuisson et la partie inférieure de la hotte doit être de 650 mm. Si les consignes, pour l'installation du plan de cuisson, indiquent une plus grande distance, il faut en tenir compte.
Recyclage
- Démontez les filtres à graisse: tirez la poignée vers l'extérieur et tournez le filtre vers le bas (Fig.3).
- Seulement pour les modèles SHG86-SHG88-SHG89: démontez l'encadrement en déplaçant les deux blocages latéraux C (Fig. 4).
- Sous votre meuble de rangement, faites le trou nécessaire afin d'insérer l'appareil (Fig.5). La base inférieure du meuble doit avoir une épaisseur comprise entre 15 et 18 mm.
Contrôler que les ailettes de fixation (Fig. 6) au meuble suspendu sont placées à une hauteur appropriée à l'épaisseur du bas de ce dernier. Si cette distance est inférieure à l'épaisseur, il faut l'augmenter en dévissant les 2 vis correspondantes à l'intérieur de l'appareil.
- Prévoyez l'alimentation électrique après de l'appareil.
- Prévoyez le trou d'évacuation de l'air au sommet de votre placard (Fig. 7).
- Insérez l'appareil dans le trou percé.
- MONTAGE DES MODELES SHG86-SHG88-SHG89 (Fig. 8): fixez l'appareil au meuble au moyen des 4 vis d'assemblage.
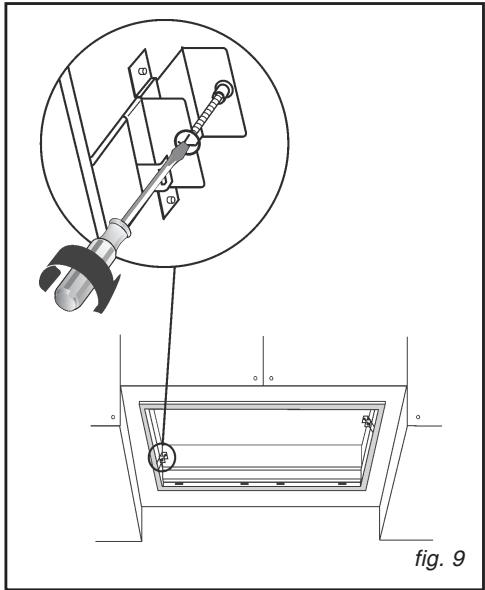
- MONTAGE DU MODELE SHG879 (Fig. 9): serrez les deux vis situées à l'intérieur de l'appareil jusqu'à ce que l'appareil adhère au fond de l'élément haut. Évitez de visser trop fort les deux vis de




manière à ce que les petits étriers métalliques restent en position correcte.
- Raccordez un tuyau de raccordement à la bride de sortie de l'appareil, selon la hauteur nécessaire pour rejoindre le sommet du placard (ce tuyau n'est pas fourni).
- Remontez l'encadrement et les filtres à graisse.
- Faites le raccordement électrique.
fig. 7

Évacuation extérieure
- Démontez les filtres à graisse: tirez la poignée vers l'extérieur et tournez le filtre vers le bas (Fig. 3).
- Seulement pour les modèles SHG86-SHG88-SHG89 : démontez l'encadré en déplaçant les deux blocages latéraux C (Fig. 4).
- Sous votre meuble de rangement, faites le trou nécessaire afin d'insérer l'appareil (Fig.5). La base inférieure du meuble doit avoir une épaisseur comprise entre 15 et 18 mm.
Contrôler que les ailettes de fixation (Fig. 6) au meuble suspendu sont placées à une hauteur appropriée à l'épaisseur du bas de ce dernier. Si cette distance est inférieure à l'épaisseur, il faut l'augmenter en dévissant les 2 vis correspondantes à l'intérieur de l'appareil.
- Prévoyez l'alimentation électrique près de l'appareil.
- Insérez l'appareil dans le trou percé.
- MONTAGE DES MODELES SHG86-SHG88-SHG89 (Fig. 8) : fixez l'appareil au meuble au moyen des 4 vis d'assemblage.

- MONTAGE DU MODELE SHG879 (Fig.9): serrez les deux vis situées à l'intérieur de l'appareil jusqu'à ce que l'appareil adhère au fond de l'élément haut. Éviter de visser trop fort les deux vis de manière à ce que les petits étriers métalliques restent en position correcte.
- Raccordez le tuyau pour l'évacuation de l'air à la bride de sortie de l'air de la hotte (Fig. 10) : utilisez un tuyau couple et bloquez-le sur la sortie de l'air à l'aide d'un collier métallique (le tuyau et le collier ne sont pas fournis).
- Enlevez les fittings à charbon panneaux (F) et les arrêtes (M) qui se trouvent sur les fittings à graisse (Fig. 11).
- Remontez l'encadrement et les filtres àGRaisse.
- Faites le raccordement électrique.

Clapet antiretour
Dans le cas d'une installation en évacuation extérieure, l'installation du clapet anti-retour empêche l'entrée du vent et le retard d'air.
Attention : avant de fixer la gaine d'évacuation au moteur, s'assurer que le clapet anti-retour, qui se trouve sur la sortie d'air, puisse tournier librement.

Attention
Votre hotte étant livrée en version recyclage, vous nevez préalablement retirer les filtres à charbon actifs.



Conseil
Pour une utilisation optimale de votre appareil, nous vous conseillons le raccordement à une gaine diamètre 150 mm (non livrée). Limiter au maximum le nombre de coude et la longueur de la gaine. Dans le cas où la hotte fonctionne en évacuation extérieure, il convient d'assurer une arrivée d'air frais suffisante pour éviter de mettre la pièce en dépression.
Modèles SHG86 et SHG88
"A" = Interrupteur d'éclairage : Position "0" : lumière éteinte. Position "1" : lumière allumée.
"B" = Interrupteur moteur : cet interrupteur augmente ou diminue la vitesse d'exercice du moteur par un variateur électronique.
"C" = Voyant indiquant le fonctionnement du moteur.
Modèles SHG89 et SHG879
"A": allume/éteint les voyants;
Alarme des filtres: toutes les 30 heures de fonctionnement le témoin lumineux correspondant (S) s'allume pour signaler qu'il est nécessaire de nettoyer les filtres à graisse; toutes les 120 heures de fonctionnement, le témoin lumineux correspondant (S) clignote pour signaler qu'il est nécessaire de nettoyer les filtres à graisse et replacer le filtre à charbon. Pour faire repartir le comptage des heures (RAZ), maintenir la pression sur la touche A pendant environ 1" (tandis que le témoin S est en fonction).
"B" : actionne le moteur à la 1ère vitesse (le
fig. 12

témoin lumineux correspondant s'allume) ; en appuyant une seconde fois sur la touche (tandis que le témoin lumineux est allumé), le TIMER est activé, par conséquent, 5' après le moteur s'arrête (le témoin lumineux clignote) ; pour éteindre le moteur, maintenir la pression pendant environ 1''. "C" : actionne le moteur à la 2ème vitesse (le témoin lumineux correspondant s'allume) ; en appuyant une seconde fois sur la touche (tandis que le témoin lumineux est allumé), le TIMER est activé, par conséquent, 5' après le moteur s'arrête (le témoin lumineux clignote). "D" : actionne le moteur à la 3ème vitesse (le témoin lumineux correspondant s'allume) ; une seconde fois sur la touche (tandis que le témoin lumineux est allumé), le TIMER est activé, par conséquent, 5' après le moteur s'arrête (le témoin lumineux clignote). "E" : actionne le moteur à la 4ème vitesse (le témoin lumineux correspondant s'allume) ; en appuyant une seconde fois (tandis que le témoin lumineux est allumé), le TIMER est activé, par conséquent, 5' après le moteur s'arrête (le témoin lumineux clignote).
Attention
Débranche l'appareil avant de procéder à l'entretien et au nettoyage de l'appareil. Un entretien régulier de votre appareil est une garantie de bon fonctionnement, de bon rendement et de durabilité.
Attention
Le non-respect des instructions de nettoyage de l'appareil et des filtres peut occasionner des incendies. Veuillez respecter strictement les consignes d'entretien.
Nettoyage des filtres à graisse
Il est important de veiller à nettoyer périodiquement les filtres à graisse.
Intervalle de nettoyage des filtres:
Modèles SHG86 - SHG88:
Les filtres à graisse nécessitant un entretien régulier, il faut donc les nettoyer périodiquement en moyenne tous les deux mois.
Modèles SHG89 - SHG879:
Les filtres à graisse doivent être nettoyés environ toutes les 30 heures de fonctionnement (lorsque le témoin S de la touche éclairage s'allume). Une fois les filtres propres remontés, pour faire partir le comptage, maintenir la pression pendant environ 1" sur la touche éclairage A tandis que le témoin lumineux correspondant (S) est allumé.
Laver les filtres avec un nettoyant ménager du commerce puis rincer abondamment et sécher. Ce nettoyage peut être effectué dans un lave-vaisselle en prenant soin de ne pas mettre les filtres en contact avec de la vaisselle sale ou avec couverts en argent.
- Démontage des filtres à GRAISSE (fig. 14)
Tirez la poignée vers l'extérieur et tournez le filtre vers le bas.
Changement du filtre charbon
Modèles SHG86 - SHG88:
Remplacer les filtres à charbon en moyenne tous les six mois, selon l'utilisation.
Modèles SHG89 - SHG879:
Les filtres à charbon doivent être remplacés environ toutes les 120 heures de fonctionnement (lorsque le témoin S de la touche éclairage s'allume). Pour faire partir le comptage, développer la pression pendant environ 1" sur la touche éclairage A tandis

que le témoin lumineux correspondant (S) est allumé.
- Démonter le/des filtres à charbon (fig. 15)
Pour enlever les filtres à charbon, il faut d'abord démonter les filtres antigraisse (Fig.14). Après, enlevez les arêtes (M) et les filtres à charbon (F) - Fig.15.
Réf. filtres à charbon:
SHK25AF1 pour les modèles SHG86, SHG88, SHG89.
SHK57AF1 pour le modèle SHG879.
- Nettoyage et entretien de la carrosseire
Pour le nettoyage de la carrosserie de l'appareil, éviter l'emploi de produits contenant des abrasifs.

Attention
Avant toute intervention, la hotte doit être mise hors tension, soit en retirant la prise, soit en actionnant le disjoncteur.
Modèle SHG86
Pour remplacer les ampoules, démonter les filtres à graisse (Fig. 14) ; démonter aussi l'encadrement en déplaçant les deux blocages latéraux C (Fig. 16).
Enlever les ampoules et remplacez-les par des ampoules ayant les mêmes caractéristiques.
Modèles SHG88, SHG89 et SHG879
Pour remplacer les lampes halogènes, enlever le hublot (Fig. 17). Remplacez-les par des lampes halogènes ayant les mêmes caractéristiques.



- DEMONTAGE DE L'APPAREIL (seulement pour le modele SHG879)
Retirer les filtres antigraisse (Fig. 18).
Pendant les opérations suivantes, veuillez toujours soutenir l'appareil.
Dévisser les deux vis situées à l'intérieur de l'appareil (Fig. 22) ; déplacer les 2 languettes vers l'intérieur de l'appareil en utilisant les entailles appropriées (Fig. 23) ; extraire l'appareil de son emplacement.



Attention
Avant toute intervention, la hotte doit être mise hors tension, soit en retirant la prise, soit en actionnant le disjoncteur.
- ENTRETENIR VOTRE APPAREIL
| ENTRETIEN... | COMMENT PROCEDER ? | PRODUITS/ACCESSOIRESA UTILISER |
| Enveloppe et accessoires | N'utilisez jamais de tamponsemalliques, de produitsabrasifs ou de brosses tropdures. | Pour nettoyer la carrosserie et lehublot d'éclairage, utilisez exclusivement des nettoyantsménagers du commerce dilués dans de l'eau, puis rincez à l'eauclaire et essuyez avec un chiffondoux. |
| Filtre àGRAISSSE | Ce filtre retient les vapeursgrasses et les poussières.II estl'élement assurant une partim-porante de l'efficacité de voterehotte. Dans le cas de tachespersistantes, utilisez une crèmenon abrasive, puis rincez à l'eauclaire. | Avec un nettoyant ménager ducommerce, puis rincezabondamment et séchez. Ce nettoyage peut être effectué dans notre lave-vaisselle en position verticale (ne pas mettreen contact avec de la vaisellesale ou des couverts enargent). |
| Filtre charbon actif | Ce filtre retient les odeurs et doit'être changé au moins tous lessix mois en fonction de votureutilisation.Commandez ces filtrres chezvoire revendeur (sous laréférence indiquée sur la plaque signalétique située à l'intérieur dela Hotte) et notez la date dechangement. |
Pour préserver votre appareil, nous vous recommandons d'utiliser les produits d'entretien Clearit.

Au service des particuliers
Clarity vous propose des produits professionnels et des solutions adaptées pour l'entretien quotidien de vos appareils électroménagers et de vos cuisines.
Vous les trouvez en vente chez votre revendeur habituel, ainsi que toute une ligne de produits accessoires et consommables.
| SYMPTOMES | SOLUTIONS |
| La hotte ne fonctionne pas... | Vérifiéz que: • il n'y apas de coupure de courant. • une vitesse a été effectivement sélectionnée. |
| La hotte a un rendement insuffisant... | Vérifiéz que: • la vitesse moteur sélectionnée est suffisante pour la quantité de fumée et de vapeur dégagée. • la cuisine est suffisamment aérée pour permettre une prise d'air. • le filtré à charbon n'est pas usage (hotte en version recyclage). • les filtres à graisses sont propres. |
| La hotte s'est arrêtée au cours du fonctionnement | Vérifiéz que: • il n'y a pas de coupure de courant. • le dispositif à coupure omnipolaire ne s'est pas enclenché. |
Interventions
Les éventuelles interventions sur votre appareil doivent être effectuées par un professionnel qualifié dépositaire de la marque. Lors de votre appel, mentionnez la référence complète de votre appareil (modèle, type, numéro de série). Ces renseignements figurent sur la plaque signalétique (fig. 20).

Pièces d'origine
Lors d'une intervention d'entretien, demandez l'utilisation exclusive de pièces détachées certifiées d'origine.

- Pour en savoir plus sur tous les produits de la marque :
informations, conseils, les points d'EVENTE, les spécialistes après-vente.
- Pour communiquer :
Nous sommes à l'écoute de toutes vos remarques, suggestions, propositions auxquelles nous vous répondrons personnellement.
Vous pouvez nous écrire:
Service consommateurs SAUTER BP 9526
ou nous téléphoner au :

Tarif en vigueur à la date d'impression du document.
Notice Facile