SHG 86 BF1 - Hotte SAUTER - Notice d'utilisation et mode d'emploi gratuit
Retrouvez gratuitement la notice de l'appareil SHG 86 BF1 SAUTER au format PDF.
| Type de produit | Hotte aspirante |
| Caractéristiques techniques principales | Hotte murale, extraction ou recyclage, classe énergétique A |
| Alimentation électrique | 230 V, 50 Hz |
| Dimensions approximatives | Largeur : 86 cm, Profondeur : 50 cm, Hauteur : 60 cm |
| Poids | Environ 15 kg |
| Compatibilités | Compatible avec les cuisines de 90 cm de large |
| Type de filtre | Filtre à charbon et filtre à graisse |
| Tension | 230 V |
| Puissance | Max 300 W |
| Fonctions principales | Éclairage LED, plusieurs niveaux de puissance d'aspiration |
| Entretien et nettoyage | Filtres lavables au lave-vaisselle, nettoyage régulier de la surface |
| Pièces détachées et réparabilité | Disponibilité des filtres et pièces de rechange via le service après-vente |
| Sécurité | Protection contre les surcharges, conforme aux normes de sécurité électrique |
| Informations générales utiles | Installation recommandée par un professionnel pour garantir la sécurité et l'efficacité |
FOIRE AUX QUESTIONS - SHG 86 BF1 SAUTER
Questions des utilisateurs sur SHG 86 BF1 SAUTER
0 question sur cet appareil. Repondez a celles que vous connaissez ou posez la votre.
Poser une nouvelle question sur cet appareil
Téléchargez la notice de votre Hotte au format PDF gratuitement ! Retrouvez votre notice SHG 86 BF1 - SAUTER et reprennez votre appareil électronique en main. Sur cette page sont publiés tous les documents nécessaires à l'utilisation de votre appareil SHG 86 BF1 de la marque SAUTER.
MODE D'EMPLOI SHG 86 BF1 SAUTER
Vous venez d'acquerir une hotte SAUTER et nous vous en remercions.
C'est pour vous que nous avons conçu cette nouvelle génération d'appareils pour vous permettre jour après jour d'exercer sans retenue vos talents de chef et votre créativité, pour vous faire plaisir et faire plaisir à vos amis et votre famille.
Votre nouvelle hotte SAUTER s'intègrera harmonieusement dans votre cuisine et alliera parfaitement facilité d'utilisation et performances d'aspiration.
Vous trouvrez également dans la gamme des produits SAUTER, un vaste choix de jours, de jours à micro-ondes, de tables de cuisson, de lave-vaiselle, et de réfrigerateurs intégrables, que vous pourrez coordonnner à votre nouvelle hotte SAUTER.
Bien entendu, dans un souci permanent de satisfaire le最好的 possible vos exigences vis à vis de nos produits, notre service consommateurs est à votre disposition et à votre écoute pour répondre à toutes vos questions ou suggestions (coordonnées à la fin de ce livre).
Et connectez-vous aussi sur notre site www.sauter-electromager.com où vous trouverez nos dernières innovations ainsi que des informations utiles et complémentaires.
SAUTER Nous cuisinons si bien Ensemble
Dans le souci d'une amélioration constante de nos produits, nous nous réservons le droit d'apporter à leurs caractéristiques techniques, fonctionnelles ou esthétiques toutes modifications liées à leur évolution.
Important : Avant de mesure votre apparéil en marche, veuilles lire attentivement ce guide d'installation et d'utilisation afin de vous familiariser plusrapidement avec son fonctionnement.
1 / A L'ATTENTION DE L'UTILISATEUR
- Consignes de sécurité 03
- Respect de l'environnement 04
Description de votre apparéil 05
2 / INSTALLATION DE VOTRE APPAREIL
- Utilisation en version évacuation 06
- Utilisation en version recyclage 06
Raccordementélectrique 07
Montage de la hotte 08
Recyclage 08
Evacuation extérieure 09
3 / UTILISATION DE VOTRE APPAREIL
Description des commandes 11
4 / ENTRETIEN ET NETTOYAGE DE VOTRE APPAREIL
Nettoyage des filtres àGRAISSSE 12
Changement du filtre charbon 12
- Nettoyage et entretien de la carrosserie 13
Changement de lampe 13
Démontage de l'appareil 14
- Entretenir votre apparéil 15
5/ANOMALIES DE FONCTIONNEMENT 16
6 / SERVICE APRES-VENTE
Interventions 17
- Relations consommateurs 17
Important
Conservez cette notice d'utilisation avec votre apparéil. Si l' apparéil devait être vendu ou cédé à une autre personne, assurez-vous que la notice d'utilisation l'accompagne. Merci de prendre connaissance de ces conseils avant d'instructor et d'utiliser votre apparéil. Ils ont été rédigés pour leur sécurité et celle d'autrui.
- CONSIGNES DE SECURITÉ
- Cet apparéil a été concu pour être utilisé par des particuliers dans leur lieu d'habitation.
- Cet apparéil doit être utilisé par des femmes. Veillez à ce que les enfants n'y touchent pas et ne l'utilisent pas comme un jouet. Assurez-vous qu'ils ne manipulent pas les commandes de l' apparéil.
- A la réception de l'appareil, déballez-le ou faites le déballer immidiatement. Vérifiez son aspect général. Faites les éventuelles réserves par écrit sur le bon de livraison dont vous gardez un exemplaire.
- Notre apparéil est destiné à un usage domestique normal. Ne l'utilise pas à des fins commerciales ou industrielles ou pour d'autres buts que celui pour lequel il a été consu.
- Ne modifies pas ou n'essayer pas de modifier les caractéristiques de cet apparéil. Cela représentait un danger pour vous.
- Les réparations doivent être exclusivement effectuees par un spécialiste agreé.
- Débranchetzousjoursla hotteavant deproceder àsonnettoyageouàsonentretien.
- Aérez convenablement la piece en cas de fonctionnement simultané de la hotte et d'autres appareils alimentés par une source d'énergie différente de l'énergie électrique. Ceci afin que la hotte n'aspire pas les gaz de combustion.
- Il est interdit de flamber des mets ou de faire fonctionner des foyers gaz sans recipients de cuisson, au dessous de la hotte (les flammes aspirées risqueraient de détériorer l'appareil).
- Les fritures effectues sous l'appareil doivent faire l'objet d'une surveillance constante.
Les huiles et graisses portées à très haute température peuvent prendre feu. -
Respectez la fréquence de nettoyage et de remplacement des filtres. L'accumulation de dépôts deGRAISSERISQUE d'occasionner un incendie.
-
Le fonctionnement au dessus d'un foyer à combustible (bois, charbon...) n'est pas autorisé.
- N'utilisez jamais d'appareils à vapeur ou à haute pression pour nettoyer votre apparéil (exigences relatives à la sécurité électrique).
- Dans le souci d'une amélioration constante de nos produits, nous nous réservons le droit d'apporter à leurs caractéristiques techniques, fonctionnelles ou esthétiques toutes modifications de leurs caractéristiques liées à l'évolution technique.
- Afin de retrouver aisément à l'venir les références de votre appareil, nous vous conseillons de les notes en page "Service Àpre-S-Vente et Relations Consommateurs". (Cette page vous explique également où les trouver sur votre appareil).
- Suivre impératifement les instructions de cette notice. Le constructeur décline toute responsabilité pour tous les inconvenients, dommages ou incendies provoqués à l'appareil et dûs à la non observation des instructions de la présente notice.
Attention Dans le cas
Dans le cas d'une cuisine chauffée avec un apparéil raccordé à une cheminée (ex : poèle), il faut installer la hotte en version recyclage. Ne pas utiliser la hotte sans les filtres àGRAISSE.
Une ventilation convenable de la pierce doit etre prévue lorsqu'une hotte de cuisine est utilisée simultanément avec des appeareils utilisants du gaz ou un autre combustible.
- RESPECT DE L'ENVIRONNEMENT
- Les matériaux d'emballage de cet apparéil sont recyclables. Participez à leur recyclage et contribuez ainsi à la protection de l'environnement en les déposant dans les conteneurs municipaux prévus à cet effet.
-
Notre apparéil contient également de nombreux matériaux recyclables. Il est donc marqué de ce logo afin de vous indiquer que les apparéils usages ne doivent pas être mélangés avec d'autres déchets. Le recyclage des apparéils qu'organise votre fabricant sera ainsi réalisé dans les更好地 conditions, conformément à la directive européen 2002/96/CE sur les déchets d'équipements électriques et électroniques. Adressez vous à votre mairie ou à votre revendeur pour connaître les points de collecte des apparéils usages les plus proches de votre domicile.
-
Nous vous remercions pour votre collaboration à la protection de l'environnement.

Attention
L'installation est réservée aux installateurs et techniciens qualifiés.

Attention
Avant la première utilisation du filtré àGRAISE, retirez le film de protection.
DESCRIPTION DE VOTRE APPAREIL

- L'appareil doit être débranché pendant l'installation ou dans l'eventualité d'une intervention.
- Vérifiez que la tension du réseau correspond à la tension mentionnée sur la plaque signalétique située à l'intérieur de la hotte.
- Si l'installation électrique de votre habitation nécessite une modification pour le branchement de votre apparéil, faites appel à un électricien qualifié.
- Si la hotte est utilisée en version évacuation, ne raccordez pas l'appareil à un conduit d'évacuation de fumées de combustion (chaudière, cheminée, etc...) ou à une VMC (ventilation mécanique contrôle).
- Le conduit d'évacuation, quel qu'il soit ne doit pas déboucher dans les combles.
- Installez la hotte à une distance de sécurité d'au moins 65 cm d'un plan de cuisson.
L'appareil peut être utilisé soit en version à évacuation extérieure soit en version à recyclage.
L'appareil est livré pour fonctionner en recyclage, les filtres à charbon actif sont montés d'origine (Option Ref. SHK25AF1 pour les modèles SHG86, SHG88, SHG89; option Ref. SHK57AF1 pour le modele SHG879).
- UTILISATION EN VERSION EVACUATION
Vous possedez une sortie vers l'extérieur (fig. 1)
Votre hotte peut etre raccordee sur celle-ci par l'intémedaire d'une gaine d'évacuation (minimum 125mm, émailée, en alu, flexible ou en matière inflammable).
Votre hotte étant livree en version recyclage, vous devez prealablement retarder le/les fentre/s a charbon actifs.
- UTILISATION EN VERSION RECYCLAGE
Vous ne possedez pas de sortie vers l'extérieur (fig. 2)
Tous nos apparèils ont la possibilité de fonctionner en mode recyclage.
L'air et les vapeurs entrainés par l'appareil sont purifiés par les filtres à charbon, puis ensuite remis en circulation dans le volume de la pierce.


RACCORDEMENT ELECTRIQUE
Lors de l'installation et des opérations d'entretien, l'appareil doit être débranché du réseau électricque, les fusibles doivent être coupés ou retires.
Le raccordement électrique est à réaliser avant la mise en place de l'appareil dans le meuble.
Vérifiez que:
- la puissance de l'installation est suffisante,
- les lignes d'alimentation sont en bon état
- le diamètre des fils est conforme aux règles d'installation.

Attention
Si l'installation électrique de votre habitation nécessite une modification pour le branchement de votre apparéil, faites appel à unElectricien qualifié.

Attention
Si la hotte presente unequelconque anomalie, debranchez l'appareil ou enlevez le fusible correspondant à la ligne de branchement de l'appareil.
ModèleshSG88,SHG89,SHG879:

Attention
Cet appeareil doit etre relié à la terre.
Notre responsabilité ne saurait estre engagee en cas d'accident consecutif a une mise à la terre inexistante ou incorrente.
Si vous appeareil, n'a pas de cable flexible qui ne peut pas etre séparé ni de prise, ou bien d'autre dispositif qui garantisse le débranchement de tous les pôles du réseau, avec une distance d'ouverture entre les contacts d'au moins 3 mm, ces dispositifs de séparation du réseau doivent alors être prévus dans l'installation fixe.
Cet apparéil est livré avec un cable d'alimentation H 05 VVF à 3 conducteurs de 0,75 mm² (neutre, phase et terre). Il doit être branché sur réseau 230-240 V monophasé par l'intémediaire d'une prise de courant normalisée CEI 60083 qui doit rester accessible après installation, conformément aux règles d'installation.
Si le cable d'alimentation est endommagé, faites appel au service après-vente afin d'eviter un danger.
Modèle SHG86:

Attention
Cet apparéil est construit de façon a appartenir à la classe d'isolement II; il ne doit donc pas être relié à la terre.
Si vous appeareil, n'a pas de cable flexible qui ne peut pas etre séparé ni de prise, ou bien d'autre dispositif qui garantisse le débranchement de tous les pôles du réseau, avec une distance d'ouverture entre les contacts d'au moins 3 mm, ces dispositifs de séparation du réseau doivent alors être prévus dans l'installation fixe.
Cet apparéil est livré avec un cable d'alimentation H 05 VVF à 2 conducteurs de 0,75 mm² (neutre et phase). Il doit être branché sur réseau 230-240 V monophasé par l'intermédiaire d'une prise de courant normalisée CEI 60083 qui doit rester accessible après installation, conformément aux règles d'installation.
Si le cable d'alimentation est endommagé, faites appel au service après-vente afin d'éviter un danger.
MONTAGE DE LA HOTTE
Attention
L'installation doit être conforme aux règlements en vigueur pour la ventilation des locaux. En France, ces règlements sont indiqués dans le DTU 61.1 du CSTB. En particulier, l'air evacué ne doit pas être envoyé dans un conduit utilisé pour evacuer les fumées d'appareils utilisant du gaz ou autre combustible. L'utilisation de conduits désaffectés ne peut se faire qu'àpres accord d'un spécialiste compétent.
La distance minimum entre la surface de support des casseroles sur le plan de cuisson et la partie inférieure de la hotte doit être de 650 mm. Si les consignes, pour l'installation du plan de cuisson, indiquent une plus grande distance, il faut en tener compte.
Recyclage
- Demontez les filtres àGRAisse: tirez la poignee vers l'extérieur et tournez le filtre vers le bas (Fig.3).
- Seulement pour les modèles SHG86-SHG88-SHG89: démonze l'encadrement en déplaçant les deux blocage lateraux C (Fig. 4).
- Sous votre meuble de rangement, faites le trou necessaire afin d'insérer l'appareil (Fig.5). La base inférieure du meuble doit avoir une épaisseur comprise entre 15 et 18 mm.
Contrôler que les ailettes de fixation (Fig. 6) au meuble suspendu sont placées à une hauteur appropriée à l'épaissur du bas de ce dernier. Si cette distance est inférieure à l'épaissur, il faut l'augmenter en dévissant les 2 vis correspondantes à l'intérieur de l'appareil.
- Prévoyez l'alimentation électrique après de l'appareil.
- Prévoyez le trou d'évacuation de l'air au sommet de votre placard (Fig.7).
- Inserez l'appareil dans le trou perçu.
- MONTAGE DES MODELES SHG86-SHG88-SHG89 (Fig. 8): fixez l'appareil au meuble au moyen des 4 vis d'assemblage.
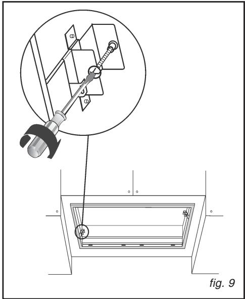
- MONTAGE DU MODELE SHG879 (Fig.9): serrez les deux vis situées à l'intérieur de l'appareil jusqu'à ce que l'appareil adhérite au fond de l'élement haut. Eviter de visser trop fort les deux vis de




manière à ce que les petits étriers métalliques restent en position correcte.
-Raccordez u tuyau de raccordement à la bride de sortie de l'appareil, selon la hauteur nécessaire pour rejoindre le sommet du placard (ce tuyau n'est pas fourni).
- Remontez l'encadrement et les filtres àGRAisse.
- Faites le raccordement électrique.

fig. 7

Evacuation extérieure
- Demontez les filtres àGRAisse: tirez la poignee vers l'extérieur et tournez le filtre vers le bas (Fig.3).
- Seulement pour les modèles SHG86-SHG88-SHG89: démonze l'encadrement en déplacant les deux blocage lateraux C (Fig. 4).
- Sous votre meuble de rangement, faites le trou necessaire afin d'insérer l'appareil (Fig.5). La base inférieure du meuble doit avoir une épaisseur comprise entre 15 et 18 mm.
Contrôler que les ailettes de fixation (Fig. 6) au meuble suspendu sont placées à une hauteur appropriée à l'épaisseur du bas de ce dernier. Si cette distance est inférieure à l'épaisseur, il faut l'augmenter en dévissant les 2 vis correspondantes à l'intérieur de l'appareil.
- Prévoyez l'alimentation électrique après de l'appareil.
- Inserez l'appareil dans le trou percé.
- MONTAGE DES MODELES SHG86-SHG88-SHG89 (Fig. 8): fixez l'appareil au meuble au moyen des 4 vis d'assemblage.

- MONTAGE DU MODELE SHG879 (Fig.9): serrez les deux vis situées à l'intérieur de l'appareil jusqu'à ce que l'appareil adhéra au fond del'élement haut. Eviter de visser trop fort les deux vis de manière à ce que les petits étriers métalliques restent en position correcte.
- Raccordez le tuyau pour l'évacuation de l'air à la bride de sortie de l'air de la hotte (Fig. 10): utilisez un tuyau couple et bloquez le sur la sortie de l'air à l'aide d'un collier métallique (le tuyau et le collier ne sont pas fournis).
- Enlevez les fittings à charbon panneaux (F) et les arrêtes (M) qui se trouvent sur les fittings àGRAISSSE (Fig.11).
- Remontez l'encadrement et les filtres àGRAISE.
- Faites le raccordement électrique.

Clapet anti-retour
Dans le cas d'une installation en évacuation extérieure, l'installation du clapet anti-retour empêche l'entrée du vent et le retard d'air.
Attention: avant de fixer la gaine d'évacuation au moteur, s'assurer que le clapet anti-retour, qui se trouve sur la sortie d'air, puisse tournier librement.

Attention
Votte hotte etant livree en version recyclage, youe nevez prealablement retirer les filtres a charbon actifs.



Conseil
Pour une utilisation optimale de votre apparéil, nous vous conseillons le raccordement à une gaine diamètre 150 mm (non livrée). Limiter au maximum le nombre de coude et la longueur de la gaine. Dans le cas où la hotte fonctionne en évacuation extérieure, il convient d'assurer une arrivée d'air frais suffisante pour éviter demettre la piece en dépression.
DESCRIPTION DES COMMANDES
Modèles SHG86 et SHG88
"A" = Interrupteur d'éclairage: Position "0": lumière éteinte. Position "1": lumière allumée.
"B" = Interrupteur moteur: cet interrupteur augmente ou diminue la vitesse d'exercice du moteur par un variateur électronique.
C = Voyant indiquant le fonctionnement du moteur.
Modèles SHG89 et SHG879
"A": allume/éteint les voyants;
Alarme des filtres: toutes les 30 heures de fonctionnement le tímoin lumineux correspondant (S) s'allume pour signaler qu'il est nécessaire de nettoyer les filtres àGRAisse; toutes les 120 heures de fonctionnement, le tímoin lumineux correspondant (S) clignote pour signaler qu'il est nécessaire de nettoyer les filtres àGRAisse et replacer le filtré à charbon. Pour faire repartir le comptage des heures (RAZ),maintenir la pression sur la touche A pendant environ 1" (tandis que le tímoin S est en fonction).
"B": actionne le moteur à la 1ère vitesse (le

fig. 12

témoin lumineux correspondant s'allume); en appuyant une seconde fois sur la touche (tandis que le témoin lumineux est allumé), le TIMER est activé, par conséquent, 5' après le moteur s'arrête (le témoin lumineux clignote); pour éteindre le moteur, maintainir la pression pendant environ 1".
"C": actionne le moteur à la 2ème vitesse (le témoin lumineux correspondant s'allume); en appuyant une seconde fois sur la touche (tandis que le témoin lumineux est allumé), le TIMER est activé, par conséquent, 5' après le moteur s'arrête (le témoin lumineux clignote).
"D": actionne le moteur à la 3ème vitesse (le témoin lumineux correspondant s'allume); une seconde fois sur la touche (tandis que le témoin lumineux est allumé), le TIMER est activé, par conséquent, 5' après le moteur s'arrête (le témoin lumineux clignote).
"E": actionne le moteur à la 4ème vitesse (le témoin lumineux correspondant s'allume); en appuyant une seconde fois (tandis que le témoin lumineux est allumé), le TIMER est activé, par conséquent, 5' après le moteur s'arrête (le témoin lumineux clignote).
Attention
Debranche l'appareil avant de proceider à l'entretien et au nettoyage de l'appareil. Un entretien régulier de votre apparéil est une garantie de bon fonctionnement, de bon rendement et de durabilité.
Attention
Le non-respect des instructions de nettoyage de l'appareil et des filtres peut occasionner des incendies. Veuillez respecter strictement les consignes d'entretien.
- NETTOYAGE DES FILtres A GRAISSE
Il est important de veiller à nettoyer périodiquement les filtres àGRAisse.
Intervalle de nettoyage des filtres:
Modèles SHG86 - SHG88:
Les filtres àGRAISSENecessitant un entretien régulier et il faut donc les nettoyer périodiquement en moyenne tous les deux mois.
Modles SHG89 - SHG879:
Les filtres àGRAISSÉdoivent étre nettoyés environ toutes les 30 heures de fonctionnement (lorsque le témoin S de la touche éclairage s'allume).Une fois les filtres propres remontés, pour faire partir le comptage,maintenir la pression pendant environ 1" sur la touche éclairage A tandis que le témoin lumineux correspondant (S) est allumé.
Laver les filtres avec un nettoyant menager du commerce puis rincer abondamment et secher. Ce nettoyage peut etre effectue dans un lavevaisselle en prenant soin de ne pasmettre le filtrer en contact avec de la vaisse sale ou avec couverts en argent.
- Demontage des filtres àGRAISSE (fig.14)
Tirez la poignée vers l'extérieur et tournez le filtre vers le bas.
- CHANGEMENT DU FILTRE CHARBON
Modèles SHG86 - SHG88:
Remplacer les filtres à charbon en moyenne tous les six mois, selon l'utilisation.
Modèles SHG89 - SHG879:
Les filtres à charbon doivent être remplace environ toutes les 120 heures de fonctionnement (lorsque le témoin S de la touche éclairage s'allume). Pour faire partir le comptage, dévelopir la pression pendant environ 1" sur la touche éclairage A tandis

que le témoin lumineux correspondant (S) est allumé.
- Demontage du/des filtres à charbon (fig.15)
Pour enlever les filtres à charbon, il faut d'abord demonter les filtres antigraissse (Fig.14).Après, enlevez les arrêtes (M) et les filtres à charbon (F) -Fig.15.
Réf. filtres à charbon:
SHK25AF1 pour les modèles SHG86, SHG88, SHG89.
SHK57AF1 pour le modele SHG879.
- NETTOYAGE ET ENTRETIEN DE LA CARROSSEIRE
Pour le nettoyage de la carrosserie de l'appareil, éviter l'emploi de produits contenant des abrasifs.
CHANGEMENT DE LAMPE

Attention
Avant toute intervention, la hotte doit être mise hors tension, soit en retardant la prise, soit en actionnant le disjoncteur.
Modèle SHG86
Pour remplaner les ampoules, demonter les filtres àGRAISSSE (Fig.14); demonter aussi l'encadrement en déplacant les deux blocage lateraux C (Fig.16).
Enlever les ampoules et remplacez-les par des ampoules ayant les mêmes caractéristiques.
Modèles SHG88, SHG89 et SHG879
Pour remplacer les lampes alogènes, enlever le hublot (Fig. 17). Remplacez-les par des lampes halogènes ayant les mêmes caractéristiques.



- DEMONTAGE DE L'APPAREIL (seulement pour le modele SHG879)
Retirer les filtrres antigraissse (Fig.18).
Pendant les opérations suivantes veuillez toujours soutenir l'appareil.
Dévisser les deux vis situées à l'intérieur de l'appareil (Fig. 22); déplacer les 2 languettes vers l'intérieur de l'appareil en utilisant les entailles appropriées (Fig. 23); extraire l'appareil de son emplacement.



Attention
Avant toute intervention, la hotte doit etre mise hors tension, soit en retirant la prise, soit en actionnant le disjoncteur.
- ENTRETENIR VOTRE APPAREIL
| ENTRETIEN... | COMMENT PROCEDER ? | PRODUITS/ACCESSOIRES A UTILISER |
| Enveloppe et accessoires | N'utilisez jamais de tampons métalliques, de produits abrasifs ou de brosses trop dures. | Pour nettoyer la carrosserie et le hublot d'éclairage, utilisez exclusivement des nettoyants menagers du commerce dilués dans de l'eau, puis rincez à l'eau claire et essuyez avec un chiffon doux. |
| Filtre àGRAISSSE | Ce filtre retient les vapeurs grasses et les poussières. Il est l'élement assurant une part importante de l'efficacité de votre hotte. Dans le cas de taches persistantes, utilisez une crème non abrasive, puis rincez à l'eau claire. | Avec un nettoyant menager du commerce, puis rincez abondament et séchez. Ce nettoyage peut être effectué dans votre lave-vaisselle en position verticale (ne pasmettre en contact avec de la vaiselle sale ou des couverts en argent). |
| Filtre charbon actif | Ce filtre retient les odeurs et doit être changé au moins tous les six mois en fonction de votre utilisation. Commandez ces filtres chez votre revendeur (sous la référence indiquée sur la plaque signalétique située à l'intérieur de la Hotte) et notez la date de changement. |
Pour préserver votre appareil, nous vous recommendons d'utiliser les produits d'entretien Clearit.

L'expertise des professionnelles
au service des particuliers
Clearit you propose des produits professionnels et des solutions adaptées pour l'entretien quotidien de vos apparèils electroménagers et de vos cuisines.
Vou les trouvez en vente chez votre revendeur habitual, ainsi que toute une ligne de produits accessoires et consommables.
| SYMPTOMES | SOLUTIONS |
| La hotte ne fonctionne pas... | Vérifiéz que: • il n'y apas de coupure de courant. • une vitesse a été effectivement sélectionnée. |
| La hotte a un rendement insuffisant... | Vérifiéz que: • la vitesse moteur sélectionnée est suffisante pour la quantité de fumée et de vapeur dégagée. • la cuisine est suffisamment aérée pour permettre une prise d'air. • le filtré à charbon n'est pas usage (hotte en version recyclage). • les filtres à graisses sont propres. |
| La hotte s'est arrêtée au cours du fonctionnement | Vérifiéz que: • il n'y a pas de coupure de courant. • le dispositif à coupure omnipolaire ne s'est pas enclenché. |
INTERVENTIONS
Les événuelles interventions sur votre apparéil doivent être effectuées par un professionnel quélifiedé dépositaire de la marque. Lors de votre appel, mentionné la référence complète de votre apparéil (modèle, type, numéro de série). Ces renseignements figurent sur la plaque signalétique (fig. 20).

PIÉCES D'ORIGINE
Lors d'une intervention d'entretien, demandez l'utilisation exclusive de pieces detacheses certifiées d'origine.

- Pour en savoir plus sur tous les produits de la marque :
informations, consels, les points d'EVENTE, les spécialistes après-vente.
- Pour communiquer :
nous sommes à l'écoute de toutes vos remarques, suggestions, propositions aux quelles nous vous répondrons personnellement.
Vous pouvez nous écrire:
Service Consommateurs SAUTER BP 9526
95069 CERGY PONTOISE CEDEX
ou nous téléphoner au:

Tarif en vigueur à la date d'impression du document.
Notice Facile