PDK-TS06 - Accessoire audio PIONEER - Notice d'utilisation et mode d'emploi gratuit
Retrouvez gratuitement la notice de l'appareil PDK-TS06 PIONEER au format PDF.
| Type d'appareil | Support de couverture de table |
| Utilisation | Support d'écran ou platine |
| Matériau | Non précisé |
| Couleur | Non précisé |
| Dimensions | Non précisé |
| Poids | Non précisé |
| Capacité de charge | Non précisé |
| Compatibilité | Appareils de table standards |
| Installation | Sur table |
| Mobilité | Fixe |
| Accessoires inclus | Non précisé |
| Marque | Non précisé |
| Modèle | Non précisé |
| Garantie | Non précisé |
| Poids supporté | Non précisé |
| Usage recommandé | Usage domestique ou professionnel |
FOIRE AUX QUESTIONS - PDK-TS06 PIONEER
Questions des utilisateurs sur PDK-TS06 PIONEER
0 question sur cet appareil. Repondez a celles que vous connaissez ou posez la votre.
Poser une nouvelle question sur cet appareil
Téléchargez la notice de votre Accessoire audio au format PDF gratuitement ! Retrouvez votre notice PDK-TS06 - PIONEER et reprennez votre appareil électronique en main. Sur cette page sont publiés tous les documents nécessaires à l'utilisation de votre appareil PDK-TS06 de la marque PIONEER.
MODE D'EMPLOI PDK-TS06 PIONEER
Support de couverture de table
PDK-TS06
取掇說明書
Nos you remercions d'avoir acheté le support d'affichage plasma PDK-TSO6.
Avant d'utiliser ce produit, veuillez lore attentivement ces instructions d'utilisation de maniere à pouvoir utiliser toutes les fonctionnalités de ce produit.
Après lecture, conserver ces instructions d'utilisation dans un endroit facilement accessible de manière à pouvoir vous y reférer à chaque fois que vous rencontres un problème dans l'utilisation de ce produit.
- TCe support d'affichage plasma est concu spécialément pour être utilisé avec les affichages plasma 61 pouces PIONEER (PDP-614MX).
Remarques sur l'installation:
Ce produit est vendu en assumant qu'il sera installé par un personnel suffisamment experimenté et qualifié. Faites toujours réalisier le montage et l'installation par un spécialiste ou par votre revendeur.
PIONEER ne peut être tenu responsable pour tout dommage causé par une erreur d'installation ou de montage, une mauvaise utilisation ou un désastre naturel.
Attention : Agents de vente et techniciens
Pour assurer la sécurité de l'utilisateur, assurez-vous de désirir un endroit suffisamment solide pour supporter le poids de l'écran à plasma et les différentes unités.
L'installation doit être effectuee par au moins trois personnes.
Assurez-vous de ne pas perdre les vis retirees, etc.

Pèces incluses
\section*{Caracteristiques techniques}
Modèle : PDK-TSO6
Dimensions externes : (L) 1125 x (H) 207,4 x (P) 440 mm
(L) 44,3 × (H) 8,2 × (P) 17,3 pouces
Poids:8,8kg
19,4 livres
Conditions d'utilisation : Température entre 0^ et 40^ / 32^ et 104^ Humidité entre 20% et 80%
Conditions de stockage : Température entre -10°C et 50°C / 14°F et 122°F Humidité entre 10% et 90%
Avant l'utilisation…
Symboles
Différents symboles sont utilisés dans ce manuel d'installation pour permettre une utilisation sûre et correcte du produit ainsi que pour éviter toute blessure ou dégât sur les personnes ou les objets. Ces symboles et leur signification sont décrits ci-dessous. Prière de s'assurer de bien comprendre ces éléments avant de dire le restedu manuel.
ATTENTION

Le fait d'ignorer cette indication et une mauvaise manipulation peuvent etre la cause de blessures personnelles telles que des blessures serieuses ou la mort.
PRECAUTIONS A PRENDRE

Le fait d'ignorer cette indication et une mauvaise manipulation peuvent être la cause de blessures à des individus ou de dégats sur les objets situés aux alentours.
Examples de Symboles

Ce symbole informe qu'il y a des éléments qui demandent de faire attention (y compris des averissements).
Les détails concret de l'attention sont écrites dans le schéma.

Ce symbole indique un élément interdit.
Les détails concret de l'interdiction sont écrites dans le schéma.

Ce symbole indique qu'il faut faire quelque chose.
Les détails concret de l'interdiction sont écrites dans le schéma.

ATTENTION

- S'assurer de faire installer l'écran à plasma par le magasin où il a été acheté dans le respect des instructions de ce manuel.
En cas de mauvaise installation, l'écran à plasma pourrait se renverser et cause des blessures.

- Pour assurer la sécurité, serrer les boulons et les vis fermement.
Sinon, l'écran à plasma pourrait se renverser et cause des blessures.

- Ne pas modifier les pieces.
Sinon, l'écran à plasma pourrait se renverser et cause des blessures.

- Ne pas utiliser de pieces endommagées. Sinon, l'écran à plasma pourrait se renverser et cause des blessures.
Si une pièce est endommager, contacter le magasin où elle a été achetée.

- Chaque unité est concue spécialement pour être utilisée avec les affichages plasma 61 pouces PIONEER (PDP
614MX). Veuillez ne pas monter d'autre équipement avec ces éléments. Cela pourrait entrainer la chute de l'élément
et causer des blessures.

- Ne pas monter sur des supports qui bougent, des surfaces inclinées ou d'autres endroits instables. Cela pourrait
entraîner le renversement de l'affichage plasma ou sa chute et ainsi cause des blessures. Ne pas installer dans un vehicule non plus.

PRECAUTIONS

- N'obstruez pas les orifices de ventilation de l'écran à plasma.
Si les orifices de ventilation sont couverts, la chaleur s'accumulera à l'intérieur, et l'appareil pourrait prendre feu. Par exemple, n'installez pas l'écran à plasma dans des endroits étroits où la ventilation est faible, ne placez pas de couvertures dessus, etc.

- N'installez pas l'écran à plasma près des sorties d'air d'un climatiseur ou à des endroits où il y a de fortes vibrations. Cela pourrait cause un incendie ou un choc électrique.

- N'installez pas l'écran à plasma dans des endroits humides ou poussiéaux ou des endroits exposés à la suite ou à de la vapeur ( comme dans les cuisines, pres d'humidificateurs, etc.). Cela pourrait cause un incendie.
N'installez pas l'écran à plasma dehors. Cela pourrait cause un incendie ou un choc électrique.

- Lors de l'installation de l'écran à plasma, laissez suffisamment d'espace tout autour, comme cela est indiqué sur le schéma.
Sinon, de la chaleur pourrait s'accumuler à l'intérieur et l'appareil pourrait prendre feu.


- Tenez fermement l'écran à plasma lorsque vous montez les unités dessus. Sinon, l'écran à plasma pourrait tomber et cause des blessures.

- Lors de l'installation de l'écran à plasma sur un support à roulettes, assurez-vous de bloquer les roulettes. Si le support bougeait, l'écran à plasma pourrait tomber et cause des blessures.

- L'écran à plasma est lourd. Assurez-vous donc de l'installer à un endroit stable et prenez les mesures nécessaires pour l'empêcher de se renverser et de cause des blessures.
Le centre de gravité de l'écran à plasma est haut. L'écran à plasma doit être déballé et déplace par au moins trois personnes, le tenant en haut et en bas. Sinon, l'écran à plasma pourrait tomber et cause des blessures.
REMARQUES
Evitez les pièces poussièreuses ou humides et les pièces remplies de suie ou de fumée de cigarette.
L'écran à plasma pourrait se salir ce qui entraînerait une mauvaise qualité d'image.
Evitez les endroits où l'écran est exposé à la lumière directe du soleil ou à une forte lumière artificielle.
Si la luziere alentour se reflète sur l'écran, l'écran apparaitra blanc et sera difficile à voir.
N'installez pas l'écran dans des endroits où la température est élevé ou faible.
Cela pourrait l'endommager.
Mesures de prévention de chute supplémentaires
- Utiliser soit l'attache de prévention de basculement fournie avec l'affichage pour fixer l'affichage plasma à un mur, un pilier ou un autre endroit solide, ou utiliser les trouss à l'arrête du support pour fixer à une table, etc.. (Ne pas utiliser avec l'unité de montage mural vendue séparément.)
- Faire attention à la corde lorsqu'you déplacez l'affichage plasma.
- Les vis de fixation de l'affichage à un mur, un pilier ou un support, ne sont pas fournies. Veuillez vous procurer des vis adaptées à la surface sur laquelle l'affichage doit être monté.

Préparations•••Déballer l'affichage plasma.
-
Ouvrir le haut du carton dans lequel l'affichage plasma est emballe etsterol les trois pieces de polystyrene.
-
Retirer le carton par le haut et ouvrir la feuille de protection.
ATTENTION:
Installer l'écran plasma rapidement après l'avoir déballé. S'il est abandonné sans être installé, il pourrait tomber et se casser.


- Ouvrir l'emballage etsteroler le carton et les accessoires(vis et instructions de manipulation).

- Retirer la barre etrirer les boites d'absorption des chocs par les deux cotses.

- Retirer les deux boîtes contenant les pieds et les placer à l'envers.


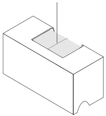
- Soulever la feuille de protection couvrant le pied, en commencer par la ligne perforée au centre pour découvertir la surface de montage.
Ligne perforée


- Retirer la protection de la barre retiree a l'etape 2, inserer la narre dans les goupilles guides, et serrer avec les vis d'assemblage de support fournies.
ATTENTION :
Serrer fermement les vis.
Sinon, le moniteur pourrait se
renverser etcause des blessures.

- Saisir les deux boîtes contenant les pieds et les renverser de nouveau.

- Soulever la section se trouvant entre la fente, la retirer puis la rabattre.

- Sur le côte de la barre, après avoir retire la section de la fente, plier comme indiqué sur le schéma puis rabattre.

- Rabattre l'avant et l'arrière de la boîte et retirer le support. Retirer la protection du pied.


Montage de l'affichage plasma sur le support
1. Insérer l'affichage plasma dans le support.
Vérifier que le support et l'affichage plasma sont dans la bonne direction, puis insérer l'affichage plasma dans le support.
Cette procédure doit être complie par au moins trois personnes, car l'affichage plasma est lourd et son centre de gravité est haut. Tenir par la base et les poignées à l'arrière de l'affichage plasma et soutenir le haut pendant l'insertion de l'affichage plasma dans le support.
Tenir les deux côtes de l'affichage plasma et le soulever, puis placer l'affichage plasma dans le support de manière à ce que les trous situés à l'arrière de l'affichage s'engagent dans le support.


2. Visser l'affichage plasma et le support.
Tirer la partie supérieure de l'écran à plasma vers soi, insérer en même temps les quatre vis fournies pour le montage de l'écran dans les trous situés dans le support puis les serrer.


ATTENTION:
Visser les vis immédiatement après avoir placé l'affichage dans le stand.
Sinon, l'affichage pourrait se renverser et cause des blessures.
Notice Facile