EGG3322 - Plaque de cuisson AEG-ELECTROLUX - Notice d'utilisation et mode d'emploi gratuit
Retrouvez gratuitement la notice de l'appareil EGG3322 AEG-ELECTROLUX au format PDF.
| Type d'appareil | Table de cuisson |
| Nombre de foyers | 4 |
| Type de foyer | Électrique |
| Commande | Manuelle |
| Matériau de la surface | Verre céramique |
| Dimensions (L x P) | Non précisé |
| Puissance totale | Non précisé |
| Sécurité | Arrêt automatique |
| Indicateur de chaleur résiduelle | Oui |
| Couleur | Noir |
| Installation | Encastrable |
| Type d'alimentation | Électrique |
| Fonction booster | Non précisé |
| Type de contrôle | Manettes rotatives |
| Garantie | Non précisé |
FOIRE AUX QUESTIONS - EGG3322 AEG-ELECTROLUX
Téléchargez la notice de votre Plaque de cuisson au format PDF gratuitement ! Retrouvez votre notice EGG3322 - AEG-ELECTROLUX et reprennez votre appareil électronique en main. Sur cette page sont publiés tous les documents nécessaires à l'utilisation de votre appareil EGG3322 de la marque AEG-ELECTROLUX.
MODE D'EMPLOI EGG3322 AEG-ELECTROLUX
Merci d'avoir choisi ce produit Electrolux. Avec ce produit, vous bénéficiez de dizaines d'années d'expérience professionnelle et d'innovation. Ingénieux et élégant, il a été conçu sur mesure pour vous. Grâce à cet appareil, vous savez que chaque utilisation vous apportera satisfaction.
Bienvenue chez Electrolux.
Visitez notre site Internet pour :

Obtenir des conseils d'utilisation, des brochures, de l'aide, des informations : www.electrolux.com

Enregistrer votre produit pour obtenir un meilleur service : www.electrolux.com/productregistration

Acheter des accessoires, consommables et pièces de rechange d'origine pour votre appareil : www.electrolux.com/shop
Service apres-vente
N'utilisez que des pièces de rechange d'origine.
Avant de contacter le service, assurez-vous de disposer des informations suivantes : Vous trouverez ces informations sur la plaque signalétique. Modèle, PNC, numéro de série.

Avertissement/Attention : consignes de sécurité. Informations générales et conseils Informations écologiques
Sous réserve de modifications.
1. Consignes de sécurité
Avant d'installer et d'utiliser cet appareil, lisez soigneusement les instructions fournies. Le fabricant ne peut être tenu pour responsable des dommages et blessures liés à une mauvaise installation ou utilisation. Conservez cette notice avec votre appareil pour vous y référer ultérieurement.

Avertissement
Risque d'asphyxie, de blessure ou d'invalidité permanente.
- Cet appareil peut être utilisé par des enfants de plus de 8 ans, ainsi que des personnes dont les capacités physiques, sensorielles et mentales sont réduites ou dont les connaissances et l'expérience sont insuffisantes, à condition d’être surveillés par une personne responsable de leur sécurité.
- Ne laissez pas les enfants jouer avec l'appareil.
- Ne laissez pas les emballages à la portée des enfants.
- Tenez les enfants et les animaux éloignés de l'appareil lorsqu'il est en cours de fonctionnement ou lorsqu'il refroidit. Les parties accessibles sont chaudes.
- Si l'appareil est équipé d'un dispositif de sécurité enfants, nous vous recommandons de l'activer.
- Les enfants ne doivent pas nettoyer ni entreprendre une opération de maintenance sur l'appareil sans surveillance.
1.2 Sécurité générale
- L'appareil et ses parties accessibles deviennent chauds pendant son fonctionnement. Ne touche pas les éléments chauffants.
- Ne faites pas fonctionner l'appareil avec un minuteur externe ou un système de commande à distance.
- Il peut être dangereux de laisser chauffer de la graisse ou de l'huile sans surveillance sur une table de cuisson car cela pourrait provoquer un incendie.
- N'essayez jamais d'éteindre un feu avec de l'eau. Mettez à l'arrêt l'appareil puis couvrez les flammes, par exemple avec un couvercle ou une couverture ignifuge.
- N'entreposez rien sur les surfaces de cuisson.
- N'utilisez pas de nettoyeur vapeur pour nettoyer l'appareil.
- Ne posez pas d'objets métalliques tels que couteaux, fourchettes, cuillères ou couvercles sur la table de cuisson car ils pourraient chauffer.
2. Instructions de sécurité
Cet appareil est adapté aux marchés
suivants : EE FI FR TW

Avertissement
L'appareil doit être installé uniquement par un professionnel qualifié.
- Retirez l'intégralité de l'emballage.
- N'installez pas et ne branchez pas un appareil endommagé.
- Suivez scrupuleusement les instructions d'installation fournies avec l'appareil.
- Respectez la distance minimale requise avec les autres appareils et éléments.
- Soyez toujours vigilants lorsque vous déplacez l'appareil car il est lourd. Portez toujours des gants de sécurité.
- Isolez les surfaces découpées à l'aide d'un matériel d'étanchéité pour éviter que la moisissure ne provoque des gonflements.
- Protégez la partie inférieure de l'appareil de la vapeur et de l'humidité. N'installez pas l'appareil près d'une porte ou sous une fenêtre. Les réci
piquets chauds risqueraient de tomber de l'appareil lors de l'ouverture de celles-ci.
- Si l'appareil est installé au-dessus de tiroirs, assurez-vous qu'il y a suffisamment d'espace entre le fond de l'appareil et le tiroir supérieur pour que l'air puisse circuler.
- Le dessous de l'appareil peut être très chaud. Nous vous recommandons d'installer un panneau de séparation ignifuge sous l'appareil pour en bloquer l'accès.

Avertissement
Risque d'incendie ou d'électrocution.
L'ensemble des branchements électriques doit être effectué par un technicien qualifié. L'appareil doit être relié à la terre. - Avant toute intervention, assurez-vous que l'appareil est débranché. Utilisez le cable d'alimentation électrique approprié.
- Ne laissez pas le câble d'alimentation s'emmêler. Assurez-vous que le câble d'alimentation ou la fiche (si présente) n'entrent pas en contact avec les surfaces brûlantes de l'appareil ou les récipients brûlants lorsque vous branchez l'appareil à des prises électriques situées à proximité. Assurez-vous que l'appareil est bien installé. Un câble d'alimentation lâche et inapproprié ou une fiche (si présente) non serrée peuvent être à l'origine d'une surchauffe des bornes. Assurez-vous qu'une protection antiélectrocution est installée.
- Utilisez un collier anti-traction sur le câble.
- Veillez à ne pas endommager la fiche secteur (si présente) ni le câble d'alimentation. Contactez le service après-vente ou un électricien pour remplacer le câble d'alimentation s'il est endommagé. L'installation électrique doit être équipée d'un dispositif d'isolement à coupure omnipolaire. Le dispositif d'isolement doit présenter une distance d'ouverture des contacts d'au moins 3 mm.
- N'utilise que des systèmes d'isolement appropriés : des coupe-circuits, des fusibles (les fusibles à visser doivent être reliés du support), un disjoncteur différentiel et des contacteurs.
Raccordement au gaz
- Tous les raccordements au gaz doivent être effectués par une personne qualifiée. Assurez-vous que l'air circule autour de l'appareil.
- Les informations concernant l'alimentation en gaz se trouvent sur la plaque signalétique.
- Cet appareil n'est pas raccordé à un dispositif d'évacuation des produits de combustion. Assurez-vous de brancher l'appareil selon les réglementations d'installation en vigueur. Veillez à respecter les exigences en matière d'aération.

Avertissement
Risque de blessures, de brûlures ou d'électrocution.
Utilisez cet appareil dans un environnement domestique. - Ne modifiez pas les caractéristiques de cet appareil. - Ne laissez jamais l'appareil sans surveillance pendant son fonctionnement. N'utilisez jamais cet appareil avec les mains mouillées ou lorsqu'il est en contact avec de l'eau. - Ne posez pas de couverts ou de couvercles sur les zones de cuisson. Elles sont chaudes. - Éteignez les zones de cuisson après chaque utilisation.

Avertissement
Risque d'explosion ou d'incendie.
- Les graisses et l'huile chaudes peuvent dégager des vapeurs inflammables. Tenez les flammes ou les objets chauds éloignés des graisses et de l'huile lorsque vous vous en servez pour cuisiner.
- Les vapeurs dégagées par de l'huile très chaude peuvent provoquer une combustion spontanée. L'huile qui a servi contient des restes d'aliments pouvant provoquer un incendie à température plus faible que l'huile n'ayant jamais servi.
- Ne placez pas de produits inflammables ou d’éléments imbibés de produits inflammables à l’intérieur ou à proximité de l’appareil, ni sur celui-ci.

Avertissement
Risque d'endommagement de l'appareil.
- Ne laissez pas de récipients chauds sur le bandeau de commande.
- Ne laissez pas le contenu des récipients de cuisson s'évaporer complètement.
- Ne faites jamais fonctionner les zones de cuisson avec des récipients de cuisson vides ou sans aucun récipient de cuisson.
- Prenez soin de ne pas laisser tomber d'objets ou de récipients sur l'appareil. Sa surface risque d'être endommagée.
- Ne placez jamais de papier aluminium sur l'appareil.
- Ne laissiez pas de liquides acides, tels que du vinaigre, du jus de citron ou du produit détartrant, entrer en contact avec la table de cuisson. Cela peut provoquer l'apparition de taches mates. Veillez à ce que la pièce où est installé l'appareil soit bien aérée. Assurez-vous que les orifices de ventilation ne sont pas bouchés. Utilisez uniquement des récipients stables avec une forme adaptée et un plus grand diamètre que les dimensions des brûleurs. Risque de surchauffe et de rupture de la plaque en verre (si votre appareil en est équipé) ! Assurez-vous que la flamme ne s'éteint pas lorsque vous tournez rapidement la manette de la position maximale à la position minimale.
- Veillez à ce que les récipients se trouvent bien au centre des cercles et qu'ils ne dépassent pas des rebords de la table de cuisson.
- N'utilisez que les accessoires fournis avec l'appareil.
- N'installez pas de diffuseur de flamme sur le brûleur.

Avertissement
Risque d'endommagement de l'appareil.
Nettoyez régulièrement l'appareil afin de maintenir le revêtement en bon état. - Ne pulvérisez pas d'eau ni de vapeur pour nettoyer l'appareil. - Ne lavez pas les brûleurs au lave-vaisselle. - Nettoyez l'appareil avec un chiffon doux humide. Utilisez uniquement des produits de lavage neutres. N'utilisez pas de produits abrasifs, de tampons à récurer, de solvants ou d'objets métalliques.

Avertissement
Risque de blessure ou d'asphyxie.
- Contactez votre service municipal pour obtenir des informations sur la marche à suivre pour permettre conformément l'appareil au rebut.
- Débranche l'appareil de l'alimentation électrique.
- Débranchez câble d'alimentation au ras de l'appareil et mettez-le au rebut.
- Aplatissez les tuyaux de gaz externes.
3.1 Description de la table de cuisson

1 Brûleur rapide 2 Brûleur auxiliaire 3 Manettes de commande
3.2 Manettes de commande
| Symbole | Description |
| ● | pas d'alimentation en gaz / position arrêt |
| ○ | position d'alluma-ge / alimentation en gaz maximum |
| Symbole | Description |
| alimentation en gaz minimum |

Avertissement
Reportez-vous aux chapitres concernant la sécurité.

Avertissement
Faites très attention lorsque vous utilisez une flamme nue dans une cuisine. Le fabricant décline toute responsabilité en cas de mauvaise utilisation de la flamme.

Allumez toujours le brûleur avant de poser un récipient dessus.
Pour allumer le brûleur :
- Enforcez la manette de commande correspondante et tournez-la vers la gauche jusqu'à la position maximale.
- Maintenez la manette de commande enfoncée pendant environ 5 secondes
Maintenez la manette de commande enfoncée pendant environ 5 secondes pour permettre au thermocouple de chauffer. Sinon, l'alimentation en gaz sera interrompue.
- Une fois que la flamme brûle régulièrement, réglez son débit.

Si, après plusieurs tentatives, le brûleur ne s'allume pas, vérifie que la couronne et son chapeau sont correctement placés.

A) Chapeau du brûleur B) Couronne du brûleur C) Bougie d'allumage D) Thermocouple

Avertissement
Ne maintenez pas la manette de commande appuyée plus de 15 secondes.
Si le brûleur ne s'allume pas au bout de 15 secondes, relâchez la manette et positionnez-la sur Arrêt. Attendez au moins 1 minute avant d'essayer une nouvelle fois d'allumer le brûleur.

En cas de coupure d'électricité, vous pouvez utiliser votre table de cuisson sans avoir recours au système automatique. Dans ce cas, approchez une flamme du brûleur, enlevez la manette correspondante et tournez-la dans le sens inverse des aiguilles d'une montre jusqu'à la position de libération maximum du gaz.

Avertissement
Reportez-vous aux chapitres concernant la sécurité.
5.1 Économies d'énergie
- Si possible, couvre les casseroles.
- Lorsque le liquide commence à bouillir, baissez le feu pour laisser légèrement frémir le liquide.

Si le brûleur s'éteint accidentellement, tournez la manette de commande sur la position Arrêt et attendez au moins 1 minute avant d'essayer une nouvelle fois d'allumer le brûleur.

Le générateur d'étincelles se déclenche automatiquement à la mise sous tension de l'appareil, après l'installation ou une coupure d'électricité. Ce phénomène est normal.
4.2 Pour éteindre les brûleurs
Tournez la manette jusqu'au symbole •

Avertissement
Abaisssez ou coupez toujours la flamme avant de retirer les récipients du brûleur.
Utilisez uniquement des récipients dont le diamètre correspond aux dimensions des brûleurs.
| Brûleur | Diamètres des réci-pients |
| Rapide | 180 - 260 mm |
| Auxiliaire | 80 - 180 mm |

Avertissement
Assurez-vous que le fond des récipients ne dépasse pas au-dessus des manettes de commande.
Si les manettes de commande se trouvent sous le fond des récipients, la flamme peut les faire chauffer.
Ne placez pas le même récipient sur deux brûleurs.


Avertissement
Assurez-vous que les poignées des récipients ne dépassent pas du devant de la table de cuisson. Assurez-vous que les récipients de cuisson sont bien centrés sur les brûleurs afin de garantir leur stabilité et de réduire la consommation de gaz.
Ne placez pas de récipients instables ou déformés sur les zones de cuisson afin d’éviter les débordements et les blessures.

Avertissement
N'utilisez pas de diffuseur de flamme.

Avertissement
Reportez-vous aux chapitres concernant la sécurité.

Avertissement
Éteignez l'appareil et laissez-le refroidir avant de le nettoyer. Avant toute opération de nettoyage ou intervention technique, assurez-vous que l'appareil est débranché de la prise électrique.

Les rayures ou les taches sombres sur la surface n'ont aucune incidence sur le fonctionnement de l'appareil.
- Vous pouvez retirer les supports de casserole pour nettoyer facilement la table de cuisson.
- Nettoyez les éléments en émail, le chapeau et la couronne avec de l'eau chaude savonnée et séchez-les soigneusement avant de les remettre en place.
- Lavez les éléments en acier inoxydable à l'eau, puis séchez-les à l'aide d'un chiffon doux.
- Les supports de casserole ne doivent pas être placés dans le lave-vaiselle. Ils doivent être lavés à la main. Lorsque vous lavez les supports à la main, faites bien attention lorsque vous les essuyez, car le processus d'émaillage
L'émailage laisser parfois des arêtes risquant de vous blesser. Si nécessaire, retirez les taches tenaces à l'aide d'une pâte nettoyante.
- Après avoir lavé les supports de casseroles, veillez à les remettre correctement en place.
- Pour que les brûleurs fonctionnent correctement, assurez-vous que les bras des supports de casseroles sont au milieu du brûleur.
- Faites très attention lorsque vous remplacez les supports de casseroles afin de ne pas endommager le dessus de la table de cuisson.
Après le nettoyage, séchez l'appareil à l'aide d'un chiffon doux.
Pour enlever les salissures :
- Enlevez immédiatement : plastique fondu, films plastiques et aliments contenant du sucre.
- Éteignez l'appareil et laissez étalliques luisantes. Utilisez un nettoyant spécifique adapté à la surface de la table de cuisson.
- Nettoyez l'appareil à l'aide d'un chiffon humide et d'un peu de détergent.
3. Pour finir, frottez l'appareil avec un chiffon propre.
L'acier inoxydable peut ternir s'il est trop chauffé. Gardez à l'esprit que vous ne devez pas cuisiner avec des plats en terre cuite ou en fonte.
6.1 Nettoyage du générateur d'étincelles
Cette fonction emploie une bougie d'allumage en céramique et d'une électrode
métallique. Maintenez ces éléments propres pour prévenir un allumage difficile et vérifier que les trous de la couronne du brûleur ne sont pas obstrués.
6.2 Entretien périodique
Demandez régulièrement à votre service après-vente local de vérifier l'état du tuyau d'arrivée de gaz et du régulateur de pression, si l'appareil en est équipé.
- EN CAS D'ANOMALIE DE FONCTIONNEMENT
| Anomalie | Cause possible | Solution |
| Aucune étincelle ne se produit à l'allumage. | Il n'y a pas d'alimentation électrique. | Vérifiez si l'appareil est bien branché et allumé; Contrôlez le fusible. Si le fusible est dégagé plusieurs fois, contactez un électrique qualifié. |
| Le couvercle et la couronne du brûleur sont mal positionnés. | Assurez-vous que le couvercle et la couronne du brûleur sont bien positionnés. | |
| La flamme s'éteint immédiatement après l'alluma-ge. | Le thermocouple n'est pas suffisamment chauffé. | Après avoir allumé la flamme, continuez à appuyez sur le bouton pendant environ 5 secondes. |
| Les flammes sont irrégulées. | La couronne du brûleur doit être encrassés avec des restes d'aliements. | vérifiez si l'injecteur n'est pas bouché et s'il n'y pas de particules alimentaires dans la couronne. |
Certaines anomalies de fonctionnement peuvent dépendre d'opérations d'entretien non correctes ou d'oubli et peuvent être résolues à l'aide des indications fournies dans le tableau, sans faire appel à un service après-vente. Si l'anomalie persiste, contactez votre magasin vendeur ou votre service après-vente.
Si un problème résulte d'une mauvaise utilisation ou si l'installation de l'appareil n'a pas été réalisée par un professionnel qualifié, le déplacement du technicien du service après-vente ou du revendeur peut être facturé même en cours de garantie.
Ces informations sont nécessaires pour pouvoir vous offrir une aide rapide-
Description du modèle - Référence produit (PNC) - Numéro de série (S. N.)....
Utilisez exclusivement des pièces d'origine certifiées constructeur. Elles sont disponibles auprès de votre service après-vente.
7.1 Étiquettes fournies avec le sac d'accessoires
Collez les étiquettes adhésives comme indiqué ci-dessous :

Collez-la sur la carte de garantie et envoyez cette partie Collez-la sur la carte de garantie et conservez cette partie
3 Collez-la sur la notice d'utilisation

Avertissement
Reportez-vous aux chapitres concernant la sécurité.

Avertissement
Les instructions suivantes concernant l'installation, le raccordement et la maintenance de l'appareil doivent être effectuées par un professionnel qualifié selon les normes et réglements en vigueur.
ces, ils ne doivent pas entrer en contact avec des parties mobiles ni être comprimés. Soyez également vigilant lorsque la table est installée avec un four.
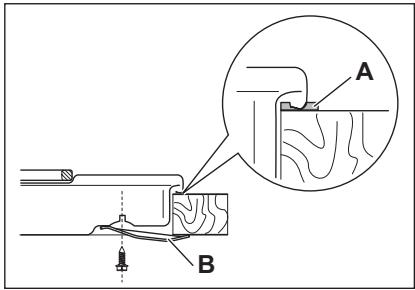
8.1 Raccordement au gaz
Effectuez un raccordement fixe (« rigide ») ou utilisez un tuyau flexible en acier inoxydable selon les normes en vigueur. Si vous utilisez des tuyaux flexibles métalliques-

Assurez-vous que la pression de l'alimentation en gaz de l'appareil correspond aux valeurs recommandées. Le raccordement réglable est relié à la rampe complète par un écrou fileté G 1/2 pouce. Vissez l'ensemble et serrez avec du ruban de téléphone si nécessaire, pour orienter le raccord dans la direction souhaitée.

A) Extrémité du tuyau avec écrou B) Rondelle C) Raccord coude (si nécessaire)
Raccordement rigide :
Effectuez le raccordement en utilisant des tuyaux métalliques rigides (en cuivre avec embout mécanique).
Raccordement « flexible » avec embout mécanique :
Gaz naturel : le raccordement s'effectue avec un tuyau flexible à embout mécanique qui se visse directement sur le coude terminant la rampe de l'appareil. - Butane/Propane : utilisez un tube souple, équipé de ses colliers, s'il peut être contrôlé sur toute sa longueur et si l'appareil ne fonctionne qu'au butane. Si l'appareil fonctionne au propane, utilisez un tuyau flexible avec un embout métallique approprié.
Raccordement avec des tuyaux flexibles non métalliques :
Si le raccordement peut être facilement contrôlé dans son ensemble, vous pouvez utiliser un tuyau flexible. Fixez fermement le tuyau flexible à l'aide de colliers.
Gaz liquéfié : utilisez le support de tuyau en caoutchouc. Intercalez toujours le joint. Continuez alors le raccordement au gaz.
L'utilisation d'un tuyau flexible s'applique lorsque :
- il ne peut pas devenir plus chaud que la température ambiante, à savoir plus de 30°C;
- il n'est pas plus long que 1500 mm;
- il ne montre aucun étranglement;
- il n'est soumis à aucune traction ni aucune torsion;
- il n'entre pas en contact avec des bords ni des coins tranchants;
- il peut être facilement contrôlé sur toute sa longueur afin de vérifier son état.
Vérifiez les points suivants pour contrôler le bon état du tuyau flexible :
- Il ne présente aucune fente, coupure, marque de brûture sur les deux extrémités et sur toute sa longueur;
- le matériel n'est pas durci, mais présente une élasticité correcte;
- les colliers de serrage ne sont pas rouillés;
- La date d'expiration n'est pas dépassée. Si vous constatez au moins un de ces défauts, ne réparez pas le tuyau, mais remplacez-le.

Lorsque l'installation est terminée, assurez-vous que chaque raccord est étanche. Utilisez une solution savonneuse et pas de flamme!
8.2 Remplacement des injecteurs
- Démontez les supports des casseto-les.
- Démontez les chapeaux et les couronnés du brûleur.
- À l'aide d'une clé de 7, démontez les injecteurs et remplacez-les par ceux qui sont nécessaires pour le type de gaz que vous utilisez (voir le tableau dans le chapitre « Caractéristiques techniques »).
- Assemblez les pièces et suivez la même procédure dans l'ordre inverse.
- Remplacez la plaque signalétique (qui se trouve près du tuyau d'arrivée de gaz) par celle correspondant au nouveau type d'alimentation en gaz. Vous trouverez cette plaque dans le sachet fourni avec l'appareil.
Si la pression de l'alimentation en gaz peut être modifiée ou est différente de la pression nécessaire, vous devez monter un système de réglage de la pression sur le tuyau d'arrivée de gaz.
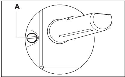
8.3 Réglage du niveau minimal
Pour régler le niveau minimal des brûleurs :
- Allumez le brûleur.
- Tournez la manette en position minimale.
- Retirez la manette.
- À l'aide d'un tournevis fin, ajustez la position de la vis de réglage.

Vis de réglage
- Si vous passez du gaz naturel G20/G25 20/25 mbar au gaz liquéfié, serrez au maximum la vis de réglage.
- Si vous passez du gaz liquéfié au gaz naturel G20/G25 20/25 mbar, dévissez la vis de dérivation d'environ 1/4 de tour.
- Si vous passez du gaz naturel G20/G25 20/25 mbar au gaz de ville G130 8 mbar, dévissez-la d'environ 3/4 de tour.
- Si vous passez du gaz de ville G130 8 mbar au gaz naturel G20/G25 20/25 mbar, vissez d'environ 3/4 de tour.
- Si vous passez du gaz liquide au gaz de ville G130 8 mbar, dévissez d'environ 1 tour.

Avertissement
Assurez-vous que la flamme ne s'éteint pas lorsque vous tournez rapidement la manette de la position maximale à la position minimale.
8.4 Branchement électrique
- Vérifiez que la tension nominale et le type d'alimentation figurant sur la plaque signalétique correspondent aux valeurs d'alimentation locales.
- Cet appareil est fourni avec un câble d'alimentation. Une fiche appropriée, capable de supporter la charge indiquée sur la plaque signalétique, doit être adaptée au câble d'alimentation. Assurez-vous que la fiche est branchée dans une prise correcte.
- Utilisez toujours une prise de courant de sécurité correctement installée. Assurez-vous que la prise de courant est accessible une fois l'appareil installé.
- Ne tirez jamais sur le câble d'alimentation pour débrancher l'appareil. Tirez toujours sur la fiche. L'appareil ne doit pas être raccordé à l'aide d'un prolongateur, d'un adaptateur ni d'une prise multiple (risque d'incendie). Assurez-vous que le raccordement à la terre est conforme aux normes et réglementations.
- Le câble d'alimentation ne doit pas être exposé à une température supérieure à 90°C.
Assurez-vous de connecter le câble neutre bleu à la borne portant la lecture « N ». Connectez le câble de phase marron (ou noir) à la borne portant la lecture « L ». Le câble de phase doit rester connecté en permanence.
8.5 Remplacement du câble d'alimentation
Ne remplacez le câble de raccordement qu’avec un câble de type H05V2V2-F T90 ou équivalent. Assurez-vous que la section du câble convient à la tension et à la température de fonctionnement. Le câble de terre jaune/vert doit être plus long d’environ 2 cm que le câble de phase marron (ou noir).
8.6 Encastrement

Si vous devez installer plusieurs tables de cuisson de 30 cm les unes à côté des autres dans la même découpe, vous pouvez vous procurer un kit de montage complémentaire un support latéral et des joints supplémentaires auprès de votre service après-vente. Les instructions d'installation correspondantes sont fournies avec le kit.

A) joint fourni B) équerre fournie

Attention
Installez l'appareil uniquement sur un plan de travail dont la surface est plane.
8.7 Possibilités d'insertion
Élément de cuisine avec porte
Le panneau installé sous la table de cuisson doit être facile à retirer et facilement
accessible au cas où une intervention technique serait nécessaire.

A) Panneau amovible B) Espace pour les branchements
Élément de cuisine avec four
Les dimensions de la niche d’encastrement doivent être conformes aux indications et l’élement de cuisine doit être équipé d’aérations pour assurer un apport d’air continu. Les branchements ÉLECTRIQUES de la table de cuisson et du four doivent être installés séparément pour des raisons de sécurité et pour permettre un retrait facile du four de l’ensemble.

Dimensions de la table de cuisson
Largeur :
290 mm
Longueur :
510 mm
Dimensions de la niche d'encastrement de la table de cuisson
Largeur : 270 mm
Longueur: 490 mm
Puissance
| Brûleur rapide : | 3,0 kW (gaz naturel)2,8 kW (gaz liquéfié) |
| Brûleur auxiliaire : | 1,0 kW |
| PUISSANCE TOTALE : | G20/G25 (2E+) 20/25 mbar = 4 kWG30 (3+) 28-30 mbar = 277 g/hG31 (3+) 37 mbar = 271 g/h |
| Alimentation électrique : | 230 V ~ 50 Hz |
| Raccordement au gaz : | G 1/2" |
| Catégorie : | III1c2E+3+ |
| Alimentation en gaz : | G20/G25 (2E+) 20/25 mbar |
| Classe de l'appareil : | 3 |
Diamètres de by-pass
| Brûleur | Ø by-pass en 1/100 mm |
| Auxiliaire | 28 |
| Rapide | 42 |
Brûleurs à gaz
| BRÜ-LEUR | PUIS-SAN-CENORMALE | PUIS-SAN-CERé-DUI-TE | PUISSANCE NORMALE | |||||||
| GAZ NATURELG20/G25 (2E+)20/25 mbar | LPG(Butane/Propane)G30/G31 (3+)28-30/37 mbar | GAZ DEVILLEG130 (1c)8 mbar | ||||||||
| kW | kW | inj.1/100m | G2020mbar | G2525mbar | inj.1/100m | G3028-30mbar | G3137mbar | inj.1/100m | \(m^3/h\) | |
| \(m^3/h\) | \(m^3/h\) | g/h | g/h | |||||||
| Auxi- liaire | 1.0 | 0.33 | 70 | 0.095 | 0.111 | 50 | 73 | 71 | 127 | 0.140 |
| Rapi- de | 3.0(gaz naturel)2.8(LPG) | 0.75 | 119 | 0.286 | 0.332 | 86 | 204 | 200 | 240 | 0.420 |
10. En matière de protection de l'environnement
Recyclez les matériaux portant le symbole
Déposez les emballages dans les
conteneurs prévus à cet effet.
Contribuez à la protection de
l'environnement et à votre sécurité,
recyclez vos produits électriques et
électroniques. Ne jetez pas les appareils
portant le symbole avec les ordures
ménagères. Emmenez un tel produit dans
votre centre local de recyclage ou
contactez vos services municipaux.
C E

Notice Facile