EGG3322 - Pliidiplaat AEG-ELECTROLUX - Tasuta kasutusjuhend
Leidke seadme juhend tasuta EGG3322 AEG-ELECTROLUX PDF-formaadis.
Laadige alla juhend oma Pliidiplaat PDF-formaadis tasuta! Leidke oma juhend EGG3322 - AEG-ELECTROLUX ja võtke oma elektrooniline seade uuesti kätte. Sellel lehel on avaldatud kõik teie seadme kasutamiseks vajalikud dokumendid. EGG3322 kaubamärgi AEG-ELECTROLUX.
KASUTUSJUHEND EGG3322 AEG-ELECTROLUX
Täname Teid selle Electroluxi seadme ostmise eest. Olete valinud toote, mille loomisel on rakendatud pikaaegset professionaalset kogemust ja innovatsiooni. Nutika ja stilse disaini kóval ei ole unustatud ka Teid. Üsköik, millal Te seda ka ei kasuta - suurepärastes tulemustes võite alati alati kindel olla.
Teretulemast Electroluxi!
Kulastage meie veebisaiti:

Leiate nōuandeid, brošüre, veaotsingu, teavet teeninduse kohta: www.electrolux.com

Võite registreerida omtoote parema teeninduse saamiseks: www.electrolux.com/productregistration

Soovitame alati kasutada originaalvaruosi.
Teenindusse põrdumisel peaksid teil olema varuks järgmised andmed.
Andmed leiate andmesildilt. Mudel, tootenumber (PNC), seerianumber.

Hoiatus / oluline ohutusinfo.

Uldine info ja nōuanded

Keskkonnainfo
Jäetakse Óigus teha muutusi.
1. OHUTUSINFO
Enne seadme paigaldamist ja kasutamist lugege kaasasolev juhend tähelepanelikult LABi. Tootja ei vastuta vale paigaldamise vöieebaöige kasutuse tottu tekkinud vigastuste ja kahjude eest. Hoidke juhend alles, et saaksite seda ka edaspidi kasutada.
1.1 Laste ja ohustatud inimesto turvalisus
HOIATUS
Lambumise, vigastuse voi pusiva kahjustuse oht!
- Seda seadet võivad kasutada vähemalt 8-aastased lapsed ning samuti füusilise, sensoorse või vaimse puudega või kogemuste ja teadmisteta isikud juhul, kui neid valvab tãiskasvanud iminene või nende turvalisuse eest vastutav isik.
- Arge lubage lastel seadmega mängida.
- Hoidke pakendid lastele kattesaamatuna.
- Hoidke lapsed ja lemmikloomad seadmest eemal, kui see toötab või maha jahtub. Katmata osad on kuumad.
Kui seadmel on olemas lapselukk, soovitame selle sisse lilitada. - Ilma järelvalveta ei tohi lapsed seadet puhastada ega hooldustoiminguid LABI viia.
1.2 Üldine ohutus
- Seade ja selle juurde kuuluvad osad lāhevad kasutamise ajal kuumaks. Arge kütteelemente puudutage.
- Arge kasutage seadet välise taimeriga vöi eraldi kaugjuhtimissüsteemi abil.
- Kui kasutate toiduvalmistamisel kuuma öli, ärge jätke toitu järel-valveta - see vöib kaasa tuua tulekahju.
- Arge kunagi üritage kustutada tuld veega, vaid lülitage seade valja ja katke leek näiteks kaane või tulekustutustekiga.
- Arge hoidke keeduväljadel esemeid.
- Arge kasutage plidi puhastamiseks aurupuhastit.
- Metallesemeid – nuge, kahvleid, lusikaid ega potikaasi ei tohiks pliidipinnale panna, sest need voivad kuumeneda.
2. ! OHUTUSJUHISED
See seade sobib järgmiste turgude puhul:
EE
FI FR TW
2.1 Paigaldamine

HOIATUS
Seadet tohib paigaldada ainult kvaliftseeritud elektrik!
Eemaldage koik pakkematerjalid.
Kahjustatud seadet ei tohi paigaldada ega kasutada.
Järgige seadmega kaasas olevaid paigaldus-juhiseid.
- Tagage minimaalne kaugus muudest seadmet-test ja möbliesemetest.
- Olge seadme teise kohta viimisel ettevaatlik, sest see on raske. Kasutage alati kaitsekin-daid.
Kaitske Ioikepindu niiskuskahjustuste eest sobiva tihendi abiI.
- Kaitske seadme pōhja auru ja niiskuse eest.
- Arge paigutage seadet ukse körvale ega akna alla. Vastasel korral voivad noud ukse voi akna avamisel seadme pealt maha kukkuda.
Kui paigaldate seadme sahtlite kohale, siis jalgige, et seadme pohja ja ülemise sahtli vahele jäks piisavalt ruumi ohuringluse jaoks.
- Seadme pōhi vōib minna kuumaks. Pōhjale juurdepääsu tōkestamiseks on soovitatav seadme alla paigaldada eralduspaneel.
Elektrühendus

HOIATUS
Tulekahu-ja elektrögioht!
Koik elektruihendused peab teostama kvalift-seeritud elektrik.
Seade peab olemamaandatud.
- Enne mis tahes toimingute LABbivimist veenduge, et seade on vooluvorgust eemaldatud.
- Kasutage öiget elektrijuhet.
Välidge elektrijuhtmete sassiminekut.
- Veenduge, et toitejuhe või -pistik e puutuks vastu kuuma seadet või toidunõusid, kui te seadme lahedalasuvasse pistikupesasse ühendate.
Veenduge, et seade on oigesti paigaldatud. Lahtiste voi valede toitejuhtmete voi -pistikute kasutamisel voibkontakt minna tuliseks.
Veenduge, et paigaldatud on porutuskaitse.
Paigaldage juhtmetele tombetokis.
Veenduge, et te ei vigastaks toitepistikut ega - juhet. Vigastatud toitejuhtme vahetamiseks vo'tke uhendust teeninduskeskusega.
- Seadme ühendus vooluvörguga tuleb varustada mitmepooluselise isolatsooniseadisega. Isolatsooniseadise lahutud kontaktide vahemik peab olema vahemalt 3 mm.
- Kasutage ainult Óigeid isolatsooniseadiseid: kaitselüliteid, kaitsmeid (keermega kaitsmed tuleb pesast eemaldada), maalekkevoolu kaitsmeid ja kontaktoreid.
Gaasiuhendus
- Kõik gaasiuhendused peab ühendama kvalift-seeritud tehnik.
Veenduge, et seadme umber oleks tagatud ohuringlus. - Teave gaasivarustuse kohta on kirjas andmesildil.
See seade ei ole ühendatud seadmega, mis põlemissaadusi valjutaks. Veenduge, et ühendate seadme vastavalt kehtivatele paigalduseeskirjadele. Pörake tâhelepanu piisava ventilatsioni tagamisele.
2.2 Kasutamine

HOIATUS
Vigastuse, pôletuse või elektröögjoht!
- Kasutage seda seadet ainult kodustes tingimustes.
- Arge mutkke seadme tehnilisi omadusi.
- Arge jätke toötavat seadet järevalveta.
- Arge kasutage seadet margade katega voi ju-hul, kui seade on kontaktis veega.
- Arge pange sögiriistu vöi potikaasi keeduväl-jadele. Need lähevd tuliseks.
Lulitage keeduvali parast kasutamist valja.

HOIATUS
Plahvatuse või tulekahju oht!
Kuumutamisel voivad rasvad ja olid eraldada suttivaid aure. Kui kasutate toiduvalmistamisel oli voi rasvu, hoidke need eemal lahtisest leegist voi kuumadest esemetest.
Väga kuumast ölist eralduvad aurud voivad iseneslikult suttida.
- Kasutatud öli, milles vöib leiduda toidujäke, vöib suttida madalamal temperatuuril kui kasutamata öli.
- Arge pange suttivaid voi suttiva ainega mär-dunud esemeid seadmesse, selle lahedusse voi peale.

HOIATUS
Seadme vigastamise või kahjustamise oht!
- Arge pange tuliseid nousid juhtpaneleile.
- Arge laske keedunödel kuivaks keeda.
- Arge lulitage keeduvalju sisse tuhjade noude-ga voi ilma noudeta.
Olge ettevaatlik ja arge laske noudel ega muudel esemetel seadmele kukkuda. Pliidi pind voib puruneda. - Arge asetage seadmele aluminiumfooliumit.
- Arge laske pliidil kokku puutuda happeliste vedelikega, naiteks ädika, sidrunimahla voi katlakivieemaldajaga. See jatab pinnale tuhmid plekid.
- Ruumi, kuhu seade paigaldatakse, peab olema tagatud hea ventilatsoon.
Veenduge, et ventilatsioniavad ei oleks tokestatud. - Kasutage ainult korralikke terveid keedunö-sid, mille pōhi on pōletite diameeitr suurem. Vastasel korral tekib klaasplaadi (kui see on olemas) ülekuumenemise ja mōranemise oht.
- Veenduge, et leek ei kustu, kui keerate nuppu kiiresti maksimaalasendist minimaalasendisse.
Jalgige, et noud oleks paigutatud rongaste keseke ega ulatuks ul pleidiplaadi aarte.
- Kasutage ainult seadmega kaasasolevaid tar-vikuid.
- Arge paigutage pōletitele leegihajutajat.
Seadme vigastamise või kahjustamise oht!
- Puhastage seadet regulaarselt, et vältila pli-dipinna materjali kahjustumist.
- Arge kasutage seadme puhastamiseks vee-voi aurupihustit.
- Arge peske põleteid nõudepesumasinas.
- Puhastage seadet pehme niiske lapiga. Kasutage ainult neutraalseid puhastusaineid. Årge kasutage abrasivseid tooteid, kūürimissvamme, lahusteid ega metallist esemeid.
2.4 Jäätmekäitlus

HOIATUS
- Seadme öige körvaldamise kohta saat täps-maid juhiseid kohlikust omavalitsusest.
- Eemaldage seade vooluvorgust.
- Löigake toitekaabel seadme küljest lahti ja visake ära.
- Suruge valised gaasitorud lamedaks.
3. SEADME KIRJELDUS
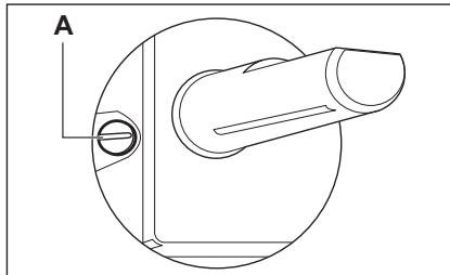
3.1 Pliidipinna skeem


Kiirpõleti
Lisapõleti
Juhtnupud
3.2 Juhtnupud
| Sümbool | Kirjeldus |
| ● | gaasi pealevool puu-dub / asend "väljas" |
| süuteasend / maksi-maalne gaasi peale-vool |
| Sümbol | Kirjeldus |
| minimaalne gaasi pealevool |
4. IGAPÄEVANE KASUTAMINE

HOIATUS
Vt ohutst kasidevaid peatukke.
4.1 Pôletite sütamine

HOIATUS
Tulega tuleb kooigis vaga ettevaatlikult umber kaia. Tootja ei vastuta selle noude eiramisest tulenevate tagajargede eest.

Südake põleti alati enne kõoginõu asetamist plidile.
Pöleti sütamiseks:
- Vajutage vastavat juhtnuppu ja keerake siis vastupäeva maksimumasendisse ( ).
- Hoidke juhtnuppu umbes 5 sekundit sissevajutatuna; see on vajalik termoelemendi soojendamiseks. Vastasel korral katkegbgaasi pealevool.
- Kui lek on normalne, võite seda reguleeri- da.

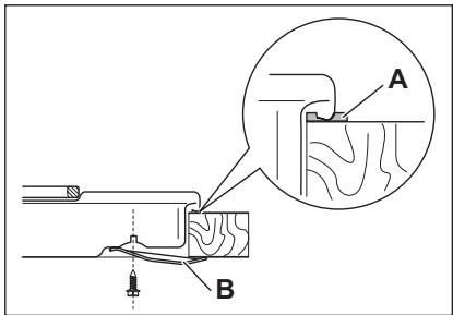
Kui pōletī ei ñonestu sūdata ka mitme katsega, kontrollige, kas pōletikroon ja selle kaas on Óiges asendis.

A) Põleti kaas
B) Pöleti kroon
C) Sutekuunal
D) Termoelement

HOIATUS
Arge hoidke nuppu all üle 15 sekundi. Kui põleti 15 sekundi jooksul ei suttti, siis vabastage nupp, keerake see välja ja oodake vahemalt 1 minut enne kui uritate põletit uuesti Süudata.

Kui elektrit ei ole, saate põleti suüdata ilma elektrisüetelita. Selleks suüdake põleti juures leek, vajutage vastavat nuppu ja keerake seda vastupaëva maksimaalse gaasivarustuse asendisse.

Kui pōleti peaks kustuma, siis keerake juhtnupp valja ja proovige pōletit uesti suūdata Úhe minuti moödudes.

Sutaja voib käivituda automaatsettoi te sisselulitamisel, kas siis pārast paigaldamist voi voolukatkestust. See on normalne.
4.2 Põleti valjulitamine
Leegi kustutamiseks keerake nupp asendisse

HOIATUS
Enne toidunoude pôlettil ara vôtmist keerake tuli väiksemaks voi lulitage hoopis valja.
5. VIHJEID JA NAPUNÄITEID

HOIATUS
Vt ohutst käsitlevaid peatükke.
5.1 Energia kokkuhoid
Vöimaluse korral pange nõudele alati kaas peale.
Kui vedelik hakkab keema, siis keerake leeki väiksemaks, et vedelik vaid ornalt keema jäaks.
Kasutage ainult keedunousid, mille pohja labimôot vastab poletite suurusele.
| Põleti | Keedunõude lübimõõt |
| Kiire | 180 - 260 mm |
| Lisapõleti | 80 - 180 mm |

HOIATUS
Jalgige, et noude pohjad ei kataks juhtnuppe. Kui juhtnupud jävad nou põha alla, voivad need leegi tottu kuumeneda.
Arge asetage ühte noud korraga kahele põletile.


HOIATUS
Jalgige, et potikäepidemed ei ulatuks üle plidi serva. Jalgige, et noud aset-seksid tapselt ringi kohl - nii ei lahe need Ümber ja ka gaasikulu on vaiksem.
Ärge pange keeduringidele ebatasase pöhjaga voi molkis nousid, et valtida umberminekut ja vigastusi.

HOIATUS
Arge kasutage leegihajutajat.
Teave akrūlamiidide koht
Tähtis Uusimate teaduslike andmete kohaselt on toidu prunistamisel (eriti tärklist sisaldavate toiduainete puhul) tekkivad akruulamiidervisele ohtlikud. Seetötu soovitame valmistada toitu voimalikult madalal temperatuuril ning toitu mitte liialt prunistada.
6. PUHASTUS JA HOOLDUS

HOIATUS
Vt ohutst käsitlevaid peatükke.

HOIATUS
Lülitage seade välja ja laske sel enne puhastamist maha jahtuda. Enne houldus- voi puhastustööde tegemist ühendage seade vouluvörgust lahti.

Kriimustused voi tumedad plekid pinnal ei mojuta seadme toed.
- Saate anumatoed lihtsalt eemaldada, et plidi puhastamist hölbastada.
-
Emailitud osade, kaane ja krooni puhastami-seks peske neid sooja seebiveega ja kuivatage enne tagasipanekut hoolikalt.
-
Roostevabast terasest osi peske veega ja kui-vatage seejärel pehme lapiga.
- Anumatoed ei ole nõudepesumasinakindlad. Neid tuleb pesta käsitsi.
Kui pesete anumatugesid käsitsi, siis olge kui-vatamisel ettevaatlik, kuna emailimisel jäavad toote servad monikord konarlikeks. Vajaduse korral eemaldage tugevad plekid puhastuspastaga. - Pärast puhasstamist paigutage anumatoed ettenähtud kohale.
- Põletite ùige tõ tagamiseks veenduge, et anumatugede labad jäävad põleti keskmesse.
Olge anumatugede paigutamisel aarmiselt etevaatlik,et valtida plidiplaadi kahjustamist.
Pärast puhastamist kuivatage seadet pehme lapiga.
Mustuse eemaldamine:
-
- Eemaldada koheselt: sulav plast, plastiki-le ja suhkrut sisaldava toidu jägid.
Lulitage seade valja ja laske sel enne pu-hastamist jahtuda: katlakiviringid, veerin-gid, rasvaplekid, laikivad metalsed plekid. Kasutage plidi pinna jaoks sobivat pu-hastusvahendit.
- Eemaldada koheselt: sulav plast, plastiki-le ja suhkrut sisaldava toidu jägid.
- Puhastage seadet niiske lapi ja vahese koguse pesuainega.
- Lopus puhkige seade kuiva lapiga puhtaks. Kui roostevaba teras liiga tuliseks laheb, voib see tuhmuda. Seetottu ei tohi kupsetamisel ka
sutada talgikivist nõusid, keraamilisi panne või valumalmist nõusid.
6.1 Sueteseadme puhastamine
Süütamine toimub keraamilise süutekünla metallelektroodi abil. Hoidke need osad väga puhtad, et ennetada süutamistörkeid ja veenduge, et põleti krooni avauced ei ole ummistunud.
6.2 Periodiline hooldus
Laske kohalikul teeninduskeskusel regulaarsej ajavahemike tagant kontrollida gaasi pealevoolutoru ja rohu regulaatori seisundit (kui selline on paigaldatud).
7. VEAOTSING
| Probleem | Vöimalik pöhjus | Lahendus |
| Gaasi sūddates puudub säde | • Elektrivool puudub | • Kontrollige, kas seade on vooluvörguga ühendatud ja elektrivool sisse lūlitatud. • Kontrollige kaitset. Kui kait-se vallandub rohkem kui üks kord, kutsuge välja elektrik. |
| • Põleti kübar ja kroon on vil-tuses asendis | • Veenduge, et põleti kübar ja kroon on ùiges asendis. | |
| Leek kustub kohe pärast sūtamist | • Termoelement ei ole piisa-valt soojenenud | • Pärast leegi sūttimist hoid-ke nuppu umbes 5 sekunit-sissevajutatuna. |
| Leegiring põleb ebaühtlaselt | • Põleti kroon on toidujäät-metest ummistatud | • Veenduge, et gaasipõleti ei ole ummistunud ja põleti-kroon on toidujäätmetest vaba. |
Vigade ilmnemisel proovige leida kõigepealt isseisvalt lahendus. Kui Te ei leia probleemile lahendust, pördfuge edasimüuja poole vöi kohliku teeninduskeskusse.

Juhul, kui kasutate seadet ebaoigesti
vōi paigaldust ei ole lábi viñud volitatud
mehhaanik, ei ole klienditeeninduse
tehniku visit teile tasuta, isegi mitte garantiàjal.
Järgmised andmed on vajalikud selleks, et teid kiiresti ja öigesti aidata. Need andmed on kirjas seadmele kinnitatud andmesildil.
- Mudeli kirjeldus
- Toote number (PNC)
- Seerianumber (S.N.)
Kasutage ainult oroginaalvaruosi. Need on saa-daval teeninduskeskusel ja volitatud varuosapoodidest.
7.1 Tarvikute kotis olevad sildid
Kleepige iselimuvad sildid nii, nagu allpool naha:

1 Kleepige see garantikaardile ja saatke see osa
2 Kleepige see garantikaardile ja hoidke see osa alles
3 Kleepige see juhistebrošūrile
8. PAIGALDAMINE

HOIATUS
Vt ohutst käsitlevaid peatükke.

HOIATUS
Kvalifitseritud tehnik peab vastavalt kehtivatele nõutele ja kohalikele eeskirjadele järgima järgmisi paigaldus-, uhendus- ja hooldusjuhiseid.
8.1 Gaasiuhendus
Kasutage fikseeritud ühendusi või roostevabast terasest painuvat toru vastavalt kehtivatele eeskirjadele. Painuvate metallorude kasutamisel jalgige, et need ei puuteks vastu likuvaid osi või et neid ei muljaks. Olge ettevaatlik, kui plidiga koos kasutatakse ka ahju.

Veenduge, et seadme gaasivarustuse rohk vastab ette nahtud rohuvaaartuste. Reguleeritav uhendusdetail kinnitatakse platvormi külge G 1/2" keermega mutriga. Keerake osad kinni ja vajadusel tihendale koki oige suuna saavutamiseks teflonribaga.

A) Mutriga toruots
B) Seib
C) Polv (vajadusel)
Vedelgaas
Vedelgaasi puhul kasutage kummist voolukho
dikut. Kinnitage alati köigepealt tihend. Alles seejärel jätkake gaasiuhendusega.
Painduvat toru vöib kasutada, kui:
- see ei lahe kuumemaks kui toattemperatuur, mitte üle 30^
- toru ei ole pikem kui 1500 mm;
- torul ei ole ventiile;
- toru ei ole painedes ega muljutud;
- see ei puutu vastu teravaid servi ega nurki;
- toru on kontrollimiseks kergesti ligipäätetav.
Painduva toru korrasoleku kontrollimisel tuleb jaqida, et: - poleks naha pragusid, sisselöikeid ega jälgipōletusetn iii toru otstes kui ka kogu ulatuses;
- toru materjal ei ole muutunud jäigaks; see peab olemale elastne;
- kinnitusklambrid ei ole roostes;
- kasutusaeg ei ole moödas.
Kui markate torul kahjustusi, siis arge seda parandage, vaid asendage uega.

Pärast paigaldamist veenduge, et kõigi torulitmike kinnitused on Óiged. Kasutage seebilahust, mitte leoki!
8.2 Injektorite asendamine
- Eemaldage anumatoed.
- Eemaldage põletite katted ja kroonid.
- Keerake mutrivotmega nr 7 injektorid lahti ja asendage need kasutata gaasi tuubi jaoks sobivatega (vt tabelit jaotises "Tehnili-sed andmed").
- Pange osad uuesti kokku, järgides sama protseduuri vastupidises järjekorras.
- Asendage andmesilt (asub gaasivarustuse toru lahedal) sildiga, mis vastab uut tuupi gaasivarustusele. Andmesildi leiate seadme juurde kuuluvast pakendist.
Kui gaasivarustuse rohk on muutuv voi kui see erineb vajalikust survest, tuleb gaasitorule paigaldada sobiv rohumundur.
8.3 Minimaalse taseme reguleerimine
Pôlette minimaalse taseme reguleirisesk:
- Sūdake pōleti.
- Keerake nupp minimaalsesse asendisse.
- Eemaldage juhtnupp.
2) vaid Venemaal
- Reguleerige öhukese kruvikeerajaga mödaviguikruvi asendit.

A) Mddaviigukruvi
Lültitudes 20-millibaaiselt G20 maagaasilt (voi 13-millibaaiselt G20 maagaasilt 2) vedelgaasile, keerake moedaviigukruvi täielikult kinni.
- Üleminekul vedelgaasilt 20-millibaaarisele G20 maagaasile keerake moedaviigukruvi umbes 1/4 pörde vörra lahti.
- Üleminekul 20-millibaariselt G20 maagaasilt 13-millibaarisele G20 maagaasile2) keerake moödaviigukruvi 1/4 pöret lahti.
- Üleminekul vedelgaasilt 13-millibaarisele G20 maagaasile2) keerake moödaviigukruvi umbes 1/2 pörde vorra lahti.
- Üleminekul 13-millibaariselt G20 maagaasilt(2) 20-millibaarisele G20 maagaasile kerake mödaviigukruvi 1/4 pöret kinni.

HOIATUS
- Veenduge, et nimivöimsus ja andmesildil toodud voolutüup on kooskolas kohaliku pinge ja vooluga.
- Selle seadme juurde kuulub ka toitejuhe. Selle juurde peab kuuluma Óige pistik ning see peab taluma andmesildil toodud koormust. Veenduge, et panete pistiku Óigesse pistiku-pessa.
- Kasutage alati nōuetekohaselt paigaldatud ohutut pistikupesa.
Veenduge, et pârast paigaldamist sālib juurdepääs toitepistikule. - Seadet valja lūlitades ārge toṭmakin toitekaa-blist. Hoidke alati kinni toitepistikust.
- Seadme ühendamisel pikendusjuhet, adapterit või mitmikpistikut kasutades tekib tulekah
juoht. Jalgige, et maandus vastaks kehtivatele nouetele ja eeskirjadele.
- Arge laske toitejuhtmel kuumeneda üle 90^ C. Veenduge, et sinine neutraalkaabel on uhendat klemmiga, mille tähis on "N". Uhendage pruin (vöi must) faasikaabel klemmiga, mille tähis on "L". Hoidke faasikaabel alati uhendatuna.
8.5 Ühenduskaabli vahetamine
Uhenduskaabli asendamiseks kasutage ainult H05V2V2-F T90 voi teist sama tuupi kaablit. Veenduge, et kaabli ristloige vastab pingele ja tootemperatuurile. Kollane/roheline maandusjuhe peab olea ligikaudu 2 cm pikem kui prun (voi must) faasijuhe.
8.6 Paigutamine möblisse

Kui samsasse väljalöigatud avasse üksteise körvale soovitakse paigutada mitu 30 cm plidiplaati, vöib teeninduskeskusest hankida külgtoendiga paigalduskomplekti ja täiendavad tihendid. Komplektiga on kaasas ka spetsia§ed paigaldusjuhised.

A) komplekti kuuluv tihend
Pliidi alla paigaldatatvat plaati peab saama kergelt eemaldada ning see peab voimaldama holpsat juurdepaaus tehilise abi vajaduse korral.

A) Eemaldatav plaat
B) Vaba ruum ühenduste jaoks
Köogikapis olev ahi
Pliidi avause môotmed peavad vastama joonisele ning köogikapp peab olema varustatud òhu-avadega pideva ñhu juurdepääsu tagamiseks. Ohutuse tagamiseks ja ahju holpsaks eemaldamiseks köogkapist tuleb plidi ja ahju elektrü-hendused paigaldada eraldi.

9. TEHNILISED ANDMED
Plidi mōtmed
| Laius : | 290 mm |
| Pikkus: | 510 mm |
Plidi suvendi mōtmed
| Laius : | 270 mm |
| Pikkus: | 490 mm |
Kuumutusvoimsus
| Kiirpõleti: | 3,0 kW 2,8 kW (vedelgaas) |
| Lisapõleti: | 1,0 kW |
| KOGUVÜIMSUS: | G20 (2H) 20 mbaari = 4 kW G30/G31 (3B/P) 30/30 mbaari = 277 g/h G20 (2H) 13 mbaari = 4 kW |
| Elektrivarustus: | 230 V ~ 50 Hz |
| Gaasiühendus: | G 1/2" |
| Kategoriöria: | II2H3B/P |
| Gaasivarustus: | G20 (2H) 20 mbaari |
| Seadme klass: | 3 |
Mödavikude diametrid
| Põleti | Mõddaviigu 0 1/100 mm |
| Lisapõleti | 28 |
| Kiire | 42 |
Gaasipolelid
| PÔLETI | TAVA- VÔIMSUS | VÄHEN- DATUD VÔIMSUS | TAVAVÔIMSUS | |||
| MAAGAAS G20 (2H) 20 mbaari | Vedelgaas (butaan/propaan) G30/G31 (3B/P) 30/30 mbaari | |||||
| kW | kW | inj. 1/100 mm | m³/h | inj. 1/100 mm | g/h | |
| Lisapôleti | 1.0 | 0.33 | 70 | 0.095 | 50 | 73 |
| Kiire | 3.0 (maa- gaas) 2.8 (vedel- gaas) | 0.75 | 119 | 0.286 | 86 | 204 |
Gaasipōletid G20 13 mbaari — ainult Venemaal
| PÖLETI | TAVALINE VÖIMSUS | VÄHENDATUD VÖIMSUS | TAVAVÖIMSUS | |
| MAAGAAS G20 (2H) 13 mbaari | ||||
| kW | kW | inj. 100/mm | m³/h | |
| Lisapöleti | 1.0 | 0.33 | 82 | 0.106 |
| Kiire | 3.0 | 0.75 | 149 | 0.318 |
10. JÄATMEKÄITLUS
Sumboliga tähistatud materjalid vöib
ringlusse suunata. Selleks viige pakendid
vastavatesse konteineritesse
Aidake hoida keskkonda ja inimesto terrvist ja
suunake elektri- ja elektroonilised jäätmed
ringlusse. Arge visake sumboliga tāhistatud seadmeid muude majapidamisjaätmete hulka. Viige seade kohlakku ringluspunktī vōi poörduge abi saamiseks kohlakku omavalitsusse.
SISÄLLYS
- TURVALLISUUSTIEDOT 29
- TURVALLISUUSOHJEET 30
- LAITTEEN KUVAUS 32
- PÄIVITTÄINEN KÄYTTÖ 32
- HYÖDYLLISIA NEUVOJA JA VINKKEJÄ 33
- HOITO JA PUHDISTUS 34
- VIANMÄRITYS 35
8.ASENNUS 36 - TEKNISET TIEDOT 39
LihtneJuhend