FIRENZE - Kjøkkenvifte EICO - Gratis bruksanvisning og manual
Finn enhetens veiledning gratis FIRENZE EICO i PDF-format.
Questions des utilisateurs sur FIRENZE EICO
0 question sur cet appareil. Repondez a celles que vous connaissez ou posez la votre.
Poser une nouvelle question sur cet appareil
Last ned instruksjonene for din Kjøkkenvifte i PDF-format gratis! Finn veiledningen din FIRENZE - EICO og ta den elektroniske enheten tilbake i hendene. På denne siden er alle dokumenter som er nødvendige for bruken av enheten din publisert. FIRENZE av merket EICO.
BRUKSANVISNING FIRENZE EICO
Monterings- og bruksanvisning 17
I. Rad og anvisninger 18
II. Komponenter 20
III.Tekniske spesifikasjoner 21
IV.Installasjon 21
V.Bruk og vedlikehold 25
Bortskaffelse 29
SVENSK
INNEHÄL
Efter at emhaeten er sluttet til strøm, bør du kontrollere at lys og motor fungerer.
4. Drift
V Betjening og vedligeholdelse
1. Betjening
1.1 Betjeningspanel
Nærmere information kan fæs hos kommunens tekniske forvaltning.
Made in EU



| INNHOLD | |
| I. Råd og anvisninger | |
| II. Komponenter | |
| III. Tekniske spesifikasjoner | |
| IV. Installasjon | |
| 1. Montering (innebygd motor) | |
| 2. Montering (ekstern motor) | |
| 3. Elektrisk tilkobling | |
| 4. Drift | |
| 4.1. Tilkobling til avtrekkskanal | |
| 4.2. Tilkobling av filtrerende versjon | |
| 4.3 Sugestyrker | |
| V. Bruk og vedlikehold | |
| 1.Betjening | |
| 1.1. Betjeningspanel | |
| 1.2. Funksjoner | |
| 2. Vedlikehold | |
| 2.1. Metall fettfilter | |
| 2.2. Kullfilter / resirkulering | |
| 2.3. Lys | |
| 2.4. Rengjøring | |
Overhold vennligst alle instruksjonene i denen veiledningen.
Fabrikanten fraskriver seg ethvert ansvar for eventuelle feil, skader aller brann forårsaket av apparatet, men som en følge av manglende overholdelse av instruksjonene i dette veiledningen.
Kjokkenventilatoren kan ha et annet utseende i forhold til modellen pa tegningene iijke veiledningen. Veiledningen til bruk, vedlikehold og installasjon er uendret.
Med forbehold om trykkfeil og endrede spesifikasjoner.
- Rørfring skal være SSE kort som mulig.
- Kjøkkenventilatoren pågressive kobles til en kanal som forer forbrenningsgasser ut i friluft (for eksempel oljefyr, vedovner eller lignende).
- Skal kjokkenventilatoren brukes i forbindelse med ikke-elektriske apparater (gasskomfyr, gasstopper og lignende) på det sikres at det er lufttilgang til rommet slick at avtrekksgassene ikke slår tilbake. Kjøkkenet på ha tilstrekkelig ventilasjon (forsyning av friskluft) forå sikre en tilstrekkelig(OP)(OP)(OP)(OP)(OP)(OP)(OP)(OP)(OP)
- Det mä ikke benyttes hóy, äpen flamme under kjøkkenventilatoren mens den er i bruk. Juster brenneren slick at flammene rettes mot panne-/grytebunnen, de mä ikke nà ut over bunnkanten.
- Unngå bruk av Åpen flamme og flambering. Matretter som tilberedes i fett bør overvåkes sik at overopphetet fett ikke slår flammer. Frityrglyter mø overvåkes konstant da kokende olje kan sprete inn i flammene.
- Viftens fettfiltre må som minimum rengjøres cirka hver 14. dag, da fettmettede fritt er lett antennelige.
- Kjokkenventilatoren ma rengjores ofte, bade inn- og utvendig (minimum en gang hver maned). Overhold under alle omstendigheter vedlikeholdsanvisingene iijke bruksanvisingen.
- Manglende rengjørringsoverholdelse av kjokkenventilatoren, somt utskifting og rengjøring av filtrene, medfører brannfare.
- Sørg alltid for at stromforsyningen til kjokkenventilatoren er slätt fra För du starter med rengjöring, filterskiffe eller reparasjon.
- Sikker bruk er kun mulig när det negative trykket i rommet, hvor viften benyttes sammen med forbrenningsapparater som bruker luft fra rommet, ikke overstiger 0,004 millibar (gjelder ikke om kjøkkenventilatoren brukes med resirkulering)
- Apparatet er ikke beregnet til á skulle brukes avindre barn, svekkede personer uten oppsyn eller personer uten kjennskap og erfaring, söant disse ikke overvåkes ellr opplæres av personer som er ansvarlige for sikkerheten deres.
- Kjøkkenventilatoren må, på grunn av støtfare, ikke benyttes eller etterlates uten korrekt innsatte lyspærer på grunn av elektrisk støtfare. Hvis ikke installationen er fulgt korrekt eller emhæten ikke er anvendt korrekt og der meldes service, vil slutkunden modtage en regning for uberettiget servicebesøg
II. Komponenter
| III Tekniske spesifikasjoner | ||
| Modell | ||
| FIRENZE P 60 ECO | FIRENZE P 80 ECO | |
| Spenning | AC 230V 50Hz | |
| Motorer | 1 | |
| Antall fettfiltrre | 1 | |
| Sugestyrker | 3 + i | |
| Bredde [cm] | 60 | 80 |
| Dybde [cm] | 47 | |
| Høyde [cm] | 91-137 | |
| Kanaltilkobling [ø mm] | 150 | |
| Versjon | Avtrekk eller resirkulering | |
| Finish | Rustfritt stål / glass | |
IV. Installasjon
Det anbefales at kjokkenventilatoren installereres av autorisert personale og at to personer utfører oppgaven. Monteringen bør foregår på这部分 maten:
a) Marker en loddrett linje på veggen som viser midten av koketoppen.
b) Avstanden melloh hullene og koketoppen ma beregnes sik at kjokkenventilatorens underside er plassert minst 400-450 mm over en elektrisk koketopp eller minst 550 mm over et gassbluss. Marker plassering av monteringsskruer, plassert 370~mm fra kjokkenventilatorens underkant.
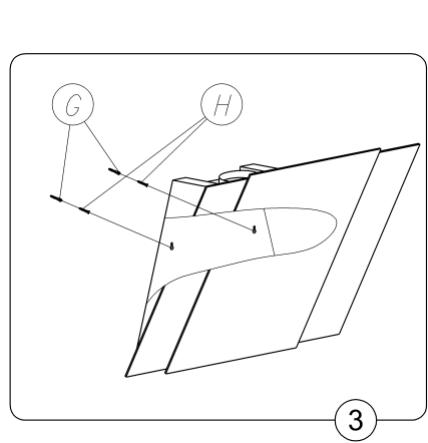
c) Bruk et bor til Å bore de markerte hullene med en tilsvarende diameter som de medfølgende pluggene (figur 3), G og H. Sett pluggene i hullene og skru deretter skruene fast i veggen.
d) Kjokkenventilatoren henges opp på skruene.
e) Skal viften brukes med avtrekk til friluft, skal avtrekksrøret monteres na.
f) (NB! Ved resirkulering) monter modulen for luftregulering, F, sammen med veggbeslaget. Modulen, F, har som formalå lede luften ut gjennom utgangene til resirkuleringsluften i den øverste del av øvre skorsteinsmodul. Benyttsamme monteringsskruer.
g) Marker en passende hóyde for beslaget til skorsteinsdelen F (figur 1).
h) Skorsteinsdelene (B og C) dyttes pã plass i passende høyde (figur 1).
i) Fest den overste skorsteinsdelen til beslaget F (figur 1)
j) Kjokkenventilatoren kan ná kobles til strømnettet.


2. Montering (ekstern motor)
IKKE ALLE MODELLER - Dersom kjøkkenventilatoren som skal monteres er av typen med en eksternt plassert motor, på denne veiledning følges:
a) Marker en loddrett linje på veggen som viser midten av koketoppen.
b) Avstanden mellom hullene og koketoppen ma beregnes sik at undersiden av den fertigmonterte viften plasseres minst 400-450 mm over en elektrisk koketopp eller 550 mm over et gassbluss. Marker plasseringen av monteringsskruene, plassert 370 mm fra kjokkenventilatorns underkant.
c) Bruk et bor til Å bore de markerte hullene med en tilsvarende diameter som de medfolgende pluggene (figur 3), G og H. Sett pluggene i hullene og skru deretter skruene fast i veggen.
d) Kjokkenventilatoren henges opp på skruene.
e) Monter avtrekksrøret (kun ved avtrekk til friluft).
f) Plasser motorkassen, S, på onsket sted, for eksempel loftet over kjøkkenet, og monter motorkassen.
g) Koble viften til motorkassen med ventilasjonskanalen ( = 150mm) , R.
h) SettSAMTEMOTORENS strOm-og nettedning.
i) Koble motorkassen, S, til ventilasjonskanalen.
j) Plasser skorsteinsdelene, B og C (figur 1).
k) Marker en passende hýde for beslaget til skorsteinsdelen, F (figur 1).
I) Skorsteinsdelene, B og C, dyttes på plass i passende høyde (figur 1).
m) Fest den overste skorsteinsdelen til beslaget, F (figur 1).


3. Elektrisk tinkobling
Obs! Undersök alltid at nettledningen er riktig monter FØR kjøkkenventilatoren kobles til strømnettet og det utføres funksjonskontroll. Etter at strømmen har blitt koblet til ventilatoren, br du kontrollere at både lys og motor fungerer.
4. Drift
4.1 Tilkobling av avtrekkkanal
Luften ledes ut i det fri via et avtrekksrør fastmonert til samleflensen. Viften kobles til avtrekksrørt og -hullet i veggen som skal ha en diameter som passert til luftutsugingen (stussflens). Dersom røret og hullet har en diameter som erindre, forringes utsugingskapasiteten samtidig som stoyen øker betydelig. Produsenten fraskriver seg ethvert ansvar i dette forbindelse.
a) Bruk et rør som er SSE kort som mulig.
b) Bruk et rør som har sø få kurver som mulig (maksimal vinkel på kurven: 90 grader).
c) Unngå drastiske endringer i røret s tverrsnitt.
d) Bruk et rør med en sá glatt innside som mulig.
e) Rørets materialer på vår godkjent og i henhold til gjeldende regler.
4.2 Tilkobling av filtrerende versjon
Når viften har blitt installer med resirkuleringsfunksjön avfettes luften, samtidig som lukten fjernes, För den innsugde luften returneres til blake til rommet giennom Åpninger i skorsteinen. For Å bruke kjøkkenventilatoren pådeen matenmö det monteres et supplerende filtreringssystem basert på aktiv tull. I tillegg anbefales det Å montere platen, E (figur 1), for Å lede luftströmmen.
BRUG: Korrekt installation:
Viften har fire forskjellige ventilatorhastigheter. Bruk den høyeste hastigheten ved høy konsentrasjon av damp i kjokkenet. Det anbefales at kjokkenventilatoren slås på 5-10 minutter För matlagingsstart og slås av cirka 15 minutter etter endt matlaging.
BRUG: Korrekt luftcirkulation:
V Bruk og vedlikehold
1. Betjening
1.1 Betjeningspanel
Viften er utstyrt med sensor touchkontroll (figur 5) og et digitalt display som viser sugestyrkenivá og/eller timeraktivering.
a) Trykk paa" +" ellerr -for valg av sugestyrke.
b) Trykk på "TIMER" (pà noen modeller er "Timer" vist med et lysende "T") for à innstille timerfunksjönen (pkt. 1.2.).
c) Trykk pâ "L" for à slá lyset av ellr pâ. (ON/OFF Lys)





5
1.2 Funksjoner
Timer
a) Viften kan programmeres til à slås av automatisk etter 10-90 minutes i. intervaller á 10 minutter.
b) Timeren aktiveres ved Å trykke på ” Ⓞ ” mens viften er innstilt med den ønskede sugestyrken. LED-indikatoren blinker for Å informere om at kjøkkenventilatoren kan programmeres.
c) Trykk på "+" for Å velge innstillingen som slår av viften automatisk. Antall minutter svarer til tallet som vises i displayet multiplisert med 10 (1 = 10 min, 2 = 20 min, 3 = 30 min osv. opp til 90 min.).
d) Den ønskede innstillingen bekreftes ved Å trykke ” . LED-indikatoren stopper Å blinke og viser den innstilte tid (blinkende prikk angir tid til viften slås av).
e) Ønsker du Å slå av timerfunksjönen skal du trykke ” ð ” på ny.
NB: TIMERinnstillingen på vår avsluttet i lopet av 20 sekunder. Hvis ikke vender kjøkkenventilatoren automatisk tilbake til normal drift.
Ved strømbrudd kan det hende at viften ikke oppfatter tastaturkommandoer. Dersom dette er tilfellet kan man blnødt til á slå strømforsyningen til kjøkkenventilatoren av og på.
2. Vedlikehold
Regelmessig vedlikehold og rengjøring av kjøkkenventilatoren sikrer en god og feilfri drift og forlenger ventilatorens levetid.
2.1 Metall fettfilter
Tilbakeholder fetpartiklene som dannes under mattilbereding.
Fettfilteret rengjores med skansomme vaskemidler minst hvr 14. dag. Filteret kan ogsa vaskes i oppvaskemaskin ved lave temperaturer og med en kort oppvaskesyklus. Ved vask i oppvaskemaskin kan fettfilteret misfarges uten at dette har negativ innflytelse på filterets egenskaper.
Dra i fjærhändtaket for a demontere fettfetteret.

2.2. Kullfilter/resirkulering
Holder tilbake ubehagalige lukter fra matlaging.
Karbonfilteret kan vaskes annihilen maned (eller nár det elektroniske systemet viser at filteret er skittent – hvis din modell har这部分 funksjorden) i varmt vann og med egnede rengjøringsmidler, eller i oppvaskmaskin ved 65^
Hvis man vasker det i oppvaskmaskin ma det vaskes med full syklus uten annihil oppvask i maskinen.
Vri ut overflødig vann uten Å delegge filteret, og sett det deretter i stekeovnen ved 100^ i 10 minutter for Å tørke det ordentlig.
Skift ut "madrassen" hvert 3. År og ellers hvver gang stoffet er skadet.
Montering
a) Apne frontpanelet.
b) Fjern metall fettfetteret.
c) Fest kullfilteret innvendig på fettfilteret.
d) Monter metall fetfiltrene igjen.
2.3. Lys
Utskifting av lyspaerer:
Kjøkkenventilatoren krever jevnlig rengjøring,[bade på inn- og utsiden (minst like ofte som fettfiltrene). Benyttenuktig klut med nøytrale og skånsomme rengjøringsmidler i flytende form. Unngåprodukter som ineholder slipemidler og benytt ALDRI sprit.
Pass på: Manglende overholdelse av produits vedlikeholds- og filterskifteveiledning medforer brannfare. Det oppfords derfor til at instruksjonene følges.
För vedlikehold eller rengjöring skal kjökkenventilatoren slås av uller strømmen kobles fra.
- Rengjør og/eller skift filtrene iht. angitte tidsinterval.
- Rengjør kjkkenventilatoren med en fuktig klut og nøytrale, flytende rengjøringsmidler.
Det anbefales à unngå bruk av følgende ved normal rengjøring av kjøkkenventilatoren:
a) Våt klut eller svamp og rennende vann.
b) Oppløsningsmidler eller sprit. Disse kan gjøre lakkerte overflatter matte.
c) Etsende midler. Dette gjelder spesielt ved rengjøring av elementer i rustfritt stål.
d) Hardt, grovt stoff.
BORTSKAFFALSE
Fabrikanten fraskriver seg ethvert ansvar for eventuelle feil, skader eller brann forårsaket av apparatet, men grunnet manglende overholdelse av instruksjonene i dette bruksanvisningen.
Dette apparatet er merket i overensstemmelse med det Europeiske Direktiv 2002/96/EC, Waste Electrical and Electronic Equipment (WEEE). Elektrisk og elektronisk utstyr inneholder materialer, stoffer og komponenter som kan vare skadelige for messneskers helse, og/eller miljøskadelige, dersom kassert utstyr ikke handteres korrekt.. Elektrisk og elektronisk utstyr er merket med den nedenstående, overkryssete soppelbøtten som symboliserer at utstyret ikke bortskaffes sammen med usortert husholdningsavfall.
AlleCOMMUNER har etablerte innsamlingsordninger (gjenbruksstasjoner og andre innsamlingssteder) hvor elektrisk og elektronisk avfall kan avleveres gratis. Noen steder blir avfallet hentet direkte fra husholdningene.
Nærmere informasjon fæs hos kommunenes tekniske forvaltung.
Made in EU



4.2 Anslutning av filtrerande version
Belysningen bestar av LED Ijus.
OBS! De individuella dioderna
kan inte bytas ut.
EnkelManual