FIRENZE - Emhætte EICO - Gratis brugsanvisning og manual
Find enhedens vejledning gratis FIRENZE EICO i PDF-format.
Questions des utilisateurs sur FIRENZE EICO
0 question sur cet appareil. Repondez a celles que vous connaissez ou posez la votre.
Poser une nouvelle question sur cet appareil
Download vejledningen til din Emhætte i PDF-format gratis! Find din vejledning FIRENZE - EICO og tag din elektroniske enhed tilbage i hånden. På denne side er alle dokumenter nødvendige for brugen af din enhed offentliggjort. FIRENZE af mærket EICO.
BRUGSANVISNING FIRENZE EICO
Monterings- og brugsanvisning 4
I. Rad og anvisninger 5
II. Komponenter 7
III. Tekniske data 8
IV. Installation 8
V. Betjening og vedligeholdelse 12
Bortskaffelse 16
NORSK
INNHOLD
| INDHOLD | |
| I. Råd og anvisninger | |
| II. Komponenter | |
| III. Tekniske data | |
| IV. Installation | |
| 1. Montering (indbygget motor) | |
| 2. Montering (ekstern motor) | |
| 3. Elektrisk tilslutning | |
| 4. Drift | |
| 4.1. Tilslutning til aftrækskanal | |
| 4.2. Tilslutning af filtrerende version | |
| 4.3 Sugestyrker | |
| V. Betjening og vedligeholdelse | |
| 1.Betjening | |
| 1.1. Betjeningspanel | |
| 1.2. Funktioner | |
| 2. Vedligehold | |
| 2.1. Metal-fedtfilter | |
| 2.2. Kulffilter/recirkulation | |
| 2.3. Lys | |
| 2.4. Rengøring | |
Overhold venligst alle instruktioner i denen vegledning.
Fabrikanten frasiger sig ethvert ansvar for eventuelle fejl, skader aller brande forårsaget af apparatet, men afledt af manglende overholdelse af instruktionerne i/DDne vegledning.
Emhætten kan have et andet udseende i forhold til modellen på tegningerne i/DDne vegledning. Vejledningen til brug, vedligeholdelse og installation er dog uændret.
Der tages forbehold for trykfejl og ændrede specifikationer.
I. Råd og anvisninger
- Producenten kan/DDke holds ansvarlig for eventuelle skader, der skyldes ukorrekt eller forkert installation.
- Kontroller, at lysnetspændingen er den samme som den spænding, der er angivet mærkepladen, der sidder på inde i emhaeten.
- For Klasse I apparater skal det och kontrolleres, at elforsyningen er forsynet med jord. Ved tilslutning til elnettet 230 V skal emfanget tilsluttes ved en driftssikker stikkontakt.
- Emfangent er bestemt til at fjerne em, der opstår ved madlavning. Det skal derfor forbinds med en passende ventilationskanal. Emfangent må ikke tilsluttes en skorsten, en røgkanal eller en kanal til udstødningsgas, der er i brug. Emhætten er edulukkende beregnet til at fjerne em og lugte i køkkener i private husholdninger.
- Hojden fra induktions kogeplade og glaskeramisk kogeplade til bunden af den skrátstillede emhætte skal vare 40-45 cm. Hvis der gøres brug af gasblus, skal afstanden, ved lov, vare min 65 cm. uafhængigt af typen af emhætte.


Electrical: 400 - 450mm
Gas: 650mm
- Rørfring skal vare sa kort som mulig.
- Emhætten må ikke tilsluttes en kanal, der fører forbrændingsgasser ud i det fri (oliefyr, brændevinne etc.).
- Hvis emhætten skal anvendes i forbindelse med/DD-ektriske apparater (f.eks. gaskomfur, gaskogeblus), skal det sikres, at der er lufttilgang til rummet, sa aftræksgasserne/DD slar tilbage. KØkkenet skal have tilstrækkelig ventilation (friskluft-forsyning), med har direkte forbindelse til det fri, sa der er sikret en tilstrækkelig mængde ren luft.
- Der må ikke forekomme høj Åben ild under emhætten, mens den anwendes. Justér brænderen, sö flammerne er rettet direkte mod bunden af panden/gryden – de må ikke nà ud over kanten af bunden.
- Undgå aben ild og flambering. Retter tilberedt i fedt bør overvåges, da overophedet fedt kan antænde. Frituregryder skal under brug holdes under konstant opsyn: kogende varm olie kan sprøjte ind i flammerne.
- Emfangets fedtfiltr skal mindst rengores hver 14. dag cirka, da et fedtmættet filter er let antændelig.
- Emhætten skal rengøres oft, bade indvendigt og udvendigt (MINDST EN GANG OM MANEDEN; overhold under alle omstændigheder angivelsene i kapitet om vedligeholdelse i denne vegledning).
- Manglende overholdelse af kravene for rengoring af emhætten, og for udskifting og rengoring af filtrene, medforer brandfare.
- Sørg altid for, at stromforsyningen til emfanget er afbrudt, før du foretager rengøring, udskiftning af filret eller reparation.
- En sikker drift er kun mulig, Near det negative tryk i det rum, hvor emfanget bruges sammen med forbrændingsapparater, som bruger luft i rummet, ikke overstiger 0,004 millibar (dette punkt gælder ikke, hvis emfanget anvendes med recirkulation).
- Apparatet er ikke beregnet til at skulle anvendes af mindfulness børn, svækkede personer.uden opsyn eller personer.uden erfaring ullstrækkeligt kendskap, med mindfulness de overvåges eller oplaeres i brug af apparatet af personer, der er ansvarlige for deres sikkerhed.
- Emhætten må haverken benyttes eller afterlades,uden korrekt indsatte lyspaærer pga.fare for elektrisk stød.
- Hvis ikke installationen er fulgt korrekt eller emhætten ikke er anvendt korrekt og der meldes service, vil slutkunden modtage en regning for uberettiget servicebesøg
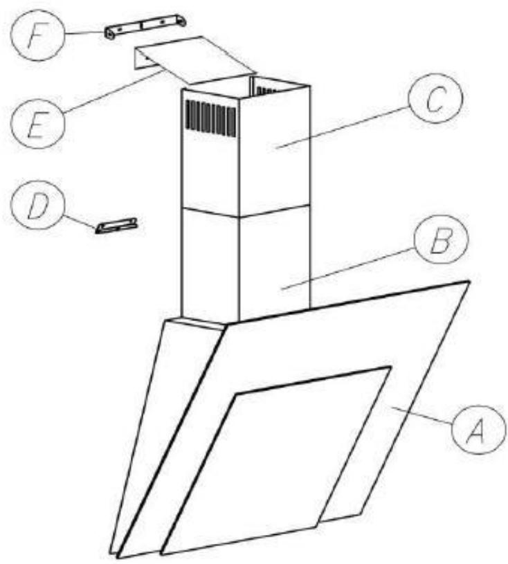
II. Komponenter
Emfanget bestär af følgende komponenter (figur 1)
- Selve emfanget A,
- Øverste C, og nederste skorstensmodul B,
- Vægbeslag F til øverste skorstensmodul C
- Ledeplade E for luftströmmen i recirculerende tilstand

| III Tekniske data | ||
| Model | ||
| FIRENZE P 60 ECO | FIRENZE P 80 ECO | |
| Spænding | AC 230V 50Hz | |
| Motorer | 1 | |
| Belysning | LED 2x3W | |
| Antal fedtfiltre | 1 | |
| Bredde [cm] | 60 | 80 |
| Dybde [cm] | 47 | |
| Højde [cm] | 91-137 | |
| Luftudtag [ø mm] | 150 | |
| Version | Aftræk eller recirkulerende | |
| Finish | Rustfrit stål / glas | |
IV. Installation
Det anbefales at emhættens installation udføres af autoriseret personale, og at man er 2 til at udføre opgaven. Med henblick på montering af hætten udføres følgende trin:
- Marker borehuller på væggen
- Afmær minimumsafstand mellem komfur og emhætte
- Bor huller i væggen og isæt rawlplugs, G og H (fig. 3)
- Monter nu emfanget, A (fig. 1)
- Tilsnut nu emfanget til aftraksrøret
- Emfangent tilsluttes lysnettet
- Montér vægbeslag F (fig. 1) i den rigtige højde
- Monter begge skorstensdele B og C (fig. 1)
- Det anbefales, at der fuges på bagsiden af den skråtstillede emhætte, lungs kanten mellem emhætten og væggen. Således at den gøres tæt og ikke suger "falsk" luft ind.
Emfanget Åbnes ved at lofte den nederste plade med to hænder ud for belysningen. Emfanget har en gas arm, der bærer vægten af glasfronten after Åbning. Det er nødvendigt at Åbne fronten for at rense fedtfiltret og udskiftning af kul-/recirculationsfilter (i recirkulerende tilstand). Inden brug er det normalt at lukke fronten igen. Den kan dog stå aben under drift.
1. Montering (indbygget motor)
a) Afmærk en lodret linje på væggen, der viser kogepladens midte.
b) Afstanden mellem hullerne og kogepladen skal beregnes sa undersiden af det færdigmonterede emfang er placeret mindst 400-450 mm over elkogeplade og 550 mm over gasblus. Afmærk placering af monteringsskruer. Placeret 370 mm fra emhættens underkant.
c) Bor de afmærkede huller med et bor, der har en diameter, der svarer til de medfolgende rawplugs. (fig. 3) G og H. Sæt rawplugs i hullerne og skru derefter skruerne fast i væggen.
d) Emfanget hænges op på skruerne.
e) Benyttes emfanget i versionen med aftræk til det fri, monteres aftræksrøret nu.
f) (NB! Ved recirculationsdrift) monter nu modulolet for regulering af luften F sammen med væg beslaget. Modulet F har til formal at lede luften ud gennem recirculationsluft udgangene i den øverste del af det øverste skorstensmodul. Brug de samme monteringsskruer.
g) Afmærk en passende højde for beslaget til skorstensdelen F (fig. 1).
h) Skorstensdelene (B og C) skubbes på plads i passende højde (fig. 1)
i) Fastgör den øverste skorstendel til beslaget F, fig. 1
j) Emfangent tilsluttes lysnettet


2. Montering (ekstern motor)
IKKE ALLE MODELLER - Er emhætten som skal monteres af typen for eksternt placeret motor, følges nedenstående:
a) Afmærk en lodret linje på væggen, der viser kogepladens midte.
b) Afstanden mellem hullerne og kogepladen skal beregnes sa undersiden af det færdigmonterede emfang er placeret mindst 400-450 mm over elkogeplade og 550 mm over gasblus. Afmærk placering af monteringsskruer. Placeret 370 mm fra emhættens underkant.
c) Bor de afmærkede huller med et bor, der har en diameter, der svarer til de medfolgende rawplugs. (fig. 3) G og H. Sæt rawplugs i hullerne og skru derefter skruerne fast i væggen.
d) Emfanget hænges op på skruerne
e) Monter aftraeksroret (kun hvis aftraek til det frij).
f) Placer motorkassen S, hvor det ønskes, f.eks. på loftet over køkkenet. Monter motorkassen.
g) Tilslut emfaget til motorkassen med 150 ventilationsluftkanalen R.
h) Sæt motorens strømforsyningskabel og netkabletammen.
i) Tilslut motorkassen S til ventilationskanalen.
j) Skorstensdelene (B og C) placeres (fig. 1)
k) Afmærk en passende højde for beslaget til skorstensdelen F (fig. 1).
I) Skorstensdelene (B og C) skubbes på plads i passende højde (fig. 1)
m) Fastgör den øverste skorstendel til beslaget F, fig. 1


3. Elektrisk tilslutning
Obs! Undersøg altid, at netkablet er blevet monteret rigtigt, før emhaettens kredsløb tilsluttes forsyningsnettet og der udfores kontrol af korrekt Funktion.
4.1 Tilslutting af aftraekskanal
Luften ledes ud i det fri vha. et aftraeksror fastgjort til samleflangen.
Emfangent tilstluttes et affraksr or og affrakshullet i vagget, som skal have en diameter, der passer til luftudugningen (studsflange).
Hvis rør og hul har en mindre diameter, forringes udsugningskapaciteten og støjen øges betydeltigt. Producenten fralægger sig ethvert ansvar i forbindelse hermed.
a) Benyt et rør, der er sá kort som muligt.
b) Benyt et rør, der har SSE kurver som muligt (max. vinkel paa kurven: 90^
c) Undgå drastiske ændringer i rørets tværsnit.
d) Benyt et rør med sá glat en inderside som muligt.
e) Rørets materialer skal vare godkendt i henhold til reglerne.
BRUG: Korrekt installation:
Brug, hvis det er muligt, altid faste aftraeksrør i din installation. Vælg den korteste mulige rørfaring og brug altid samme diameter aftraeksrør og taghætte, som diameteren på emhættens aftraæk. Lav aldrig 90 graders bøjning i flexslange - brug fast aftraeksrør i stedet.
Korrekt brug af emhætte med aftræk:
Det er vigtigt at du starter din emhætte på niveau 2, mindst 5-10 minutter För du tænder din kogeplade.
4.2 Tilslutning af filtrerende version
Når emfanget er installereret til at virke med recirculation, affedtes luften og lugten fjernes, før den indsugede luft returneres tilbage til rummet gennem abninger i skorstenen. For at benytte emhætten i/DDne udgave skal der monteres et supplerende filtreringssystem baseret på aktiv kul. Desuden er montering af pladen E (fig. 1) anbefalet til at lede luftstrømmen.
BRUG: Korrekt luftcirkulation:
Aben et vindue aller en dør, mindst 6 meter fra din emhætte, nár du starter deutsche. Hvis ikke det er muligt, kanindre afstand anvendes. Emhætten brø køre ca. 15 minutter påiveau 2, after at du er færdig med at bruge din kogeplade.
Korrekt drug af emhætte til recirculation: Hvis du ikke har mulighed for at lave udblæsning til det fri kan recirculation anvendes. Her skal alt friskluftstilførsel ære lukket under drug. De fleste EICO emhætter leveres med mulighed for recirculation.
4.3 Sugestyrker
Emfanget har 4 ventilatorhastigheder. Benyt den højeste hastighed ved stor dampkoncentration i køkkenet. Det anbefales, at man tænder udsugningen 5-10 minutesør pabegyndelse af madlavning, og at udsugningen afterladesændt i yderligere cirka 15 minutter after aflsutning af madlavningen.
Emfangent er udstyret med sensor touch control (fig. 5) og et digitalt display som viser niveau for sugestyrke og/eller aktivering af timeren.
a) Taste ^, + , ^ ,-Valgaf sugestyrke.
b) Taste „ ” „TIMER“ (i nogen modeller er "Timer" vist med et lysende "T") - anwendes til at indstille timer-funktionen (pkt. 1.2).
c) Taste „L” - ON/OFF Lys. Tryk på tasten for at tände eller slukke lyset.

5
1.2 Funktioner
Timer
a) Emfangent kan programmeres til automatisk slukning after 10-90 minutter - i intervaller af 10 minutter.
b) Timeren aktiveres ved at trykke på tasten „ ” mens emfanget er indstillet ved den ønskede sugestyrke. LED individatoren blinker for at indikere at emfanget kan programmeres.
c) Tryk på tasten "+" og indstillingen for valg af automatisk sluk (antal minutter) svarer til det viste tal i displayet - gange med 10. (f.eks.: 1=10 min, 2=20 min, 3=30 min, osv. - max. 90 min.).
d) Den ønskede indstilling fuldfores ved at valget bekrafteres med "Tasten. LED individatoren stopper med at blinke og viser den indstillede tid. (blinkende prik angiver tid til at slukke emfanget).
e) Ønsker du at slukke for timerfunktionen, skal du atter trykke på tasten "
BEMÆRK: TIMER - Indstilling mæ værø afsluttet inden for 20 sekunder, ellers vil emfanget automatisk vende tilbage til normal drift.
Ved strømsvigt eller nedbrud, kan det forekommen at emfanget ikke længere opfatter kommandoer fra tastaturet. I sö fald er nød til at afbryde encheden fra stromforsyningen, og derefter tilsluttes ingen til koldstart.
2. Vedligehold
Regelmaessig vedligeholdelse og rengøring af emfanget sikrer en god og fejlfri drift og forlaenger emfangets levetid
2.1 Metal-fedtfilter
Tilbageholder de fedtpartikler, der dannes under tilberedning af mad.
Fedtfilteret skal rengøres med milde vaskemidler mindst hver 14. dag cirka. Filteret kan også vaskes i opvaskemaskine ved lave temperaturer og med en kort opvaskecyklus.
Ved vask i opvaskemaskinen kan metal-fedtfilteret blive misfarvet, men dette vil...,\ ikke have negativ indflydelse på dets filtrerende egenskaber.
Træk i fjederhändtaget for at afmontere ferttfilteret.

Kulfilter benyttes kun när emfaget er installereret til at virke med recirkulation i stedet for med affrak til det fri.Den indsugede luft affedtes og lugten fjernes, før luften sendes tilbage i lokalet. For at benytte emhætten i dette udgave skal der monteres et supplerende filtreringssystem baseret på aktiv kul.
Kulfilter
a) Filteret opfanger lugt fra madlavning.
b) Filtertypen til dette emfang er med aktivt kul og kan IKKE vaskes ell genanvendes.
c) Kulfilteret skal udskiftes hver 4. maned - ell er afhengig af brug.
Montering
a) Abn frontpanelet.
b) Fjern metalfedtfiltrene.
c) Sæt kulfiltret fast indvendigt på fedtfiltret.
d) Pamonter metal fedtfiltrene igen.

2.3. Lys
Udskifting af paere:
Belysningen bestar af LED lys.
NOTE! De individuelle dioder kan/DD
Hvis det bliver nødvendigt at skifte LED lys,
má hele "spotten" byttes ud., at lampen
er korrekt indsat i fatningen,
før der rettes henvendelse til et servicecenter.

2.4. Rengoring
Emhæten skal rengøres jegnligt[bade på ydersiden og på indersiden (mindst med samme frekvens som for vedligeholdelse af fedtfiltrene). Ved rengøring skal man anvende en klud fugtet med neutrale, milde rengøringsmidler i flydende form.
Undgå brug afprodukter indeholdende slibemidler BENYT ALDRIG SPRIT!
Pas pa: Manglende overholdelse af vejledningen til rengoring af apparatet og udskiftning af filtre medforer brandfare. Der henstilles saledes til, at instruktionerne følges.
Inden apparatet skal vedligeholdes eller rengøres, skal der slukkes for det ull stikket skal tages ud af stikkontakten.
- Rengør og/eller udskift filtrene iht. det angivne tidsinterval.
- Rengør emhætten med en fugtig klud og et neutralt flydende rengøringsmiddel.
Ved almindelig rengøring af emfanget undgå da at bruge:
a) vãd klud ellr svamp og rindende vand
b) oplosningsmidler erler sprit, der kan gore lakerede overflader matte
c) aetsende midler, især ved rengøring af rustfri stalelementer
d) hards, groft stof.
BORTSKAFFALSE
Fabrikanten fralægger sig ethvert ansvar for eventuelle fejl, skader aller brand forårsaget af apparatet, men afledt af manglende overholdelse af instruktionerne i/DDne vegledning.
Dette apparat er mærket i overensstemmelse med det Europæiske Direktiv 2002/96/EC, Waste Electrical and Electronic Equipment (WEEE).
Elektrisk og elektronisk udstyr indeholder materiale,komponenter og stoffer, der kan vare skadelige for messneskers sundhed og for miljøet,hvis kasseret elektrisk og elektronisk udstyr ikke händteres korrekt.
Elektrisk og elektronisk udstyr er mærket med nedenstaende overkrydsede skraldespand . Den symboliserer, at elektrisk og elektronisk udstyr ikke må bortskaffesammen med usorderet husholdningsaffald, men indsamles sørskilt.
AlleCOMMuner har etableret indsamlingsordninger, hvorelektrisk og elektronisk udstyr Gratis kan afleveres af borgerne pa genbrugsstationer og andre indsamlingssteder erller bliver afhentet direkte fra husholdningerne.
I. Råd og anvisninger
- Produsenten er ikke ansvarlig for eventuelle skader som følgge av ukorrekt eller feil installationsjon.
- Kontroller at strømnettets penning er den samme som den angitte penningen på merkeplateninne i kjøkkenventilatoren.
- For Klasse I-apparater må det och kontrolleres at strømforsyningen er jordet. Ved tilkoblig til strømnette (230 V) må viften kobles til en driftsikker stikkontakt.
- Viften er produsert for Å fjerne os som oppstår under matlaging, og må derfor kobles til en egnet ventilasjonskanal. Viften må ikke kobles til en skorstein, røykkanal eller en kanal til utstøtningsgass som allerede er i bruk. Kjøkkenventilatoren er utelukkende beregnet til Å fjerne os og lukt i kjøkkener i private husholdninger.
- Hojden fra induktions kogeplade og glaskeramisk kogeplade til bunden af den skrátstillede emhætte skal vare 40-45 cm. Hvis der gøres brug af gasblus, skal afstanden, ved lov, vare min 65 cm. uafhængigt af typen af emhætte.


Electrical: 400 - 450mm
Gas: 650~mm
- Marker borehull på veggen.
- Marker minimumsavstand mellom komfyr og kjokkenventilatoren.
- Bor hull i veggen og sett inn pluggene, G og H (figur 3).
- Monter kjokkenventilatoren, A (figur 1).
- Koble kjokkenventilatoren til avtrekksrøret.
- Koble kjokkenventilatoren til strømnettet.
- Monter veggeslaget, F (figur 1), i korrekt høyde.
- Monter begge skorsteinsdelene B og C (figur 1)
- Det anbefales, at der fuges på bagsiden af den skråtstillede emhætte, lungs kanten mellem emhæften og væggen. Således at den gøres tæt og ikke suger "falsk" luft ind.
Emfanget Åbnes ved at lofte den nederste plade med to hænder ud for belysningen. Emfanget har en gas arm, der bærer vægten af glasfronten after Åbning. Det er nødvendigt at Åbne fronten for at rense fedtfiltret og udskiftning af kul-/recirculationsfilter (i recirkulerende tilstand). Inden brug er det normalt at lukke fronten igen. Den kan dog stå aben under drift.
1. Montering
Brug, hvis det er muligt, altid faste aftraksrør i din installation. Vælg den korteste mulige rørføring og brug altid samme diameter aftraksrør og taghætte, som diameteren på emhættens aftræk. Lav aldrig 90 graders bøjning i flexslange - brug fast aftraksrør i stedet.
Korrekt brug af emhætte med aftræk:
Det er vigtigt at du starter din emhætte på niveau 2, mindst 5-10 minutter før du tænder din kogeplade.
4.3 Sugestyrker
Aben et vindue aller en dør, mindst 6 meter fra din emhætte, nár du starter deutsche. Hvis ikke det er muligt, kanindre afstand anvendes. Emhæten brø køre ca. 15 minutter på niveau 2, after at du er færdig med at bruge din kogeplade.
Korrekt drug af emhætte til recirculation: Hvis du ikke har mulighed for at lave udblæsning til det fri kan recirculation anvendes. Her skal alt friskluftstilførsel��e lukket under drug. De fleste EICO emhætter leveres med mulighed for recirculation.
NB! De individuelle diodene kan ikke skiftes.
Hvis det blir不同程度 skifte LED-lys på het "spotten" byttes.

2.4. Rengjoring
Brug, hvis det er muligt, altid faste aftraksrør i din installation. Vælg den korteste mulige rørføring og brug altid samme diameter aftraksrør og taghætte, som diameteren på emhættens aftræk. Lav aldrig 90 graders bjøjning i flexslange - brug fast aftraksrør i stedet.
Korrekt brug af emhætte med aftræk:
Det er vigtigt at du starter din emhætte på niveau 2, mindst 5-10 minutes für du tænder din kogeplade.
Aben et vindue aller en dør, mindst 6 meter fra din emhætte, nár du starter deutsche. Hvis ikke det er muligt, kanindre afstand anvendes. Emhætten brøkøre ca. 15 minutter påiveau 2, after at du er færdig med at bruge din kogeplade.
Korrekt drug af emhætte til recirculation: Hvis du ikke har mulighed for at lave udblæsning til det fri kan recirculation anvendes. Her skal alt friskluftstilførsel være lukket under drug. De fleste EICO emhætter leveres med mulighed for recirculation.
4.3 Sugkraft
Emfangent er udstyret med sensor touch control (fig. 5) og et digitalt display som viser niveau for sugestyrke og/eller aktivering af timeren.
d) Taste , + " , , - " , - Valg af sugestyrke.
e) Taste „ ” “TIMER” (i nogen modeller er "Timer" vist med et lysende "T") - anvendes til at indstille timer-funktionen (pkt. 1.2).
f) Taste „L” - ON/OFF Lys. Tryk på tasten for at tände eller slukke lyset.

5
1.2 Funktioner
Timer
f) Emfanget kan programmeres til automatisk slukning after 10-90 minutter - i intervaller af 10 minutter.
g) Timeren aktiveres ved at trykke på tasten „ Ⓞ" mens emfanget er indstillet ved den ønskede sugestyrke. LED individatoren blinker for at indikere at emfanget kan programmeres.
h) Tryk på tasten "+" og indstillingen for valg af automatisk sluk (antal minutter) svarer til det viste tal i displayet - gange med 10. (f.eks.: 1=10 min, 2=20 min, 3=30 min, osv. - max. 90 min.).
i) Den ønskede indstilling fulføres ved at valget bekræftes med "Tasten. LED indicatoren stopper med at blinke og viser den indstillede tid. (blinkende prik angiver tid til at slukke emfanget).
j) Ønsker du at slukke for timer Funktionen, skal du atter trykke på tasten
NemManual