FIRENZE - Köksfläkt EICO - Gratis bruksanvisning och manual
Hitta enhetens manual gratis FIRENZE EICO i PDF-format.
Questions des utilisateurs sur FIRENZE EICO
0 question sur cet appareil. Repondez a celles que vous connaissez ou posez la votre.
Poser une nouvelle question sur cet appareil
Ladda ner instruktionerna för din Köksfläkt i PDF-format gratis! Hitta din manual FIRENZE - EICO och ta tillbaka ditt elektroniska enhet i hand. På denna sida publiceras alla dokument som behövs för att använda din enhet. FIRENZE av märket EICO.
BRUKSANVISNING FIRENZE EICO
Monterings- och användarmanual 30
I.Rad och anvisingar 31
II.Delar 33
III. Tekniska data 34
IV. Installation 34
V.Drift och underhäll 38
Kassering 42
ENGLISH
CONTENTS
Viften bestär av følgende komponenter (figur 1)
- Selve viften A,
- Øverste C, og nederste skorsteinsmodul B,
- Veggbeslag F til overste skorsteinsmodul C
- Ledeplate E for luftströmmen i resirkuleringstilstand

Belysningen bestär av LED-lys.
| INDHOLD | |
| I. Råd och anvisningar | |
| II. Delar | |
| III. Tekniska data | |
| IV. Installation | |
| 1. Montering (inbyggd motor) | |
| 2. Montering (extern motor) | |
| 3. Elektrisk anslutning | |
| 4. Drift | |
| 4.1. Anslutning till römkanal | |
| 4.2. Anslutning av filtrerande version | |
| 4.3 Sugkraft | |
| V. Drift och underhäll | |
| 1. Drift | |
| 1.1. Instrumentbrända | |
| 1.2. Funktioner | |
| 2. Underhäll | |
| 2.1. Metall fettfilter | |
| 2.2. Kolfilter/recirculation | |
| 2.3. Ljus | |
| 2.4. Rengöring | |
Följ alla instruktioner i manualen.
Tillverkaren fransager sig allt ansvar for eventuella fel, skador erler bränder orsakade av Produkten, men som harstammar fran felaktig aller avsaknad av skötsel och underhäll enligt beskrivningarna i den HAR manualen.
Fläkten kan ha att annorlunda utseendeän modellerna på bilderna och rittingarna i den har manualen. Beskrivningarna for användning, underhäll och installation Förblir oändrade
Med forbehäll for eventuella tryckfel och reiderade specifikationer.
I. Råd och anvisningar
- Tillverkaren kan inte hãllas ansvarig for eventuella skador som kommt till följd av felaktig installation av Produkten.
- Kontrollera att natspänngen overensstämmer med spänngen som stångivet på markplattan som sitter inne i fläkten.
- För Klass Iprodukter ske det också kontrolleras att strömledningen ar med jord. Vid anslutning till elnätet 230 V ske fläkten anslutas med ett driftsakert eluttag.
- Fläkten är avsedd att rensa os och rester i luften som uppstår under matlagningen. Den skä därfor kopplas till en passande ventilationskanal. Fläkten fär inte anslutas till en skorsten, en rökkanal eller en kanal till avgaser som används. Fläkten skä endast användas till att rensa matos och lukt是从 kök i privata hushäll.
- Hjden fra induktions kogeplade og glaskeramisk kogeplade til bunden af den skrátstillede emhætte skal vare 40-45 cm. Hvis der gøres brug af gasblus, skal afstanden, ved lov, vare min 65 cm. uafhængigt af typen af emhætte.


Electrical: 400 - 450mm
Gas: 650~mm
- Rörledingarna ske hällas sä korta som möjligt.
- Fläkten fär aldrig anslutas till en kanal som leder Förbränningsgaser ut i luften (oljepannor, eldstäder etc.)
- Om fläkten ske användas i förbindelse med iche-elektriska maskiner (t.ex gasspis, gaskokplattor) måste det garanteras att finnas luftinsug till rummet, sö avgaserna intekommen tillbaka. Köket skaa alltid sörjas För att ha tillräcklig ventilation (frisklufts ventilation) och med direkt forbindelse till frisk luft utanfor sö det alltid finns tillräckligt med ren frisk luft.
- Det fär aldrig uppsta höga flammor med levande eld under fläkten medan fläkten ar i gang. Justera brännaren sä flammorna riktas mot botten av pannan eller grytan - de fär aldrig komma ut over kanten av botten.
- Undgå att laga mat med öppen eld och flambering i narheten av fläkten. Maträtter som lagas i fett sca alltid övervakas noga aftersom uppvärmd fett kan vara lättantändigt. Frityrgrytor sca alltid hallas under konstant översikt: kokande varm olja kan spruta in i flammorna.
- Fläktens fettfilter skal alltid rengöras var 14. dag cirka. Ett fätt-mattat filter ar mycket brandfarligt eftersom det ar lättantändigt.
- Fläkten skara rengöras ofta, bade invändigt och utvändigt (MINST EN GÁNG I MÁNADEN; var noga med att alltid följa alla instruktioner som stär angivet i manualen omkring skötsel).
- Felaktig aller avsaknad av skötsel och rengöring av fläkten eller utbyte och skötsel av filtren är en brandrisk.
- Se alltid till att strömmen till fläkten är avslagen innan du böjr med rengöring, utbyte av filter eller reparation av fläkten och fläktens delar.
- Säker drift av fläkten är endast möjgt;när det negativa trycket i rummet dän fläkten används ihop med forbränningsmaskiner som använder luft frän rummet, inte overstiger 0,004 millibar (detta gäller inte om fläkten används med recirculation).
- Fläkten ska inte användas avindre barn, osäkra personerutan overvakning eller personerutan erfarenhet erller tillräcklig kunskap, om de inte overvakas eller fär tillräcklig utbildning av användning avprodukten av personer som tar ansvar for deras sakerhet.
- Fläkten fär varken användas eller lämnas utan ordentligt isatta glödlampor För att undvika risk for elstötar.
- Hvis ikke installationen er fulgt korrekt eller emhætten ikke er anvendt korrekt og der meldes service, vil slutkunden modtage en regning for uberettiget servicebesøg
II. Delar
Fläkten bestär av följande delar (bild 1)
- Själva fläkten A,
- Övre C och nedre skorstensdel B,
- Väggbeslag F till övre skorstensdel C
- Ledbana E for luftbanor i recirkulerande tillständ

| III Tekniska data | ||
| Modell | ||
| FIRENZE P 60 ECO | FIRENZE P 80 ECO | |
| Spanning | AC 230V 50Hz | |
| Motorer | 1 | |
| Belysning | LED 2x3W | |
| Antal fettfilter | 1 | |
| Bredd [cm] | 60 | 80 |
| Djup [cm] | 47 | |
| Höjd [cm] | 91-137 | |
| Luftuttag [ø mm] | 150 | |
| Version | Extraktion aller recirculerande | |
| Finish | Rostfrit stål / glas | |
IV. Installation
Installation av fläkten bör endast utföras av autoriserade personal, och man måste vara minst två stycken till att klara installationen. Monitoring av fläkten utförs med foljande steg:
- Markera borrhalen på vagggen
- Markera minimumavstandet mellan spisen och fläkten
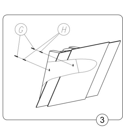
- Borra halen i väggen och satt i rawlplugs, G och H (fig. 3)
- Montera nu flakten A (fig. 1)
- Anslut fläkten till avgasröret
- Anslut fläkten till elnätet
- Montera vaggbeslaget F (fig. 1) i den ratta hojden
- Montera bǎda skorstensdelarna B och C (fig. 1)
- Det anbefales, at der fuges på bagsiden af den skråtstillede emhætte, langs kanten mellem emhætten og væggen. Således at den gøres tæt og/DD: ikke suger "falsk" luft ind.
Fläkten öppnas genom att lyfta den nedersta plattan, med två händer, ut frän belysningen. Fläkten har en gas arm som bär vikten av glasfronten after öppnandet. Det är nödvändigt att öppna framsidan for att rensa fettfiltret och byta ut kol-/recirculationsfiltret (i recirculerande tillståd). Innan användning ar det normalt att stänga framsidan ivgen. Den kan dock/Stå öppen okså under drift.
1. Montering (inbyggd motor)
a) Markera med en lodrät linje på väggen som visar kokplattans mitt.
b) Avständet mellan hålen och kokplattan ska beräknas sá undersidan av den monterade fläkten ar placerad minst 400-450 mm over el-kokplattan och 550 mm over gas. Markera placeringen av hålen till monteringsskruvarna. Placerade 370 mm是从 fläktens unterkant.
c) Borra de avmarkerade hålen med ett borr som har en diameter som svarar till de medfoljande rawplugs. (fig. 3) G och H. Satt rawplugs i hålen och skruva sedan fast skruvarna in i väggen.
d) Fläkten kan nu hangas upp på skruvarna.
e) Om fläkten används med utlopp i friska luften, ská avloppsröret monteras på nu.
f) (OBS! Vid recirculationsdrift) montera nu delen for regulering av luften F
g) tillsammans med vaggbeslaget. Delen F har funktionen att leda luften ut genom recirculationsluftsutgangarna i den oversta delen av det övre skorstensdelen. Använd sama monteringsskruvarna.
h) Markera en passande hochd for fatest till skorstensdelen F (fig. 1)
i) Skorstensdelarna (B och C) trycks på plats i passande höjd (fig. 1)
j) Fäst den übersta skorstensdelen till fästet F , fig. 1.
k) Anslut fläkten till elnätet.


2. Montering (extern motor)
INTE TILLGÄNGLIG TILL ALLA MODELLER - Om fläkten som ska monterasär en modell med en extern motor, skafjande utföras:
a) Markera en lodrät linje på väggen som visar kokplattans mitt.
b) Avständet mellan hålen och kokplattan ska beräknas sö undersidan av den monterade fläkten ar placerad minst 400-450 mm ovanfor el-kokplattan och 550 mm over gas. Markera placeringen av hålen till monteringsskruvarna. Placerade 370 mm från fläktens underkant.
c) Borra enligt de markerade hälen med att borr som har en diameter som svarar till de medfoljande rawplugs. (fig. 3) G och H. Satt rawplugs i hälen och skruva sedan fast skruvarna in i viggen.
d) Fläkten hangs nu upp på skruvarna.
e) Montera avgasröret (endast om utloppet ár ut i den fria luften)
f) Placera motordelen S)där du önskar, t.ex på taket ovanfor koket. Montera motordelen.
g) Anslut fläkten till motordelen med dia 150 ventilationsluftskanalen R.
h) Koppla motorens strömkabel ihop med nätkabeln.
i) Anslut motordelen S till ventilationskanalen.
j) Skorstensdelarna (B och C) placeras (fig. 1)
k) Markera ut en passande hojd for fcastet till skorstensdelen F (fig. 1)
I) Skorstensdelarna (B och C) trycks på plats i passande Höjd (fig. 1)
m) Fäst det övre skorstensdelen till fästet F , fig. 1


3. Elektrisk anslutning
OBS! Var alltid noga med att kontrollera att nätkablarna har blivit ordentlich monterade innan fläktens nätdel ansluts till elnätet och det gös en total funktionskontroll. När fläkten ar ansluten till elnätet bör du alltid kontrollera att ljus och motor fungerar ordentlich.
4. Drift
4.1 Anslutning av rokkanal
Luften leds ut i friska luften via ett avgasrör anslutet till anslutningsflänsen.
Fläkten ansluts till avgasröret och utloppsröret i vöggen, som måste ha en diameter som överensstämmer med luftutsugningen.
Om rör och hål har en mindre diameter, förminskas utsugningseffekten och bullret ökar avsevärt. Tillverkaren fransäter sig allt ansvar i de situationer.
a) Använd att sä kört rör som möjigt
b) Använd ett rör som har sä fä kurvor som möjigt (max. vinkel på kurvorna 90^ )
c) Undvik drastiska andringar i rorets tvärsnitt
d) Använd att rör med sä glatt insida som möjglich
e) Rörets material skara var godkänd enlicht gällande regler
BRUG: Korrekt installation:
När fläkten ar installerad till att fungera med recirculation blir luften avfettad och lukten forsvinner innan den insugna luften förs tillbaka ut i rummet genom öppninger i skorstenen.
For att anvanda fläkten i den versionen ska det monteras ett extra filtreringssystem som ar baserad på aktiv kol. Dessutom hjälper montering av de medfoljande plattan E (fig. 1) med att leda luftströmmen rätta vägen.
BRUG: Korrekt luftcirkulation:
Fläkten ar utrustad med 4 olika hastigheter. Använd endast de höga hastigheterna vid stor Ångkoncentration i köket. Det rekommenderas av man startup utsugningen 5-10 minutes innan matlagningen, och att lata fläkten varapåslagen i ytterligare omkring 15 minutesfter matlagningen ar avsutad.
V Drift och underhäll
1. Drift
1.1 Instrumentbräda
Fläkten ar utrustad med sensor touch kontroll (fig. 5) och en digital display som visar nivån for sugkraften och/eller aktivering av timer.
a) Knapp ^, + , - ^, -, - - Val av sugkraft.
b) Knapp „, TIMER" (på nagra modeller visas "Timer" med ett lysande "T")
används till att ställa in timer-funktionen (pkt. 1.2).
c) Knapp „L” – ON/OFF Ljus. Tryck på knappen För att tända och släcka ljuset.

5
1.2 Funktioner
Timer
a) Fläkten kan programmeras till att automatiskt stängas av after 10-90 minutes - i 10 minuters intervaller.
b) Timern aktiveras genom att trycka på knappen „ Ⓞ ” och fläkten ställs in till den önskade sugkraften. LED lampan blinkar für att visa att fläkten nu kan programmeras.
c) Tryck på knappen "+" och inställningarna für val av automatisk avstängning (antal minutes) motsvarar talet i displayen - gänger 10 (t.ex: 1=10 min, 2=20 min,
d) 3 = 30min ,osv.-max.90 min.)
e) Den önskade installingen bekräfts med " Ⓞ "-knappen. LED lampan slutar med att blinka och visar den installda tiden. (En blinkende prick anger tid till att stänga av fläkten).
f) Om du vill avsluta timerfungtionen ske du trycka på knappen " Ⓞ " en gängtill.
OBS: TIMER inställingen@mastevara avsuten inom 20 sekunder. Annarskommen flakten automatiskt att gà tillbaka till normal drift.
Vid strömavbrott erer annat avständt lage, kan det hända att fläkten inte langre lyder på kommando frän knapparna. I sö fall maste fläkten kopplas helt bort frän elnätet och sedan anslutasigen som en fullständig omstart.
2. Underhäll
Regelbunden underhäll och rengöring av fläkten särkrar god och felfri drift och förlänger fläktens livstid.
2.1 Metal fettfilter
Behaller fetpartiklarna som bildas under matlagningen.
Fettfiltret skarengoras med milt tvattmedel minst var 14.dag cirka.
Filtret kan också diskas i diskmaskin på laga temperaturer och med kort program.
Vid disk i diskmaskinen kan metall fettfiltret bli missfargad, men detkommen inte att ha nàgon negativ paverkan på filtrets egenskaper.
Dra i fjaderhandtaget for att avlagsna fetfiltret.


2.2. Kolfilter/recirculation
Kolfiltret fangar upp obehagiga odorer som uppstär i samband med matlagningen.
Kolfiltret kan tvättas varannan帽子 (eller Near indikatorn for filtres mättning - om södan finns på er modell - anger att detta är nödvändigt) med varmt vatten och ett lämpligt rengöringsmedel, eller i diskmaskin med 65^ .
Om filtret diskas i diskmaskin skull ett fullständigt program körasutan annan disk i maskinen.
Avlagsna allt overflödt vatten utan att skada filtret och torka det)därefter iugnen med 100^ i 10 minuter.
Byt ut dynan vart tredje ar och varje gang filten skadats.
Montering
a) Oppna frontpanelen.
b) Ta bort metall fetffiltren.
c) Satt fast kolfiltret invändigt på fettfiltret.
d) Montera pa metall fettfiltren igen.
2.3. Ljus
Byta av lampor:
Om det blir nödvändigt att byta
ut LED Ijusen maste hela "spotten" bytas ut.

2.4. Rengöring
Fläkten ske rengöras regelbundet både på utsidan och på insidan (minst med sama frekvens som vid underhäll av fettfiltren). Vid rengöringen skan man använda en trasa fuktad med neutrala, milda rengöringsmedel i flytande form. Undvik att använda nagraprodukter som innehäller slipmedel ANVÄND ALDRIG SPRIT!
Viktigt: Brist på fälld av beskrivningen i manualen für rengöring avprodukten och utbyte av filter leder till allvarlig brandrisk. Det rekommenderas att alla instruktioner i manualen fälls noga.
Innan Produkten ske rengöras ar det viktigt att se till att strömmen ar avslagen erer att kontakten har dragits ut ur vaggkontakten.
- Rengör och/eller byt ut filtren enligt angivet tidsinterval.
- Rengör fläkten med en fuktig duk och att neutral flytande rengöringsmedel.
Vid normal rengöring av fläkten undgå att använda:
a) vát duk ellersvamp och rinnande vatten
b) upplösningsmedel aller sprit, som kan góra lackerade ytor matta
c) fratande medel, specielt vid rengöring av rostfria stäfläktar
d) hards, grova medel
KASSERING
Tillverkaren fransager sig allt ansvar for eventuella fel, skador aller brand som orsakas av Produkten, till foljd av brist på korrekt hanterande avprodukten enigt instruktionerna i den har manualen.
Produkten ar märkt enligt bestammelserna for det Europeiska Direktiv 2002/96/EC,
Elektronik och elektroniskaprodukter innehälter material, delar och ämnen som kan vara skadliga für människans hälsa och für miljön, om kassering av elektronik och elektroniskaprodukter inte görs korrekt.
Elektronik och elektroniskaprodukter skara vara märkta med den överkorsade papperskorgen. Det symboliserar att elektronik och elektroniskaprodukterna inte fär kasseras tillsammans med osorderade hushållsavfall,utan skaa smlas in som separat avfall.
AllaCOMMUNER har speciella insamlingscentraler darr elektronik och elektroniskaprodukter Gratis kan lamnas in av medborgarna pa atervinningsstationer och andra liknande platser.
För narmare information, kontakta kommunens tekniska Förvaltning.
Made in EU



EnkelManual