BIGTEL 40 PLUS - Telefoon Amplicomms - Gratis gebruiksaanwijzing en handleiding
Vind de handleiding van het apparaat gratis BIGTEL 40 PLUS Amplicomms in PDF-formaat.
Gebruikersvragen over BIGTEL 40 PLUS Amplicomms
0 vraag over dit apparaat. Beantwoord die u kent of stel uw eigen vraag.
Stel een nieuwe vraag over dit apparaat
Download de handleiding voor uw Telefoon in PDF-formaat gratis! Vind uw handleiding BIGTEL 40 PLUS - Amplicomms en neem uw elektronisch apparaat weer in handen. Op deze pagina staan alle documenten die nodig zijn voor het gebruik van uw apparaat. BIGTEL 40 PLUS van het merk Amplicomms.
GEBRUIKSAANWIJZING BIGTEL 40 PLUS Amplicomms
1 Veiligheidsinstructies
Handleiding
Lees de gebruikshandleiding zorgvuldig door en bewaar ze.
Rechtmatig gebruik
Deze telefoon is bedoeld om te telefoneren via een analoog telefoonnetwerk. Elk ander gebruik geldt als onrechtmatig gebruik. Zelf uitgevoerde wijzigingen aan het toestel zich verboden. Open nooit zich het toestel en probeer het nooit zich te repareren.
Installatieplek
Voorkom verontreiniging door rook, stof, trillingen, chemische producten, vochtigkeit,itte of direct zonlicht.
Compatible met gehoorapparaten
De telefoon is dankzij de Premium-hoorn uiterst geschikt voor met gehoorapparaten en is compatibel met de meeste in de handel beschikbare gehoorapparaten. Wegens de grote keuze aan gehoorapparaten können wechter geen garantie bieden voor een correcte werkung met elk individuel gehoorapparaat.
Opgelet: Deze telefoon kan heel hoge geluidsvolumes weergeven wonneer de versterker ingeschakeld is en het volume op maximum ingesteld staat. Wees voorzichtig wonneer u wisseltussen gebruikers met normalaal gehoor en gebruikers met verminderd gehoor.
Gescheiden inzameling
Als u het apparaat wilt afdanken, brengt u het maar een inzamelingspunt (bijvoorbeeld KCA-depot). Volgens de wet op elektrische en elektronische apparaten zijn eigenaars van oude apparaten verplicht om oude elektrische en elektronische apparaten maar een gescheden afvalinzameling te brengen. Het pictogram betekent dat u het apparaat in geen geval bij het huisvuil magplaatsen!
Gevaar voor de gezondheid en het milieu door accu's en batterijen!
Maak accu's en batterijen nooit open. Voorkom beschadiging en inslikken en LASTZe Niet in het milieu terechtkomen.Ze kennen giftige zware metalen bevatten die schadelijk zich voor het milieu. U bent wettelijk verplicht om accu's en batterijen maar verkooppunten van deze producten ofaar officieleinzamelingspunten te brengen, waarinzamelingsbakkenkaar staan en kosteloze en veilige afvoer gewaarborgd is.De afvoer is kosteloos.De pictogrammen beteken dat u accu's en batterijen in geen geval in het huisvuil mag gooien en dat ze viainzamelingspunten要去en worden afgevoerd.
Verpakkingsmaterialen voert u volgens deplaatselijke voorschriften af.


DE TELEFOON IN WERKING STELLEN
2 De telefoon in werking stellen
Veiligheidsinstructies
Opgelet: Lees voordat u de telefoon in werking stelt de veiligheidsaanwijzingen in hoofdstuk 1.
Inhoud van de verpakking controleren
1 telefoo
1 Premium-hoorn
1 spiraalkabel voor de hoorn
1 telefoonaansluitingskabel
1 wandmontagehouder
1 gebruikshandleiding
Het basistoestel aansluten
Sluit de telegram aan zoals weergegeven in de tekening. Gebruik uitsluitend de meegeleverde telefoonkabel, want met andere kabels werkt de telefoon möglichn nicht.

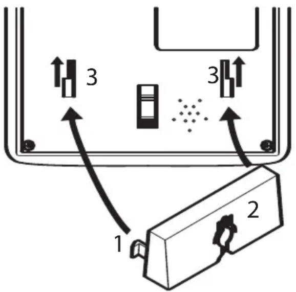
Het tafeltoestel op een wand monteren
Uw telefoon is geschikt voor montage op een wand. Om de telefooon op de wand te monteren, hebt u twee schroeven nodig.
Steek de haken (1) van de wandbeugel (2) in de gleuven (3) op de achechterkant van de telefoon. Schuif de wandbeugel (2) 10mm maar boven totdat hij hoorbaar vastklikt.
Waarschuwing: In de buurt van de te boren gaten mogen zich geen leidingen (kabel, waterleidingen etc.) bevinden.
Boor twee gaten op een gegaste afstand van elkaar en draai de schroeven erin tot ze nog 5 mm uit de wand steken. Hang de telefoon met behulp van de ophangvoorzieningen aan de schroeven en trek de telefoon een beetje waar onderen.
Draai de hoornhaak (4) 180^ om zodate u er de hoorn op kunt hangen.


3 Bedieningselementen


1 Geheugentoetsen
2 Snelkiestoetsen
3 R-toets
4 Nummerherhaling/Pauze
5 Hoornvolume versterken +40 dB
6 Rinkelindicator
7 Nummer opslaan
8 Draaiknop hoornvolume (verborgen onder Premium-hoorn)
9 Schuifregelaar rinkelvolume
10 Schuifregelaar beltoon
11 Schuifregelaar microfoonvolume
12 Schuifregelaar klank
13 Ingang voor telefoonkabel
4 Telefoneren
Bellen
1 Hef de hoorn op.
2 Voer het telefoonnummer inclusief netnummer (max. 32 cijfers)
Numerherhaling
Uw telefoon slaat hetIRST gekozen telefoonnummer op. Hef de hoorn op en druk op
Snelkiestoetsen
U kunt de snelkiestoetsen gebruiken om direct een nummer te kiezen of om eenoodnummer in op te slaan. Daartoe要去 een telefoonnummer opslaan in de snelkiestoets. Onder de transparante deksel van de 6 snelkiestoetenkest u Foto's of symbolen aanbrengen.
De in de snelkiestoeten opgeslagen telefoonnummers können nicht worden gewist. Bij het opslaan van weitere telefoonnummers worden de oude telefoonnummers overschreiben.
Het deksel van de snelkiestoetsen verwijdersen
Grijp met duim en wijsvinger het deksel vast en verwijder het deksel zoals op de afbeelding getoond. Leg de gewenste afbeelding of Foto onder het deksel en zet het deksel weeop de knop.

Snelkiesnummers opslaan
1 Hef de hoorn op.
2 Druk op
3 Voer het telefoonnummer in (max. 24 cijfers) en druk op
4 Druk op de gewenste snugliestoets (M1 - M6).
5 Leg de hoorn op. Het telefoonnummer is opgeslagen.
Snelkiesnummers bellen
1 Hef de hoorn op.
2 Druk op de gewenste snugkiestoets (M1 - M6).
Geheugentoetsen
U kunt 10 telefoonnummers zo opslaan, dat ze elk met slechts tweemaal drukken op een knop;kennen worden gebeld.
De in de geheugentoetsen opgeslagen telefoonnummers können nicht worden gewist. Bij het opslaan van weitere telefoonnummers worden de oude telefoonnummers overschreiben.
1 Hef de hoorn op.
2 Druk op
3 Voer het telefoonnummer in (max. 24 cijfers) en druk op
4 Druk op de cijfertoets voor de gewenste geheugenplaats (0 - 9).
5 Leg de hoorn op. Het telefoonnummer is opgeslagen.
Bellen via geheugentoetsen
1 Hef de hoorn op.
2 Druk op
3 Druk op de cijfertoets voor de gewenste geheugenplaats (0 - 9).
4 Het opgeslagen telefoonnummer worden nu gebeld.
Het hoornvolume versterken tot +40 dB
Het volume in de hoorn kan met een druk op de @oets worden versterkt tot + 40 dB.
Het hoornvolume instellen
U kunt het hoornvolume aanpassen met behulp van de draaiknop

De klank regelen
U kunt de klank in de hoorn aanpassen met behulp van de schuifregelaar op de rechterkant van de behuizing. De klankregeling werkt uitsluitend wanner de volumeversterking tot +40 dB geactiveerd is.
Beltoonvolume
U kunt het volume van de beltoon instellen met behulp van de schuifregelaar aan de rechterkant van de behuizing.
Beltoon
U kurz de beltoon instellen met behulp van de schuifregelaar aan derichterkant van de behuizing. Er zijn 3 beltonen beschikbaar.
Microfoonvolume
U kurz het volume van de microfoon in de hoorn aanpassen met behulp van de schuifregelaar op de rechterkant van de behuizing.
5 Telefoocentrale / Extra services
R-toets op telefoncentrale
Als uw telefoon op een telefoncentrale aangesloten is, dan kut u met de R-toets functies gebruiken zoals bv. het doorverbinden van oproepen en het automatisch terugbellen. Meer informatie waarover vindt u in de handleiding van uw telefoncentrale.
Raadpleeg de handelaar waar u de centrale hebt gekocht, om te weten of uw telefoon compatibel is met uw telefoozentrale.
Kiespauze
Bij telefooncentrales is het nodig eerst een buitenlijnnummer te draaien om een kiestoon te horen. Bij enkeleoudere telefooncentrales duurt het even voordat u de kiestoon hoort. Voor deze telefooncentrales kan na het buitenlijnnummer een kiespauze toegevoegd worden, zodate u Niet hoeft te wachten op de kiestoon om het telefoonnummer in te voeren.
Kiespauze toevoegen:
Druk op
Na het buitenlijnnummer wacht de telefoon ongeveer 3 seconden voordat hij het eigenlijke telefoonnummer belt.
R-toets en extra services
Uw telefoon ondersteunt aanvullende services van uw telefoonmaatschappij, bv. schakelen:tussen gesprekken, aankloppen en conferentiegesprekken. U kunt deze aanvullende services gebruiken via de R-toets. Voor het activeren van de aanvullende services neemt u contact op met uw telefoonmaatschappij.
Flashtijd instellen
Met de schuifregelaar op de onderkant van de telefoon kurz u de gewenste flashtijd instellen. U kurz een flashtijd tussen 100 ms en 300 ms instellen.
6 In geval van storing
Service-hotline
Ondervindt u problemen met uw telefoon, lees dan eerst de volgende tips. Bij technische problemen kurz u contact opnemen met once service-hotline. Het telefoonnummer kurz u vinden op once website
www.amplicomms.com
Bij garantieclaims=kunt u contact opnemen met uw vakhandel. De garantie is 2aar vanaf de datum van aankoop geldig.
- De telefoonkabel is nicht correct aangesloten of defect. Gebruik uitsluitend de meegeleverde telefoonkabel.
7 Onderhoudsinstructies / Garantie
Onderhoudsinstructies
- Reinig de behuizing met een zacht en pleasvrij doek.
- Gebruik geen schoonmaakmiddelen of oplosmiddelen.
Garantie
AMPLICOMMS-apparaten worden met hulp van de meest moderne productieprocessen vervaardigd en getest. Specifiek geselecteerde materialen en geavanceerde technologieën zorgen voor een storingsvrije werkinq en lange levensduur.
De garantie geldt nicht wanneer de oorzaak van een defect van het apparaat bij de telecomaanbieder of bij een tussengeschakeld apparaat ligt. De garantie geldt Niet voor de in de toestellen gebruikte batterijen, accu's en accurpacks. De garantietijd bedraagt 24 maanden, gerekend vanaf de dag van aankoop. Binnen de garantieperiode worden alle defecten die terug te leiden+zijn tot een fout in het materiaal of in de productie, Gratis gerepaereerd. De garantie vervalt bij ingrepen door de koper of door derde partijen. De garantie geldt Niet voor schade als gevolg van onrechtmatige hantering of bediening, natuurlijke slijtage, verkeerd opstellen of bewaren, onrechtmatige aansluiting of installment, overmacht of andere exter envloeden.
We beholden ons hetrecht voor om in geval van claims de defecte onderdelen te repareren, te verrangen of het toestel te verrangen. Ter verrangig geretourneerde toestellen of onderdelen worden once eigendom. Alle claims voor schadevergoedingen zijn uitgesloten, in zover de schade nicht met voorbedachtere rade of uit nalatigheid veroorzaakt is.
Als er tijdens de garantieperiode toch nog een defect optreedt in uw toestel, neem dan contact op met de vakhandel waar u uw AMPLICOMMS-toestel gekocht heb en toon hen uw ontvangstbewijs. Alle garantieclaims要去en bij uw vakhandel worden ingediend. Twee一年多 de aankoop en overhandiging van onsze producten+kennen geen garantieclaimsmeer worden ingediend.
8 Conformiteitsverklaring
Dit apparatus voldoet aan de eisen van de EU-richtlijn:
Richtlijn 1999/5/EG van het Europees Parlement en de Raad van 9 maart 1999 betreffende radioapparatuur en telecommunicatie-eindapparatuur en de wederzijdse erkenning van hun conformiteit. De overeenstemming met de bovengenoemde richtlijn worden bevestigd door het CE-merk op het apparaat.
Een volledige versie van de Verklaring van overeenstemming kut u koste-loos downloads op unsere website www.amplicomms.com
SimpelGids