BIGTEL 40 PLUS - Telefon Amplicomms - Kostenlose Bedienungsanleitung
Finden Sie kostenlos die Bedienungsanleitung des Geräts BIGTEL 40 PLUS Amplicomms als PDF.
Benutzerfragen zu BIGTEL 40 PLUS Amplicomms
0 Frage zu diesem Gerät. Beantworten Sie die, die Sie kennen, oder stellen Sie Ihre eigene.
Eine neue Frage zu diesem Gerät stellen
Laden Sie die Anleitung für Ihr Telefon kostenlos im PDF-Format! Finden Sie Ihr Handbuch BIGTEL 40 PLUS - Amplicomms und nehmen Sie Ihr elektronisches Gerät wieder in die Hand. Auf dieser Seite sind alle Dokumente veröffentlicht, die für die Verwendung Ihres Geräts notwendig sind. BIGTEL 40 PLUS von der Marke Amplicomms.
BEDIENUNGSANLEITUNG BIGTEL 40 PLUS Amplicomms
Bedienungs-anleitung
1 Sicherheitshinweise
Bedienungsanleitung
Bitte lessen Sie diese Bedienungsanleitung sorgfältig durch.
Bestimmungsgemäß Verwendung
Dieses Telefon ist geeignet für das Telefonieren innerhalb eines Telefonnetzes. Jede andere Verwendung gilt als nicht bestimmungsgemäß. Eigenmächtige Veränderungen oder Umbauten sind nicht zulässig. Öffnen Sie das Gerät in keinem Fall selbst und führen Sie keine eigenen Reparaturversuche durch.
Aufstellungssort
Vermeiden Sie Belastungen durch Rauch, Staub, Erschütterungen, Chemikalien, Feuchtigkeit, Hitze oder direkte Sonneneinstrahlung.
Hörgeräte-kompatibel
Das Telefon ist über den Premium-Hörer vorzüglich auf Hörgeräte abgestimmmt und mit den meisten am Markt befindlichen Hörgeräten kompatibel. Durch die Vielzahl der angebotenen Modelle kann keine einwandfrei Funktion mit jedem Hörgerät garantiert werden.
Achtung: Dieses Telefon kann sehr laute Lautstärken wiedergeben, wenn der Veränderker aktiviert ist und der Lautstärkeregler auf Maximum steht. Großvorsicht ist geboten beim Wechsel zwischen Benutzern mit normalem Gehör und vermindertem Gehör.
Entsorgung
Wollen Sie Ihr Gerät entsorgen, bringen Sie es zur Sammelstelle IhresCOMMUNALEN Entsorgungsträgers (z. B. Wertstoffhof). Nach dem Elektro- und Elektronikgerätegesetz sind Besitzer von Altgeräten gesetzlich verpflichtet, alte Elektro- und Elektronikgeräte einer getrennten Abfallerfassung zuzuführen. Das darüber hende Symbol bedeutet, dass Sie das Gerät auf keinen Fall in den Hausmull werfen dürfen!
Gefährung von Gesundheit und Umwelt durch Akkus und Batterien!
Akkus und Batterien nie öffnen, beschädigten, verschlucken oder in die Umwelt gelangen给你们. Sie können giftige und umweltschädliche Schwermetalle enthalten. Sie sind gesetzlich verpflichtet, Akkus und Batterien beim batterievertreibenden Handel sowie bei zuständigen Sammelstellen, die entsprechende Behälter bereitstellen, sicher zu entsorgen. Die Entsorgung ist unentgeltlich.
Die Symbole bedeuten, dass Sie Akkus und Batterien auf keinen Fall in den Hausmull werfen dürfen und sie über Sammelstellen der Entsorgung zugeführrt werden müssen.
Verpackungsmaterialien entsorgen Sie entsprechend den lokalen Vorschriften.


2 Telefon in Betriebnehmen
Sicherheitshinweise
Achtung: Lesen Sie vor der Inbetriebnahme unbedingt die Sicherheitshinweise in Kapitel 1.
Verpackungsinhalt prufen
1 Telefon
1 Premium-Telefonhörer
1 Hörerspiralkabel
1 Telefonanschlusskabel
1 Wandmontagehalterung
1 Bedienungsanleitung
Basisgeber at anschließen
Schließen Sie das Telefon wie auf der Skizze abgebildet an. Verwenden Sie nur das mitgelieferte Telefonanschlusskabel, da das Gerät mit einem anderen Telefonanschlusskabel eventuell nicht Funktioniert.

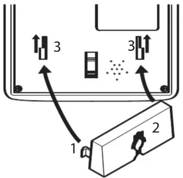
Wandmontage
Ihr Telefon ist zur Wandmontage geeignet. Für die Befestigung des Telefons benötigen Sie zwei Schrauben.
Führer Sie die Führungsnasen (1) der Wandmontagehalterung (2) in die Führungsnuten (3) auf der Rückseite des Telefons ein. Schieben Sie die Wandmontagehalterung (2) 10mm nach oben, bis sie hörbar einrastet.
Warning: Im Bereich der zu bohrenden Löscher dürfen sich keine Leitungen (Kabel, Rohre usw.) befinden.
Bohren Sie zwei Löscher im Abstand der vorgesehenen Aufhängungen und halten Sie die Schrauben 5 mm aus der Wand hersausstehen. Setzen Sie das Telefon an den Aufhängungen auf die Schrauben und schiben Sie es etwas nach unter.
Drehen Sie die Höreraufhängung (4) in der Telefonhörerablage um 180^ , damit Sie den Telefonhörer einhängen können.


3 Bedienelemente


1 Direktwahltasten
2 Kurzwahltaste
3 R-Taste
4 Wahlwiederholung, Wahlpause
5 Hörerlaufstärke verständen +40 dB
6 LED Telefon klingelt
7 Nummer speichern
8 Drehregler Hörerlautstärke (verdeckt unter Premium-Hörer)
9 Schieberegler "Klingellautstärke"
10 Schieberegler "Klingelton"
11 Schieberegler "Sendelautstärke"
12 Schieberegler "Klang"
13 Buchse für Telefonanschlusskabel
4 Telefonieren
Anrufen
- Hebem Sie den Hörer ab.
2 Geben Sie die Telefonnummer ein (max. 32 Ziffern)
Wahlwiederholung
Ihr Telefon speichert die zuletzt gewählte Rufnummer. Heben Sie den Hörer ab und drücken Sie
Direktwahl
Sie können die Direktwahltasten als normale Direktwahl oder als Speicherplatz für den Notruf nutzen. Sie müssen Rufnummern als Direktwahl gespeichert haben.
Unter den transparenten Abdeckungen der 6 Direktwahltasten konnen Sie Fotos oder Symbole hinterlegen.
Die gespeicherten Rufnummern auf den Direktwahltasten konnen nicht gelöscht werden. Beim Speichern neuer Rufnummern werden die alten Einträge überschreiben.
Abdeckung der Direktwahltasten entfernen
Fassen Sie mit Daumen und Zeigefinger die Abdeckung und entfernen Sie diese wie auf der Abbildung darge-stellt. Plazieren Sie das gewünschte Bild oder Foto unter der Abdeckung und setzen Sie diese wieder auf die Taste.

Direktwahlnummern speichern
- Heben Sie den Hörer ab.
2 Drucken Sie
3 Geben Sie die Rufnummer (max. 24 Ziffern) ein und drücken Sie
4 Drucken Sie die gewünschte Direktwahltaste (M1 - M6).
5 Legen Sie den Hörer auf. Der Eintrag ist gespeichert.
Direktwahlnummern wahlen
- Heben Sie den Hörer ab.
2 Drucken Sie die gewündte Direktwahltaste (M1 - M6).
Kurzwahl
Sie haben die Möglichkeit 10 Telefonnummern so abzuspeichern, dass diese jeweils nur durch den Druck von zwei Tasten gewählt werden (Kurzwahl).
Die gespeicherten Rufnummern auf den Kurzwahltasten konnen nicht gelöscht werden. Beim Speichern neuer Rufnummern werden die alten Einträge überschreiben.
Kurzwahltasten programmieren
1 Heben Sie den Hörer ab.
2 Drucken Sie
3 Geben Sie die Rufnummer (max. 24 Ziffern) ein und drücken Sie
4 Drucken Sie die gewünschte Zifferntaste für den Speicherplatz (0 - 9).
5 Legen Sie den Hörer auf. Der Eintrag ist gespeichert.
Anrufen über Kurzwahltaste
1 Heben Sie den Hörer ab.
2 Drucken Sie
3 Drucken Sie die gewünschte Zifferntaste für den Speicherplatz (0 - 9).
4 Die auf dieser Taste gespeicherte Rufnummer wird gewählt.
Verständung der Hörerlaufstärke auf +40 dB
Die Hörerlaufstärke kann durch Betätigkeiten der Aaste auf +40 dB verstarkt werden.
Einstellen der Hörerlaufstärke
Sie konnen die Hörerlaufsträke mit dem Drehregler anpassen.
Klangregelung
Sie können den Klang im Hörer mit dem Schieberegler an der rechten Gehäuseite anpassen. Die Klangregelung Funktioniert nur, wenn die Verstärkung auf +40 dB aktiviert ist.
Klingellautstärke
Sie können die Klingellautstärke mit dem Schieberegler an der rechten Gehäuseite anpassen.
Klingelton
Sie können den Klingelton mit dem Schieberegler an der rechten Gehäuseiteändern. Es stehen 3 Klingeltöne zur Auswahr.
Sendelautstärke
Sie können die Sendelautstärke des Mikrofons im Hörer mit dem Schieberregler an der rechten Gehäuseite verringn oder erhöhen.
5 Nebenstellenanlagen / Zusatzdienste
R-Taste an Nebenstellenanlagen
Ist Ihr Telefon an einer Nebenstellenanlage angeschlossen, konnen Sie über die R-Taste Funktionen, wie z. B. Anrufe weiterleiten und automatischen Rückruf, nutzen. Lesen Sieitte die Bedienungsanleitung ihrer Nebenstellenanlage.
Ob Ihr Telefon an ihrer Nebenstellenanlage einwandfrei Funktioniert, erhalten Sie bei dem Handler, bei dem die Anlage gekauft wurde.
Wahlpause
Bei Nebenstellenanlagen ist es erforderlich, eine Amtskennzahl vorzuwahlen, um ein Freizeichen zu entwickeln. Bei weniger, ätheren Nebenstellenanlagenbauert es eine Zeit, bis das Freizeichen zu horen ist. Für diese Nebenstellenanlagen kann nach der Amtskennzahl eine Wahlpause eingefügt werden, um direkt weiterwahlen zu konnen, ohne das Freizeichen abzuwarten.
Wahlpauseinfugen:
Drucken Sie
Nach der Amtskennzahl wartet ihr Telefon für ca. 3 Sekunden mit dem Wahlen der eigentlichen Rufnummer.
R-Taste und Zusammendienste
Ihr Telefon untersützt Zusatzdienste Ihr's Netzbetreibers, wie z. B. Makeln, Anklopfen und Konferenz. Über die R-Taste konnen Sie diese Zusatzdiensten nutzen. Zur Freischaltung von Zusatzdiensten wenden Sie sichitte an ihren Netzbetreiber.
Flash-Zeit einstellen
Mit dem Schiebeschalter auf der Unterseite des Telefons konnen Sie die gewünschte Flash-Zeit einstellen. Sie konnen zwischen 100 ms und 300 ms wahren.
6 Falls es Probleme gibt
Service-Hotline
Haben Sie Probleme mit ihrem Telefon, kontrollieren Sie zuerst die folgenden Hinweise. Bei technischen Problemen können Sie sich an unsere Service-Hotline wenden. Die Nummer der Service-Hotline finds Sie auf:
www.amplicomms.com
Bei Garantieansprüchen wenden Sie sich an ihren Fachhändler. Die Garantiezeit beträgt 2 Jahre.
Kein Telefongesprach möglich
- Die Telefonleitung ist nicht korrekt angeschlossen oder gestört. Verwenden Sie nur das mitgelieferte Telefonanschlusskabel.
7 Pflegehinweise / Garantie
Pflegehinweise
- Reinigen Sie die Gehäuseoberflächen mit einem weichen und fusselfrei-en Tuch.
- Verwenden Sie keine Reinigungsmittel oder Lösungsmittel.
Garantie
AMPLICOMMS - Geräte werden nach den modernsten Produktionsverfahren hergestellt und geprüft. Ausgesuchte Materialien und hoch entwickelte Technologien sorgen für einwandfrei Funktion und lange Lebensdauer. Sollte Ihr Gerät davon einen Defekt innerhalb der Garantiezeit aufweisen, wenden Sie sichitte unter Vorlage ihrer Kaufquittung ausschliesslich an das Geschäft, in dem Sie ihr Gerät gekauft haben. Die Garantiezeit beträgt 24 Monate, gerechnet vom Tage des Kaufs zu nachfolgenden Bedingungen: Innerhalb der Garantiezeit werden alle Mängel, die auf Material- oder Herstellungsfehler zurückzuführen sind, kostenlos beseitigt. Der Garantianspruch erlischt bei Eingriffen durch den Käfer oder durch Dritte. Schäden, die durch unsachgemäße Behandlung oder Bedienung, durch falsches Aufstellten oder Aufbewahren, durch unsachgemassen Anschluss oder Installation sowie durch höhere Gewalt oder sonstige ässere Einflüsse entstehen, fallen nicht unter die Garantieleistung. Wir behalten uns vor, bei Reklamationen die defekten Teile auszubessern oder zu ersetzen oder das Gerät auszutauschen. Ausgetauschte Teile oder ausgetauschte Geräte gehen in unser Eigentum über. Schadenersatzansprüche sind ausgeschlossen, soweit sie nicht auf Vorsatz oder grober Fahrlösigkeit des Herstellers beruhen. Sollte Ihr Gerät davon einen Defekt innerhalb der Garantiezeit aufweisen, wenden Sie sichitte unter Vorlage ihrer Kaufquittung ausschließlich an das Geschäft, in dem Sie Ihr AMPLICOMMS - Gerät gekauft haben. Alle Gewährleistungsansprüche nach diesen Bestimmungen sind ausschliesslich gegenüber ihren Fachhändler geltend zu machen. Nach Ablauf von zwei Jahren nach Kauf und Übergabe unserer Produkte konnen Gewährleistungsrechte nicht mehr geltend gemacht werden.
8 Konformitätserklarung
Dieses Gerät erfüllt die Anforderungen der EU-Richtlinie:

1999/5/EG Richtlinie über Funkanlagen und Telekommunikationsendeinrichtungen und die gegenseitige Anerkennung ihrer Konformität.
Die Konformität mit der o. a. Richtlinie wird durch das CE-Zeichen auf dem Gerät bestätig.
Für die komplette Konformitätserklarung nutzen Sieitte den kostenlosen Download von unserer Website www.amplicomms.com
1 Safety Information
Geheugentoetsenprogrammeren
Geen telefoongesprek möglichk
10/2016 - Ausgabe 2.0
EinfachAnleitung