H5611 - Verwarmde deken/kussen Dreamland - Gratis gebruiksaanwijzing en handleiding
Vind de handleiding van het apparaat gratis H5611 Dreamland in PDF-formaat.
Gebruikersvragen over H5611 Dreamland
0 vraag over dit apparaat. Beantwoord die u kent of stel uw eigen vraag.
Stel een nieuwe vraag over dit apparaat
Download de handleiding voor uw Verwarmde deken/kussen in PDF-formaat gratis! Vind uw handleiding H5611 - Dreamland en neem uw elektronisch apparaat weer in handen. Op deze pagina staan alle documenten die nodig zijn voor het gebruik van uw apparaat. H5611 van het merk Dreamland.
GEBRUIKSAANWIJZING H5611 Dreamland
Instructions d'installation Gebruiksaanwijzingen

CHAUFFE-LIT ELEKTRISCHE ONDERDEKEN
TYPE H5611
H5614




Geachte klant, DREAMLAND dankt u voor de aankoop van dit product. Wij zijn er zeker van dat u de kwaliteit en de betrouwbaarheid van dit apparaat zult waarden. Het is ontworpen en geproduerd om in de eersteplaats de klant tevreden te stellen. Deze handleiding met instructies is opgesteld in overeenstemming met de Europese norm EN 82079.
BELANGRIJEKINSTRUCTIES BEWARENVOORTOEKOMSTIGGEBRUIK

OP!
Instructies en waarschuwingen voor een veilig gebruik.

Alvorens dit apparaat te gebruiken,要去 de instructies voor het gebruik gelezen worden, d.w.z de waarschuwingen voor de veriligheid die要去 in acht genomen worden. Bewaar deze handleiding samen met de bijbehorende gids met afbeeldingen gedurende de gehele levensduur van het product, met de bedoeling ze te kunnen raadplegen. Bij overdracht van het apparaat aan derden,要去 ook de volledige documentatie meegegeven worden.
Opmerking: als bij het lezen van deze handleiding met gebruiksinstructies bepaalde delen moeilijk te begrijpen zijn of twijfels rijzen, neem dan voor het product te gebruiken contact op met het bedrijf, waarvan u het adres op de LASTE pagina kunt vinden.
INHOUDSOPGAVE
ALGMENE VEILIGHEIDSVOORSCHIFTEN
LEGENDESYMBOLEN
INSTRUCTIES VOOR HET PLAATSEN EN DE AANSLUITING
DE ONDERDEKEN PLAATSEN
INSTRUCTIES VOOR HET AANSLUITEEN
GEBRUIKSWIJZE
REINIGEN EN ONDERHOUD
WASSEN
WASSEN IN DE WASMACHINE
- Nadat het apparaat uit de verpakking genomen is, moet aan de hand van de tekening gecontroleerd worden of het intact is en het geen transportschade hebt opgelopen. In geval van twijfel mag het apparaat Niet gebruikt worden maar要去 uzich wenden tot de bevoegde assistentiedienst.
- Het materiaal van de verpakking is geen spelgoed voor
NL
kinderen! Houd het plastic zakje ver buiten het bereik van kinderen: verstikkingsgevaar!
- Alvorens het apparaat aan te sluiten, moet gecontroleerd worden of de gegevens van de netspanning, die op het identificatieplaatje staan, overeenkomen met die van hetbeschikbare elektriciteitsnet. Het identificatieplaatje bevindt zich op het apparaat.
- Dit apparaat mag uitsluitend worden aangewend als elektrische onderdeken voor huishoudelijk gebruik. leder ander gebruik worden als nicht conform en dus gevaarlijk beschouwd.
- Dit toestel mag gebruikt worden door kinderen vanaf 8JAaren door personen met verminderde fysieke, zintuiglijke of mentale vermogens of een gebrek aan ervaring en kennis als zij onder supervisie staan of van tevoren uitleg hebben gekregen over het op een veilige manier gebruiken van dit toestel en de möglichke bevaren begrijpen. Dit toestel is geen spellegood. Schoonmaaken onderhoudswerkzaamheden door gebruikersogen Nietzonder supervisie wordenuitgevoerd door kinderen.
- Het apparaat mag nicht worden gebruikt bij mensen die ongevoelig zijn voor warmte of zeer kwetsbaar�因为他们 en Niet in staat om te reageren in geval van oververhitting.
- Dit apparaat mag nicht door kinderen vanaf 3JAaren worden gebruikt indien de bedieningen nicht op voorhand werden ingesteld door een volwassene of door een begeleider, of als het kind Niet voldoende werk ingelicht hoe deze bedieningen veilig te gebruiken.
WAARSCHUWING - NIET geschickt voor kinderenjonger dan 3aar. Kinderenjonger dan 3aar mogen het apparaat Niet gebruiken omdat ze Niet konnen reageren in geval van oververhitting. - Het temperatuurregeling NIET met natte handen bedieren.
- Trek NIET aan de voedingskabel of aan het apparaat om de stekker uit het stopcontact te halen.
- Neem.altijd de stekkeruit het elektrische stopcontact alvorens het apparaat te reinigen of onderhoud erop uit te voeren en wonneer u het apparaat Niet gebruikt.
- In geval van een defect of een slechte werkking van het apparaat moet het uitgeschakeld worden en mag men het probleem Niet zich proberen te verhelpen. Wendt u voor de eventuele reparatieuitsluitend tot een bevoegt technisch assistentiecentrum.
- Als de voedingskabel beschadigd is,要去 deze verrangen
NL
worden door een bevoegd technisch assistentiecentrum om ieder risico te voorkomen.
- Het apparaat mag enkel worden gebruikt met de types commando aangeduid op het etiket van het apparaat.
Leg het commando NIET onder uw hoofdkussen of tussen de lakens of dekens wanner het apparaat is aangesloten. - Controller het apparaat regelmatig om eventuele tekens van slijtage of aftakeling op te sporen. Indien er dergelijkke tekens zich, of als het apparaat op slechte wijze ward gebruikt, moet men zich wenden tot een bevoegt technisch assistentiecentrum vooraleer het apparaat verder te gebruiken.
- Het apparaat mag nicht de hele nacht door dragers van paxemakers worden gezruikt. Het apparaat kan worden gezruikt om het bed voor te verwarmen, maar moet worden uitgeschakeld en van de elektrische voeding worden losgekoppeld alvorens in bed te gaan liggen.
- gebruiken op een verstelbaar bed: als men dit toch doet,要去 men controleren of het deken of de kabel nicht kan blijven haperen of geblokkeerd raken.
- NIET omslaan.
- Dit apparaat is nicht ontworpen voor medisch gebruik in deziekenhuizen.
- NIET gebruiken indien nat.
- Het apparaat NIET gebruiken om dieren te verwarmen.
- NIET GEBRUKEN INDIEN GEPLOOID OF VERFROMFRAID.
- GEEN NAALDEN OF SPELDEN INSTEKEN.
LEGENDE SYMBOLEN
| □ | Beschermingsklasse II Timer keuzeschakelaar | ||
| ! | Waarschuwing Stand-by | ||
| Verboden | ○ | Uitschakelstand | |
| Temperatuur keuzeschakelaar | Inschakelstand | ||
INSTRUCTIES VOOR HET PLAATSEN EN DE AANSLUITING
DE ONDERDEKEN PLAATSEN

LET OP! Leg het elektrisch deken uitsluitend:tussen de matras en het onderlaken en Niet bovenop mensen die in bed liggen.
- De elektrische onderdeken rechtstreeks op het matras goed uittvouwen (hierbijplaats voor de hoofdkussens latent) met het gedeelte waar zich het snoer bevindt op het matras enaar het hoofdkussengedeelte van het bed gericht.
NL
Eventuele ploieten of vouwen gladstrijken. De elektrische onderdeken mag uitsluitend gebruikt worden met de standenschakelaar die bijgeleverd is, waar dat deze deel uitmakt van het beveiligde oververhitting-systeme. De elektrische onderdekenrechtstreeksuitspreiden op het matras [A], zonder de onderdeken onder het hoofdkussen te leggen.
Zorg ervoor dat de elektrische onderdeken altijd goed vlak ligt.
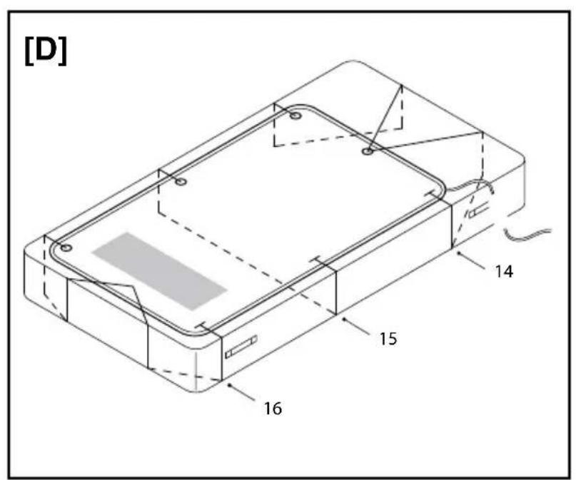
Haal het korte touwtje (15) [D] onder het matras door en maak deze vast aan de lus aan
de andere kant.
- Het lange touw (14)要去onder de dichtstbijzijnde hoek van het matras gaan enervolgens erboven door de middelste lus (aan de bovenkant van de onderdeken), en dan opnieuw onder de andere hoek van de matras; het touw tenslotte vastmaken aan de lus van de andere kant van de elektrische onderdeken.
Herhaaldezelfdehandelingvoortouw(16).
Leg het hoeslaken of de molton onderdeken (3) uitgespreid op de elektrische onderdeken en maak verwolgens het bed op zoals men gewend is, met een laken (4) en een deken of alleen nog een dekbed (5) [A].
Regelmatig controleren of de elektrische onderdeken goed is bevestigd aan het matras.
Trek de touwtjes van de deken Niet te strak aan wonneer u de deken aan het matras vast maakt.
- De touwen nicht los latent hangen,ondat ze het plooien van de elektrische onderdeken en de beschadiging van de elektrische bedrading zouden konnen veroorzaken.
INSTRUCTIES VOOR HET AANSLUITEN
- De stekker (7) van de schakelaar (6) in het contact/de contacten van de elektrische onderdeken steken. Controller of elke stekker volledig in het contact zit wanner men de klik voelt [B].
GEBRUIKSWIJZE

LET OP! Leg de bediening NIET onder het kussen of onder de dekens tijdens het gebruik.
- Schakel op de weiterzijde van de bediening uw elektrische onderdeen in schakelaar in de inschakelstand (I) (13) tezetten (Figuur [C]).
- SNELLE VOORVERWARMING - de INTELLIHEAT technologie stelt automatisch temperatuur in op de snelverwarming 6. Gebruik de SNELLE VOORVERWARMING temperatuur 6 NIET verwijl u in bed ligt.
- Voor nachtelijk of continu gebruik, kies via de temperatuurtoets (11) (Fige 19) gewenstete temperatuurinstelling 1-5 tot de gewenste temperatuur op de temperatuurdisplay (8) oranje worden verlicht.
FUNCTIE AUTOMATISCHE UITSCHAKELING
De elektrische onderdeken is voorzien van een systeem voor automatische uitschakeling. De timer kan ingesteld worden op 1uur of 9uur.
- TIMER - druk op de timer keuzeschakelaar (10) (Figuur [D]) tot 1aar of 9 aan groen wordt verlicht (9).
AUTOMATISCHE UITSCHAKELING - bij verloop van de ingesteldeijd zal de elektrische onderdeen automatisch uitgaan en de stand-by display (12) (Figuur [C]) zal blauw worden.
ONTKOPPELING
- Selecteer op de weiterijde van de bediening de uitschakelstand (13) (Figuur [C]) en haal de stekker uit het stopcontact
REINIGEN EN ONDERHOUD
De onderdeken kan gewassen worden. Om de onderdeken op een correcte wijze te wassen, moet het identificatieplaatje met wassymbolen, aanwezig op de onderdeken, gecontroleerd worden.
| 40 | Wassen op 40°C. | Drogen in de droogtrommel op lage temperatuur, minder dan 40°C | |
| Hand wassen – maximum temperatuur 40°C | Niet strijken | ||
| Niet bleken Niet chemisch reinigen. |
WASSEN
- Voordat men de onderdeken gaat wassen, moet men het snoer van de schakelaar loskoppelen zoals worden aangetoond op de [B].
- Voordat men de elektrische onderdeken wast, moet men de afmetingen controleren en ervoor zorgen dat de dekenijdens het drogen goed worden uitgespreid zodanig dat hij+zijn originele afmetingen behoudt.

WASSEN IN DE WASMACHINE
De elektrische onderdeken mag in de wasmachine gewassen worden op 40^ waar bij het wolprogramma geseleederd moet worden.

WASSEN MET DE HAND
- Een mild wasmiddel en lauw water gebruiken en 15 minutes latent weken. Na het weken, zorgvuldig wassen en goed spoelen met schoon lauw water.
- De deken geheel latent uitlekken zodate al het overtollige water weg kan. Het is möglichk de elektrische onderdeken lichtjes uit te knijpen, maar nooit wringen.

DROGEN
- Drogen in de wasdroger op een hoge of lage temperatuur (wasdroger voor huiselijk gekruik).
- Drogen in de wasdroger op een lage temperatuur (wasdroger in de wasserette)
-
Alleen laten centrifugeren op het wolprogramma.
-
NIST extra laten centrifugeren.
- Aan de lucht latent drogen op een droogrek, geen wasknjpers gebruiken op de bedrading van de elektrische onderdeken, want dit zou de elektrische onderdeken zich kuren beschadigen.
- De elektrische onderdeken ALLEEN gebruiken wanner hij volledig droog is.
VERLENGING
- Tijdens het drogen要去 de elektrische onderdeken uitgespreid worden tot hij zijn oorspronkelijke afmetingen terug heeft. Dit za gemakkelijk gaan wonneer de elektrische onderdeken nog vochtig is; rek elke kant afzonderlijk uit. Waarschijnlijk za het nodig+zijn deze handeling verschillende keren te要去en herhalen, tot de elektrische onderdeken volledig droog is.
- Controller de elektrische onderdeken en zorg ervoor dat er geen enkele elektrische draad in elkaar gedraaid of geplooid is. Dit zar gemakkelijker te constateren zich indien men de elektrische onderdeken gegen het Licht houdt.
- Nadat men de elektrische onderdeken heeft uitgerokken en de elektrische draden nog geplood of in elkaar gedraaid bleven, of indien de onderdeken Niet meer+zijn oorspronkelijke afmetingen heeft, moet men hem voorzien van de schakelaar, terugbrengen aan een van
onze Technische Servicecentra zodat een controle kan uitgevoerd worden.
DE ELEKTRISCHE ONDERDEKEN OPBERGEN

LET OP! Wonneer men het apparaat wil opbergen, moet men het eerst hebmaal lately afkoelen vooraleer op te plooien.

LET OP! Leg bij het opbergen geen voorwerpen op het apparaat, om het NIET te verrormen en/of geen plooien te veroorzaken.
VEILIGHEIDSCONTROL EN REPARATIE
Deze onderdekens voldoen aan hoge eisen. Er zich geen losse onderdelen verkrijgbaar voor de gebruiker.
Volg deze aanwijzingen indien uw onderdeken nicht werkt:
- Controller of alle instructies goed zich uitgevoerd. Indien u problemen heegt met het instellen van de tijschakelaar, aarzelt u dan Niet om de klantenservice te bellen, zij helpen u graag.
- Controller de aardlekschakelaar.
-
Controller of de aan/uit schakelaar van de onderdeken AAN staat.
-
Indien het contrôlelampje op het bedieningskastje brandt:
-
Controller of de stekker goed in de aansluiting zit van de elektrische onderdeen.
- Controller of de warmtestand hoog genoeg staat.
Indien de onderdeken na deze controles nog nicht werkt, moet men de dekentering brengen maar de winkelier of op sturen waar onsze technische Dienst.
Indien het snoer of andere bedrading is beschadigd, moet de deken terug gebracht worden maar de winkelier of opgestuurd worden maar de technische Dienst voor controle. Probeer de deken nooit zich te repareren.
Indien men het volgende vindt:



- beschadigd snoer
-
beschadigbdieningskastje
-
verfrommelde of geplooide stof
-
beschadigde of gescheurde stof
door de warmte ontkleurde stof
of indien het product op een foutieve wijze gebruikt is of toevalig beschadigd werk, mag men de deken Niet gebruiken en moet men de onderdeken compleet met schakelaar op sturen voor controel waar once technische Dienst.
Volg deze instructies:
- Pak de onderdeken goed in, bij voorkeur in de originele doos.
- Zorg ervoor dat u een briefje bij sluit met waarop uw naam en adres.
- Geef een korte klachtomschrijving.
NL
- Sluit een kopie van de aankoopnota bij. Dit is uw garantiebewijs.
- Stuur de onderdeken maar unsere technische Dienst.
GARANTIE
- De garantietermijn is tweeJAar vanaf de aankoopdatum. De datum op uw aankoopnota/ factuur is uw garantiebewijs, tenzij de koper bewijst dat de levering later werd uitgevoerd.
- Wanner bij de aankoop een gebrek worden geconstasteerd, garandeert de fabrikant de kostenloze reparatie of de verranging van het toestel, tenzij een van beiden remedies buitensporig blijkt ten opzichte van de andere. De koper verbindt er zich toe het conformiteitgebrek te melden aan de verkoper, binnen drie maanden na de vaststelling van dit gebrek.
- De garantie vervalt indien het defect is ontstaan door schade als gevolg van nalatigheid of onachtzaamheid bij het gebruik, het Niet in acht nemen van de gebruiksaaanwijzingen van het apparaat, een verkeerde installmentie, ingrepen uitgevoerd door daartoe nicht bevoegde Personen, normale slijtage, het transport of omstandigheden die in ieder geval niedt gebonden+zijn aan fabricagefouten van het apparaat.
- Bovendien vervaft de garantie in het geval van een oneigenlijk of professioneel gebruik van het apparaat.
- De fabrikant kan nicht aansprakelijk gesteld worden voor eventuele beschadigingen aan Personen, dingen en huisdieren die -rechtstreeks of Niet rechtstreeks - te wijten+kennen zijn aan het Niet in acht nemen van alle regels bevat in de "Handleiding met Waarschuwingen en Instructies", m.b.t. de installmentie, het gebruik en het onderhoud van het product.
- De koper dient zich voor de garantie eerst te richten tot de verkoper.
SERVICE
De reparatie van de onderdeken要去uitgevoerd worden bij een geauthoriserde technische Dienst. Indien de defekte deken nog binnen de garantietermijn valt,要去hij maar de technische Dienst gebracht worden voor de verwang/repairatie voorzien van de bijhorende aankoopbon of factuur die datum van verkoop of aankoop bevestigt.
Gelieve zich voor assistentie tot de verkoper te wenden.
WEGGOOEN


De verpakking van het product bestaat uit recycleerbaar materiaal. Gooi het weg conform met de normen voor bescherming van het milieu.
Krachtens de Europese norm 2002/96/EG要去 het afgedankte apparaat op conforme wijze weggegooid worden. De recycleerbare materialen van het apparaat要去en teruggewonnen worden om milieuuvervuiling te voorkomen. Wendt u tot deplaatselijke afvaldienst of tot de verkoper van het apparaat voor meer informatie.
Dreamland
by IMETEC
http://dreamland.imetec.com
0115(MMYY)
∠621001W
SimpelGids