DCBT33D - Grasmaaier ELEM Garden Technic - Gratis gebruiksaanwijzing en handleiding
Vind de handleiding van het apparaat gratis DCBT33D ELEM Garden Technic in PDF-formaat.
Gebruikersvragen over DCBT33D ELEM Garden Technic
0 vraag over dit apparaat. Beantwoord die u kent of stel uw eigen vraag.
Stel een nieuwe vraag over dit apparaat
Download de handleiding voor uw Grasmaaier in PDF-formaat gratis! Vind uw handleiding DCBT33D - ELEM Garden Technic en neem uw elektronisch apparaat weer in handen. Op deze pagina staan alle documenten die nodig zijn voor het gebruik van uw apparaat. DCBT33D van het merk ELEM Garden Technic.
GEBRUIKSAANWIJZING DCBT33D ELEM Garden Technic
NL U kurz updates van handleidingen, exploded views, informatie over onderdelen en contact opnemen met unsere technische stations voor elk product thermische: www.eco-repa.com
- Lees deze handleiding aandachtig door alvorens de bosmaaier te gebruiken.
-Bewaar deze handleiding.
VEILIGHEID VOOR ALLES
De waarschuwingsinstrumentes in deze handleiding worden aangeduid met een symbool. Ze duiden op kritieke punten die in aanmerking要去en worden genomen om möglichke ernstige lichamelijke letsels te voorkomen. Daarom worden u gezvaagd al die instructies zorgvuldig door te lezen en zenauwgezet in ache temen.
OPMERKINGEN OVER DE SOORTEN WAARSCHUWINGEN IN DE HANDLEIDING
WAARSCHUWING
Bij deze aanduiding worden instructies gegeven om ongevalten te voorkomen die zouden können leiden tot ernstige lichamelijke letsels of dedood.
BELANGRIJK
Bij deze aanduiding worden instructies gegeven om mechanische defecten, storingen of schade te voorkomen.
OPMERKING
Bij deze aanduiding worden tips of richtlijnen gegeven die handig zich bij het gebruik van het product.
Inhoudsopgave
- O N D E R D E L E N
2.UITLEG BIJ DE PICTOGRAMMEN 4 - SYMBOLEN OP DE MACHINE 5
- VEILIGHEIDSMAATREGELEN 6
- M O N T A G E
- BRANDSTOF 11
- B E D I E N I N G
- ONDERHOUD 14
9 . S P E C I F I C A T I E S
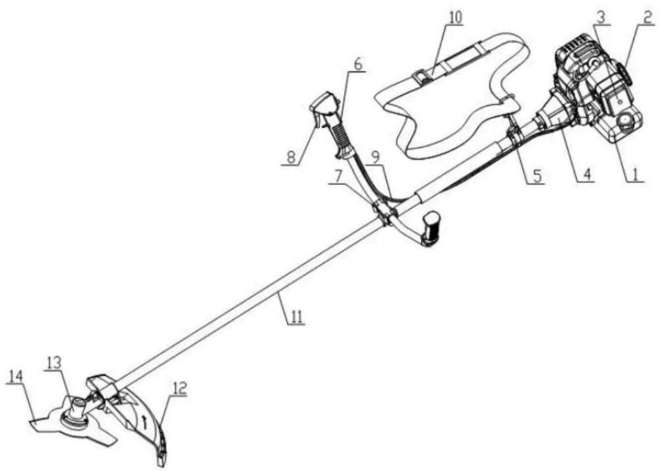
1. ONDERDELEN
- Brandstoftank
- Starter
- Luchtfilter
- Afscherming koppeling
- Ophangmechanisme
- Handgreep
-
Handgreepbeugel
-
Gashendel
- Gashendelkabel
- Draagriem
- Stang
- Beschermkap
- Transmissie
- Snijblad

2. UITLEG BIJ DE PICTOGRAMMEN
(1)

(2)

(3)

(4)

(1). Lees de gebruikershandleiding volledig vooraleer u dit toestel in gebruik neemt.
(2). Draag bescherming voor hoofd,ogen en oren.
(3). Waarschuwing/Opgelet
(4). Houd alle kinderen, omstanders en helpers op een afstand van 15 meter van de bosmaaier
BELANGRIJK
Als waarschuwings stickers loskomen of vuil worden en ze Niet meer leesbaar zich, dient u contact op te nemen met uw distributeur en{nieuwe stickers te bestellen. Vervolgens dient u de sticker(s) op dedaarvoor bedoelde plaats(en) aan te brengen.
WAARSCHUWING
Uw bosmaaier nooit wijzigen.
De garantie op de machine vvert wonneer u een gewijzigde bosmaaier gebruikt of de gebruiksvoorschriften zoals vermeld in deze handleiding nicht naleeft.
Met het oog op een veilig bedrijf en onderhoud, werden op de machine symbolen aangebracht in reliief. Neem de aanduidingen in acht en maak geen vergissingen.
(a). De poort om de "MIX GASOLINE" opniew vol te tanken Plaats: TANKDOP.
(b). Deorting om de choke te sluiten Plaats: DEKSEL LUCHTFILTER
(c). Deorting om de choke te openen Plaats: DEKSEL LUCHTFILTER

(a)

(b)

(c)
4. VEILIGHEIDSVOORSCHRIFTEN
VOORALEER U HET TOESTEL GEBRUIKT
(a) Lees deze gebruikershandleiding zorgvuldig door zodat u weet hoe u het toestel maar behoren moet bedieren.
(b) Dit product ward ontworpen voor het snijden van gras, en mag nooit worden gezruikt voor andere doeleinden.
(c) Gebruik deze bosmaaier nooit wanneer u onder invloed bent van alcohol, wanneer u moe bent of te weinig hebt geslapen, wanneer u duizelig bent als gevolg van medicatie, of in andere omstandigheden waar bij uw beoordelingsvermogen möglichk verzwakt is of u möglichk nicht in staat bent de bosmaaier op een veilige manier te bedieren.
(d) Laat de motor nicht in een afgesloten ruimte draaien. De uitlaatgassen bevatten schadelijk koolstofmonoxide.
(e) Wonneer u dit product voor het eerst gebruikt en voordat u aan het echte werk begint, dient u van een bekwaamvakman te leren hoe u de bosmaaier moet hanteren.
(f) Houd deze handleiding bij de hand zodate u er bij latere vragen of twijfels maar=kunt teruggrijpen.


WERKUITRUSTING EN KLEDIJ
(a) Wanner u de bosmaaier gebruikt, dient u geschikte kledij en beschermingsuitrusting te dragen:
(1) Helm
(2) Veiligheidsbril of gezichtsbescherming
(3) Dikke werkhandsschoenen
(4) Stevige werksohlen met antislipzolen
(5) Oorbescherming
(b) Gebruik uw bosmaaier nooit wonneer u een losse broek of sandalen draagt of geen schoenen aan hebt.
4. VEILIGHEIDSMAATREGELEN
TE CONTROLEREN VOORALEER U UW BOSMAIER GEBRUIKT
(a) Kijk vooraleer u begint te werken goed rond om een idee te krijgen van de vom van het terrein en ruim verplaatsbare obstakelsuit te weg.
(b) Ga na of er geen schroeven of bouten loszitten, of er geen olie lekt, of de machine nicht is gebarsten of gedeukt, en of er geen andere problemen zijn waardoor de veilige werking van de machine kan worden beinvloed. Controller zeker of het snijblad en de bevestigingen waarmee het snijblad op de bosmaaier�zemgeenteerd volledig in orde�zem.
(c) Gebruik nooit snijbladen die zich verbogen, kromgetrokken, gebarsten, gebroken of op een of andere manier beschadigd.
Zorg ervoor dat het snijblad altijd scherp is.
(d) Controller de bout waarmee het snijblad is bevestigd en kijk na of het snijblad vlot draait zonder waar bij abnormaal geluid te make.
OPMERKINGEN BIJ HET OPSTARTEN VAN DE MOTOR
- Kijk goed rond en zorg ervoor dat er zich binnen een straal van 15 m rond de bosmaaier geen obstakels bevinden.
- Plaats de bosmaaier op de grond, op een vlak en vrij stuk, en houdt hem stevig vast zodate geen snijdonderdelen noch de gashendel gegen obstakels botsen bij het opstarten van de motor.
- Plaats de gashendel in de stationaire stand bij het opstarten van demotor.
4. VEILIGHEIDSMAATREGELEN
VEILIGHEIDSMAATREGELEN TEGEN TERUGSLAG
- Voordat u begint te werkken, dient u de werkzone vrij te makeen en gras rond de obstakels te verwijderen.
- Neem bij het gebruiken van de bosmaaier geen andere onderdelen dan de twee hendels of handgrepen vast.
- Laat bij het gebruik van de bosmaaier uw blink nooit weglijkden. Plaats indien nodig de gashendel in de stationaire stand.
- Zorg ervoor dat het toestel nooit te zich bij uw voeten komt en hijs het toestel nooit boven uw middel.
OPMERKINGEN INZAKE TRANSPORT
(a). Breng de geschikte snijbladafscherming aan (indien voorzien)
4. VEILIGHEIDSMAATREGELEN
VEILIGHEIDSMAATREGELEN BEDIENING
(a). Grijp de hendels van de bosmaaier stevig met beiden handen vast. Als u het werk even pauzeert, staat u de gashendel in stationaire stand.
(b). Zorg ervoor dat uijdens het maaien stevig op de grond en in balans staat.
(c). Houd de snelheid van de motor op het niveau dat is vereist voor het maaiwerk, verhoog de snelheid nooit boven het nodige niveau.
d. Raak de ontstekingsbougie of voedingskabel nooit aan verwijl de motor
draait. Anders loopt u risico op een elektrische schok.
e. Raak nooit de uitlaat, bougie of andere metalen onderdelen van de motor aan verwijl de motor draait of onmiddelijk nadat u de motor hebtuitgeschakeld. Anders kunt u ernstige brandwonden oplopen.
f. Wanner u klaar bent met maaien op een locatie en wenst voort te maaien op een andere locatie, dient u de motor uit te schakelen en het toestel zo te draaien dat de snijdonderdelen van u weg gericht+zijn.



VEILIGHEIDSMAATREGELEN ONDERHOUD
a. U mag in geen geval de bosmaaier demonteren of op enige wijze aanpassen. Daardoor raakt de bosmaaier möglichk beschadigd of werkt de bosmaaier möglichk nicht meer maar behoren.
b. Zorg ervoor dat u alkijd eerst de motor uitschakelt voordat u onderhoud of controlsuitvoert.
c Bij het slijpen, verwijderen of opnieuw monteren van het snijblad, dient u dikke, stevige handschoenen te dragen en enkel het geschikte gereedschap te gebruiken om lichamelijke letsels te voorkomen.
5. MONTAGE
HENDEL
- Maak de vier bouten op de hendelbeugel los.
- Plaats de rechter- (gashendgel gemonteerd) en linkerhendel in de beugel en draai de bouten opniew stevig vast.
(1)Hendelbeugel
(2) Rechterhendel
(3) Bout
(4) Linkerhendel
(5) Motorkant
BESCHERMKAP
Monteer de beschemkap op het frame en bevestig deze stevig met de klem
en 2 boute (M5X25).
GASHENDELKABEL
WAARSCHUWING
Na het monteren van de hendel, dient u de gashendelkabel in de gashendel teplaatsen. Anders ontstaat het gevaar dat de motor draait nadat de gashendel werk losgelaten.


- Als er te weinig of te veel speling is, verwijdert u het deksel van het luchtfilter, maakt u de moer los en past u de speling aan.
5. MONTAGE
DE NYLON SNIJDRAAD MONTEREN
- Plaats de binnenste en de buitenste houder correct op de tandwielas.
- Schroef de bijgeleverde bout (M8 links) op de tandwielas en span aan met de moersleutel.
- Schroef de nylon snijdraad in de bout door de binnenste houder met de L-vormige staaf te bevestigen en met de hand aan te draaien.
OPMERKING
Houd bouten en ringen zorgvuldig bij zodate ze Niet verloren raken.
HET METALEN SNIJBLAD MONTEREN
- Plaats de binnenste houder op de tandwielas en gebruik de L-vormige staaf om het geheel aan te draaien.
- Plaats het snijblad op de binnenste houder, de Kant met letters maar de tandwielas gekeerd, en lijn het gat van het snijblad uit op de binnenste houder.
- Plaats de buitenste houder op de tandwielas met de holle kant maar het snijblad gericht.
- Plaats de boutdop op de buitenste houder en kaak deze vast met de bout (linksdraaiend), de verende ring en de ring.

6. BRANSTOF
WAARSCHUWING
- Benzine is uiterst brandhaar. Rook nicht en maak geen vuur of vonden in de buurt van de brandstof.
Kuis alle gemorste brandstof op alvorens demotor te starten. - Stop de motor en LAST hem afkoelen alvorens brandstof bij te vullen.
· Houd open vlammen uit de buurt van de zone waar brandstof worden gehanteerd op opgeslagen.
BELANGRIJK
- Gebruik nooit olie voor 4-takt motoren of voor watergekoelde 2-takt motoren. Die types olie konnen de bougies verruilen, de uitlaat blokkeren of de zuigerring doen klemmen.
- Brandstofmengsels die gedurende een maand of langer nicht werden gezruikt, kunnende carburator verstappen of voor een slecht werkende motor zorgen. Bewaar de overblijvende brandstof in een luchtdichte container, op een donkere en koeleplaats room.
- Meng gewone benzine (met of zonder lood, alcoholvrij) met een kwalitatieve motorolie voor luchtgekoelde 2-takt motoren.


AANBEVOLEN MENGVERHOLDING
Benzine 25 : Olie 1
7. BEDIENING
DE MOTOR STARTEN
WAARSCHUWING
- Alvorens de motor te starten, dient u deze te inspectoren op de aanwezigheid van loszittende aansluitingen of brandstoflekken. Ga ook na of het snij-element juist is gemonteerd en voldoende stevig is aangedraaid.
-
Zorg ervoor dat het snij-element vrij is en geen omliggende obstakels raakt.
-
Beweeg de chokehendel maar de gesloten stand.
(1) Chokehendel
(2) Gesloten
(3) Open
- Houd het toestel stevig vast en trek stevig aan de startkabel.
- Open de choke geleidelijk aan nadat de motor is gestart.
- Laat de motor 2 à 3 minuten draaien om op te warmen.


DE MOTOR STILLEGGEN
-
Beweeg de gashendel maar de stand voor stationair toerental.
-
Druk op de motorschakelaar.
(1) Motorschakelaar

7. BEDIENING
SNIJDEN EN MAAIEN GEBRUK VAN HET METALEN SNIJBLAD
Altijd maaien in een beweging van rechts waar links.
Een metalen snijblad maait het Beste in de zone tot 1/3 van de rand. Gebruik die zone om struiken of dik en stevig onkruid te maaien. Voor het maaien vanjong gras kunt u de snijzone tot 2/3 van de rand van het blad gebruiken.
BELANGRIJK
Wanneer de motor traag draait,{kunnen gras,onkruid of twijgjes makkelijkergeklemd raken tussen de bladen. Tevens zorgt dit voor meer slijtage van de as en de tandwieten.
WAARSCHUWING
-
Om veiligheidsredenen is het gebruik van kabels met metalen voering verboden.
-
Het snijblad Niet afkoelen met water. Dat kan scheuren veroorzaken in het blad.

8. ONDERHOUD
NA 25 UUR GEBRUIK
LUCHTFILTER
Controleer en reinig het filtrilege in een warm sopje. Zorg ervoor dat het volledig droog is alvorens het opnieuw te monteren. Als het element stuk is of is gekrompen,要去 het worden verrangen.
BELANGRIJK
Een verstopte luchtfilter kan het brandstofverbruik doein toenemen terwijl het snijvermogen van de bosmaaier afneemt.
Het gebruik van de bosmaaier zonder luchtfilter of met een verrormd filterelement za snel resulteren in een defecte motor.
■ BRANDSTOFFILTER
Neem de filter uit de vuldop met behulp van eenkleine draadhaak. Ontkoppel de filter van de brandstofleiding en haak de borgveer los om het geheel te demonteren. Reinig de elementen met brandstof.
BELANGRIJK
Bij een verstopte brandstofffilter za de motor slecht versnellen.
BOUGIE
Verwijder en controllerer de bougie en reinig de elektroden indien nodig met een borsteltje.
De bougiespeling moet worden afgesteld op 0,6 à 0,7 mm (F15).
Bij verranging, enkel originele bougies of door defabrikant aanbevolen bougies gebruiken.

Controleer de inlaatopening voor koellucht en de zone rond de cilinder koelvinnen.
BELANGRIJK
Merk op dat een ontoreikende koeling voor oververhitting van de geluiddemper kan zorgen, wat er op+zijn beurt toe kan leiden dat de bosmaaier vuur vat.
8. ONDERHOUD
TANDWIELKAST
Universeel smeervet aanbrengen om de 25 gebruiksuren.
NA 100 UUR GEBRUIK
GELUIDDEMPER
- Demonteer de geluidemper, streek een schroevendraier in de opening en verwijder alle koolstofresten. Verwijder ook alle koolstofresten uit de uitlaatopening van de geluidemper.
AFSTellen VAN DE CARBURATOR
Een slechte afstelling kan het toestel beschadigen. Als de motor Niet goed loopt nadat de carburator is afgesteld, dient u contact op te nemen met uw leverancier.
Schroef waarmee het toerental wordt afgesteld, dat de motor haalt met de gashendel in de laagste snugheidsstand. Een draai maar rechts (in wijzerzin) verhoegt het toerental, een draai maar links (tegenwijzerzin) verlaagt het toerental.
(1) Afstelschroef stationair toerental (2) Hoog (3) Laag

ONDERHOUD VOOR LANGDURIGE OPSLAG
-
Borstel alle vuil van het toestel, controllerer elk onderdeel op schade of doorhangen. Herstel alle beschadigingen of gebreken voor het volgende gebruik.
-
Haal de resterende brandstof uit de tank. Maak de aftapschroef van devlotterkamer los zodat de brandstof kan wegvoeien, start de motor en LAST deze draaien tot hij vanzelf stilvalt.
-
Verwijder de bougie en staat ze in 1 à 2 cc 2-takt olie van de motor. Trek de startkabel 2 3 keer aan, monteer de bougie opnieuw en stop op desamentrekstand.
-
Smeer metalen onderdelen, zoals de gashendelkabel, in metro roestwerende olie,plaats de aftscherming op het snijblad en bewaar alles binnenshuis in een dampvrije omgeving.
| Naam | Bosmaaier | ||
| Model | DCBT33D | DCBT43D-1 | |
| Bedieningstype Bediening met twee | handen | ||
| Gewicht 6,5 kg 7,5 kg | |||
| Buitenafmetingen | 1760X610X420 | ||
| Transmissiemethode | Automatische centrifugaalkoppeling met spiraaltandwiel | ||
| Reductieratio 0,75 (15:20) | |||
| Draairichting snijblad Tegenwijzer | in (vanuit het standpunt van de gebruiker) | ||
| Benzinemotor | Model | 1E36F | 1E40F-5 |
| Type Enkele luchtgekoelde cilinder 2-takt | |||
| Cilinderinhoud 33 cc 42.7cc | |||
| Max. uitgangsvermogen | 1,1Kw/7000 tsp 1,4Kw/7000 tsp | ||
| Max. koppel 1,6 Nm 5500 tsp 2,2 Nm 6000 tsp | |||
| Inhoud brandstoftank | 0,8L | ||
| Brandstoftype | Mengverhouding 25:1 | ||
| Smeerolie | FC 2-takt motorolie | ||
| Carburator Diafragma Vlotter zuigerklep | |||
| Aansteekmethode | IC-gestuurd vliegwielmagneet | ||
| Bougie | L7RTC | ||
| Startmethode | Terugstootstarter | ||
| Stopmethode | Ontstekingscircuit primair short (drukknop) | ||
| Nettogewicht | 3,5 kg | 3,9 kg | |
- Technische kenmerken können zonder voorafgaande kennisgeving worden gewijzigd!
GARANTIE
Voor de garantiebepalingen worden verwezenaar de bijgevoegde garantievoorwaarden..
MILIEU

Als uw machine na verloop vanarend aanervangting toe is, geef hem dan Niet met het huisvuil mee, maar zorg voor een milieuvriendelijk verwerking.

NL U kurz updates van handleidingen, exploded views, informatie over onderdelen en contact opnemen met unsere technische stations voor elk product thermische: www.eco-repa.com
NL U kurz updates van handleidingen, exploded views, informatie over onderdelen en contact opnemen met unsere technische stations voor elk product thermische: www.eco-repa.com
SimpelGids