DCBT33D - Grass trimmer ELEM Garden Technic - Free user manual and instructions
Find the device manual for free DCBT33D ELEM Garden Technic in PDF.
User questions about DCBT33D ELEM Garden Technic
0 question about this device. Answer the ones you know or ask your own.
Ask a new question about this device
Download the instructions for your Grass trimmer in PDF format for free! Find your manual DCBT33D - ELEM Garden Technic and take your electronic device back in hand. On this page are published all the documents necessary for the use of your device. DCBT33D by ELEM Garden Technic.
USER MANUAL DCBT33D ELEM Garden Technic
MANUEL D'UTILISATION
COUPE BORDURE-DEBROUSAILLEUSE
DCBT33D / DCBT43D-1


ATTENTION
GB You can find updates of manuals, exploded views, information on spare parts and contact our technical stations for any product thermal : www.eco-repa.com
Service Parts separated

32/71/29.70.83

29.70.86
2010
Made
in
China
GEBRUIKERSHANDLEIDING
BOSMAIAER
DCBT33D / DCBT43D-1


Caution






2010
INLAATOPENING VOOR KOELLUCHT
AFSTELSCHROEF STATIONAIR TOERENTAL
GB You can find updates of manuals, exploded views, information on spare parts and contact our technical stations for any product thermal : www.eco-repa.com
Service Parts separated

32/71/29.70.83

29.70.86
Fabrique en Chine
2010
Made in China

garden technik
OWNER'S MANUAL
BRUSH CUTTERS
DCBT33D / DCBT43D-1







2010

Caution
- Before using our brush cutter please read this manual carefully to understand the proper use of your unit.
- Keep this manual handy.
SAFETY FIRST
Instructions contained in warnings with in this manual marked with a symbol concern critical points which must be taken into consideration to prevent possible serious bodily injury and for this reason you are requested to read all such instructions carefully and follow them without fail.
NOTES ON TYPES OF WARNINGS IN THE MANUAL
WARNING
This mark indicates instructions which must be followed in order to prevent accidents which could lead to serious bodily injury or death.
PORTANT
This mark indicates instructions which must be followed, or it leads to mechanical failure, breakdown, or damage.
TE
This mark indicates hints or directions useful in the use of the product.
English Contents
1.PARTS LOCATION 3
2.EXPLANATION OF PICTORIALS 4
3.SYMBOLS ON THE MACHINE 5
4.SAFETY PRECAUTIONS. 6
5. SET UP 9
6.FUEL 11
7.OPERATION 12
8.MAINTENANCE 14
9.SPECIFICATIONS 16
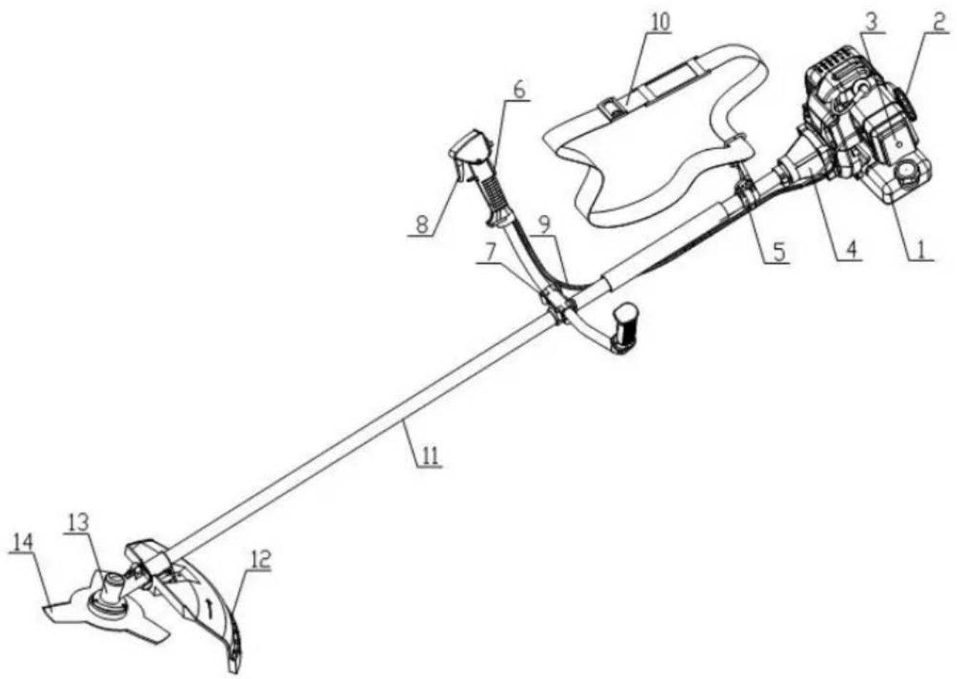
1.PARTS LOCATION
-
Fuel tank
-
Throttle lever
-
Starter
-
Throttle cable
-
Air cleaner
-
Belt
-
Clutch cover
-
Outerpipe
-
Hanger
-
Safety cover
-
Handle
-
Gear case
-
Handle bracket
-
Blade

2.EXPLANATION OF PICTORIALS
(1)

(2)

(3)

(4)

(1).Read owner's manual before operating this machine.
(2).Wear head, eye and ear protection.
(3).Warning/Attention
(4).Keep all children,by standers and helpers 15 meters away from the brush cutter
IMPORTANT
If warning seals peel off or become soiled and impossible to read, you should contact the dealer from which you purchased the product to order new seals and affix the new seal(S) in the required location(S)
WARNING
Never remodel your brush cutter.
We won't warrant the machine, if you use the remodeled brush cutter or you don't observe the proper usage written in the manual.
3.SYMBOLS ON THE MACHINE
For safe operation and maintenance, symbols are carved in relief on the machine. According to these indications, please be careful not to take a mistake.
(a). The port to refuel the "MIX GASOLINE" Position: FUEL TANK CAP.
(b). The direction to close the choke Position: AIR CLEANER COVER
(c). The direction to open the choke position: AIR CLEANER COVER

(a)

(b)

(c)
4.SAFETY PRECAUTIONS
BEFORE USING THE MACHINE
(a) Read this owner's manual carefully to understand how to operate this unit properly.
(b) This product has been designed for use in cutting grass, and it should newer be used for any other purpose
(c) You should never use this brush cutter when under the influence of alcohol, when suffering from exhaustion or lack of sleep. when suffering from drowsiness as a result of having taken cold medicine, or at any other time when a possibility exists that your judgment might be impaired or that you might not be able to operate the
brush cutter properly ang in a safe manner.
(d) Avoid running the engine indoors. The exhaust gases contain harmful carbon monoxide.
(e) When using this product for the first time, before beginning actual work, learn to handling the brush cutter from skilled worker.
(f) Be sure to keep this manual handy so that you may refer to it later whenever any questions arise.



WORKING GEAR AND CLOTHING
(a) When using your brush cutter, you should wear proper clothing and protective equipment as follows.
(1) Helmet
(2) Protection goggles or face protector
(3)Thick work gloves
(4)Non-slip-sale work boots
(5)Ear protectors
(b) Never use your brush cutter when wearing pants with loose cuffs, when wearing sandals, or when bare foot.

THINGS TO CHECK BEFORE USING YOUR BRUSHCUTTER
(a)Before beginning work, look around carefully to get a feel for the shape , and remove any obstacles which can be cleared away.
(b) Make sure that there are no loose screws or bolts, fuel leaks, ruptures, dents, or any other problems which mingt interfere with safe operation. Be especially careful to check that there is nothing wrong with the blades or with the joins by which the blades are attached to the brush cutter.
(c) Never use blades that are bent, warped, cracked, broken or damaged in any way.
Keep the blade always sharp.
(d) Check the bolt to fasten the blade and be sure the blade turns smoothly without abnormal noise.
NOTES ON STARTING THE ENGINE
- Take a careful look around to make sure that no obstacles exist within a perimeter of 15m or less around brush cutter.
- Place the body of the brush cutter onto the ground in a flat clear area and hold it firmly, in place so as to ensure that neither the cutter parts nor the throttle come into contact with any obstacles when the engine starts up.
- Place the throttle into the idling position when starting the engine.
■ KICKBACK SAFETY PRECAUTIONS
1.Before beginning work, clear your working area and remove grasses around the obstacles.
2. When using your brush cutter, do not grip other parts except the handles.
3. When using your brush cutter, never take your eyes off. If you need to, place the throttle into the idling position.
4. When using your brush cutter, do not let the unit get closer to your feet nor raise the unit above your waist.
NOTES ON TRANSPORTATION
(a). Make sure the appropriate blade cover is in place.(if blade is equipped)
OPERATION SAFETY PRECAUTIONS
(a). Grip the handles of the brush cutter firmly with both hands. If you suspend the work, place the throttle into the idling position.
(b). Always be sure to maintain a steady, even posture while working.
(c). Maintain the speed of the engine at the level required to perform cutting work., and never raise the speed of the engine above the level necessary.
d. Never touch the spark plug or plug cord while the engine is in operation. Doing so may result in being subjected to an electrical shock.
e. Never touch the muffler, spark plug, or other metallic parts of the engine while the engine is in operation or immediately after shutting down the engine. Doing so may result in serious burns.
f. .when you finish cutting in one location and wish to continue work in another spot, turn off the engine and turn the unit as the cutting parts faces away from your body.



MAINTENANCE SAFETY PRECAUTION
a Under no circumstances should you ever take apart the brush cutter or alter it in any way. Doing so mint result in the brush cutter becoming damaged during operation or the brush cutter becoming unable to operate properly.
b. . Always be sure to turn off the engine before performing any maintenance or checking procedures.
c When sharpening, removing, or reattaching the blade, be sure to wear thick, sturdy gloves and use only proper tools and equipment to prevent injury.
5. SET UP
■ HANDLE
- Loosen the 4 bolts on the handle bracket.
2.Insert the right handle(throttle lever is attached)and the left handle assembly into the braket and retighten the bolts securely.
(1) Handle bracket
(2)Right handle
(3)Bolt

(4)Left
(5)Engine side
SAFETYGUARD
Attach the safety guard to the gear care and fix it with the clump and 2 bolts (M5X25) securely
THROTTLE WIRE
WARNING
After fitting up the handle make sure that the throttle cable is put in the throttle lever. if not, it is very dangerous because the engine rotate after releasing the throttle lever.

ADJUSTING THE THROTTLE CABLE
- If the play is short or long, take off the air cleaner cover, loosen the lock nut and adjust the play.
INSTALLING THE MYLON CUTTER
- Set correctly the inner holder and the outer holder to the gear shaft.
2.Screw the attached bold(M8 Left) into the gear shaft and secure it with the spanner.
3.Screw the nylon cutter into the bolt by fixing the inner holder with the L-shaped bar and tighten it manually.
NOTE
Keep bolts and washers to install the blade carefully so as not to lose them.
INSTALLING THE METAL BLADE
- Set the inner holder to the gear shaft, and turn to fix with the attached L-shaped bar.
- Put the blade on the inner holder with the face with letters to the gear case, and match correctly the hole of the blade to the projection of the inner holder.
3.Set the outer holder to the gear shaft with the hollowed face to the blade. - Put the attached bolt cover on the outer holder and secure it with the bolt (left screw) together with the spring washer and the washer.

6.FUEL

WARNING
Gasoline is very flammable. Avoid smoking or bringing any flame or sparks near fuel.
Wipe up all spills before starting the engine.
-Make sure to stop the engine and allow it cool before refueling the unit.
- keep open flames away from the area where fuel is handled or stored.

IMPORTANT
- Never use oil for 4 cycle engine use or water cooled 2-cycle engine. It can cause spark plug fouling, exhaust port blocking, or piston ring sticking.
Mixed fuels which have been left unused for a period of one month or more may clog the carburetor or result in the engine failing to operate properly. Put remained fuel into an air-tight container and keep it in the dark and cool room.
- Mix a regular grade gasoline(leaded or unleaded, alcohol-free) and a quality proven motor oil for air cooled 2 cycle engines.
RECOMMENDED MIXING RATIO
Gasoline 25 :Oil 1
7.OPERATION
STARTING THE ENGINE
WARNING
-
Before starting the engine, inspect the engine unit for loose fittings or fuel leaks, and the cutting attachment is properly installed and securely fastened.
-
Keep the cutting head clear of everything around it.
-
Move the choke lever to the closed position.
(1)Choke lever
(2) Close
(3) Open
- While holding the unit firmly, pull out the starter rope quickly,
- After the engine has started, open the choke gradually.
- Allow the engine to run for 2 to 3 minutes to warm up.


STOPPING THE ENGINE
- Return the throttle lever to the idling position.
- Push the engine switch button.
(1) Engine switch button

7.OPERATION
CUTTING OPERATION
METAL BLADE USAGE
Always cut by guiding the head from your right to left.
A metal blade cut best up to the point 1/3 from the edge. Use that area for cutting shrubs, tough and thick weeds. For cutting young grass, you can use up to 2/3from the tip of blade.
IMPORTANT
Operating at low speed makes it easier for grass, weeds, or twigs to become caught up in the blades, and also it makes the shaft and clutch wear down more quickly.
WARNING
-
For safety reasons, do not use metalreinforced line.
-
Do not cool the blade with water in case of using grinder. It may cause cracks on blade.

8.MAINTENANCE AFTER 25 HOURS OF USE
AIR CLEANER
Check and clean the filter element in warm, soapy water as required. Dry completely before installing. If the element is broken or installing. If the element is broken or shrunk, replace with a new one.
IMPORTANT
A clogged air filter may increase fuel consumption while cutting down the engine power
And operate the brush cutter without the air filter of with a deformed filter element will quickly ruin the engine.
FUEL FILTER
Take the filter out of the fueling port using a small wire hook.Disconnect the filter assembly from the fuel pipe and unhook the retainer to disassemble it.Clean the components with gasoline
IMPORTANT
A clogged fuel filter may cause poor acceleration of the engine.
SPARK PLUG
Remove and inspect the spark plug and clean the electrodes as necessary with brush.
The spark gap should be adjusted to 0.6 0.7mm(F15)
When replacing spark plug, use only products which have been designated by

INTAKE AIR COOLING VENT
Check the intake air cooling vent and the area around the cylinder cooling fins
IMPORTANT
Note that failing to do so could cause the muffler to become overheated, and that this in turn could cause the brushcutter to catch on fire.
8.MAINTENANCE
GEAR CASE
Supply multi-purpose grease at every 25 hours of use.
AFTER 100 HOURS OF USE
MUFFLER
- Remove the muffler, insert a screwdriver into the vent, and wipe away any carbon buildup. Wipe away any carbon buildup on the muffler exhaust vent
ADJUSTING CARBURETOR
A wrong adjustment may cause damage to your unit. If the engine does not run well after adjusting the carburetor, please contact the shop where you
purchased the product.
IDLE ADJUSTMENT SOREW
This is the screw to adjust the engine rotation when the throttle lever is set to the lowest speed position. If you turn right(clockwise),rotation increases, and left (counterclockwise) decreases.
(1)Idle adjustment screw (2)High (3)Low
MAINTENACE BEFORE STORAGE
1.Brushing off dirt form the machine, check damage or slack of each part. If you find out abnormalities, repair them for the next use.

2 Extract fuel from the tank, and loose the drain screw of the float cabin to extract fuel, turn on the engine, and leave it running until it stops naturally.
3.Remove the spark plug and put in 1~2 CC of 2-cycle oil in the engine. Draw the starter ropes 2~3 times, set the plug back, and stop it at the contraction position.
4. Apply anti-rust oil to the metal parts such as the throttle wire, put the cover on the blade, and keep it in door avoiding dampness.
9. SPECIFICATIONS
| Name | Brush | ||
| Brushcutter Model | DCBT33D | DCBT43D-1 | |
| Handle type Both hands | |||
| Machine weight 6.5Kg 7.5 Kg | |||
| Outward side 1760X610X420mm | |||
| Power transmission method Automatic centrifugal clutch spiral gear | |||
| Reduction rate 0.75 (15:20) | |||
| Blade rotating direction | Counterclockwise (from operator's view) | ||
| Gasoline Engine | Model | 1E36F | 1E40F-5 |
| Type Single cylinder | air cooling 2-cycle | ||
| Displacement 33 cc | 42.7cc | ||
| Max.Output | 1.1Kw/7000r/min | 1.4Kw/7000r/min | |
| Max.Torque | 1.6 N·m/5500r/min | 2.2 N·m/6000r/min | |
| Fuel tank capacity | 0.8L | ||
| Fuel used | Mixing rate 25:1 | ||
| Lubricant oil | FC2-Stroke engine oil | ||
| Carburetor | Diaphragm | Float piston valve | |
| Sparking method | IC-controlled fly wheel magnet | ||
| Spark plug | L7RTC | ||
| Starting mehtod | Recoil starer | ||
| Stopping method | Sparking circuit primary short(push button) | ||
| Net weight | 3.5 Kg | 3.9 Kg | |
*Specifications are subject to change without notice!
GUARANTEE
Refer to the enclosed guarantee conditions for the terms and conditions of guarantee.
ENVIRONMENT

Should your machine need replacement after extended use, do not put it in the domestic waste but dispose of it in an environmentally safe way.

GB You can find updates of manuals, exploded views, information on spare parts and contact our technical stations for any product thermal : www.eco-repa.com
Service Parts separated

32/71/29.70.83
32/74 29.70.86
2010
Made in
China
EasyManual