CK 1601 - Horloge ADE - Gratis gebruiksaanwijzing en handleiding
Vind de handleiding van het apparaat gratis CK 1601 ADE in PDF-formaat.
Gebruikersvragen over CK 1601 ADE
0 vraag over dit apparaat. Beantwoord die u kent of stel uw eigen vraag.
Stel een nieuwe vraag over dit apparaat
Download de handleiding voor uw Horloge in PDF-formaat gratis! Vind uw handleiding CK 1601 - ADE en neem uw elektronisch apparaat weer in handen. Op deze pagina staan alle documenten die nodig zijn voor het gebruik van uw apparaat. CK 1601 van het merk ADE.
GEBRUIKSAANWIJZING CK 1601 ADE
Istruzioni per l'uso | Gebruiksaanwijzing | Instrukcja obsługi

U hebt gekozen voor de aanschaf van een kwalitatief hoogwaardig product van het merk ADE, dat intelligente functies met een buitengewoon ontwerp verenigt. Met de wandklok hebt u altijd zicht op de exacte tijd. De jarenlange ervaring van het merk ADE verzekert een hoge technische standaard en bewezen kwaliteit.
Wij wensen u een doorlopend ontspannen timing!
Uw ADE-team
Algemeen
Over deze gebruiksaanwijzing

Deze gebruiksaanwijzing beschrijft het artikel veilig kunt gebruiken en onderhouden. Bewaar deze gebruiksaanwijzing, om hem later te kunnen raadplegen. Als u het artikel aan iemand anders doorgeeft, voeg dan ook deze gebruiksaanwijzing bij.
Het niet naleven van deze gebruiksaanwijzing kan leiden tot letsel of schade aan het artikel.
Verklaring van de tekens

Dit symbool in combinatie met het woord GEVAAR waarschuwt voor ernstig letsel.

Dit symbool in combinatie met het woord WAARSCHUWING waarschuwt voor matig en licht letsel.

Dit symbool in combinatie met het woord AANWIJZING waarschuwt voor materiële schade.

Dit symbool duidt extra informatie en algemene aanwijzingen aan.
Inhoudsopgave
Algemeen....32
Gebruik volgens de voorschriften....34
Veiligheid....34
In een oogopslag (Achterkant)....35
Reinigen....36
Storing/oplossingen....36
- Analoge wandklok
- 1 batterij Type LR6, 1,5¥
- Gebruiksaanwijzing
Deze klok geeft de tijd aan en is ontworpen voor privégebruik.
Veiligheid
- Dit artikel kan door kinderen van 8 jaar en ouder en door personen met beperkte psychische, zintuiglijke of mentale capaciteiten worden gebruikt, wanneer zij onder toezicht staan of wanneer zij zijn onderwezen over het gebruik van dit artikel en zij de hieraan verbonden risico's begrijpen.
- Kinderen mogen niet met het artikel spelen.
- Reiniging en gebruikersonderhoud mogen niet door kinderen worden uitgevoerd, tenzij ze 8 jaar of ouder zijn en onder toezicht staan.
- Batterijen kunnen bij inslikken levensgevaarlijk zijn. Bewaar de klok en de batterij daarom op een plaats buiten bereik van kleine kinderen. Als er een batterij wordt ingeslikt, moet er onmiddellijk medische hulp worden ingeroepen.
GEVAAR voor kinderen
- Houd kinderen uit de buurt van verpakkingsmaterialen. Bij inslikken bestaat er verstikkingsgevaar. Let er ook op dat de zak voor de verpakking niet over het hoofd wordt getrokken.
GEVAAR voor brand/brandwonden en/of explosie
- Explosiegevaar bij onjuiste vervangen van de batterij. Vervang de batterij uitsluitend door hetzelfde of een gelijkwaardig type batterij. Schenk aandacht aan de "Technische gegevens".
- De batterijen mogen niet worden opgeladen, met andere middelen worden gereactiveerd, uit elkaar worden gehaald, in vuur worden geworpen of worden kortgesloten. Verder bestaat er een verhoogd risico op explosies en leeglopen, waarbij gassen kunnen vrijkomen!
- Vermijd contact met de huid, ogen en slijmvliezen. Spoel bij contact met batterijzuur de getroffen plaatsen onmiddellijk overvloedig af met schoon water en raadpleeg onmiddellijk een arts.
WACHT U voor materiële schade
- Bescherm de klok tegen harde schokken en trillingen.
- Neem de batterij uit het apparaat als de batterij leeg is of als u de klok lange tijd niet gebruikt. Zo vermijdt u schade die door het leeglopen kan worden veroorzaakt.
- Let bij het plaatsen en vervangen van de batterij op de juiste polariteit (+/-).
- Stel de batterij niet bloot aan extreme omstandigheden, door hem bijvoorbeeld op een verwarming of in direct zonlicht op te slaan. Verhoogd risico op leeglopen!
- Reinig naar behoefte voor het plaatsen de contacten van de batterij en het apparaat.
- Breng geen wijzigingen aan het apparaat aan. Laat reparaties uitsluitend door een vakman uitvoeren. Ondeskundig uitgevoerde reparaties kunnen aanzienlijke gevaren voor de gebruiker tot gevolg hebben.
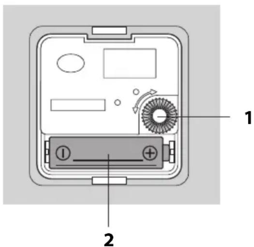
In een oogopslag (Achterkant)

1 Instelwieltje
2 Batterijvak
Voor het gebruik hebt u een batterij van het type LR6 (AA), 1,5 V nodig.
- Plaats de batterij zoals op de bodem van het batterijvak is afgebeeld.
Let op de juiste polariteit (+/-). - Stel de juiste tijd in door de wijzers met het instelwieltje naar voren of naar achteren te draaien.
- Hang de klok, indien gewenst, op aan een spijker of schroef. Hiervoor heeft de klok aan de achterkant een ophangoog.
Let erop dat de klok goed is bevestigd, zodat de klok niet kan vallen en beschadigd raken.

- Als de wijzers niet mee bewegen, moet u de batterij vervangen.
- Gebruik uitsluitend het type batterijen dat in de "Technische gegevens" is aangegeven.
- Voer de oude batterijen op milieubewuste wijze af; zie: "Afvoer".

AANWIJZING voor materiële schade
-Dompel de klok niet in water of andere vloeistoffen.
-Gebruik nooit harde, krassende of schurende schoonmaakmiddelen om de klok schoon te maken. Hierdoor kan het oppervlak worden gekrast.
- Stof de klok indien nodig af met een droge, zachte doek. De glasplaat kunt u ook met een in de handel verkrijgbare glasreiniger schoonmaken.
Storing/oplossingen
| Storing Mogelijke oorzaak | |
| De weegschaal werkt niet | • Is de batterij leeg of verkeerd geplaatst? |
Technische gegevens
Model: Analoge wandklok CK 1601
Batterij:
1x LR6 (AA), 1,5 V=
Nominale stroom: 220 mA
Distributeur (geen
Waagen-Schmitt GmbH
onderhoudsadres):
Hammer Steindamm 27-29
Onze producten worden doorlopend ontwikkeld en verbeterd.
Daarom kunnen er altijd technische en ontwerpwijzigingen worden aangebracht.
Verklaring van overeenstemming
Deze klok is geproduceerd in overeenstemming met de geharmoniseerde Europese normen.
Het voldoet aan de hieronder genoemde EG-richtlijnen:
- EMC-richtlijn 2004/108/EG inzake elektromagnetische compatibiliteit
- RoHS-richtlijn 2011/65/EG in zijn geldende versie.
De verklaring zal zijn geldigheid verliezen wanneer iets aan het product veranderd wordt, zonder onze goedkeuring.
Garantie
De firma Waagen-Schmitt GmbH garandeert tot 3 jaar na de aankoopdatum het kostenloze herstel van defecten als gevolg van materiaal- en fabricagefouten door reparatie of vervanging.
Retourneer het artikel in geval van aanspraak op de garantie met het aankoopbewijs (en vermeld hierop de reden voor de aanspraak) aan uw detailhandelaar.
Afvoer
Afvoer van de verpakking

Voer de verpakking gescheiden af. Doe karton bij het oud papier en folies in de bak voor hergebruik.
Afvoer van het artikel
Voer het artikel in overeenstemming met de in uw land geldende voorschriften af.

Apparaten mogen niet met het normale huishoudelijke afval worden afgevoerd
An het eind van zijn levensduur moet het artikel op de juiste wijze worden afgevoerd. Daarbij worden de in het apparaat aanwezige herbruikbare materialen hergebruikt en wordt de belasting van het milieu vermeden. Lever het oude apparaat in bij een verzamelpunt voor elektronisch afval of een kringloopcentrum.
Neem voor meer informatie contact op met het lokale afvalverwerkende bedrijf of de gemeente.

Batterijen en accu's horen niet in het huishoudelijk afval
Alle batterijen en accu's moeten bij een verzamelpunt van de gemeente, het stadsdeel of bij een detailhandelaar worden ingeleverd. Daardoor kunnen batterijen en accu's op milieuvriendelijke wijze worden afgevoerd.
SimpelGids