CK 1601 - Mirar ADE - Manual de uso y guía de instrucciones gratis
Encuentra gratis el manual del aparato CK 1601 ADE en formato PDF.
Preguntas de los usuarios sobre CK 1601 ADE
0 pregunta sobre este aparato. Responde a las que conoces o haz la tuya.
Hacer una nueva pregunta sobre este aparato
Descarga las instrucciones para tu Mirar en formato PDF gratis! Encuentra tus instrucciones CK 1601 - ADE y toma tu dispositivo electrónico nuevamente en la mano. En esta página están publicados todos los documentos necesarios para el uso de su dispositivo. CK 1601 de la marca ADE.
MANUAL DE USUARIO CK 1601 ADE
Analog wall clock | Reloj de pared analógico
Horloge murale analogique | Orologio da parete analogico
¡Estimada/o cliente!
Se ha decidido por la compra de un producto de gran calidad de la marca ADE, que aúna unas funciones inteligentes con un diseño extraordinario. Con este reloj de pared tendrá siempre a la vista la hora exacta. La larga experiencia de la marca ADE le asegura unos elevados estándares técnicos y es garantía de calidad.
¡Le deseamos una planificación del tiempo relajada!
El equipo de ADE
Información general
Este manual de instrucciones describe el manejo seguro y el cuidado del artículo. Conserve este manual de instrucciones por si necesita volver a consultarlas. Si le entrega el artículo a otra persona, acompañelo también de estas instrucciones.
Si no se tienen en cuenta las recomendaciones de este manual de instrucciones, pueden producirse lesiones o daños en el artículo.
Explicación de símbolos

Este símbolo unido a la palabra PELIGRO advierte de heridas graves.

Este símbolo unido a la palabra ADVERTENCIA advierte de heridas de grado medio o leve.

Este símbolo unido a la palabra INDICACIÓN advierte de daños materiales.

Este símbolo significa información adicional e indicaciones generales.
Índice
Información general....14
Uso adecuado....16
Seguridad....16
De un vistazo (reverso)....17
Limpieza 18
Declaración de conformidad....18
Garantía 19
Eliminación....19
Artículos incluidos en la entrega
- Reloj de pared analógico
- 1 pila tipo LR6, 1,5 ¥
- Manual de instrucciones
Este reloj sirve para mostrar la hora y está diseñado para uso privado.
Seguridad
- Este artículo puede ser utilizado por niños mayores de 8 años y por personas con discapacidad física, sensorial o mental o con falta de experiencia o conocimientos, siempre que estén supervisados o se les instruya sobre el uso seguro del artículo y comprendan los riesgos que pueden producirse.
- Los niños no deben jugar con el artículo.
- La limpieza y el mantenimiento por parte del usuario no deben ser realizados por niños, salvo que sean mayores de 8 años y estén supervisados.
- Las pilas pueden suponer un peligro de muerte si se ingieren. Mantenga el reloj y la pila fuera del alcance de los niños. Si se ingiere una pila, debe acudir inmediatamente en busca de asistencia médica.
RIESGOS para los niños
- Mantenga a los niños alejados del material de embalaje. Existe el riesgo de asfixia por ingestión. Tenga cuidado de que no introduzcan la cabeza en la bolsa del embalaje.
RIESGO de incendio/combustión y/o explosión
- Riesgo de explosión por la sustitución inadecuada de las pilas. Sustituya las pilas por otras iguales o por otras equivalentes. Tenga en cuenta los "Datos técnicos".
- Las pilas no deben cargarse, reactivarse con otros medios, desmontarse, arrojarse al fuego o ponerse en cortocircuito. En caso contrario existe un riesgo mayor de explosión o fuga, y además pueden liberarse gases.
- Evite el contacto con la piel, ojos y mucosas. En caso de contacto con el ácido de las pilas, límpiese inmediatamente la zona afectada con abundante agua limpia y acuda al médico sin pérdida de tiempo.
PRECAUCIÓN por daños materiales
- Proteja el reloj de golpes y sacudidas fuertes.
- Saque la pila del artículo cuando esté gastada o cuando no vaya a utilizar el reloj durante un tiempo prolongado. De este modo evitará los daños que pudieran producirse por una fuga del líquido de las pilas.
- Cuando coloque y cambie la pila, preste atención a la polaridad correcta (+/-).
- No exponga la pila a condiciones extremas, por ejemplo colocándola sobre radiadores o expuesta directamente al sol. ¡Riesgo elevado de derrame!
- Cuando sea necesario, limpie los contactos del aparato y de las pilas antes de colocarlas.
- No realice ninguna modificación en el artículo. Llévelo a reparar únicamente en un taller especializado. Las reparaciones realizadas de forma inadecuada pueden suponer un riesgo elevado para el usuario.
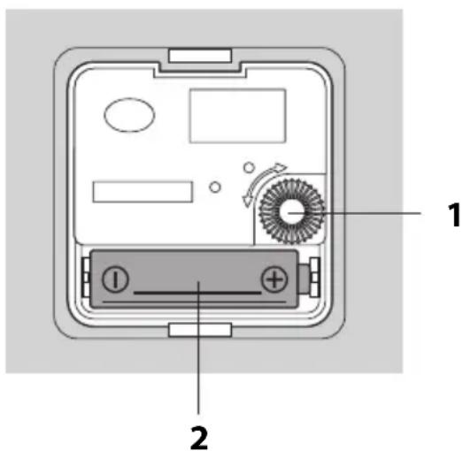
De un vistazo (reverso)

1 Rueda de ajuste
2 Compartimento para las pilas
Para utilizar el reloj es necesaria una pila del tipo LR6 (AA), 1,5 V.
- Coloque la pila tal y como se muestra en el fondo del compartimento.
Preste atención a la polaridad correcta (+/-).
-
Coloque las agujas en la hora correcta girando la rueda de ajuste hacia adelante o hacia atrás.
-
Si lo desea, cuelgue el reloj de un clavo o un tornillo. En la parte posterior hay dos argollas para colgarlo.
Preste atención a que se encuentre bien sujeto para evitar que se caiga y se dañe.

- Debe cambiarse la pila cuando se queden paradas las agujas.
- Utilice únicamente el tipo de pilas especificado en los "Datos técnicos".
- Elimine las pilas usadas siguiendo la normativa medioambiental, consulte "Eliminación".

INDICACIÓN de daños materiales
-No sumerja el reloj en agua ni en otro líquido.
-No utilice nunca productos o medios de limpieza duros, ásperos o abrasivos para limpiar el reloj. Podría arañar la superficie.
- Cuando sea necesario, quite el polvo al reloj con un paño suave y seco. El cristal puede limpiarse con un limpiacristales de uso común.
Problema/Solución
| Problema Causa posible | |
| No funciona nada | ¿Se ha gastado la pila o está mal colocada? |
Datos técnicos
Modelo: Reloj de pared analógico CK 1601
Pilas:
1x LR6 (AA), 1,5 V=
Intensidad de corriente: 220 mA
Distribuidor (no hay dirección de servicio técnico):
Waagen-Schmitt GmbH
Hammer Steindamm 27-29
Nuestros productos se están desarrollando y mejorando continuamente.
Por este motivo cabe la posibilidad de que en cualquier momento pudiera haber cambios en el diseño o modificaciones técnicas.
Declaración de conformidad
Este reloj ha sido fabricado conforme a la normativa europea armonizada.
Cumple lo dispuesto en las siguientes Directivas CE:
- Directiva CEM 2004/108/CE sobre compatibilidad electromagnética
- Directiva 2011/65/CE (RoHS) en su versión vigente
Esta declaración perderá su validez si en la balanza se realizan modificaciones no autorizadas por el fabricante.
Garantía
La empresa Waagen-Schmitt GmbH garantiza durante 3 años a partir de la fecha de compra, la eliminación de los defectos debidos a fallos de material o fabricación, mediante reparación o cambio del equipo.
En caso de solicitar la aplicación de la garantía, lleve el artículo a su distribuidor con el justificante de compra (explicando el motivo de la reclamación).
Eliminación
Eliminación del embalaje

Elimine el embalaje separando los materiales. Lleve el papel y cartón al contenedor de cartón y las láminas al de plásticos.
Eliminación del artículo
Elimine el artículo conforme a la normativa correspondiente aplicable en su país.

Los aparatos no deben eliminarse con la basura doméstica normal.
El artículo debe ser eliminado de forma adecuada al final de su vida útil. Para ello se deben reciclar las piezas del aparato y así evitar un daño al medio ambiente. Deposite el aparato antiguo en un punto de recogida de restos electrónicos o de desechos reciclables.
Para más información, diríjase a su empresa de recogida de residuos o administración local.

Las pilas y baterías no son basura doméstica.
Todas las pilas y baterías deben depositarse en los puntos de recogida del ayuntamiento, distrito o en los comercios. De este modo puede realizarse la eliminación de pilas y baterías de una forma respetuosa con el medio ambiente.
ManualFácil