Tronic 70 - Garagepoort MAC - Gratis gebruiksaanwijzing en handleiding
Vind de handleiding van het apparaat gratis Tronic 70 MAC in PDF-formaat.
Veelgestelde vragen - Tronic 70 MAC
Download de handleiding voor uw Garagepoort in PDF-formaat gratis! Vind uw handleiding Tronic 70 - MAC en neem uw elektronisch apparaat weer in handen. Op deze pagina staan alle documenten die nodig zijn voor het gebruik van uw apparaat. Tronic 70 van het merk MAC.
GEBRUIKSAANWIJZING Tronic 70 MAC
Controller of de garagedeur in goede staat en balans is en dat hij goed open en dicht gaat alvorens u de aandrijving installeert.
- Gebruik geen extra krachten om te compenseren voor een moeilijk lopende garagedeur. Overdadig benodigde krachten voorkomen een veilig werkende Safety Reverse System of hunnen de garagedeur beschadenigen.
- Kleding kan vastraken in hendels en andere uitsteeksels. Verwijder alle touwen, hendels, haken, beugels en andere uitsteeksels van de deur. Draag geen wijde losse kleding.
- Plaats het wandcontact (drukknop) in het zicht van de garagedeur, maar weg van elk beweegbaar onderdeel van de garagedeur. Het is raadzaam het wandcontact hoog genoeg, buiten bereik voor kinderen, teplaatsen.
- De Safety Reverse System test is erg beschrijk. Een dichtgaande garagedeur moet stoppen en terug opengaan indien zich er een obstakel onder de deur bevindt. Het Niet correct instellen kan resulteren in schade of letsel. Herhaal deze test maandelijks en pas, indienoodzakelijk,instelingen aan (zie Menu 4 en Menu 5 op blz.13 van deze handleiding).
Plaatselijke veiligheidsvoorschriften in acht nemen. Netvoeding- en laagspanningsbedradingen absolut gescheden leggen.
- Indien er geen tweede toegangsdeur tot de garage is, moet men een noodontgrendeling van buitenaf installereren. Deze accessoire maakt het möglichk toegang tot de garagedeur te krijgen in geval van een stroomuitval.
Voor het openen van de behuizing de aandrijving eerst loskoppelen van de netspanning! - Controller de installation, met name de kabels, veren en bevestigingen op tekenen van slijtage, beschadiging of het Niet goed in balans zich. Breng zich geen veranderingen aan deur, veren of kabels aan, waar een Niet goed gebalanceerde deur letsel kanveroorzaken.
- Sloten of fremds op de deur verwijderen of buiten gebruik stellen.
BELANGRIJKVEILIGHEIDSOPMERKING
Houd mensen en dieren uit de buurt van bewegende deuren. Laat iedereen zien hoe de aandrijving veilig gebruikt kan worden. Open de deur alleen als deze volledig zichtaar is. Laat nooit iemand onder een bewegende deur doorlopen. Laat geen kinderen met de deur of afstandsbediening spelen.
Bewaar dit handboek voor toekomstig onderhoud, afstelling en reparaties.
INTRODUCTIE
Gefeliciteerd met de aanschaf van uw nieuwe garagedeuropeaner. Het is een resultaat van een zorgvuldig ontwerp en nauwkeurige productietechnieken. Deze garagedeuropeaner biedt u duurzaam gebruiksgemak. Al once producten zijn fabrieksgetest en garanderen optimale kwaliteit en verilgheid.
Om schade aan aandrijving of garagedeur te voorkomen en om te voldoen aan de Machinerichtlijnen dient u de aandrijving volgens instructies in deze handleiding in acht te nemen.

VEILIGHEIDSVOORZIENINGEN
- Automatische terugloop
Een sluitende deur stopt en opent zich automatisch binnen 2 seconden indien de deur een obstakel raakt.
- Automatische looptijdbegrenzing
Sluitende deur stopt en opent zich indien deutsche nicht geheel is gesloten binnen 88 seconden (instelbaar 30 - 240 seconden).
- Safety Stop
Opengaande deur stopt binnen 2 seconden zodra deutsche gegen een obstakel kommt.
Fotocel
Voor extraeiligheid bevelen wij een fotocel aan. Indien een voorwerp of person de infra- rood straal onderbreekt terwijl de deur sluit, stopt de deur en keert deze terug in stand open zonder dat iemand de deur zich aangeraakt.

BELANGRIJK
Voor optimale verilgheit要去 men de onafhankelijk open en dichtloop krachtbegrenzing (zie Menu 4 en Menu 5 op blz. 13 van每次都 handleiding) instellen en regelmatig testen.
MONTAGE-INSTRUCTIES
Let op: Indien de opener is geleverd met een tweedelige rail dient men de montage-instructies, geleverd bij rail, in acht te nemen.
1 Plaats vrijze tandwieladapter op motoraandrijfas.
De rail samen met de 2 klembeugels aan de aandrijving vastschroeven. Zorg dat de schroeven goed vastgedraaid worden.

Monteer de inschakelpal en de trekstang op het wagentje.
a. Verwijdt de pal van zijn transport ligplaats en druk hem in de voorzieneplaats op de loopwagen.(zie fig. 1)
b. Schroef de trekstang in de loopwagen. Let op de positie van de trekkoord (zie fig. 2) om beschadiging en Incorrecte werkking te voorkomen


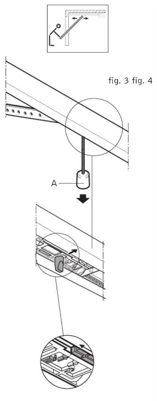
Snelontkoppeling.
a. Om de loopwagen te ontgrendelen: trek aan de touw "a". De loopwagen blijft ontgrendeld.(zie fig. 3)
b. Om de loopwagentering in te schakelen: beweeg de rode pal in de richting van de pijl en start de opener (zie fig. 4)


INSTALLATIE-INSTRUCTIES
SELECTER UW TYPE GARAGEDEUR
Voordat u de aandrijving gaat monteren dient u te controleren of de opener geschikt is voor uw type garagedeur. Bepaal uw deurtype in Stap 4A, 4B, 4C of 4D en volg nauwkeurig de individuèle instructies. Voor alle overige deurtypen dient u contact op te nemen met uw leverancier. Speciale accessoires of aanpassingen könnenoodzakelijk+zijn.
4A
Kanteldeuren

- Monteer deurbeugel (a) in het midden van de deur. Bevestig beugel (b) van de rail in het midden boven de deur (op het deurkozijn of op de draagbalk) zodanig dat er minstens 10mm . afstand isCUSen het hoogste punt van de deur en de onderkant van de rail.

- De aandrijving met behulp van een ondersteuning horizontaal stellen en bevestigen (fig. d).

- Ontkoppel loopwagen. Open of sluit de deur langzaam.
-Trekstang (c) aan deurbeugel (a) koppelen.
Let op! Sloten of fremds op de deur verwijderen of buiten gebruik stellen.
4B
Sectionaaldeuren


- Monteer deurbeugel (a) zoals aangegeven in het midden van de deur.

- Bevestig beugel (b) van de rail in het midden boven de deur (op het deurkozijn of op de draagbalk) zodanig dat er minstens 10mm . afstand isCUSen het hoogste punt van de deur en de onderkant van de rail.

- De aandrijving met behulp van een ondersteuning horizontaal stellen en bevestigen (fig. d).

- Ontkoppel loopwagen. Open of sluit de deur langzaam.
- Trekstang (c) aan deurbeugel (a) koppelen. Let op! sloten of fremde op de deur verwijderen of buiten gebruik stellen.


Binnen de gevel draaiende kanteldeur
min. 35 mm




Speciale curvenarm (zie tekening) isoodzakelijk (niet inbegrepen).Een fotocel wordt ten zeerste aanbevolen (niet inbegrepen, apart te bestellen).
- Monteer beugel (b) van de rail in het midden boven de deur (op het deurkozijn of op de draagbalk) zodanig dat er minstens 10mm . afstand isussen het hoogste punt van de deur en de onderkant van de rail.
- Monteer de curvenarm volgens de instructies van de leverancier van de arm.
- De aandrijving met behulp van een ondersteuning horizontal aan stellen en bevestigen (d).




-
Ontkoppel loopwagen. Open of sluit de deur langzaam.
-
De deur geheel openen en trekstang met curvenarm verbinden. Sluit deur handmatig en controllerer of de afstand:tussen loopwagen en deur min. 165 mm is.


(waarvan de helft buiten de gevel blijft)


- Bevestig beugel (b) van de rail in het midden boven de deur (op het deurkozijn of op de draagbalk) zodanig dat er minstens 10mm . afstand isussen het hoogste punt van de deuren de onderkant van de rail.
- Monteer de curvenarm volgens de instructies van de leverancier van de arm.
- De aandrijving met behulp van een ondersteuning horizontaal stellen en bevestigen (d).



-
Ontkoppel loopwagen van hetting of tandriem. Open of sluit de deur langzaam.
-
De deur geheel openen en trekstang met curvenarm verbinden. Sluit deur handmatig en controller of de afstand:tussen loopwagen en deur min. 165mm is.

VOOR ALLE OVERIGE DEURTPEN DIENT U CONTACT OP TE NEMEN MET UW LEVERANCIER!
Controller of aandrijving en rail goed geplaatst zich en alle schroeven zich aangedraaid. A Let op: voordat u uw aandrijving gaat programmeren moet uw loopwagen vergrendeld zich en trekarm aan garagedeur bevestigd zich.
Plaats gloeilamp.
Type E14, max. 40 Watt (niet inbegrepen).
AANDUIDINGEN ELEKTRONISCH CONTROLPEANEEL
Uw aandrijving heeft een makkelijk contropaneel met 8 verlichte symbolen en 3 programmeertoetsen.
LED's
1 externefotocel
2 deur open
3 automatisch sluiten
4 deur gesloten
5 230Vverlichting
6 storing
7 impuls (knippert langzaam indien 'vakantievergrendeling')
8 in bedrijf, netspanning (230V)
Programmeertoetsen
Programmeertoets voor "verminderen" en deur DlCHT testtoets
量 Programmeertoets voor "vermeerderen" en deur OPEN testtoets
P Programmeertoets
VERKLARING
LEDuit bijv.
LEDverlicht bijv. 3
LED knippert bijv. 5
LED knippert snel bijv. 64
Toets ingedrukt of of
Verlichting van aandrijving
Externalverlichting
aan:uit:
aan:uit:
Standaard instelling: bijv.

PROGRAMMEREN VAN BESTURING - BASISFUNCTIES
Nadat aandrijving op netstroom is aangesloten ondergaat hij automatisch een self-test; alle 8 LED's en de gloeilamp voor ongeveer 2 seconden verlicht. De aandrijving is in bedrijstoestand nadat de gloeilamp uit is en LED 8 is verlicht.
HET MAKEN EN VERANDEREN VAN INSTELLINGEN :
Alle geveens en veranderingen worden geprogrammeerd met behulp van drie programmeertoetsen. Druk toets voor ca. 2 sec. in om van bedrijfstoestand maar programmeermode te gaan. Laat toets los wonneer alle LED's branden en LED knippert.
U bent nu in de programmeermode van de basisfuncties.
Gebruik de en toets voor veranderingen in programmeermenu
toets om menukeuze / programmering op te slaan in geheugen.
MENU OVERZICT:
1 Programming van de fotocel
2 Programming van deur OPEN eindhoven
3 Programmering van deur DICT eindpositie
4 Programming maximale trekkracht
5 Programming maximale duwkracht
INSTellenVAN DE AANDRIJVING:
Menu 1
PROGRAMMEREN VAN DE FOTOCEL* [1-1]
- @P toets voor ca. 2 sec indrukken (LED [D] knippert en alle andereijken verlicht).
- A.Druk op als u een fotocel installeert (LED Verlicht).
B. Druk op als u geen fotocel installeert (LED knippert snel).
- Druk op om fotocel functie op te slaan en automatisch maar programmeermenu 2 te gaan.
*De fotocel is een optionele accessoire.
Menu 2
PROGRAMMEREN VAN DE DEUR OPEN EINDPOSITIE 2
- LED 2 knippert en alle andere+zijn verlicht.
- Druk op de toets om garagedeur maar gewenste deur OPEN eindpositie te lately gaan. Gebruik de (PEN) en (Dicht) toetsen voor fijnafstelling.
- Druk op ⊙P om deur open eindpositie op te slaan en automatisch waar programmeer menu ③ te gaan.
Menu 3
PROGRAMMEREN VAN DE DEUR DICT EINDPOSITIE 4
- LED 4 knippert en alle andere+zijn verlicht.
- Druk op de toets om garagedeur maar gewenste deur DICT eindpositie te lately gaan. Gebruik de (DICT) and (OPEN) toetsen voor fijnafstelling.
- Druk op ⊙ om deur DICT eindpositie op te slaan en automatisch waar programmeer menu 4 te gaan.
Menu 4
PROGRAMMEREN MAXIMALE TREKKRACHT EN 6
Niettegenstaande de aandrijving een automatisch lerende krachtinstelling heeft raden wij ten zeerste aan de maximaal benodigde trekkracht te programmeren. Als de handmatig ingestelde kracht overschreden worden, za deze voorrang krijgen op de automatisch geleerde kracht.
- LED en LED knipperen en alle anderen zich verlicht.
- Gebruik de en toetsen om gewenste kracht in te stellen. Elk verlicht LED is 1/8 van de kracht, dus 1 verlichte LED (1/8) = minimale kracht, alle LED's verlicht (8/8) is maximale kracht.
| 8 | 12 | 14 | 16 | 18 | 20 | 22 | 24 | 26 | 28 | 30 |
| 7% | -2 | 52 | 2 | 52 | 2 | 52 | 2 | 52 | 2 | 52 |
| 6% | 33 | 6% | 93 | 6% | 93 | 6% | 93 | 6% | 93 | 6% |
| 5% | 4 | 5% | 4 | 5% | 4 | 5% | 4 | 5% | 4 | 5% |
| 1/8 | 2/8 | 3/8 | 4/8 | 5/8 | 6/8 | 7/8 | 8/8 |
- Druk op om maximale trekkracht op te slaan en automatisch waar menu 5 te gaan.
A Attentie: Stel uitschakelautomaat zo gevoelig möglichk in (max. 150 N onderkant van garagedeur).
Menu 5
PROGRAMMEREN MAXIMALE DUWKRacht EN 6
Niettegenstaande de aandrijving een automatisch lerende krachtinstelling heeft raden wij ten zeerste aan de maximaal benodigde trekkracht te programmeren. Als de handmatig ingestelde kracht overschreden worden, za alles voorrang krijgen op de automatisch geleerde kracht.
- LED 54 en LED 60 knipperen en alle anderen zijn verlicht.
- Gebruik de +en toetsen om gewenste kracht in te stellen.
Elk verlicht LED is 1/8 van de kracht, dus 1 verlichte LED (1/8) = minimale kracht, alle LED's verlicht (8/8) is maximale kracht.
| 8 | 1 | 8 | 1 | 8 | 1 | 8 | 1 | 8 | 1 | 8 | 1 |
| 7 | 2 | 7 | 2 | 7 | 2 | 7 | 2 | 7 | 2 | 7 | 2 |
| 6 | 3 | 6 | 3 | 6 | 3 | 6 | 3 | 6 | 3 | 6 | 3 |
| 5 | 4 | 5 | 4 | 5 | 4 | 5 | 4 | 5 | 4 | 5 | 4 |
| 1/8 | 2/8 | 3/8 | 4/8 | 5/8 | 6/8 | ||||||
| 7/8 |
OPSLAAN VAN INSTELLINGEN:
Druk op om programmeren van maximale duwkracht op te slaan. Alle LED's gaan in volgorde van LED tot LED uit. De aandrijving is nu in bedrijfstoestand (LED en möglichk LED of LED 发展格局).
Attentie: Stel uitschakelautomaat zo gevoelig möglichk in (max. 150 N onderkant van garagedeur).
OPMERKING: Test de gevoeligheid maandelijks en verander, indienoodzakelijk, de instelleningen.
AANSLUITEEN VAN DE ONTVANGER:
Ontvanger aansluiten en handzender programmeren volgens de bij de ontvanger geleverde instructies.
WIJZIGEN VAN DE PROGRAMMATIES:
Programming van een individuel menu veranderen:
- Druk ca. 2 seconden op eP (LED [E] knippert en alle andere zich verwlicht).
-
Druk meerdere malen op totdat het gewenste menu verschijnt (bijv. LED 64 en LED 60 knipperen en alle andere LED's zijn verlicht). Van elk 'overgeslagen' menu blijven de instellingen behouden!
-
Volg individuelle instructies van het gekozen menu.
- Druk op @P gekozen menu op te slaan en wederom enkele malen om maar bedrijfstoestand terug te keren (LED 8E en möglichk LED 2 of LED 4ijkn verlicht).
Let op! Als de besturing zich in de programmeermodus bevindt en geen van de drie programmeertoetsen bennen 30 sec. worden ingedrukt, dan worden het programmeren afgebrozen (foutmelding 7).
Digital radiobedieningssystem met "rolling code"
MAC RC is een radiobedieningssystem op 433 MHz. Om maximale verilgihid te bieden bestaat het uitgezonden signaal uit een combinatie van een uneke vaste code en een steeds veranderende rolling code". Dankzij dit system beschicht men overeer dan 100.000.000.000.000.000 versuslende nicht-kopieerbare codes.
De leermode kan geactiveerd worden op de ontvanger of door middel van de zender. Deze tweede mogelijkheid maakt het maybeiknie ue zenders in een bestaand systeem te programmeren vanop afstand, wanner de ontvanger by. moeilijk bereikbaar is. De gebruikerscode wordt opgeslagen in het Eepromgeheugen van de ontvanger, die de informatie onthoudt, zelfs bij stroomonderbreking. Het programmeren vanop afstand laat tevens het wissen van een ingeleerde zender toe. De zenders/ontvangers zich conform de geldende CE-richtlijnen en I-ETS normen. Ze zijn BIPT goedgekeurd.
1. Algemeen
De MAC RC-zenders zijn herkenbaar aan hun blauwe drukknoppen. Ze bestaan in drie uitvoeringen: MAC RC 1(1 kanaal); MAC RC 2 (2 kanalen) en MAC RC 4 (4 kanalen). Alle zenders zijn uitergerust met een batterij-spaarfunctie die de zender uitschakelt wanner een drukknop langer dan 30 seconden ingedrukt worden.




MAC RC 1 (1-kanaalszender) MAC RC 2 (2-kanaalszender MAC RC 4 (4-kanaalszender
2. Programmeren van de zenders
Voor het inleren/wissen d.m.v. de drukknop op de ontvanger verwijzen weaar de handleiding van de ontvanger.
2.1. Openen van de zender en programmatie van de eerste zender
Druk op de MEM-knop. Als de ontvanger continu beept, drukt u binnen de 5 sec. op de gewenste blauwe kanaalknop. De ontvanger gaat even onderbroken beepen. De zender is nu ingeleerd.


1:Indrukken
2: maar ornhoog duwen
OPGELET:
Het inleren van de eerste zender door middel van de zender werkt enkel wanneer het ontvangergeheugen leeg is!
2.2. Programmatie van een bijkomende zender
Druk op de MEM-knop van de reeds aangeleerde zender. Terwijl de ontvanger continu beept, drukt u binnen de 5 sec. op de reeds aangeleerde knop van de reeds aangeleerde zender. De ontvanger stopt kort met beepen. Vervolgens drukt u drukt u binnen de 5 sec. op de neueu te programmeren drukknop. De ontvanger gaat even onderbroken beepen. De bijkomende zenderdrukknop is nu ingeleerd.
2.3. Het wissen van een zender uit het geheugen door middel van de zender
Duwen de 5 seconden drie maal op de MEM-knop van de reeds ingeleerde zender. Bij de eerste maal gaat de ontvanger continu beepen. Bij derde maal gaat de ontvanger onderbroken biepen. Druk nu op de knop van het te verwijderen kanaal. De ontvanger stopt onmiddelijk met beepen.
Opgenomen vermogen bij werking 28 mA 28 mA 28 mA
Aantal kanalen 1
Werkingstemperatuur
Batterijspaarfunctie
-10℃/+55℃
na 30 seconden
4
-10°C/ +55°C
na 30 seconden
-10°C/ +55°C
na 30 seconden
De zenders/ontvangers zijn conform de geldende CE-richtlijnen en I-ETS normen. Ze zijn BIPT goedgekeurd.
MAX RX 35 "Rolling Code" ONTVANGER
1. Algemeen
De MAC RX 35 is een radio printontvanger op 433,92 MHz compatibel met de MAC RC en de MAC RD handzenders. De RX35 ontvanger is ingebouwd in de MAC TRONIC.
- Het instellen van de ontvanger Voor HET PROGRAMMEREN EN WISSEN DOOR MIDDEL VAN DE ZENDER VERWIJZEN WE NAAR DE HANDLEIDING BIJ DE ZENDER.
2.1. Het aansluien van de ontvanger
De ontvanger RX 35 is reeds geinstalleerd in de MAC TRONIC onder de lampkap.

2.2. Instelling en programmeatie


P1-MEM = leerknop
1) Druk P1 in (blijven indrukken). Na 0,8 sec. za de zoemer B1 ononderbroken blijven breepen.
2) Zend tegelijkertijd het kanaaluit dat moet opgeslagen worden. De zoemer B1 zal met tussenpozen beepen.
Herhaal handeling 1) en 2) om een neue code in te voeren.
J2 = keuzebrug
Polen overbrugd : geschikt voor werking met MAC RD zenders (rood drukknoppen veld)
Polen nicht overbrugd : geschikt voor werking met MAC RC zenders (blauw drukknoppenveld)
P2-DEL = wisknop
Wissen van 1 zender:
1) Druk P2 in (ingedrukt houden). Na 0,8 sec. gaat de zoemer traag en met tussenpozen beepen.
2) Zend het kanaal uit dat moet gewist worden. Zodra de code effectief gewist is, maakt de zoemer een ononderbroken geluid.
Herhaal handelingen 1) en 2) om een andere code te wissen.
Wissen van alle zenders:
Druk P2 in (ingedrukt houden). Na 0,8 sec. gaat de zoemer met tussenpozen beepen. Laat nu P2 los en druk binnen de 0,5 sec. opniew in; hou min. 10 sec. ingedrukt tot de zoemer ononderbroken beept. Laat nu de toets P2 los.
ANT = aansluiting voor Antenne
Standaard wordt er een geisoleerde koperdraad 170 mm. bijgeleverd
Bij gebruik van een externe antennpe type MAC ANT GP 433 moet de mantel van de RG 58 coax aangesloten worden op de rechte schroef. De totale coaxlente mag Niet langer zich dan 10m
Geheugen gesoldeerd MEM 85
Voeding 8-12 V DC
Max. opgenomen vermogen bij rust 14mA
Max. opgenomen vermogen tijdens werkinq 14mA
S22 referentiepuntschakelaar
T fotocel zender
R fotocel ontvanger
S3 drukknop IMPULSE (NO contact)
S4 drukknop (NC contact)
X1 plug 1~N 220-240V 50Hz
H4 gloeilamp
H5 signaallamp
RC Relais contact
OV Massa
24V 24 VDC, 50mA max.
bk zwart
bn bruin
or oranje
rd rood
a bruin
b groen/geel
c groen
Het is möglichk ofwel een druktoets ofwel een 3-voudige wandconsole aan te sluiten (impuls, Licht aan/uit,vakantievergrendeling).
Als LED 8 brandt en LED 7 knippert is devakantievergrendeling geactiveerd.
Deactivateer de vakantievergrendeling via 3-voudige wandconsole of het kort indrukken van de toets op de aandrijving.
STORINGSHANDLEIDING
| Storingsindicatie | Örzaak | Werkwijze |
| Spanning ontbreekt. LED 8 brandt nicht. | Controller en netspanning aanwezig is. Wandcontactdoos controlleren. | |
| in werkung getreden. | Transformer laten afkoelen.Thermische | |
| Besturingsehenheid defect. | Netspanning uitschakelen. Besturingsehenheid eraf schroeven en laten controlleren. | |
| LED 6 knippert Foutmelding 10 | Uitschakelautamaat te gevoelig. Deur loopt te zwaar of is geblokkeerd. | Uitschakelautamaat opnieuw instellen (Menu 4, Menu 5). Deur gangbaar make. |
| Foutmelding 6 of 15 | Externe fotocel defect of onderbroken. LED Vekwipper belemmering of fotocel laten controleren. | |
| Aandrijving loopt alleen in "OPEN",ECHter nicht in "DICT" richting.Foutmelding 15 | Fotocel Menu 1 geprogrammeerd,ECHter nicht aangesloten | Fotocel omprogrammeren of aansluiten. |
| Geen reactie na impuls.LED 7 brandt. | Kortsluiting aan de aansluitklemmen voor drukknop 'impuls'. | Alle pulsgevers van de aandrijving loskoppelen. Eén voor een opnieuw aansluiten en fout zoeken. |
| Geen reactie na impuls.Foutmelding 36 | der STOP-knop te hebben aangesloten. | Stop-drukknop aansluiten.Kortsluitstekker S4 (NC) verwijderd,zon- |
| drukknopLED 8 brandtLED 7 knippert | Aandrijving is in vakantie-vergrendelingRegeertvietniet opzuktdiremgewebvg via 3-voudige wandconsole of het kort indrukken van de P toets op de aandrijving. | |
| Foutmelding 9 | Aandrijving laten nakijkenToerentalssensor defectLED 6 knippert | |
| Deur laten nakijkenDeur loopt te zwaar | ||
DIAGNose WORDT ZICHTBAAR INDIEN DE TOETS KORT WORDT INGEDRUKT.
StoringsindicatieFoutmeldingLED knippert onregelmatig
| 6 | Fotocel onderbroken |
| 7 | Programmering afgebrozen |
| 8 | Referentiepuntschakelaar defect |
| 9 | Toerentalsensor defect Blokkebeveiliging aangesproken |
| 10 | Krachtbegrenzung |
| 11 | Looptijdbegrenzung |
| 15 | Test fotocel Niet o.k. |
| 16 | Test krachtbegrenzung |
| 28 | Zelflerende krachtbegrenzung |
| 27 | 'Meerwaarde' gevoeligheid krachtbegrenzung |
| Ruststroomcircuit onderbroken36 | |
PROGRAMMEREN VAN DE BESTURING - GEAVANCEERDE INSTELLINGEN
Waarschuwing - Het programmeren van de geavanceerde instellenen mag alleen door een getraind en bevoegt vakman worden uitgevoerd.
GEAVANCEERDE PROGRAMMEER EN UITBREIDINGSMOGELIJKHEDEN :
- Automatisch sluiten (Niveau 3).
- Aanpassen Automatische krachtinstellungen en verlichting (Niveau 4).
- Verlichting / signaallampen (Niveau 5).
PROGRAMMEREN VAN DE BESTURING - AUTOMATISCH SLUITEN (NIVEAU 3)
Waarschuwing - Bij activering van de functie automatisch sluiten要去en fotocel aangesloten worden overeenkomstig Menu in de basisfuncties.
MENU OVERZICHT (N3):
Tijdsduur 'deur open' (automatisch sluiten).
2 Programmeren voorwaarschuwingstijd (tijd voordat de deur sluit).
Programmeren voorwaarschuwingstijd voordat de deur opengaat (te gebruiken in combi met waarschuwingslamp).
Voortijdig sluiten na het passeren van de fotocel.
Reset van de niveau 3 menu's
PROGRAMMEREN AUTOMATISCH SLUITEN:
Menu (N3)
TIJDSDUUR 'DEUR OPEN' (AUTOMATISCH SLUITEN)
Besturing bevindt zich in bedrijfstoestand.
- Programmeertoetsen eP, en tegelijk ca. 10 seconden indrukken totdat LED knippert en alle andere zichn verlicht.
- Laat eP los (LED knippert).
- Gebruik de en toetsen om 'deur open' tijdsduur te programmeren. minimaleijd: 5 seconden maximaleijd: 255 seconden
| 8 | 1 | 8 | 1 | 8 | 1 | 8 | 1 | 8 | 1 | 8 | 1 | 8 | 1 | 8 | 1 | 8 | 1 | 8 | 1 | 8 | 1 | 8 | 1 | 8 | 1 | |
| 7 | 2 | 7 | 2 | 7 | 2 | 7 | 2 | 7 | 2 | 7 | 2 | 7 | 2 | 7 | 2 | 7 | 2 | 7 | 2 | 7 | 2 | 7 | 2 | 7 | 2 | |
| 6 | 3 | 6 | 3 | 6 | 3 | 6 | 3 | 6 | 3 | 6 | 3 | 6 | 3 | 6 | 3 | 6 | 3 | 6 | 3 | 6 | 3 | 6 | 3 | 6 | 3 | |
| 5 | 4 | 5 | 4 | 5 | 4 | 5 | 4 | 5 | 4 | 5 | 4 | 5 | 4 | 5 | 4 | 5 | 4 | 5 | 4 | 5 | 4 | 5 | 4 | 5 | 4 | |
| timer | 5 | 10 | seconds | 15 | seconds | 20 | seconds | 25 | seconds | 30 | seconds | 35 | seconds | 40 | seconds | 50 | seconds | 80 | seconds | 100 | seconds | 120 | seconds | 150 | seconds | 255 |
| detivated | seconds | seconds | seconds | seconds | seconds | seconds | seconds | seconds | seconds | seconds | seconds | seconds | seconds |
- Druk op om 'deur open' tijdsduur op te slaan en automatisch waar Menu 2 te gaan.
Nadat de 'deur open' tijdsduur is geprogrammeerd knippert LED 2
- Controller of LED knippert en dat alle andere+zijn verlicht.
- Gebruik de ± en toetsen om 'voorwaarschuwingstijd' te programmeren.
minimaleijd: 2 seconden
maximale tijd: 70 seconden
| 8 | 10 | 11 | 12 | 13 | 14 | 15 | 16 | 17 | 18 | 19 | 20 | 21 | 22 | 23 | 24 | 25 | 26 | 27 | 28 | 29 | 30 | 31 | 32 | 33 | 34 | 35 | 36 | 37 | 38 | 39 | 40 | 41 | 42 | 43 | 44 | 45 | 46 | 47 | 48 | 49 | 50 | 51 | 52 | 53 | 54 | 55 | 56 | 57 | 58 | 59 | 60 | 61 | 62 | 63 | 64 | 65 | 66 | 67 | 68 | 69 | 70 | 71 | 72 | 73 | 74 | 75 | 76 | 77 | 78 | 79 | 80 | 81 | 82 | 83 | 84 | 85 | 86 | 87 | 88 | 89 | 90 | 91 | 92 | 93 | 94 | 95 | 96 | 97 | 98 | 99 | 100 | 101 | 102 | 103 | 104 | 105 | 106 | 107 | 108 | 109 | 110 | 111 | 112 | 113 | 114 | 115 | 116 | 117 | 118 | 119 | 120 | 121 | 122 | 123 | 124 | 125 | 126 | 127 | 128 | 129 | 130 | 131 | 132 | 133 | 134 | 135 | 136 | 137 | 138 | 139 | 140 | 141 | 142 | 143 | 144 | 145 | 146 | 147 | 148 | 149 | 150 | 151 | 152 | 153 | 154 | 155 | 156 | 157 | 158 | 159 | 160 | 161 | 162 | 163 | 164 | 165 | 166 | 167 | 168 | 169 | 170 | 171 | 172 | 173 | 174 | 175 | 176 | 177 | 178 | 179 | 180 | 181 | 182 | 183 | 184 | 185 | 186 | 187 | 188 | 189 | 190 | 191 | 192 | 193 | 194 | 195 | 196 | 197 | 198 | 199 | 200 | 201 | 202 | 203 | 204 | 205 | 206 | 207 | 208 | 209 | 210 | 211 | 212 | 213 | 214 | 215 | 216 | 217 | 218 | 219 | 220 | 221 | 222 | 223 | 224 | 225 | 226 | 227 | 228 | 229 | 230 | 231 | 232 | 233 | 234 | 235 | 236 | 237 | 238 | 239 | 240 | 241 | 242 | 243 | 244 | 245 | 246 | 247 | 248 | 249 | 250 | 251 | 252 | 253 | 254 | 255 | 256 | 257 | 258 | 259 | 260 | 261 | 262 | 263 | 264 | 265 | 266 | 267 | 268 | 269 | 270 | 271 | 272 | 273 | 274 | 275 | 276 | 277 | 278 | 279 | 280 | 281 | 282 | 283 | 284 | 285 | 286 | 287 | 288 | 289 | 290 | 291 | 292 | 293 | 294 | 295 | 296 | 297 | 298 | 299 | 300 | 301 | 302 | 303 | 304 | 305 | 306 | 307 | 308 | 309 | 310 | 311 | 312 | 313 | 314 | 315 | 316 | 317 | 318 | 319 | 320 | 321 | 322 | 323 | 324 | 325 | 326 | 327 | 328 | 329 | 330 | 331 | 332 | 333 | 334 | 335 | 336 | 337 | 338 | 339 | 340 | 341 | 342 | 343 | 344 | 345 | 346 | 347 | 348 | 349 | 350 | 351 | 352 | 353 | 354 | 355 | 356 | 357 | 358 | 359 | 360 | 361 | 362 | 363 | 364 | 365 | 366 | 367 | 368 | 369 | 370 | 371 | 372 | 373 | 374 | 375 | 376 | 377 | 378 | 379 | 380 | 381 | 382 | 383 | 384 | 385 | 386 | 387 | 388 | 389 | 390 | 391 | 392 | 393 | 394 | 395 | 396 | 397 | 398 | 399 | 400 | 401 | 402 | 403 | 404 | 405 | 406 | 407 | 408 | 409 | 410 | 411 | 412 | 413 | 414 | 415 | 416 | 417 | 418 | 419 | 420 | 421 | 422 | 423 | 424 | 425 | 426 | 427 | 428 | 429 | 430 | 431 | 432 | 433 | 434 | 435 | 436 | 437 | 438 | 439 | 440 | 441 | 442 | 443 | 444 | 445 | 446 | 447 | 448 | 449 | 450 | 451 | 452 | 453 | 454 | 455 | 456 | 457 | 458 | 459 | 460 | 461 | 462 | 463 | 464 | 465 | 466 | 467 | 468 | 469 | 470 | 471 | 472 | 473 | 474 | 475 | 476 | 477 | 478 | 479 | 480 | 481 | 482 | 483 | 484 | 485 | 486 | 487 | 488 | 489 | 490 | 491 | 492 | 493 | 494 | 495 | 496 | 497 | 498 | 499 | 500 | 501 | 502 | 503 | 504 | 505 | 506 | 507 | 508 | 509 | 510 | 511 | 512 | 513 | 514 | 515 | 516 | 517 | 518 | 519 | 520 | 521 | 522 | 523 | 524 | 525 | 526 | 527 | 528 | 529 | 530 | 531 | 532 | 533 | 534 | 535 | 536 | 537 | 538 | 539 | 540 | 541 | 542 | 543 | 544 | 545 | 546 | 547 | 548 | 549 | 550 | 551 | 552 | 553 | 554 | 555 | 556 | 557 | 558 | 559 | 560 | 561 | 562 | 563 | 564 | 565 | 566 | 567 | 568 | 569 | 570 | 571 | 572 | 573 | 574 |
- Druk op CP om op te slaan en waar Menu 3 te gaan.
Menu (N3)
PROGRAMMEREN VOORWAARSCHUWINGSTIJD VOORDAT DE DEUR OPENGAAAT
- Controller of LED knippert en dat alle andere zichn verlicht.
- Gebruik de en toetsen om 'voorwaarschuwingstijd' te programmeren.
minimale tijd: 0 seconden
maximale tijd: 7 seconden
| 8→H1 | 8→H1 | 8→H1 | 8→H1 | 8→H1 | 8→H1 | 8→H1 | 8→H1 |
| 7→2 | 7→2 | 7→2 | 7→2 | 7→2 | 7→2 | 7→2 | 7→2 |
| 6→3 | 6→3 | 6→3 | 6→3 | 6→3 | 6→3 | 6→3 | 6→3 |
| 5→4 | 5→4 | 5→4 | 5→4 | 5→4 | 5→4 | 5→4 | 5→4 |
| 0 seconds | 1 seconds | 2 seconds | 3 seconds | 4 seconds | 5 seconds | 6 seconds | 7 seconds |
- Druk op @om op te slaan en waar Menu 4 te gaan.
Menu 4 (N3)
VOORTIJDIG SLUITEN NA HET PASSEREN VAN DE FOTOCEL
- Controller of LED knippert en dat alle andere zichn verlicht.
- Gebruik de en toetsen om de gewenste instelling te kiezen:
A. LED knippert: Deur sluit na de ingestelde tijd
B. LED 1-1 brandt: Deur sluit na het passeren van de fotocel
| 80 | 21 70 | 2 64 | 3 50 | 4 Deur sluit na de ingestelde tijd | 80 | 21 70 | 2 64 | 3 50 | 4 Deur sluit na het passeren van de fotocel |
- Druk op om op te slaan en om het geavanceerde programmeerniveau 3 "Automatisch sluiten" tebeeindigen.
Alle LED's gaan in volgorde van 8 tot 11uit. De aandrijving is nu in bedrijfstoestand; LED 8 en möglichk LED 2 (deur volledig open) of LED 4 (deur volledig gesloten) zichverlicht.
Druk de programmeertoetsen CP en tegelijk in voor langer dan 20 seconden.
De reset is uitgevoerd wanner de LED's automatisch uitschakelen beginnende met LED 8 en eindigend met LED H1.
De aandrijving is nu terug in bedrijfstoestand; LED 8 en möglichk LED 2 (deur volledig open) of LED 4 (deur volledig gesloten) zijn verlicht.
PROGRAMMEREN AUTOMATISCHE KRACHTINSTELLINGEN EN VER LichtING (N4)
Waarschuwing - Het programmeren van de geavanceerde instellenen mag alleen door een getraind en bevoegt vakman worden uitgevoerd.
MENU OVERZICHT (N4):
1 Programmeren tijsduur verlichting
Programmeren 'meerwaarde' automatisch geleerde kracht
3 Programmeren van 'meerwaarde' automatisch geleerde kracht in langzame snugheid
- Druk in de bedrijfstoestand tegelijk ca. 10 seconden op P, 三 en totdat LED knippert en alle andere LED's zich verlicht.
- Blijf op drukken en selecteer met de 12 of toets Niveau 4 (LED knippert snel).
- Laat P los.
Menu (N4)
- LED knippert en alle andere zichn verlicht.
- Gebruik de of 三 toetsen om verlichtingsduur te programmeren.
minimaleijd: 90 seconden
maximale tijd: 240 seconden
| 8 | 12 | 13 | 14 | 15 | 16 | 17 | 18 | 19 | 20 | 21 | 22 | 23 | 24 | 25 | 26 | 27 | 28 | 29 | 30 | 31 | 32 | 33 | 34 | 35 | 36 | 37 | 38 | 39 | 40 | 41 | 42 | 43 | |||
| 76 | 2 | 2 | 2 | 2 | 2 | 2 | 2 | 2 | 2 | 2 | 2 | 2 | 2 | 2 | 2 | 2 | 2 | 2 | 2 | 2 | 2 | 2 | 2 | 2 | 2 | 2 | 2 | 2 | 2 | 2 | 2 | 2 | |||
| 64 | 3 | 3 | 3 | 3 | 3 | 3 | 3 | 3 | 3 | 3 | 3 | 3 | 3 | 3 | 3 | 3 | 3 | 3 | 3 | 3 | 3 | 3 | 3 | 3 | 3 | 3 | 3 | 3 | 3 | 3 | 3 | 3 | |||
| 54 | 4 | 4 | 4 | 4 | 4 | 4 | 4 | 4 | 4 | 4 | 4 | 4 | 4 | 4 | 4 | 4 | 4 | 4 | 4 | 4 | 4 | 4 | 4 | 4 | 4 | 4 | 4 | 4 | 4 | 4 | 4 | ||||
| 90 seconds | 95 seconds | 100 seconds | 110 seconds | 120 seconds | 130 seconds | 140 seconds | 150 seconds | 160 seconds | 170 seconds | 180 seconds | 190 seconds | 200 seconds | 210 seconds | 220 seconds | 230 seconds | 240 seconds | 250 seconds | 260 seconds | 270 seconds | 280 seconds | 290 seconds | 300 seconds | 310 seconds | 320 seconds | 330 seconds | 340 seconds | 350 seconds | 360 seconds | 370 seconds | 380 seconds | 390 seconds | 400 seconds | 410 seconds | 420 seconds | 430 seconds |
- Druk op eP om op te slaan en automatisch waar Menu 2 te gaan.
Menu (N4)
PROGRAMMEREN 'MEERWAARDE' AUTOMATISCH GELEERDE KRACHT
- LED 2 knippert en alle andere+zijn verlicht.
- Gebruik de ± of toetsen om 'meerwaarde' in stappen van 1/15 te verhogen of te verminderen.
minimaleeerwaarde:1/15
maximaleeerwaarde:15/15
| 80 | 79 | 68 | 59 | 48 | 37 | 26 | 19 | 18 | 17 | 16 | 15 | 14 | 13 | 12 | 11 | 10 | 9 | 8 | 7 | 6 | 5 | 4 | 3 | 2 | 1 |
| 78 | 77 | 68 | 57 | 46 | 35 | 24 | 17 | 16 | 15 | 14 | 13 | 12 | 11 | 10 | 9 | 8 | 7 | 6 | 5 | 4 | 3 | 2 | 1 | 14/15 | 15/15 |
| 64 | 63 | 62 | 58 | 56 | 45 | 34 | 27 | 26 | 25 | 24 | 23 | 22 | 21 | 19 | 18 | 17 | 16 | 15 | 14 | 13 | 12 | 11 | 9 | 8 | 57 |
| 59 | 58 | 57 | 56 | 55 | 54 | 44 | 36 | 35 | 34 | 33 | 32 | 31 | 30 | 29 | 28 | 27 | 26 | 25 | 24 | 23 | 22 | 21 | 19 | 18 | 17 |
| deakti-vated | 1/15 | 2/15 | 3/15 | 4/15 | 5/15 | 6/15 | 7/15 | 8/15 | 9/15 | 10/15 | 11/15 | 12/15 | 13/15 | 14/15 | 15/15 |
- Druk op eP om op te slaan en automatisch waar Menu 3 te gaan.
Menu (N4)
PROGRAMMEREN VAN 'MEERWAARDE' AUTOMATISCH GELEERDE KRACHT IN LANGZAME SNELHEID
-
LED 4 knippert en alle andere+zijn verlicht.
-
Gebruik de of toetsen om 'meerwaarde' automatisch geleerde kracht in langzame能力和 in stappen van 1/15 te verhogen of te verminderen.
minimaleeerwaarde:1/15
maximaleeerwaarde:15/15
| 8 | 1 | 8 | 2 | 1 | 8 | 2 | 1 | 8 | 2 | 1 | 8 | 2 | 1 | 8 | 2 | 1 | 8 | 2 | 1 | 8 | 2 | 1 | 8 | 2 | 1 | 8 | 2 |
| 7 | 2 | 7 | 2 | 7 | 2 | 7 | 2 | 7 | 2 | 7 | 2 | 7 | 2 | 7 | 2 | 7 | 2 | 7 | 2 | 7 | 2 | 7 | 2 | 7 | 2 | 7 | 2 |
| 6 | 3 | 6 | 3 | 6 | 3 | 6 | 3 | 6 | 3 | 6 | 3 | 6 | 3 | 6 | 3 | 6 | 3 | 6 | 3 | 6 | 3 | 6 | 3 | 6 | 3 | 6 | 3 |
| 5 | 4 | 5 | 4 | 5 | 4 | 5 | 4 | 5 | 4 | 5 | 4 | 5 | 4 | 5 | 4 | 5 | 4 | 5 | 4 | 5 | 4 | 5 | 4 | 5 | 4 | 5 | 4 |
| deakti-vated | 1/15 | 2/15 | 3/15 | 4/15 | 6/15 | 7/15 | 8/15 | 9/15 | 10/15 | 11/15 | 12/15 | 13/15 | 14/15 | 15/15 | 16/15 | 17/15 | 18/15 | 19/15 | 20/15 | 21/15 | 22/15 | 23/15 | 24/15 | 25/15 | 26/15 | 27/15 | 28/15 |
- Druk op om op te slaan en om het geavanceerde programmeerniveau 4 "Automatische krachtinstellungen en verlichting" tebeeindigen.
Alle LED's gaan in volgorde van 8 tot 1 uit. De aandrijving is nu in bedrijfstoestand; LED en möglichk LED 2 (deur volledig open) of LED 4 (deur volledig gesloten) zijn verlicht.
PROGRAMMEREN VAN VERLIGHTING / SIGNAALLAMPEN (NIVEAU 5)
Waarschuwing - Het programmeren van de geavanceerde instellen gen mag alleen door een getraind en bevoegt vakman worden uitgevoerd.
MENU OVERZICT (N5):
Programmeren van looptijdbegrenzing
2 Programmeren van externe signala lampen
3 Programmeren van verlichting van de aandrijving
4 Programmeren verlichting 'external Lichtrelais' (box) en van de aandrijving
HET AANPASSEN VAN DE VERLIGHTING EN/OF SIGNAALLAMPEN:
- Druk in de bedrijfstoestand tegelijk ca. 10 seconden op eP, en totdat LED knippert en alle andere LED's zich verlicht.
- Blijf op eP drukken en selecteer met de + of toets Niveau 5 (LED | 5| knippert snel)
- Laat P los.
Menu (N5)
PROGRAMMEREN VAN LOOPTIJDBEGRENZING (MAXIMALE DUUR VAN SLUITEN)
- LED knippert en alle andere+zijn verlicht.
- Gebruik de en toetsen om verlichtingsduur te programmeren minimaleijd: 30 seconden maximaleijd: 240 seconden
| 8 | 1 | 8 | 2 | 8 | 3 | 8 | 4 | 8 | 5 | 8 | 6 | 7 | 8 | 9 | 10 | 11 | 12 | 13 | 14 | 15 | |
| 7 | 2 | 7 | 3 | 7 | 2 | 7 | 3 | 7 | 2 | 7 | 3 | 7 | 2 | 7 | 2 | 7 | 2 | 7 | 2 | 7 | |
| 6 | 3 | 6 | 3 | 6 | 3 | 6 | 3 | 6 | 3 | 6 | 3 | 6 | 3 | 6 | 3 | 6 | 3 | 6 | 3 | 6 | |
| 5 | 4 | 5 | 4 | 5 | 4 | 5 | 4 | 5 | 4 | 5 | 4 | 5 | 4 | 5 | 4 | 5 | 4 | 5 | 4 | 5 | |
| 30 seconds | 40 seconds | 50 seconds | 55 seconds | 65 seconds | 80 seconds | 100 seconds | 120 seconds | 140 seconds | 160 seconds | 180 seconds | 190 seconds | 200 seconds | 210 seconds | 220 seconds | 240 seconds |
- Druk op om op te slaan en automatisch waar Menu 2 te gaan.
Menu ② (N5)
- LED 2 knippert en alle andere+zijn verlicht.
- Gebruik de + en toetsen voor het programmeren van verlichting
LED knippert externe lampen branden
LED brandt externe lampen knipperen
| 801 722 643 5#4 | 801 722 643 5#4 |
| externe lampen branden | externe lampen knipperen |
- Druk op eP om op te slaan en automatisch waar Menu 3 te gaan.
Menu (N5)
PROGRAMMEREN VAN VERlichtING VAN DE AANDRIJVING ( / )
- LED 3 knippert en alle andere zichn verlicht.
- Gebruik de + en toetsen voor het programmeren van verlichting
LED knippert verlichting brandtijdens voorwaarschuwingstijd (sluiten)
LED H1 brandt verlichting knippertijdens voorwaarschuwingstijd (sluiten)
| 801 702 643 594 verlichting brandtijdens waarschuwingstijd | 801 702 643 594 verlichting knippertijdens waarschuwingstijd |
- Druk op P om op te slaan en automatisch waar Menu 4 te gaan.
Menu 4 (N5)
PROGRAMMEREN VERLICHTING 'EXTERNE LICHTELAIIS' (BOX) EN VAN DE AANDRIJVING
- LED 4 knippert en alle andere+zijn verlicht.
- Gebruik de + en toetsen voor het programmeren van verlichting
LED knippert aandrijvingverlichting brandtijdens waarschuwingstijd
LED brandt externlichtrelais 30 sec.alarmmeling na het aanspreken van de beveiliging gegen ongewenst openen.
| 8-10 | 10-11 |
| 7-2 | 2-2 |
| 6-3 | 3-3 |
| 5-4 | 4-4 |
| aandriyingverlichting brandt tijdens waarschuwingstijd | extern Lichtrelais 30 sec. alarmmelding na het aanspreken van de beveiliging gegen ongewenst openen. |
- Druk op om op te slaan en om het geavanceerde programmeerniveau 5"
Programmeren van Verlichting / signaallampen " te beeindigen.
Alle LED's gaan in volgorde van LED 8 tot LED H1uit. De aandrijving is nu in bedrijfstoestand; LED 8 en möglichk LED 2 (deur volledig open) of LED 4 (deur volledig gesloten) zich verlicht.
250 W (in bedrijf met verlichting)
3,9 W (stilstand zonder verlichting)
Bewegingssnelheid:
0,14 m/sec. met softmax en softmax
Trek- en duwkracht:
700N
Looptijdbegrenzig:
88 sec. (instelbaar)
Verlichting:
1 x 40 W (type E14), instelbaar van
90 - 240 sec.
Voor het automatisch sluiten van garagedeur zich de optionele fotocellen noodzakelijk.
Waarschuwingstijd instelbaar van 2 tot 70 sec.
en openingstijd van 5 - 255 sec.
Voor aansluiting signaallampen is een extern Lichtrelais als toebehoren verkrijgbaar.
Uitschakelautomaat:
Elektronische krachtbegrenzing door microprocessor en stroomsensor.
Blokkerbeveiliging:
Door microprocessor en toerentalssensor.
Inbraak beveiligingsystem:
Elektronische back-drive beveiliging bij gesloten deur; deur sluit zich automatisch na detectie van een circa 1cm. ongewenste (terugwaartse) beweging.
Beschermingsgraad:
Uitsluitend geschikt voor droge ruimtes.

Let op: Plaatselijke veiligheidsvoorschriften in acht nemen!
Netvoeding- en stroomleidingen absolut gescheden leggen.

Let op:
Open en sluit de deur alleen als deze volledig zichtaar is en wonneer u er zeker van bent dat er zich geen personen of objecten in het looptraject van garagedeur bevinden.
Onderhoud
Deze garagede europener is grotendeels onderhoudsvrij. Echter, alle bewegende delen van de deur en de aandrijving dienen regelmatig gecontroleer en goed afgesteld te worden. Controller regelmatig manueel of de deur vlot loopt en goed uitgebalanceerd is. De instelling van uitschakelautomaat OPEN en DICT hient regelmatig getest te worden.
CONSIGNES DE SECURITE IMPORTANT POUR L'INSTALLATION AVERTISSEMENT - UNE INSTALLATION INCORRECTE PEUT CAUSER DE GRAVES BLESSURES. LISEZ CES INSTRUCTIONS ATTENTIVEMENT AVANT D'INSTALLER L'ENTRAJEMENT.
Telefoon: 050-320202
Telefax: 050-320242
FONCTIONS DE BASE NIVEAU 1
Algemene veiligheidsinstructies.
Deze instructies zijn een essentieel onderdeel van het produit en dieren afgegeven te worden aan de gebruiker. Gelieve deze instructies zorgvuldig door te nemen want zich bevatten belangrijke richtlijnen betreffende deeiligheid, het gebruik en het onderhoud van dit systemm. Het is onontbeerlijk om deze richtlijnen te bewaren en这家伙 doort te gewen aan alle andere mogelijk gebruikers van de aandrijving. Deze motor mag enkel en alleen gebruikt worden waarvoor hij ontworpen is. Elk ander gebruik wordt aanzien als oneigenlijk en bijgevolg gevaarlijk. De machinebouwer kan nicht verantwoordelijk gesteld worden voor eventuale schade veroorzaakt door ongeschikt, verkeerd of onvertandig gebruik. Vermijd elke handeling in de nabijheid van scharnieren of bewegende mechanische onderden. Begeeu u Niet in het onmiddelijk bewegingsveld van de automatische deur of poort wanner deze in beweging is. Het tegenhouden van de bewegende automatische deur of poort kan een bron van gevaar zich. Laat kinderen nooit spelen in het bewegingsveld van de geautomatisderde deuren of poorten. Bewaar alle afstandsbedieningen of andere bedieningstoestellen buiten het bereik van kinderen, om elk overwachtede bediening te voorkomen. Ingeval van stroomonderbreking of slechte werkinq van de poort dient de stroom te worden onderbroken, en dient u zich te wenden tot een erkende installmenteur. Alle verantwoordelijkheid wordt afgewezen wanner zou blijken dat er eigenhandige reparatives uitgevoerd werden. Het Niet opvolgen van deze instructies kan gevaar met zich meebrngen. Alle tussenkomsten voor reiniging, onderhoud of herstellung dienen uitgevoerd te worden door geschoold personeel. Alle mogelijkke documenten betreffende deze tussenkomsten dieren ter beschikking gesteld te worden van de gebruiker. Om de goede werkinq van het systeme te waarborgen is het onontbeerlijk deze instructies aandachtig te lezen en het periodiek onderhoud van de automatisatie te lately uitvoeren door een erkende installmenteur.


ontgrendelen manuele bediening (fig. 1)
Trek aan de touw (a), het loopwagentje is ontgrendeld. De poort kan nu manueel bediend worden.
vergrendelen automatische bediening (fig. 2)
Beweeg de rode pal in de richting van de pijl.
Het loopwagentje worden terug vergrendeld. De poort kan nu opnieuw automatisch bediend worden.
INSTRUCTIONS DE SECURITE POUR L'UTILISATEUR

Modular Automation Corporation
MACTRONIC55-70-100

Notice-Facile